EP1860741B1 - Ensemble comportant un bloc de jonction pour conducteurs électriques et une cloison amovible à disposer contre le bloc de jonction - Google Patents

Ensemble comportant un bloc de jonction pour conducteurs électriques et une cloison amovible à disposer contre le bloc de jonction Download PDF

Info

Publication number
EP1860741B1
EP1860741B1 EP07107546A EP07107546A EP1860741B1 EP 1860741 B1 EP1860741 B1 EP 1860741B1 EP 07107546 A EP07107546 A EP 07107546A EP 07107546 A EP07107546 A EP 07107546A EP 1860741 B1 EP1860741 B1 EP 1860741B1
Authority
EP
European Patent Office
Prior art keywords
conduit
partition
opening
assembly according
terminal block
Prior art date
Legal status (The legal status is an assumption and is not a legal conclusion. Google has not performed a legal analysis and makes no representation as to the accuracy of the status listed.)
Active
Application number
EP07107546A
Other languages
German (de)
English (en)
French (fr)
Other versions
EP1860741A1 (fr
Inventor
Daniel Paulin
Laurent Fleury
Current Assignee (The listed assignees may be inaccurate. Google has not performed a legal analysis and makes no representation or warranty as to the accuracy of the list.)
Legrand SNC
Legrand France SA
Original Assignee
Legrand SNC
Legrand France SA
Priority date (The priority date is an assumption and is not a legal conclusion. Google has not performed a legal analysis and makes no representation as to the accuracy of the date listed.)
Filing date
Publication date
Application filed by Legrand SNC, Legrand France SA filed Critical Legrand SNC
Priority to PL07107546T priority Critical patent/PL1860741T3/pl
Publication of EP1860741A1 publication Critical patent/EP1860741A1/fr
Application granted granted Critical
Publication of EP1860741B1 publication Critical patent/EP1860741B1/fr
Active legal-status Critical Current
Anticipated expiration legal-status Critical

Links

Images

Classifications

    • HELECTRICITY
    • H01ELECTRIC ELEMENTS
    • H01RELECTRICALLY-CONDUCTIVE CONNECTIONS; STRUCTURAL ASSOCIATIONS OF A PLURALITY OF MUTUALLY-INSULATED ELECTRICAL CONNECTING ELEMENTS; COUPLING DEVICES; CURRENT COLLECTORS
    • H01R9/00Structural associations of a plurality of mutually-insulated electrical connecting elements, e.g. terminal strips or terminal blocks; Terminals or binding posts mounted upon a base or in a case; Bases therefor
    • H01R9/22Bases, e.g. strip, block, panel
    • H01R9/24Terminal blocks
    • H01R9/26Clip-on terminal blocks for side-by-side rail- or strip-mounting
    • H01R9/2616End clamping members
    • HELECTRICITY
    • H01ELECTRIC ELEMENTS
    • H01RELECTRICALLY-CONDUCTIVE CONNECTIONS; STRUCTURAL ASSOCIATIONS OF A PLURALITY OF MUTUALLY-INSULATED ELECTRICAL CONNECTING ELEMENTS; COUPLING DEVICES; CURRENT COLLECTORS
    • H01R13/00Details of coupling devices of the kinds covered by groups H01R12/70 or H01R24/00 - H01R33/00
    • H01R13/46Bases; Cases
    • H01R13/502Bases; Cases composed of different pieces

Definitions

  • the invention relates to terminal blocks for electrical conductors to engage on a rail in ⁇ .
  • terminal blocks are used, in particular in the electrical cabinets, to electrically connect two or more electrical conductors together.
  • junction blocks comprising an insulating casing having two main faces and several lateral faces connecting the main faces in which are formed several conduits for introducing end portions of electric cables.
  • One of the main faces of the housing is closed while the other side is open to allow housing in this housing conductive elements (bar, spring blades or screw terminals) cooperating with the end portions of the cables.
  • Terminal partitions are also known, to be disposed against the terminal block, on the side of its open face to completely obscure this face (for example when the terminal block is disposed at the end of a row of terminal blocks on a conductive rail in ⁇ ).
  • Partition walls are also known to be arranged between two terminal blocks.
  • end or partition walls are formed of a completely solid wall closing all the open spaces on the open main face to isolate the conductive electrical elements disposed within the terminal block.
  • DE 20200974-U1 discloses an assembly comprising a terminal block and a removable partition, corresponding to the preamble of claim 1.
  • the invention relates to an assembly comprising a terminal block and a partition, both economical and practical to use.
  • an assembly comprising a junction block and a removable partition to be arranged against the junction block, said block comprising an insulating casing having two main faces and side faces connecting said main housing faces in which is formed a duct d introduction of the end portion of a cable; characterized in that the introductory conduit has a lateral opening formed on one of the main faces of the housing, said duct and said opening being shaped so that said duct admits the end portion of a cable to a maximum diameter equal to a first predetermined value, said portion of the end of the cable projecting laterally from the duct through said lateral opening of the duct if said diameter is between a second predetermined value less than said first predetermined value and said first predetermined value and in that said partition has an opening which forms an extension of said lateral opening of said conduit, said conduit being open laterally through said opening of said conduit and then through said opening of the partition, said partition and said opening of said partition being shaped so that, if said diameter of the end portion cable is included between ladit e
  • the conformation of the introduction duct and the presence of a lateral opening of this duct on one of the main faces makes it possible in particular to install in the terminal block the end portions of electric cables whose largest diameter (the diameter of the element of the end portion of the cable which has the largest dimension) exceeds the pitch of the terminal block, that is to say the distance separating the two parallel main faces of this block (we neglect the thickness, if any, of the wall that closes the duct at the main face of the housing opposite that having the lateral opening), up to a maximum diameter value.
  • the end portions of such cables protrude through the lateral opening of the conduit provided for this purpose.
  • the partition of the assembly according to the invention is shaped to laterally extend the opening of this conduit so that, when a cable projects from the terminal block through the opening of the conduit, this part of the cable is lodged. in this partition so that it does not exceed the assembly thus formed.
  • the conformation of the conduit and its opening together with that of the partition and its opening ensures that even for an end portion of a cable whose largest diameter is equal to the maximum diameter that can be accommodated in the duct, the portion of this cable projecting from the opening of the duct is fully housed in the opening of the partition without protruding from this partition.
  • the ducts of this block are shaped to accommodate cables with the largest maximum diameter. is 6 mm, the protruding part of a cable of larger diameter equal to 6 mm (about 1 mm neglecting, if it exists, the thickness of the wall which closes the duct at the level of the main face of the opposite case to that having the lateral opening) being then entirely housed in the partition.
  • This set is particularly economical because it allows to use a single type of terminal block for different cable diameters, including those whose largest diameter is greater than the block pitch up to a maximum value.
  • the terminal block 1 represented in Figures 1 to 12 comprises an insulating housing 2, a conductive bar 3 and two spring blades 4.
  • the insulating casing 2 is made of molded plastic and has two main faces 5 and 6 connected to each other by a front lateral face 7, a rear lateral face 8, an upper face 9 and a lower face 10.
  • the face 6 is completely obscured by a partition 22 while the face 5 is partially open.
  • This housing comprises a latching lug 15, an engagement lug 16 to an ⁇ rail, two cable introduction ducts 32, two operating ducts 33 and a receiving housing 39 (FIG. figure 3 ) of the bar 3 and leaf springs 4.
  • the tabs 15 and 16 are located on the side of the face 8. Between these tabs extends a slot 17 formed inside the housing 2 and opening at the face 8.
  • the hooking lug 15 has two identical portions 19 on either side of the slot 17, each portion having opposite the locking lug a recess 20 adapted to receive, as will be seen hereinafter a wing of FIG. a rail in ⁇ .
  • the latching lug 16 has three partitions 25, 26 and 27 extending substantially transversely to the face 8.
  • the partition 25 closest to the latching lug is separated by the slot 17 in two identical portions 18.
  • Each portion 18 has a tooth 24 projecting towards the hooking lug 15.
  • the housing also comprises between the legs 15 and 16 two partitions 21 on either side of the slot 17 extending parallel to the faces 5 and 6 of the partition portions 19.
  • the conduits 32 ( Figures 7 and 8 ) are delimited by two concave surfaces 47 and the surface of a partition 48 located on the side of the face 6 and having a shoulder 48 '.
  • the conduits 32 open on the face 7 through an opening 45 and on the face 5 through an opening 43.
  • the opening 43 has two parallel edges 43 'in the direction of insertion of the cable and a curved edge 43 ".
  • Each duct 32 is closed at the main faces by two triangular partitions 34 projecting parallel to the faces 5 and 6 towards the inside of the housing.
  • One of these partitions 34 is located at the partially open face 5 and the other against the wall 22 closing the face 6 of the terminal block ( figure 9 ) locally forming an extra thickness.
  • the partition 34 located on the side of the face 6 is extended by a corner 42 ( figure 9 ).
  • the conduits 33 have a rectangular section and open only on the face 7 through an opening 46.
  • the receiving housing 39 of the bar 3 and the leaf springs 4 is partially delimited by a pair of closed-contour ribs 30 and a pair of closed-contour ribs 31 ( figure 3 ).
  • the area of the housing 39 adapted to receive the bar is partially delimited by the rib sections 30 ", 31"'and the lower edge on the figure 3 partitions 34 while each zone of the housing 39 adapted to receive a leaf spring 4 is partially delimited by the rib sections 30 ', 31', 31 "( figure 4 ) and includes space 44 ( figure 7 ) located between the two corresponding partitions 34.
  • each zone of the receiving housing 39 adapted to receive a leaf spring 4 is a cylindrical pin 40 and an oblong pin 41.
  • the space 44 located between two partitions 34 is common to the corresponding conduit 32 and the housing 39.
  • the receiving housing 39 is thus, at each end, partially obscured on the face 5 by a partition 34.
  • the casing is molded using three drawers, one for each pair of ducts 32, 33 and a third to form the slot 17.
  • the bar 3 comprises a central step 50 ( figure 7 ) and on each side of the central step a side step 51, each side step being connected to the central step by a riser 52 at right angles to the central step 50 and the side steps 51 so that each step 51 forms with its riser 52 a portion in L.
  • the side steps 51 are located at the same level relative to each other so that the bar has a podium profile.
  • the central step 50 has at its center a single orifice 63 while each side step 51 is provided with a cell 54 delimited by the surfaces of a stamped cage 55 projecting from the opposite side to the central step 50.
  • the spring blades 4 represented in Figures 1 to 10 have an asymmetrical V-shaped profile, each leaf spring being formed of a large straight branch 58 and a small straight branch 59 connected to one another at one end by a curved section 60.
  • Each of the branches 58 and 59 has, at about mid-length, a width change, with their width being smaller between their free end and the width changing zone.
  • This assembly consists first of all in arranging each spring blade 4 in the receiving housing 39.
  • the curved section 60 of each leaf spring 4 is arranged around the pin 40 in the space located in the vicinity of this pin on the side opposite the pawn 41 ( figure 3 ).
  • the large branch 58 then takes place between the corresponding pins 40, 41 and the corresponding partitions 34 while the small branch 59 takes place between the corresponding pins 40, 41 and the corresponding rib 30 '( figure 3 ).
  • the next step is to rotate each leaf spring 4 around the corresponding pin 40, parallel to the faces 5 and 6, so that the end portion of the long section 58 of the spring blade is placed in the space 44 between the partitions 34 ( figure 4 ), this section being guided towards this space by the ramp formed by one of the surfaces of the corner 42 ( figure 9 ), until it stops against the housing ( figure 4 ).
  • the end portion of the branch 58 is thus housed in the corresponding introduction conduit 32.
  • the blade thus disposed releases the area of the housing 39 adapted to accommodate the bar 3 so that it is now possible to introduce this bar in the housing.
  • the central step 50 is arranged between the sections of ribs 30 "and 31 '" of the insulating casing while the end portions of the side steps 51 are housed under the partitions 34 ( figure 5 ).
  • the conduit 32 thus opens into the cell 54.
  • a wall 56 of the cage 55 is then disposed under the end edge 61 of the branch 58 of the corresponding spring blade while the end portion branch 59 looks, on the side opposite the branch 58, the riser 52 ( Figures 5 and 6 ).
  • the last operation consists, using a tool or a rigid core cable through the conduit 32 or 33, to come to exert pressure against the branch 58 to abut the branch 59 against the riser 52 and thus bend the branch 58 to cross a hard point relative to the bar 3 so as to have the end edge 61 of this branch in the cell 54, against the surface 57 of the wall 56 of the cage 55 ( figure 7 ).
  • Such tips are for example used in conjunction with cables whose conductive core is formed of flexible strands to facilitate the introduction of conductors in the terminal block without the risk of folding the flexible strands.
  • tips (70) comprise a hollow and conductive hollow cylindrical element 71 crimped around the stripped end of a conductor (not shown) and an insulating plastic casing 72.
  • the first operation is to penetrate the tip 70 through the conduit 32 in which it must be inserted in order to constrain the leaf spring by pressing the leg 58 to move away the end edge 61 ( figures 6 and 7 ) of the surface 57 to allow this element to pass between this edge 61 and the wall 56.
  • the wiring end-piece 70 is thus introduced into the duct 32, the driving movement of the cable continuing for example until the end of the element 71 comes into abutment against the ridge section 31 'or until that the envelope 72 abuts at the level of the face 5 against the curved edge 43 'of the partition 34 or, at the level of the face 6, against the shoulder 48' of the partition 48.
  • this wall forms for the element 71 a seat against which it is held by the spring blade 4 which plate against this surface. If this element once installed in the terminal block 1 tends to be removed from the block, that is to say if it is subjected to a force directed in a direction contrary to the direction of insertion, this element will tend to bring with it the branch 58, which will bend and thus wedge against the wall 56, which will prohibit the removal of this element.
  • the operator For the withdrawal of the tip 70, the operator makes it through the conduit 33 corresponding to the conduit 32 into which is inserted the nozzle 70, a tool (for example the flat end 73 of the screwdriver shown in FIG. figure 8 ) in order to constrain the leaf spring, until the branch 58 eventually abuts against the oblong pin 41, to release the element 71 and allow to extract the tip 70.
  • a tool for example the flat end 73 of the screwdriver shown in FIG. figure 8 ) in order to constrain the leaf spring, until the branch 58 eventually abuts against the oblong pin 41, to release the element 71 and allow to extract the tip 70.
  • Such terminal blocks are generally identified by their color, the insulating housing of these blocks being tinted in two colors, one yellow and the other green (green / yellow block).
  • the contact foot 80 illustrated in Figures 13 and 14 is made of conductive metal and is formed in one piece. It comprises a central body 81, a hooking tab 82, and a locking tab 83.
  • the central body 81 has two generally rectangular portions 84 and 85, the portion 84 being wider than the portion 85.
  • the portion 84 attaches the tabs 82 and 83 to the rectangular portion 85.
  • This portion 85 has at its top two protruding teeth 86 on the side opposite the portion 84 while in the portion 84 is formed a rectangular window 87.
  • the locking tab 83 has at its distal end a rigid notch 88 and an elongated and flexible narrow arm 91 attaching the notch 88 to the body 81.
  • This notch 88 has a tooth 90 and a finger 77 having a ramp surface 89 and a boss 78.
  • the arm 91 is of constant width except for its end portions which are slightly curved, each respectively reaching, by flaring, the notch 88 and the body 81.
  • the hooking lug 82 comprises a hook 92 adapted to receive, as will be seen below one of the wings of a rail in ⁇ and an elongated and flexible narrow arm 76 joining the hook 92 to the body 81 by attaching to the hook 92 on the opposite side of the hook 81 to the body relative to the notch 93.
  • the arm 76 comprises a C-section 94, here more precisely in a half-circle, in the hollow of which is housed the hook 92 and an inclined straight section 95.
  • the C-section 94 is connected at one end to the hook 92 and at the other end to the straight inclined section 95 itself connected by its opposite end to the body 81 so that the arm 76 has a profile in J.
  • the hook 92 comprises a rigid block 79 in which is formed a notch V 93.
  • the leg of the block 79 defining the notch V located on the side of the hook opposite the body 81 relative to the notch 93 is attached to the arm 94 of the leg 82.
  • the contact foot is introduced into the junction block on the side of the face 8 by the slot 17 extending from the latching lug 15 to the latching lug 16 of the insulating housing 2.
  • the body 81 enters the insulating housing between the rib portions 31 "", the portion 85 first until a tooth 35 ( figure 11 ) of the insulating housing, protruding from the partition 21 located on the side of the face 5 towards the inside of the housing, is snapped into the square-shaped orifice 87 of the body 81, the slots 23 formed in this partition 21 ensuring an elastic deformation of the tooth 35.
  • the hook 92 of the hooking tab 82 of the contact foot is housed between the two partition portions 19 of the tab 15, so that the notch 93 is between the two recesses 20 while the notch 88 of the engagement tab 83 is housed between the two partition portions 18, between the teeth 24 ( figure 11 ).
  • the teeth 86 of the foot 80 are arranged in the opening 63 of the step 50 and protrude with respect to the bar towards the face 7 ( figure 11 ).
  • a crimping operation is performed using a tool (not shown) adapted to be introduced into the housing on the side of the face 7 by two chimneys 37 ( figure 10 ) formed in the insulating housing on each side of a central wall 38 and opening on the face 7 to exert pressure against the surfaces 96 of the teeth 86 to move them away from each other as illustrated in FIG. figure 10 .
  • This crimping makes it possible to guarantee the permanent mechanical maintenance of the contact foot 80 with the bar 3 and improves, by increasing the clamping pressure with this bar, the quality of the electrical contact between this foot and this bar.
  • the engagement of the terminal block is here described in the case where it has a contact foot.
  • the interlocking characteristics of the insulating housing alone remain the same when the terminal block does not have such a contact foot (no electrical connection to the rail).
  • the conductive support rail 65 shown on the Figures 15 to 18 is a profile rail commonly used to install terminal blocks. It has a central section 66 and two branches 67 folded at right angles, the ends of the branches 67 being bent at right angles outwards to form two wings side 68, the section of the profile rail thus having a shape in ⁇ (reversed in the figures).
  • This rail can be fixed (for example by screwing the portion 66) to the uprights of an electrical cabinet or against a wall support, the central section 66 and the wings 68 then being in a vertical plane (rotated 90 ° relative to the Figures 17 and 18 ).
  • the interlocking operation consists of hooking the terminal block against one of the wings 68 of the ⁇ rail as illustrated in FIG. figure 15 by introducing this wing into the notch 93 of the hooking tab 82 of the contact foot (shown without the insulating housing in figure 17 for the sake of clarity) as well as in the recess 20 of the attachment lug 15 of the insulating housing ( figure 15 ).
  • the next step is to simultaneously engage the interlocking tab 83 ( figure 18 ) of the contact foot and the locking tab 16 ( figure 16 ) of the insulating housing on the other flange 68 of the ⁇ rail.
  • the operator presses the terminal block against the face 7 towards the rail in ⁇ and preferably, to take advantage of the leverage, the farthest side of the tab 15.
  • This action causes a deformation of the arm 82 until the engagement tab 83 is supported by the ramp 89 of the finger 77 against the upper edge of the wing 68 corresponding.
  • the ramp 89 thus guides the foot 80 which deforms until this ramp passes under the wing 68, the tooth 90 abutting against this wing ( figure 18 ).
  • the boss 78 located at the end of the ramp 89, under the tooth 90 ensures the stable maintenance of the contact foot rail, preventing any risk of inadvertent disengagement.
  • the long length of the sections 94 and 95 ensures optimum flexibility for the arm 76 which deforms throughout this operation.
  • the engagement lug 16 of the insulating housing engages in a similar manner on the same flange, each tooth 24 being supported by its curved surface 28 ( figure 15 ) against the upper edge of the corresponding flange 68 to guide the flap 16.
  • the partitions 25 to 27 of this tab slightly deform transversely to the rail so that each tooth 24 engages and closes under this wing by elastic return ( figure 16 ).
  • a connection to the ⁇ rail is made in the same way except that such a terminal block is engaged to the rail only by the legs of the rail. hooking and engagement of the insulating housing. Such an operation then in this case not to provide an electrical connection but only to ensure mechanical support of the terminal block to the rail.
  • the rail 165 represented in figure 19 and the rail 265 shown in figure 20 differ from the rail 65 represented in figure 17 especially by the height and thickness of their branches and their wings.
  • the V-shaped notch 93 and in particular the distance to the bottom of the notch separating the two branches of the V is adapted to cooperate with the three types of rail illustrated, that the wings of these rails is of constant thickness ( rail 65) or that this thickness decreases towards the edge of the wings (rails 165 and 265).
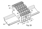
  • This partition 97 ( Figures 21 to 23 ) has two notches 99, two pins 98 and two ribs 96 projecting from the same side of the partition 97.
  • Each notch 99 has a contour similar to that of the opening 43 of the conduit 32 corresponding. Each notch is thus delimited by two straight edges 99 'parallel to the direction of insertion of the cable and an edge 99 "transverse to this direction joining the straight edges 99'.
  • This partition is nested at the junction block 1 by disposing the partition 97 facing the face 5 of the junction block 1 so that the lugs 98 of this partition are engaged in mortises 29 that presents the insulating housing 1 of the block of junction ( figure 22 ), the rib 96 then being housed within the rib 31 to increase the length of the vanishing lines of the terminal block.
  • each duct 32 of the terminal block has an opening 43 through which a wiring end can project laterally, in particular if the largest diameter of this endpiece is greater than the distance separating the main faces 5 and 6 (also called step of the terminal block), neglecting the thickness of the partition 48 closing the conduit 32 at the face 6.
  • the thickness of the partition 48 is relatively small so that it is considered that it is a negligible magnitude before the pitch of the terminal block.
  • larger diameter is used here to mean that of the diameters of the element of the endpiece which has the largest dimension, for example, in the case of the endpiece 70, the diameter of the envelope 72.
  • each terminal block then come to bear, by its face 6 not against the protruding portion of the cable end received in the adjacent terminal block but against the partition 97 of this neighboring block.
  • the convex faces 47, the partition 48 and the shoulder 48 'and the edges 43' and 43 are dimensioned together with the partition 97 to ensure that, even for a wiring end having a larger diameter equal to the diameter. maximum that can be received in the conduit, the portion of this nozzle projecting from the block through the opening 43 of the conduit can be fully housed in the opening 99 of the partition 97 without protruding from this partition.
  • the junction block has a pitch of 5 mm and the ducts 32 are adapted to receive wiring nozzles of greater maximum diameter equal to 6 mm, while the partition 97 has a thickness of 1 mm so as to accommodate in each aperture 99 the portions of the end pieces projecting from the block and up to the maximum diameter of 6 mm (ie a maximum lateral projection of about 1 mm with respect to the terminal block).
  • a tip of larger diameter greater than 6 mm can not be introduced into the ducts 32, these ducts being shaped so that such an endpiece abuts against the edges of the opening 45 and thus prevent its insertion.
  • the terminal block is designed to receive not two but at least three conductors arranged on one or more stages of the terminal block.

Landscapes

  • Connections Arranged To Contact A Plurality Of Conductors (AREA)
  • Coupling Device And Connection With Printed Circuit (AREA)
  • Multi-Conductor Connections (AREA)
  • Details Of Indoor Wiring (AREA)
EP07107546A 2006-05-22 2007-05-04 Ensemble comportant un bloc de jonction pour conducteurs électriques et une cloison amovible à disposer contre le bloc de jonction Active EP1860741B1 (fr)

Priority Applications (1)

Application Number Priority Date Filing Date Title
PL07107546T PL1860741T3 (pl) 2006-05-22 2007-05-04 Zespół zawierający blok łączący dla przewodów elektrycznych i przegrodę zdejmowaną dla umieszczenia przy bloku łączącym

Applications Claiming Priority (1)

Application Number Priority Date Filing Date Title
FR0651881A FR2901416B1 (fr) 2006-05-22 2006-05-22 Ensemble comportant un bloc de jonction pour conducteurs electriques et une cloison amovible a disposer contre le bloc de jonction

Publications (2)

Publication Number Publication Date
EP1860741A1 EP1860741A1 (fr) 2007-11-28
EP1860741B1 true EP1860741B1 (fr) 2008-12-03

Family

ID=37671035

Family Applications (1)

Application Number Title Priority Date Filing Date
EP07107546A Active EP1860741B1 (fr) 2006-05-22 2007-05-04 Ensemble comportant un bloc de jonction pour conducteurs électriques et une cloison amovible à disposer contre le bloc de jonction

Country Status (6)

Country Link
EP (1) EP1860741B1 (pl)
AT (1) ATE416495T1 (pl)
DE (1) DE602007000317D1 (pl)
ES (1) ES2318821T3 (pl)
FR (1) FR2901416B1 (pl)
PL (1) PL1860741T3 (pl)

Cited By (2)

* Cited by examiner, † Cited by third party
Publication number Priority date Publication date Assignee Title
WO2021026626A1 (pt) * 2019-08-14 2021-02-18 Enel Tecnologia De Redes S.A. Bloco de conexão elétrica
LU503992B1 (de) * 2023-04-19 2024-10-21 Phoenix Contact Gmbh & Co Reihenklemme mit Ausbruchfenster

Families Citing this family (1)

* Cited by examiner, † Cited by third party
Publication number Priority date Publication date Assignee Title
GB2460822A (en) * 2008-06-03 2009-12-16 Cambridge Display Tech Ltd Organic electroluminescent device

Family Cites Families (6)

* Cited by examiner, † Cited by third party
Publication number Priority date Publication date Assignee Title
GB1139248A (en) * 1966-05-20 1969-01-08 Amp Inc Rail mounted terminal blocks
GB1302316A (pl) * 1971-09-02 1973-01-10
FR2569311B1 (fr) * 1984-08-14 1987-01-16 Alsthom Cgee Butee d'arret pour barrettes de raccordement electrique montees sur profile symetrique
JP3331149B2 (ja) * 1997-06-23 2002-10-07 松下電工株式会社 回路遮断器
DE20200974U1 (de) * 2002-01-24 2003-05-28 Weidmüller Interface GmbH & Co., 32760 Detmold Durchführungsklemme für elektrische Leiter
DE102004017179B4 (de) * 2004-04-07 2006-12-28 Siemens Ag Sicherungsträger für Reihenklemmen mit Leuchtmelder

Cited By (3)

* Cited by examiner, † Cited by third party
Publication number Priority date Publication date Assignee Title
WO2021026626A1 (pt) * 2019-08-14 2021-02-18 Enel Tecnologia De Redes S.A. Bloco de conexão elétrica
LU503992B1 (de) * 2023-04-19 2024-10-21 Phoenix Contact Gmbh & Co Reihenklemme mit Ausbruchfenster
WO2024217861A1 (de) * 2023-04-19 2024-10-24 Phoenix Contact Gmbh & Co. Kg Reihenklemme mit ausbruchfenster

Also Published As

Publication number Publication date
ATE416495T1 (de) 2008-12-15
FR2901416B1 (fr) 2008-08-08
FR2901416A1 (fr) 2007-11-23
ES2318821T3 (es) 2009-05-01
DE602007000317D1 (de) 2009-01-15
PL1860741T3 (pl) 2009-06-30
EP1860741A1 (fr) 2007-11-28

Similar Documents

Publication Publication Date Title
EP1860738A1 (fr) Bloc de jonction pour conducteurs électriques
EP1622224B1 (fr) Appareil électrique comportant une borne à connexion automatique
EP1496572B1 (fr) Dispositif de connexion pour câble coaxial
EP1860735B1 (fr) Bloc de jonction pour conducteurs électriques
FR2584539A1 (fr) Insert pour connecteur electrique et ce connecteur
EP0208233B1 (fr) Agencement de connexion auto-dénudant encastré pour appareillage électrique et outil de connexion pour un tel agencement
EP0292394A1 (fr) Connecteur électrique
EP1860741B1 (fr) Ensemble comportant un bloc de jonction pour conducteurs électriques et une cloison amovible à disposer contre le bloc de jonction
EP2456021B1 (fr) Prise électrique comportant des montants latéraux mobiles en translation
EP3089295B1 (fr) Dispositif d'interconnexion électrique configuré pour établir une liaison équipotentielle entre un tronçon de chemin de câbles et un tronçon de câble électrique
FR3031842B1 (fr) Connecteur
EP2079133B1 (fr) Borne de connexion pourvue d'un alvéole de réception d'une broche de fiche électrique, prise de courant comportant une telle borne et procédé de fabrication d'une telle borne
FR3099857A1 (fr) Connecteur électrique à détection de raccordement
CA2155402C (fr) Connexion auto-denudante a action rapide
CA2148828C (fr) Connecteur a organes de contact autodenudants
FR2901418A1 (fr) Bloc de jonction pour conducteurs electriques
EP1258949A1 (fr) Système d'accrochage et éléments mettant en oeuvre ce système
FR2650920A1 (fr) Connecteur auto-denudant a elements conducteurs susceptibles de s'entrecroiser
EP4280387B1 (fr) Bornier électrique muni d'un élément mâle et d'un élément femelle de connexion électrique
FR3135835A1 (fr) Appareil électrique à borne de connexion automatique actionnée par l’insertion du conducteur électrique
FR2936367A1 (fr) Connecteur electrique
EP4243219B1 (fr) Prise de courant selon un standard avec contacts de terre latéraux à sécurité renforcée
FR2835974A1 (fr) Dispositif de connexion a deplacement d'isolant
FR2783638A1 (fr) Organe de contact electrique femelle
FR2661048A1 (fr) Systeme pour retenir de facon amovible plusieurs modules en une rangee sur un panneau et outil a utiliser avec un tel systeme.

Legal Events

Date Code Title Description
PUAI Public reference made under article 153(3) epc to a published international application that has entered the european phase

Free format text: ORIGINAL CODE: 0009012

AK Designated contracting states

Kind code of ref document: A1

Designated state(s): AT BE BG CH CY CZ DE DK EE ES FI FR GB GR HU IE IS IT LI LT LU LV MC MT NL PL PT RO SE SI SK TR

AX Request for extension of the european patent

Extension state: AL BA HR MK YU

17P Request for examination filed

Effective date: 20080318

GRAP Despatch of communication of intention to grant a patent

Free format text: ORIGINAL CODE: EPIDOSNIGR1

AKX Designation fees paid

Designated state(s): AT BE BG CH CY CZ DE DK EE ES FI FR GB GR HU IE IS IT LI LT LU LV MC MT NL PL PT RO SE SI SK TR

GRAS Grant fee paid

Free format text: ORIGINAL CODE: EPIDOSNIGR3

GRAS Grant fee paid

Free format text: ORIGINAL CODE: EPIDOSNIGR3

GRAA (expected) grant

Free format text: ORIGINAL CODE: 0009210

AK Designated contracting states

Kind code of ref document: B1

Designated state(s): AT BE BG CH CY CZ DE DK EE ES FI FR GB GR HU IE IS IT LI LT LU LV MC MT NL PL PT RO SE SI SK TR

REG Reference to a national code

Ref country code: GB

Ref legal event code: FG4D

Free format text: NOT ENGLISH

REG Reference to a national code

Ref country code: CH

Ref legal event code: EP

REG Reference to a national code

Ref country code: IE

Ref legal event code: FG4D

Free format text: LANGUAGE OF EP DOCUMENT: FRENCH

REF Corresponds to:

Ref document number: 602007000317

Country of ref document: DE

Date of ref document: 20090115

Kind code of ref document: P

PG25 Lapsed in a contracting state [announced via postgrant information from national office to epo]

Ref country code: LT

Free format text: LAPSE BECAUSE OF FAILURE TO SUBMIT A TRANSLATION OF THE DESCRIPTION OR TO PAY THE FEE WITHIN THE PRESCRIBED TIME-LIMIT

Effective date: 20081203

REG Reference to a national code

Ref country code: ES

Ref legal event code: FG2A

Ref document number: 2318821

Country of ref document: ES

Kind code of ref document: T3

NLV1 Nl: lapsed or annulled due to failure to fulfill the requirements of art. 29p and 29m of the patents act
PG25 Lapsed in a contracting state [announced via postgrant information from national office to epo]

Ref country code: SI

Free format text: LAPSE BECAUSE OF FAILURE TO SUBMIT A TRANSLATION OF THE DESCRIPTION OR TO PAY THE FEE WITHIN THE PRESCRIBED TIME-LIMIT

Effective date: 20081203

Ref country code: NL

Free format text: LAPSE BECAUSE OF FAILURE TO SUBMIT A TRANSLATION OF THE DESCRIPTION OR TO PAY THE FEE WITHIN THE PRESCRIBED TIME-LIMIT

Effective date: 20081203

Ref country code: FI

Free format text: LAPSE BECAUSE OF FAILURE TO SUBMIT A TRANSLATION OF THE DESCRIPTION OR TO PAY THE FEE WITHIN THE PRESCRIBED TIME-LIMIT

Effective date: 20081203

Ref country code: LV

Free format text: LAPSE BECAUSE OF FAILURE TO SUBMIT A TRANSLATION OF THE DESCRIPTION OR TO PAY THE FEE WITHIN THE PRESCRIBED TIME-LIMIT

Effective date: 20081203

REG Reference to a national code

Ref country code: PL

Ref legal event code: T3

REG Reference to a national code

Ref country code: IE

Ref legal event code: FD4D

PG25 Lapsed in a contracting state [announced via postgrant information from national office to epo]

Ref country code: RO

Free format text: LAPSE BECAUSE OF FAILURE TO SUBMIT A TRANSLATION OF THE DESCRIPTION OR TO PAY THE FEE WITHIN THE PRESCRIBED TIME-LIMIT

Effective date: 20081203

Ref country code: EE

Free format text: LAPSE BECAUSE OF FAILURE TO SUBMIT A TRANSLATION OF THE DESCRIPTION OR TO PAY THE FEE WITHIN THE PRESCRIBED TIME-LIMIT

Effective date: 20081203

Ref country code: BG

Free format text: LAPSE BECAUSE OF FAILURE TO SUBMIT A TRANSLATION OF THE DESCRIPTION OR TO PAY THE FEE WITHIN THE PRESCRIBED TIME-LIMIT

Effective date: 20090303

Ref country code: IE

Free format text: LAPSE BECAUSE OF FAILURE TO SUBMIT A TRANSLATION OF THE DESCRIPTION OR TO PAY THE FEE WITHIN THE PRESCRIBED TIME-LIMIT

Effective date: 20081203

PG25 Lapsed in a contracting state [announced via postgrant information from national office to epo]

Ref country code: SE

Free format text: LAPSE BECAUSE OF FAILURE TO SUBMIT A TRANSLATION OF THE DESCRIPTION OR TO PAY THE FEE WITHIN THE PRESCRIBED TIME-LIMIT

Effective date: 20090303

Ref country code: CZ

Free format text: LAPSE BECAUSE OF FAILURE TO SUBMIT A TRANSLATION OF THE DESCRIPTION OR TO PAY THE FEE WITHIN THE PRESCRIBED TIME-LIMIT

Effective date: 20081203

Ref country code: PT

Free format text: LAPSE BECAUSE OF FAILURE TO SUBMIT A TRANSLATION OF THE DESCRIPTION OR TO PAY THE FEE WITHIN THE PRESCRIBED TIME-LIMIT

Effective date: 20090504

Ref country code: IS

Free format text: LAPSE BECAUSE OF FAILURE TO SUBMIT A TRANSLATION OF THE DESCRIPTION OR TO PAY THE FEE WITHIN THE PRESCRIBED TIME-LIMIT

Effective date: 20090403

Ref country code: AT

Free format text: LAPSE BECAUSE OF FAILURE TO SUBMIT A TRANSLATION OF THE DESCRIPTION OR TO PAY THE FEE WITHIN THE PRESCRIBED TIME-LIMIT

Effective date: 20081203

PG25 Lapsed in a contracting state [announced via postgrant information from national office to epo]

Ref country code: SK

Free format text: LAPSE BECAUSE OF FAILURE TO SUBMIT A TRANSLATION OF THE DESCRIPTION OR TO PAY THE FEE WITHIN THE PRESCRIBED TIME-LIMIT

Effective date: 20081203

PLBE No opposition filed within time limit

Free format text: ORIGINAL CODE: 0009261

STAA Information on the status of an ep patent application or granted ep patent

Free format text: STATUS: NO OPPOSITION FILED WITHIN TIME LIMIT

PG25 Lapsed in a contracting state [announced via postgrant information from national office to epo]

Ref country code: DK

Free format text: LAPSE BECAUSE OF FAILURE TO SUBMIT A TRANSLATION OF THE DESCRIPTION OR TO PAY THE FEE WITHIN THE PRESCRIBED TIME-LIMIT

Effective date: 20081203

26N No opposition filed

Effective date: 20090904

BERE Be: lapsed

Owner name: LEGRAND SNC

Effective date: 20090531

Owner name: LEGRAND FRANCE

Effective date: 20090531

PG25 Lapsed in a contracting state [announced via postgrant information from national office to epo]

Ref country code: MC

Free format text: LAPSE BECAUSE OF NON-PAYMENT OF DUE FEES

Effective date: 20090531

PG25 Lapsed in a contracting state [announced via postgrant information from national office to epo]

Ref country code: BE

Free format text: LAPSE BECAUSE OF NON-PAYMENT OF DUE FEES

Effective date: 20090531

PG25 Lapsed in a contracting state [announced via postgrant information from national office to epo]

Ref country code: GR

Free format text: LAPSE BECAUSE OF FAILURE TO SUBMIT A TRANSLATION OF THE DESCRIPTION OR TO PAY THE FEE WITHIN THE PRESCRIBED TIME-LIMIT

Effective date: 20090304

PG25 Lapsed in a contracting state [announced via postgrant information from national office to epo]

Ref country code: IT

Free format text: LAPSE BECAUSE OF NON-PAYMENT OF DUE FEES

Effective date: 20100504

PG25 Lapsed in a contracting state [announced via postgrant information from national office to epo]

Ref country code: LU

Free format text: LAPSE BECAUSE OF NON-PAYMENT OF DUE FEES

Effective date: 20090504

PG25 Lapsed in a contracting state [announced via postgrant information from national office to epo]

Ref country code: HU

Free format text: LAPSE BECAUSE OF FAILURE TO SUBMIT A TRANSLATION OF THE DESCRIPTION OR TO PAY THE FEE WITHIN THE PRESCRIBED TIME-LIMIT

Effective date: 20090604

PG25 Lapsed in a contracting state [announced via postgrant information from national office to epo]

Ref country code: CY

Free format text: LAPSE BECAUSE OF FAILURE TO SUBMIT A TRANSLATION OF THE DESCRIPTION OR TO PAY THE FEE WITHIN THE PRESCRIBED TIME-LIMIT

Effective date: 20081203

REG Reference to a national code

Ref country code: CH

Ref legal event code: PL

GBPC Gb: european patent ceased through non-payment of renewal fee

Effective date: 20110504

PG25 Lapsed in a contracting state [announced via postgrant information from national office to epo]

Ref country code: LI

Free format text: LAPSE BECAUSE OF NON-PAYMENT OF DUE FEES

Effective date: 20110531

Ref country code: CH

Free format text: LAPSE BECAUSE OF NON-PAYMENT OF DUE FEES

Effective date: 20110531

PG25 Lapsed in a contracting state [announced via postgrant information from national office to epo]

Ref country code: GB

Free format text: LAPSE BECAUSE OF NON-PAYMENT OF DUE FEES

Effective date: 20110504

REG Reference to a national code

Ref country code: FR

Ref legal event code: PLFP

Year of fee payment: 10

REG Reference to a national code

Ref country code: FR

Ref legal event code: PLFP

Year of fee payment: 11

REG Reference to a national code

Ref country code: FR

Ref legal event code: PLFP

Year of fee payment: 12

PGFP Annual fee paid to national office [announced via postgrant information from national office to epo]

Ref country code: DE

Payment date: 20250423

Year of fee payment: 19

Ref country code: PL

Payment date: 20250425

Year of fee payment: 19

PGFP Annual fee paid to national office [announced via postgrant information from national office to epo]

Ref country code: ES

Payment date: 20250602

Year of fee payment: 19

PGFP Annual fee paid to national office [announced via postgrant information from national office to epo]

Ref country code: IT

Payment date: 20250423

Year of fee payment: 19

PGFP Annual fee paid to national office [announced via postgrant information from national office to epo]

Ref country code: FR

Payment date: 20250424

Year of fee payment: 19

PGFP Annual fee paid to national office [announced via postgrant information from national office to epo]

Ref country code: TR

Payment date: 20250428

Year of fee payment: 19