EP1842776A2 - Apparatus for packaging trays containing products in a modified atmosphere - Google Patents

Apparatus for packaging trays containing products in a modified atmosphere Download PDF

Info

Publication number
EP1842776A2
EP1842776A2 EP07104527A EP07104527A EP1842776A2 EP 1842776 A2 EP1842776 A2 EP 1842776A2 EP 07104527 A EP07104527 A EP 07104527A EP 07104527 A EP07104527 A EP 07104527A EP 1842776 A2 EP1842776 A2 EP 1842776A2
Authority
EP
European Patent Office
Prior art keywords
tray
film
drawer
envisaged
edge
Prior art date
Legal status (The legal status is an assumption and is not a legal conclusion. Google has not performed a legal analysis and makes no representation as to the accuracy of the status listed.)
Granted
Application number
EP07104527A
Other languages
German (de)
French (fr)
Other versions
EP1842776B1 (en
EP1842776A3 (en
Inventor
Renato Rimondi
Current Assignee (The listed assignees may be inaccurate. Google has not performed a legal analysis and makes no representation or warranty as to the accuracy of the list.)
Gruppo Fabbri Vignola SpA
Original Assignee
AWAX Progettazione e Ricerca SRL
Priority date (The priority date is an assumption and is not a legal conclusion. Google has not performed a legal analysis and makes no representation as to the accuracy of the date listed.)
Filing date
Publication date
Application filed by AWAX Progettazione e Ricerca SRL filed Critical AWAX Progettazione e Ricerca SRL
Publication of EP1842776A2 publication Critical patent/EP1842776A2/en
Publication of EP1842776A3 publication Critical patent/EP1842776A3/en
Application granted granted Critical
Publication of EP1842776B1 publication Critical patent/EP1842776B1/en
Active legal-status Critical Current
Anticipated expiration legal-status Critical

Links

Images

Classifications

    • BPERFORMING OPERATIONS; TRANSPORTING
    • B65CONVEYING; PACKING; STORING; HANDLING THIN OR FILAMENTARY MATERIAL
    • B65BMACHINES, APPARATUS OR DEVICES FOR, OR METHODS OF, PACKAGING ARTICLES OR MATERIALS; UNPACKING
    • B65B31/00Packaging articles or materials under special atmospheric or gaseous conditions; Adding propellants to aerosol containers
    • B65B31/04Evacuating, pressurising or gasifying filled containers or wrappers by means of nozzles through which air or other gas, e.g. an inert gas, is withdrawn or supplied
    • B65B31/043Evacuating, pressurising or gasifying filled containers or wrappers by means of nozzles through which air or other gas, e.g. an inert gas, is withdrawn or supplied the nozzles acting horizontally between an upper and a lower part of the container or wrapper, e.g. between container and lid
    • BPERFORMING OPERATIONS; TRANSPORTING
    • B65CONVEYING; PACKING; STORING; HANDLING THIN OR FILAMENTARY MATERIAL
    • B65BMACHINES, APPARATUS OR DEVICES FOR, OR METHODS OF, PACKAGING ARTICLES OR MATERIALS; UNPACKING
    • B65B31/00Packaging articles or materials under special atmospheric or gaseous conditions; Adding propellants to aerosol containers
    • B65B31/02Filling, closing, or filling and closing, containers or wrappers in chambers maintained under vacuum or superatmospheric pressure or containing a special atmosphere, e.g. of inert gas
    • B65B31/025Filling, closing, or filling and closing, containers or wrappers in chambers maintained under vacuum or superatmospheric pressure or containing a special atmosphere, e.g. of inert gas specially adapted for rigid or semi-rigid containers
    • B65B31/028Filling, closing, or filling and closing, containers or wrappers in chambers maintained under vacuum or superatmospheric pressure or containing a special atmosphere, e.g. of inert gas specially adapted for rigid or semi-rigid containers closed by a lid sealed to the upper rim of the container, e.g. tray-like container

Definitions

  • the invention relates to the machine and to the method described in the document WO 2006/084807 (A1 ), which concerns a machine and a method for packaging food products inside tubs or trays which are closed sealingly at the top with a thermoplastic film, in particular for packaging trays containing the product in a modified atmosphere.
  • this method and with this machine it has been possible to produce packages containing products in a modified atmosphere, with surprising results when tubs or trays made of expanded polystyrene suitably provided for such a type of gas-tight packaging are used, since the said trays have their upper edge which is sufficiently elastically yielding to be suitable for undergoing a process involving continuous welding with the covering film by means of a welding roller which applies onto the tray itself and onto the film the appropriate pressure and heating values.
  • the trays are transparent and made, for example, of PE or PET
  • the aforementioned continuous heat-welding process performed by means of a roller has posed production difficulties owing to the relative rigidity of the edge of these trays, even though sufficiently elastically yielding material was placed under this edge.
  • the modified atmosphere is created inside the tray without the use of vacuum pumps in order to eliminate firstly the air present in the said product-containing tray, but by means of a so-called flushing operation which consists in introducing into the tray the modified atmosphere using blowing means and providing means which allow removal of the air for its replacement with the new conservation atmosphere such that, when the tray is sealingly closed with the film, the latter traps this new atmosphere inside the said tray.
  • the invention intends to overcome this problem and other problems of the prior art, by means of an apparatus as claimed in Claim 1 and the subsequent dependent claims, based on the following proposed solution.
  • the upper edge of the tray rests on an annular rim which is solid and horizontal and which reproduces the form thereof and is preferably lined with a suitable material which is sufficiently elastic and non-adhesive, so as to meet the moulding requirements of a welding die and ensure a good sealed joint with the said edge.
  • This rim delimits internally the opening of a horizontal drawer inside which the body of the tray with the product inside it may be seated and, around this rim, the drawer has a continuous annular channel, the outer shoulder of which has a height greater than that of the inner shoulder and opens out on an upper side of the said drawer, which for this reason is at a greater height than that of the said rim and the upper edge of the tray positioned thereon.
  • an intact length of film unwound from a supply reel and connected at the other end to a storage spool is positioned on the upper side of the drawer and then foil-pressing means are envisaged for pressing, when operated, the film onto the upper side of the said drawer, at a due distance from the outer shoulder of the said annular channel, so as to form a packaging chamber which is substantially closed with respect to the outside and is defined at the bottom by the tray, along the sides by the said annular channel and at the top by the covering film which is at a due distance from the edge of the tray and which allows communication between the latter and the annular channel.
  • This annular channel has, on at least one side and preferably on three consecutive sides, openings through which the modified atmosphere is blown in, upon operation, while on the fourth side the said annular channel has suitable discharge openings, through which the air contained inside the tray firstly passes out, pushed by the front edge of the incoming modified atmosphere, and then this modified atmosphere also partly passes out.
  • the heat-welding plate also has, mounted thereon, shearing or cutting means which, after heat-welding, separate the closed tray with inside the product packaged in a modified atmosphere from the continuous film, following which the said drawer is extracted from such an apparatus, the closed tray is extracted from the said drawer and replaced with a new tray to be packaged and then the entire assembly is inserted again into the said flushing, welding and cutting station, underneath which a new length of intact film has been positioned in synchronism, while the length of film with the window resulting from the previous cycle has been moved away and stored on a suitable spool.
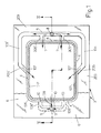
  • the tray V with inside it the product P to be packaged in a modified atmosphere which usually does not project from the upper edge of the said tray, is positioned with its edge B on an annular, horizontal and flat rim 1 which is lined by a continuous and flat seal 2 made of any suitable elastomer material which has good properties in terms of elasticity, sufficient yield, strength at the welding temperature (see below) and non-adherence with respect to the material which forms the said tray V.
  • the rim 1, 2 surrounds the opening 103 of a horizontal drawer 3, which opening has a form and dimensions such that it may be passed through, with play, by the body of the tray V so that the latter rests and is suspended with its edge B on the said rim 1, 2 which in turn has dimensions and a form such as to cooperate in a uniformly distributed manner with the bottom flat surface of the said edge B. It is obvious that, upon variation in the plan-view form and dimensions of the tray V, the drawer 3 with the associated parts is replaced.
  • the rim 1, 2 is surrounded by a continuous annular channel 4, the outer wall 104 of which has a height greater than that of the inner wall which defines the said rim 1 and this outer wall opens out on the upper side 203 of the drawer 3, such that this side 203 is at a level suitably higher than that of the edge B of the tray resting on the said rim 1, 2.
  • the upper side 203 of the drawer 3 has, formed in it, for example by means of a milling operation, at a due distance from the channel 4, a straight duct 5 which is parallel to one side of the same channel 4, for example the short side, and which continues with branches 105, 105' parallel to the consecutive sides, for example those of greater length of the said channel 4, into the middle part of which the said branches 105, 105' lead with inclined and mutually converging sections 205, 205'.
  • the middle part of the channel 5 has, joined to it, in a symmetrical position, the ends of the ducts 305, 305' which also communicate with the short side of the channel 4, all of which so that, by fixing in a sealed manner onto the upper side 203 of the drawer a covering plate 6 with, in the centre, an opening 106 which leaves the channel 4 free, the end parts of the said branches 305, 305' and 205, 205' of the duct 5 open out inside the channel 4 with - for example rectangular - apertures 7 and 107 which have the same width as each other (see below).
  • the top end of a vertical hole with a suitable cross-section 8 opens out in the middle part of the duct 5 and has, connected at its bottom end, the circuit for supplying the modified atmosphere at appropriate pressure values, schematically indicated by the arrow IN.
  • the duct 5 is connected to the ducts 105, 105' via connected branches and the same ducts 105, 105' as well as the end ducts 205, 205' may be formed with a depth slightly increasing towards the associated discharge mouths 107, in order to compensate for the losses in head, so that gas is emitted from these mouths 107 substantially with the same flowrate and/or pressure as that which emerges from the first mouths 7.
  • a duct 9 is formed, parallel to the duct 5, along the other short side of the channel 4, at a due distance from the latter, again by means of milling in the upper side of the drawer 3, said channel 9 continuing towards the said channel 4 with symmetrically arranged branches 109, 109', 109", all of which so that, owing to the presence of the overlying covering plate 6, these ducts communicate with the same channel 4 with flat mouths 10 having a suitable cross-section and, as shown in Figure 2, the middle part of the duct 9 is connected to the end of a vertical hole 11 which is formed in the drawer 3 and which at its top end is connected freely to the atmosphere, as indicated by the arrow OUT or is connected to suction means, not shown, or to other means referred to further below.
  • the cross-section of the mouths 7 and 10 will be commented upon in the remainder of the description.
  • the drawer 3 is mounted on any suitable at least horizontal movement means such that the said drawer is able to pass from a position which allows loading of the tray on the rim 1, 2 into a position for flushing and closing the said tray and such that the said drawer may then be retracted for unloading the packaged tray and for replacing the latter with a new tray to be packaged. Operation of the tray 3 and the tray loading and unloading operations may be performed manually or may be automated as per the example indicated further below.
  • the drawer 3 While in the loading position, the drawer 3 is free at the top, in the other operating position the same drawer is positioned underneath a length of film 112 unwound from a reel 12, driven on suitable rollers 13, 113, 213, 313 and connected at the other end to a storage spool 14, this latter component and preferably also the reel 12 being operated by motor-driven means so that the said length of film which is situated above the drawer 3 is suitably extended.
  • the drawer 3 reaches the tray packaging station, the said drawer is centred vertically in a precision manner relative to the overlying operating head 15 which is located at a suitable distance from the film 112 and which is connected to vertical raising and lowering means 16, the thrust of which during the downward stroke may be programmed (see below).
  • the head 15 has an upper table 115 which is directly connected to the vertical movement means 16 and which has, mounted on its perimeter underneath, linear pressers 17 with a bottom lining 117 of suitable elastically yielding material, formed integrally with vertical rods 18 which pass in a guided manner through corresponding vertical holes 19 provided in the table 115 and are provided at the top with an anti-extraction head 118 and for example are fitted along the section underneath the said table 115 with cylindrical-helix springs 20 which have suitable properties.
  • the pressers 17 have their bottom side which lies in a common horizontal ideal plane and are arranged so that, when the head 15 is lowered during the active working stroke, the said pressers touch with their bottom rubber-lined side a portion of the film 112 which is situated outside and all the way around the annular channel 4 of the drawer 3, as shown in Figure 3, so as to fix the said film on the said drawer 3.
  • the pipe 8 may be connected permanently to the source supplying the modified atmosphere, for example by means of a flexible tube, or the connection to this station may be performed in an impromptu manner, only when the drawer 3 is situated underneath the operating head 15, by means of a coupling mounted on special raising and lowering means, all of which in a manner which can be readily and easily realized by persons skilled in the art.
  • the modified atmosphere gradually occupies the said chamber C, expelling the air through the duct 11, until this chamber is completely saturated.
  • the modified atmosphere may be supplied continuously, with a constant pressure or with a variable pressure, or may be supplied at a constant pressure, but intermittently, depending on the requirements which may be conditioned by the shape and/or the quantity of product placed inside the tray V.
  • the modified atmosphere which will be trapped inside the tray V must not be under pressure, so that, also so as to favour initial evacuation of the air from the said tray, the sum of the cross-sections of the discharge mouths 10 is equal to or greater than the sum of the cross-sections of the supply mouths 7, 107 (Fig. 1).
  • the discharge duct 11 may, for example, be connected to a variable throttling device which is driven by means which will allow it to intervene during the final stage of the cycle for internal conditioning of the tray, so as to slow down discharging and achieve the desired pressure condition inside the said tray.
  • the same upper table 115 of the head unit 15 has, suspended from it, a welding plate 21 which is provided at the bottom with a horizontal edge 121 projecting downwards and lined with a suitable material which is non-adhesive with respect to the film and heated by suitable electric resistances 22 which are housed in the said plate 21 and connected to the power supply bush 122 and operation of which is controlled by at least one temperature probe 23.
  • the bottom edge 121 of the heating plate 21 is such as to reproduce the plan-view form of the upper edge B of the tray V and is initially raised from the ideal plane in which the bottom edge of the pressers 17 lies so that, during the aforementioned step for conditioning the internal atmosphere of the tray, the said edge 121 is suitably raised from the film 112.
  • the welding plate 21 is suspended from the table 115 by means of vertical rods 24 which slide inside vertical guide seats 25 which are thermally insulated and situated in the same table 115 and on which the said rods 24 normally rest with their heads 124 both by means of gravity and as a result of the action of cylindrical-helix springs 26 which, for example, are fitted on the section of the rods 24 projecting underneath the guide seats 25.
  • a shearing or cutting frame 27 is provided around the welding plate 21 and is fixed at the top at 127 to the perimetral edge of a recess of the table 115 and has a bottom edge 227 with a cutting action, for example having sawteeth and converging towards the plate 21.
  • the edge 227 of the cutting frame 27 is suitably raised relative to the bottom edge 121 of the said plate 21, all of which so that when, during the lowering movement of the operating head 15, after operation of the foil-pressing pressers 17 and once conditioning of the internal atmosphere of the tray V has been performed, the bottom edge 121 of the welding plate touches the film 112 which is retained externally by the said pressers 17, stretches it suitably and pushes it onto the edge B of the tray, so as to heat-weld it onto this edge (see Figure 4), trapping the modified atmosphere for conserving the product inside the said tray.
  • the head 15 is raised, as can be seen from Figure 2, and the drawer 3 with the packaged tray is moved away so as to allow the unloading of the said closed tray and its replacement with a new tray to be packaged.
  • the means 112 for moving the film 112 are activated so that the waste material 112' of the film, produced during the previous cycle, is conveyed away towards the storage spool 14 and a new length of intact film is positioned underneath the closing and shearing head 15.
  • the apparatus may be easily designed so as to handle simultaneously several trays, in particular if of medium-to-small format, arranged in succession with each other and/or alongside each other.
  • the apparatus as described, may be mounted effectively in a part of the machine which performs the automatic movement of the drawer 3 and the trays V during loading and unloading into and from the drawer, as described in the patent application cited in the introduction and as illustrated schematically in Figures 6 and 7.
  • roller 213 for driving the film which is situated downstream of the operating head 15, is mounted on an arm 29 mounted with the possibility of pivoting about a fulcrum 129 supported by the table 115 of the head 15 and that it is pushed downwards by spring means, not shown, all of which in such a way that, when the said head 15 is raised at the end of each working cycle, the length of film 112' in which a window was formed during the previous cycle, is arranged obliquely so as to allow unloading of the packaged tray underneath the raised roller 213.
  • the trays V are fed forwards by means of a belt or band conveyor 30 driven over rollers 31, 131, 231, 331, 431 which are supported rotatably by the fixed chassis of the machine and the downstream roller 31 of which is connected to a drive unit 32 which is controlled by the processor for controlling the machine itself.
  • the upper section of the conveyor 30 has an intermediate depression which has a length suitably greater than that of the trays to be treated during each cycle and in which the belts of this section of the conveyor follow a U-shaped path as a result of being driven over at least four rollers 33, 133, 233, 333 which are rotatably supported by a carriage 34 which may be displaced horizontally by suitable means from the position shown in Figure 6, where it is upstream of the head 15, for the tray loading and unloading operations (see below), into the position according to Figure 7 where it is situated underneath the head 15 for the operation of packaging the said trays.
  • the front section 130 of the conveyor 30 travels over a flat structure 35 which is fixed to the chassis of the machine and has a length such as to support at least one tray V to be packaged, while the end part 230 of the upper section of the said conveyor is free of obstacles so as not hinder the travel of the carriage 34 on which the drawer 3 described above is mounted, in such a way that the upper side of the plate 6 of this drawer is coplanar with the upper section of the conveyor 30 in question.
  • the same carriage 34 has, mounted thereon, the vertical guides 136 and the actuator for the vertical movement of a horizontal lifting table 36 which may be raised inside the opening 103 of the drawer 3, so as to be arranged with its upper side coplanar with that of the said drawer, as illustrated in broken lines in Figure 6, or which may be lowered as illustrated in continuous lines.
  • the machine is completed by a fixed stop cross-bar 37 which is situated above the upstream roller 113 for driving the film, a further fixed stop cross-bar 38 situated upstream of the cross-bar 37 and a further cross-bar 39 situated upstream of the cross-bar 38, at a distance from the latter which is slightly greater than the length of the product to be fed into the drawer 3 and connected to raising and lowering means which are schematically indicated by the arrow 139.
  • the carriage 34 is in the retracted position shown in Figure 6, with the lifting table 36 in the high position, with a tray V1 resting against the middle cross-bar 38 (see below) and detected by a sensor 40, with the cross-bar 39 lowered and with the conveyor 30 activated so that the next tray V2 is stopped against the said cross-bar 39 and detected by a sensor 41.
  • the conveyor 30 stops, the lifting table 36 moves downwards so as to position the tray V1 on the rim 1, 2 of the drawer 3 and, when this condition is detected by the sensor 40, the forward movement of the carriage 34 is effected so as to bring the tray V1 underneath the head 15 in order to perform the operating steps described with reference to Figures 1 to 5.
  • the conveyor 30 can be activated with simultaneous raising of the upstream cross-bar 39 so as to bring the tray V2 against the fixed middle cross-bar 38 and, when this condition is detected by the sensor 40, the said upstream cross-bar 39 is lowered and the conveyor 30 is stopped immediately or when the sensor 41 detects a further tray against the said lowered cross-bar 39.
  • the lifting table 36 is raised and brings the closed tray V1 above the drawer 3 such that, when the carriage 34 is subsequently retracted towards the left, as can be seen from Figure 6, the same tray is retained by the fixed cross-bar 37 and is arranged on the upper right-hand section 230 of the conveyor 30 which is gradually lengthened and, when the carriage reaches the start-of-cycle position, it finds the tray V2 which is arranged on its lifting table 36 in the high position, ready to be inserted inside the drawer 3 for repetition of a new working cycle.
  • the conveyor 30 is reactivated so as to move the closed tray V1 away from the head 15 and transfer it onto a motor-driven downstream conveyor 42, while the transfer of the packaging is detected by a sensor 43 which signals to the processor of the machine the correct execution of the working steps.
  • the means for unwinding the film 112 from the reel 12 and the means for storing the waste material 112' on the spool 14 are activated so as to position a new intact and extended length of the said film 112 underneath the head 15.

Landscapes

  • Chemical & Material Sciences (AREA)
  • Dispersion Chemistry (AREA)
  • Engineering & Computer Science (AREA)
  • Mechanical Engineering (AREA)
  • Closing Of Containers (AREA)
  • Basic Packing Technique (AREA)
  • Supplying Of Containers To The Packaging Station (AREA)
  • Control And Other Processes For Unpacking Of Materials (AREA)
  • Vacuum Packaging (AREA)

Abstract

The apparatus comprises a horizontal drawer (3) with an opening (103) through which the body of the tray to be packaged can pass, said tray with its edge (B) resting on the upper, horizontal and flat side of an annular rim (1) which surrounds the said opening and, around this rim, the drawer has a continuous annular channel (4), the outer shoulder (104) of which has a height greater than that of the inner shoulder and opens out on the upper side (203) of the said drawer which is thus at a height greater than that of the said rim (1) and the upper edge (B) of the tray positioned on the latter. Means are envisaged for extending over the upper side of the said drawer with the tray inside it a length of barrier film (112) and foil-pressing means (17) are envisaged for pressing, when operated, the film onto the upper side of the drawer (3), at a due distance from the outer shoulder of the said annular channel (4), all of which so as to form a packaging chamber (C) which is substantially closed with respect to the exterior and is defined at the bottom by the tray (V), at the top by the said barrier film and along the sides by the said annular channel (4) which has along at least one side one or more openings (7) through which, upon operation, the modified atmosphere may be blown into the said chamber (C), while on the opposite side of the said annular channel (4) one or more discharge openings (10) are provided, through which openings firstly the air contained inside the tray, pushed by the front edge of the incoming modified atmosphere, is able to pass out and also part of the said modified atmosphere can pass out. Once packaging of the said chamber has been completed, a heat-welding plate (21) is lowered and pushed onto the edge (B) of the tray so as to heat-weld onto the latter the said closing film (112) and trap in the packaging thus formed the quantity of modified atmosphere useful for conserving the product, following which, after the heat-welding, cutting means (27) are activated and separate from the film the closed tray.

Description

  • The invention relates to the machine and to the method described in the document WO 2006/084807 (A1 ), which concerns a machine and a method for packaging food products inside tubs or trays which are closed sealingly at the top with a thermoplastic film, in particular for packaging trays containing the product in a modified atmosphere. With this method and with this machine it has been possible to produce packages containing products in a modified atmosphere, with surprising results when tubs or trays made of expanded polystyrene suitably provided for such a type of gas-tight packaging are used, since the said trays have their upper edge which is sufficiently elastically yielding to be suitable for undergoing a process involving continuous welding with the covering film by means of a welding roller which applies onto the tray itself and onto the film the appropriate pressure and heating values. When, instead, the trays are transparent and made, for example, of PE or PET, the aforementioned continuous heat-welding process performed by means of a roller has posed production difficulties owing to the relative rigidity of the edge of these trays, even though sufficiently elastically yielding material was placed under this edge. In order to be able to perform operations also on this type of tub or tray it was necessary to devise a new solution which would allow the flushing with modified atmosphere of the internal volume of the product-containing tray to be performed, so as to expel the air from this volume and replace it gradually with the mixture of conservation gases, in a same static station where heat-welding of the film onto the edge of the tray is subsequently performed, using a welding plate which reproduces the form and the dimensions of the edge of the said tray, for example in the same station where previously the shearing operation was performed in order to separate the closed tray from the film used to obtain the closing cover for the said tray. This research resulted in an operating station or an apparatus which could function with a manual cycle for insertion and extraction of the trays to be packaged or which could be integrated in the context of a machine which automatically performs the movement of the product-containing trays, for example as described in the aforementioned patent application. Also in the station or in the apparatus according to the invention, the modified atmosphere is created inside the tray without the use of vacuum pumps in order to eliminate firstly the air present in the said product-containing tray, but by means of a so-called flushing operation which consists in introducing into the tray the modified atmosphere using blowing means and providing means which allow removal of the air for its replacement with the new conservation atmosphere such that, when the tray is sealingly closed with the film, the latter traps this new atmosphere inside the said tray. At present various systems for being able to implement this method are known, for example using the window which is created in the film closing the trays after the shearing operation, it being temporarily retained in the welding station so that a new product-containing tray may be positioned underneath it. The modified atmosphere is blown in through this window in the film via a special nozzle and then the film is made to advance so as to close the tray with the new atmosphere inside it, following which the new closed portion of film is heat-welded onto the upper edge of the tray and the shearing operation is then performed in order to separate from the continuous film the closed tray with inside it the product in a modified atmosphere and allow the repetition of a new working cycle. This method is described in the US patent 6,202,388 dated 6/9/1998. This method of operation involves relatively long cycle times and poses difficulties as regards performing an effective flushing operation since this terminates the instant the film is displaced in order to close the tray and because the film itself is not in a condition where it makes sealing contact with the edge of the tray to be closed.
  • The invention intends to overcome this problem and other problems of the prior art, by means of an apparatus as claimed in Claim 1 and the subsequent dependent claims, based on the following proposed solution. The upper edge of the tray rests on an annular rim which is solid and horizontal and which reproduces the form thereof and is preferably lined with a suitable material which is sufficiently elastic and non-adhesive, so as to meet the moulding requirements of a welding die and ensure a good sealed joint with the said edge. This rim delimits internally the opening of a horizontal drawer inside which the body of the tray with the product inside it may be seated and, around this rim, the drawer has a continuous annular channel, the outer shoulder of which has a height greater than that of the inner shoulder and opens out on an upper side of the said drawer, which for this reason is at a greater height than that of the said rim and the upper edge of the tray positioned thereon. In the apparatus in question, an intact length of film unwound from a supply reel and connected at the other end to a storage spool is positioned on the upper side of the drawer and then foil-pressing means are envisaged for pressing, when operated, the film onto the upper side of the said drawer, at a due distance from the outer shoulder of the said annular channel, so as to form a packaging chamber which is substantially closed with respect to the outside and is defined at the bottom by the tray, along the sides by the said annular channel and at the top by the covering film which is at a due distance from the edge of the tray and which allows communication between the latter and the annular channel. This annular channel has, on at least one side and preferably on three consecutive sides, openings through which the modified atmosphere is blown in, upon operation, while on the fourth side the said annular channel has suitable discharge openings, through which the air contained inside the tray firstly passes out, pushed by the front edge of the incoming modified atmosphere, and then this modified atmosphere also partly passes out. It is obvious, therefore, that, when a heat-welding plate is lowered onto the tray and pushes and heats the film on the upper edge of the tray, in order to weld it sealingly on this edge, inside the said tray, closed by the film, modified atmosphere with qualitative and quantitative characteristics which are rigorously repeatable over time remains securely trapped since flushing is maintained until the heat-welding step. The heat-welding plate also has, mounted thereon, shearing or cutting means which, after heat-welding, separate the closed tray with inside the product packaged in a modified atmosphere from the continuous film, following which the said drawer is extracted from such an apparatus, the closed tray is extracted from the said drawer and replaced with a new tray to be packaged and then the entire assembly is inserted again into the said flushing, welding and cutting station, underneath which a new length of intact film has been positioned in synchronism, while the length of film with the window resulting from the previous cycle has been moved away and stored on a suitable spool.
  • Further characteristic features of the invention and the advantages arising therefrom will emerge more clearly from the following description of a preferred embodiment of the invention, illustrated purely by way of a non-limiting example, in the figures of the accompanying plates of drawings in which:
    • Fig. 1 is a plan view, from above, of a possible embodiment of a drawer which supports the tray with the product during packaging;
    • Fig. 2 illustrates other constructional and functional details of the drawer according to Figure 1, sectioned along the line II-II and shown along with the other parts of the apparatus which comprise the foil-pressing gripper, the welding plate, the cutting blades and the means for driving and actuating the film for closing the trays;
    • Figs. 3, 4 and 5 show the apparatus according to Figure 2 during subsequent working steps;
    • Figs. 6 and 7 are schematic side views of a possible automatic machine which incorporates the apparatus according to the preceding figures.
  • With reference to Figures 1 and 2 it can be seen that the tray V with inside it the product P to be packaged in a modified atmosphere, which usually does not project from the upper edge of the said tray, is positioned with its edge B on an annular, horizontal and flat rim 1 which is lined by a continuous and flat seal 2 made of any suitable elastomer material which has good properties in terms of elasticity, sufficient yield, strength at the welding temperature (see below) and non-adherence with respect to the material which forms the said tray V. The rim 1, 2 surrounds the opening 103 of a horizontal drawer 3, which opening has a form and dimensions such that it may be passed through, with play, by the body of the tray V so that the latter rests and is suspended with its edge B on the said rim 1, 2 which in turn has dimensions and a form such as to cooperate in a uniformly distributed manner with the bottom flat surface of the said edge B. It is obvious that, upon variation in the plan-view form and dimensions of the tray V, the drawer 3 with the associated parts is replaced.
  • The rim 1, 2 is surrounded by a continuous annular channel 4, the outer wall 104 of which has a height greater than that of the inner wall which defines the said rim 1 and this outer wall opens out on the upper side 203 of the drawer 3, such that this side 203 is at a level suitably higher than that of the edge B of the tray resting on the said rim 1, 2. The upper side 203 of the drawer 3 has, formed in it, for example by means of a milling operation, at a due distance from the channel 4, a straight duct 5 which is parallel to one side of the same channel 4, for example the short side, and which continues with branches 105, 105' parallel to the consecutive sides, for example those of greater length of the said channel 4, into the middle part of which the said branches 105, 105' lead with inclined and mutually converging sections 205, 205'. The middle part of the channel 5 has, joined to it, in a symmetrical position, the ends of the ducts 305, 305' which also communicate with the short side of the channel 4, all of which so that, by fixing in a sealed manner onto the upper side 203 of the drawer a covering plate 6 with, in the centre, an opening 106 which leaves the channel 4 free, the end parts of the said branches 305, 305' and 205, 205' of the duct 5 open out inside the channel 4 with - for example rectangular - apertures 7 and 107 which have the same width as each other (see below). The top end of a vertical hole with a suitable cross-section 8 opens out in the middle part of the duct 5 and has, connected at its bottom end, the circuit for supplying the modified atmosphere at appropriate pressure values, schematically indicated by the arrow IN. As can be seen from Figure 1, the duct 5 is connected to the ducts 105, 105' via connected branches and the same ducts 105, 105' as well as the end ducts 205, 205' may be formed with a depth slightly increasing towards the associated discharge mouths 107, in order to compensate for the losses in head, so that gas is emitted from these mouths 107 substantially with the same flowrate and/or pressure as that which emerges from the first mouths 7.
  • Still with reference to Figures 1 and 2 it can be seen that a duct 9 is formed, parallel to the duct 5, along the other short side of the channel 4, at a due distance from the latter, again by means of milling in the upper side of the drawer 3, said channel 9 continuing towards the said channel 4 with symmetrically arranged branches 109, 109', 109", all of which so that, owing to the presence of the overlying covering plate 6, these ducts communicate with the same channel 4 with flat mouths 10 having a suitable cross-section and, as shown in Figure 2, the middle part of the duct 9 is connected to the end of a vertical hole 11 which is formed in the drawer 3 and which at its top end is connected freely to the atmosphere, as indicated by the arrow OUT or is connected to suction means, not shown, or to other means referred to further below. The cross-section of the mouths 7 and 10 will be commented upon in the remainder of the description.
  • The drawer 3 is mounted on any suitable at least horizontal movement means such that the said drawer is able to pass from a position which allows loading of the tray on the rim 1, 2 into a position for flushing and closing the said tray and such that the said drawer may then be retracted for unloading the packaged tray and for replacing the latter with a new tray to be packaged. Operation of the tray 3 and the tray loading and unloading operations may be performed manually or may be automated as per the example indicated further below. While in the loading position, the drawer 3 is free at the top, in the other operating position the same drawer is positioned underneath a length of film 112 unwound from a reel 12, driven on suitable rollers 13, 113, 213, 313 and connected at the other end to a storage spool 14, this latter component and preferably also the reel 12 being operated by motor-driven means so that the said length of film which is situated above the drawer 3 is suitably extended. When the drawer 3 reaches the tray packaging station, the said drawer is centred vertically in a precision manner relative to the overlying operating head 15 which is located at a suitable distance from the film 112 and which is connected to vertical raising and lowering means 16, the thrust of which during the downward stroke may be programmed (see below). The head 15 has an upper table 115 which is directly connected to the vertical movement means 16 and which has, mounted on its perimeter underneath, linear pressers 17 with a bottom lining 117 of suitable elastically yielding material, formed integrally with vertical rods 18 which pass in a guided manner through corresponding vertical holes 19 provided in the table 115 and are provided at the top with an anti-extraction head 118 and for example are fitted along the section underneath the said table 115 with cylindrical-helix springs 20 which have suitable properties. The pressers 17 have their bottom side which lies in a common horizontal ideal plane and are arranged so that, when the head 15 is lowered during the active working stroke, the said pressers touch with their bottom rubber-lined side a portion of the film 112 which is situated outside and all the way around the annular channel 4 of the drawer 3, as shown in Figure 3, so as to fix the said film on the said drawer 3. In synchronism with operation of the pressers 17, conditioning of the atmosphere inside the tray V is activated, the latter being closed inside a chamber C which is defined partly by the said tray, by the support rim 1, 2, by the annular channel 4 and by the covering film 112 which is retained by the pressers 17 and this chamber C is connected on one side to the pipe 8 and to the means IN which in synchronism introduce the modified atmosphere for conservation of the product and on the other side is connected to the discharge pipe 11. The pipe 8 may be connected permanently to the source supplying the modified atmosphere, for example by means of a flexible tube, or the connection to this station may be performed in an impromptu manner, only when the drawer 3 is situated underneath the operating head 15, by means of a coupling mounted on special raising and lowering means, all of which in a manner which can be readily and easily realized by persons skilled in the art. The modified atmosphere gradually occupies the said chamber C, expelling the air through the duct 11, until this chamber is completely saturated. The modified atmosphere may be supplied continuously, with a constant pressure or with a variable pressure, or may be supplied at a constant pressure, but intermittently, depending on the requirements which may be conditioned by the shape and/or the quantity of product placed inside the tray V. Usually, the modified atmosphere which will be trapped inside the tray V must not be under pressure, so that, also so as to favour initial evacuation of the air from the said tray, the sum of the cross-sections of the discharge mouths 10 is equal to or greater than the sum of the cross-sections of the supply mouths 7, 107 (Fig. 1). If, on the other hand, packaging must be performed at the correct pressure, the discharge duct 11 may, for example, be connected to a variable throttling device which is driven by means which will allow it to intervene during the final stage of the cycle for internal conditioning of the tray, so as to slow down discharging and achieve the desired pressure condition inside the said tray.
  • The same upper table 115 of the head unit 15 has, suspended from it, a welding plate 21 which is provided at the bottom with a horizontal edge 121 projecting downwards and lined with a suitable material which is non-adhesive with respect to the film and heated by suitable electric resistances 22 which are housed in the said plate 21 and connected to the power supply bush 122 and operation of which is controlled by at least one temperature probe 23. The bottom edge 121 of the heating plate 21 is such as to reproduce the plan-view form of the upper edge B of the tray V and is initially raised from the ideal plane in which the bottom edge of the pressers 17 lies so that, during the aforementioned step for conditioning the internal atmosphere of the tray, the said edge 121 is suitably raised from the film 112. The welding plate 21 is suspended from the table 115 by means of vertical rods 24 which slide inside vertical guide seats 25 which are thermally insulated and situated in the same table 115 and on which the said rods 24 normally rest with their heads 124 both by means of gravity and as a result of the action of cylindrical-helix springs 26 which, for example, are fitted on the section of the rods 24 projecting underneath the guide seats 25. A shearing or cutting frame 27 is provided around the welding plate 21 and is fixed at the top at 127 to the perimetral edge of a recess of the table 115 and has a bottom edge 227 with a cutting action, for example having sawteeth and converging towards the plate 21. When the welding plate 21 is in the rest position, the edge 227 of the cutting frame 27 is suitably raised relative to the bottom edge 121 of the said plate 21, all of which so that when, during the lowering movement of the operating head 15, after operation of the foil-pressing pressers 17 and once conditioning of the internal atmosphere of the tray V has been performed, the bottom edge 121 of the welding plate touches the film 112 which is retained externally by the said pressers 17, stretches it suitably and pushes it onto the edge B of the tray, so as to heat-weld it onto this edge (see Figure 4), trapping the modified atmosphere for conserving the product inside the said tray. In sequence, while the head 15 continues its downwards movement, the springs 26 of the welding plate 21 are also compressed and the bottom edge 227 of the cutting frame 27 is lowered with respect to the welding edge 121, as illustrated in Figure 5, in order to perform the cutting operation which separates the length of film 112 which closes the tray, from the outer waste material of the said film. At the end of this step, an end-of-travel device 28, which is integral, for example, with the plate 115, comes into contact with the welding plate 21 so as to ensure that the actuator 16 for lowering the head 15 is able to push the said plate 21 during the welding action, with a programmed pressure. Once welding has been performed, the head 15 is raised, as can be seen from Figure 2, and the drawer 3 with the packaged tray is moved away so as to allow the unloading of the said closed tray and its replacement with a new tray to be packaged. In synchronism the means 112 for moving the film 112 are activated so that the waste material 112' of the film, produced during the previous cycle, is conveyed away towards the storage spool 14 and a new length of intact film is positioned underneath the closing and shearing head 15.
  • It is obvious that, with a variation in the plan-view format of the trays V to be packaged, it is required to replace, in addition to the drawer 3, also the entire operating head 15. The apparatus, as described, may be easily designed so as to handle simultaneously several trays, in particular if of medium-to-small format, arranged in succession with each other and/or alongside each other.
  • The apparatus, as described, may be mounted effectively in a part of the machine which performs the automatic movement of the drawer 3 and the trays V during loading and unloading into and from the drawer, as described in the patent application cited in the introduction and as illustrated schematically in Figures 6 and 7. From Figure 6 it can be seen that the roller 213 for driving the film, which is situated downstream of the operating head 15, is mounted on an arm 29 mounted with the possibility of pivoting about a fulcrum 129 supported by the table 115 of the head 15 and that it is pushed downwards by spring means, not shown, all of which in such a way that, when the said head 15 is raised at the end of each working cycle, the length of film 112' in which a window was formed during the previous cycle, is arranged obliquely so as to allow unloading of the packaged tray underneath the raised roller 213. The trays V are fed forwards by means of a belt or band conveyor 30 driven over rollers 31, 131, 231, 331, 431 which are supported rotatably by the fixed chassis of the machine and the downstream roller 31 of which is connected to a drive unit 32 which is controlled by the processor for controlling the machine itself. The upper section of the conveyor 30 has an intermediate depression which has a length suitably greater than that of the trays to be treated during each cycle and in which the belts of this section of the conveyor follow a U-shaped path as a result of being driven over at least four rollers 33, 133, 233, 333 which are rotatably supported by a carriage 34 which may be displaced horizontally by suitable means from the position shown in Figure 6, where it is upstream of the head 15, for the tray loading and unloading operations (see below), into the position according to Figure 7 where it is situated underneath the head 15 for the operation of packaging the said trays. The front section 130 of the conveyor 30 travels over a flat structure 35 which is fixed to the chassis of the machine and has a length such as to support at least one tray V to be packaged, while the end part 230 of the upper section of the said conveyor is free of obstacles so as not hinder the travel of the carriage 34 on which the drawer 3 described above is mounted, in such a way that the upper side of the plate 6 of this drawer is coplanar with the upper section of the conveyor 30 in question. The same carriage 34 has, mounted thereon, the vertical guides 136 and the actuator for the vertical movement of a horizontal lifting table 36 which may be raised inside the opening 103 of the drawer 3, so as to be arranged with its upper side coplanar with that of the said drawer, as illustrated in broken lines in Figure 6, or which may be lowered as illustrated in continuous lines. The machine is completed by a fixed stop cross-bar 37 which is situated above the upstream roller 113 for driving the film, a further fixed stop cross-bar 38 situated upstream of the cross-bar 37 and a further cross-bar 39 situated upstream of the cross-bar 38, at a distance from the latter which is slightly greater than the length of the product to be fed into the drawer 3 and connected to raising and lowering means which are schematically indicated by the arrow 139. At the start of each working cycle, the carriage 34 is in the retracted position shown in Figure 6, with the lifting table 36 in the high position, with a tray V1 resting against the middle cross-bar 38 (see below) and detected by a sensor 40, with the cross-bar 39 lowered and with the conveyor 30 activated so that the next tray V2 is stopped against the said cross-bar 39 and detected by a sensor 41. When these conditions arise, the conveyor 30 stops, the lifting table 36 moves downwards so as to position the tray V1 on the rim 1, 2 of the drawer 3 and, when this condition is detected by the sensor 40, the forward movement of the carriage 34 is effected so as to bring the tray V1 underneath the head 15 in order to perform the operating steps described with reference to Figures 1 to 5. With the descending movement of the head 15, the film 112 passes from the inclined position into the horizontal position for covering the tray. During the step for packaging the tray V1, the conveyor 30 can be activated with simultaneous raising of the upstream cross-bar 39 so as to bring the tray V2 against the fixed middle cross-bar 38 and, when this condition is detected by the sensor 40, the said upstream cross-bar 39 is lowered and the conveyor 30 is stopped immediately or when the sensor 41 detects a further tray against the said lowered cross-bar 39.
  • Once packaging of the tray V1 has been performed, in correct sequence with raising of the head 15 which arranges the waste material 112' of the film in an inclined position as can be seen from Figure 6, the lifting table 36 is raised and brings the closed tray V1 above the drawer 3 such that, when the carriage 34 is subsequently retracted towards the left, as can be seen from Figure 6, the same tray is retained by the fixed cross-bar 37 and is arranged on the upper right-hand section 230 of the conveyor 30 which is gradually lengthened and, when the carriage reaches the start-of-cycle position, it finds the tray V2 which is arranged on its lifting table 36 in the high position, ready to be inserted inside the drawer 3 for repetition of a new working cycle. While the carriage 34 moves to the left or when it then moves to the right, the conveyor 30 is reactivated so as to move the closed tray V1 away from the head 15 and transfer it onto a motor-driven downstream conveyor 42, while the transfer of the packaging is detected by a sensor 43 which signals to the processor of the machine the correct execution of the working steps. In sequence with the steps described, the means for unwinding the film 112 from the reel 12 and the means for storing the waste material 112' on the spool 14 are activated so as to position a new intact and extended length of the said film 112 underneath the head 15.

Claims (23)

  1. Apparatus for packaging products in a modified atmosphere, consisting of trays (V) which are made of plastic with a barrier effect and contain a product (P) and on the upper edge (B) of which a thermoplastic film with a barrier effect must be sealingly heat-welded, after the ambient air inside the said tray has been replaced with a modified atmosphere useful for conservation of the product (P), characterized in that it comprises a horizontal drawer (3) with an opening (103) through which the body of the tray to be packaged can pass, said tray with its edge (B) resting on the upper, horizontal and flat side of an annular rim (1) which surrounds the said opening and, around this rim, the drawer has a continuous annular channel (4), the outer shoulder (104) of which has a height greater than that of the inner shoulder and opens out on the upper side (203) of the said drawer which is thus at a height greater than that of the said rim (1) and the upper edge (B) of the tray positioned on the latter, there being envisaged means for arranging, extended, on the upper side of the said drawer with the tray inside it a length of barrier film (112) and foil-pressing means (17) being envisaged for, when operated, pressing the film onto the upper side of the drawer (3), at a due distance from the outer shoulder of the said annular channel (4), all of which so as to form a packaging chamber (C) which is substantially closed with respect to the exterior and is defined at the bottom by the tray (V), at the top by the said barrier film and along the sides by the said annular channel (4) which has along at least one side one or more openings (7) through which, upon operation, the modified atmosphere may be blown into the said chamber (C), while on the opposite side of the said annular channel (4) one or more discharge openings (10) are provided, through which openings firstly the air contained inside the tray, pushed by the front edge of the incoming modified atmosphere, is able to pass out and also part of the said modified atmosphere can pass out, there being envisaged a heat-welding plate (21) which in sequence is lowered and pushed onto the edge (B) of the tray so as to heat-weld onto the latter the said closing film (112) and trap in the packaging thus formed the quantity of modified atmosphere useful for conserving the product, there also being envisaged cutting means (27) which, following the aforementioned heat-welding, separate from the film the closed tray containing inside it the product packaged in a modified atmosphere.
  2. Apparatus according to Claim 1, in which the upper side of the rim (1), on which the edge (B) of the tray to be packaged rests, is lined with a suitable material (2) which is sufficiently elastic and non-adhesive, so as to satisfy the operating requirements of a welding die and such as to ensure a good sealed joint with the bottom surface of the said edge (B) of the tray.
  3. Apparatus according to Claim 1, in which the said openings (7) for introducing the modified atmosphere into the said packaging chamber (C) and the said discharge openings (10) are provided with ducts (5, 105, 105', 205, 205' and 9, 109, 109', 109") formed by means of milling or some other technique on the upper side (203) of the drawer (3) and then covered with at least one flat plate (6) which is fixed sealingly with respect to the exterior onto the said drawer, the said ducts being connected to the end of respective delivery and discharge holes or pipes (8, 11).
  4. Apparatus according to Claim 3, in which the said supply and discharge openings (7, 10) of the packaging chamber (C) are situated in a symmetrical manner with respect to the middle axes of the said chamber (C).
  5. Apparatus according to Claim 4, in which the openings (7) for supplying the modified atmosphere into the packaging chamber (C) are such as to discharge in a distributed manner on one side of this chamber and also in the middle part of the two consecutive sides, with compensation of the head losses, while the discharge openings (10) are situated on the remaining side of the said chamber (C).
  6. Apparatus according to Claim 4, in which the sum of the cross-sections of the discharge openings (10) is equal to or greater than the sum of the cross-sections of the openings (7) supplying the modified atmosphere, so as to allow rapid evacuation of the ambient air from the packaging chamber (C), pushed by the front edge of the modified atmosphere introduced into this chamber through the said supply openings (7).
  7. Apparatus according to one or more of the preceding claims, in which means are envisaged for introducing the modified atmosphere into the packaging chamber (C) with constant, continuous or intermittent pressure characteristics, or at a variable pressure, depending on the packaging requirements.
  8. Apparatus according to Claim 6, in which a variable throttle device may be mounted on the discharge duct (11) connected to the corresponding openings (10) and means are envisaged for ensuring that this throttle device is activated at the end of the cycle in order to reduce the discharge and ensure the accumulation, inside the packaging chamber (C), of modified atmosphere at correct pressure values which remain inside the packaged tray, the closing film of which will appear slightly swollen and curved towards the outside.
  9. Apparatus according to Claim 1, in which the said foil-pressing means (17), the welding plate (21) and the said cutting or shearing means (27) are mounted on a same head (15) which operates in a static position and is operated by suitable raising and lowering means (16) with control of the force during the active lowering phase, and manually or automatically operated means are envisaged for displacing horizontally the drawer (3) so as to bring it from a position where it is accessible for the tray loading and unloading operations into a position situated underneath the said operating head (15) and underneath a length of film (112) unwound from a reel (12) and stored on a spool (14) using associated drive means, for implementing the steps for packaging the tray under a modified atmosphere.
  10. Apparatus according to Claim 9, in which the said operating head (15) has an upper table (115) which is connected to the said vertical movement means (16) and has, mounted on its perimeter underneath, linear pressers (17), with a bottom lining (117) made of suitable elastic and yielding material, supported by vertical rods (18) which pass through in a guided manner corresponding vertical holes (19) formed in the said table (115) and are provided at the top with an anti-extraction head (118) and for example are fitted along the section underneath the said table (115) with cylindrical-helix springs (20) with suitable properties, it being envisaged that the bottom side of the said pressers (17) lies in an ideal plane which is substantially horizontal so that, when the head (15) is lowered during the active working stroke, the said pressers touch with their rubber-lined bottom side a portion of the underlying film (112) which is situated outside and all the way around the annular channel (4) of the drawer (3), so as to fix the said film on the said drawer (3) so that it is then possible to perform the step of introducing the modified atmosphere into the said packaging chamber (C).
  11. Apparatus according to Claim 10, in which the said upper table (115) of the head (15) has, suspended from it, a welding plate (21) which is provided at the bottom with a horizontal edge (121) projecting downwards and lined with suitable material which is non-adhesive with respect to the film and heated by suitable electric resistances (22) which are seated in the said welding plate (21) and operation of which is controlled by at least one temperature probe (23) and by the processor of the machine, the said bottom edge (121) being such as to reproduce the plan-view form of the upper edge (B) of the tray (V) and being initially raised from the ideal plane in which the base of the said foil-pressing pressers (17) lies in such a way that, during internal atmospheric conditioning of the tray, the said welding edge (121) is suitably raised from the film (112), the welding plate (21) also being suspended from the said table (115) by means of vertical rods (24) which slide inside vertical thermally insulated guide seats (25) which are situated on the said table (115) and on which the said rods (24) normally rest with their heads (124) both by means of gravity and as a result of the action of cylindrical-helix springs (26) which for example are fitted on the section of the rods (24) projecting underneath the said guide seats (25).
  12. Apparatus according to Claim 10, in which a cutting frame (27) is provided around the welding plate (21) and is fixed at the top inside a recess of the said table (115) and has a bottom edge (227) with a cutting action, i.e. preferably having sawteeth and converging towards the said plate (21), it being envisaged that, when this plate (21) is in the rest position, the bottom edge (227) of the cutting frame (27) is suitably raised relative to the bottom edge (121) of the said welding plate (21), all of which so that when, during the lowering movement of the operating head (15), after operation of the foil-pressing pressers (17) and once conditioning of the internal atmosphere of the tray (V) has been performed, the bottom edge (121) of the welding plate touches the film (112) which is retained externally by the said pressers (17), stretches it suitably and pushes it onto the edge (B) of the tray, so as to heat-weld it onto this tray, trapping the modified atmosphere for conserving the product inside the said tray, it being envisaged that, while the head (15) continues its downwards movement, the springs (26) of the welding plate (21) are also compressed and the bottom edge (227) of the cutting frame (27) is lowered with respect to the welding edge (121), in order to perform the cutting operation which separates the length of film (112) which closes the tray, from the external waste material (112') of the said film.
  13. Apparatus according to Claim 12, characterized in that, after the step for cutting and separating from the continuous film the length of the said film welded onto the top edge of the tray (V), at least one end-of-travel device (28) integral for example with the movable table (115) of the operating head (15) comes into contact with the welding plate (21) so that the actuator (16) for lowering the said head (15) is able to push the welding plate (21) during the welding action, with a programmed and controlled thrusting force.
  14. Apparatus according to Claim 9, in which, upon welding and cutting performed on the closing film of the tray (V), the said drive means (16) raise the operating head (15) and means are envisaged for moving the drawer (3) with the closed tray horizontally away from this head so that said drawer may be unloaded and loaded with a new tray to be packaged, it being envisaged that the means for moving the film (112) are activated in synchronism so that the waste material of the film (112') produced during the previous cycle is conveyed away to the storage spool (14) and a new length of intact film (112) is arranged underneath the closing and shearing head (15).
  15. Apparatus according to any one or more of the preceding claims, characterized in that it is designed to handle one tray at a time or to handle several trays simultaneously, in particular if of small-to-medium size, arranged in succession with each other and/or alongside each other.
  16. Apparatus according to any one or more of the preceding claims, characterized in that, during association with a machine for automatically moving the drawer (3) and for automatically performing the operations of loading and unloading the trays into and from the said drawer, the roller (213) on which the length of film (112) to be welded onto the upper edge of the tray is driven and which is situated on the side for unloading the said tray when packaged, is mounted on an arm (29) with the possibility of pivoting on a fulcrum (129) which is supported by the table (115) of the operating head (15) and which is pushed downwards by spring means, all of which so that when the said head (15) is raised at the end of each working cycle, the length of film (112'), devoid of the cover portion fixed onto the packaged tray and therefore with a window inside it, is arranged obliquely so as to favour unloading of the closed tray underneath the said raised drive roller (213).
  17. Apparatus according to Claim 16, in which the trays (V) to be packaged are fed forwards the upper and horizontal section of a belt or band conveyor (30) driven over rollers (31, 131, 231, 331, 431) which are supported rotatably by the fixed chassis of the machine and the downstream roller (31) of which is connected to a drive unit (32) which is controlled by the processor for controlling the machine itself, the upper section of the said conveyor (30) having an intermediate depression which has a length suitably greater than that of the trays to be treated during each cycle and in which the belts of this section of the conveyor follow a U-shaped path as a result of being driven over at least four rollers (33, 133, 233, 333) which are rotatably supported by a carriage (34) which may be displaced horizontally by suitable means from the position where it is upstream of the said pressing, welding and cutting head (15), so as to be able to perform at least the operations for loading the tray to be packaged, into the position where it is situated underneath the said operating head (15) for the operations of packaging the said trays, for this purpose it being envisaged that the front section (130) of the upper section of the conveyor (30) travels over a flat structure (35) which is fixed to the chassis of the machine and has a length such as to support at least one tray (V) to be packaged, while the end part (230) of the upper section of the said conveyor is free of obstacles so as not to hinder the travel of the said carriage (34) on which the said drawer (3) is mounted, so that its upper side is coplanar with the upper section of the conveyor (30) in question.
  18. Apparatus according to Claim 17, in which said carriage (34) has, mounted thereon, the vertical guides (136) and the actuator for the vertical movement of a horizontal lifting table (36) which may be raised during opening (103) of the drawer (3), so as to be arranged with its upper side coplanar with that of the said drawer, or which may be lowered.
  19. Apparatus according to Claim 18, in which a fixed stop cross-bar (37) is envisaged above the upstream roller (113) for driving the film, a further fixed stop cross-bar (38) is envisaged upstream of the aforementioned cross-bar (37) and a further cross-bar (39) is envisaged upstream of the previous cross-bar (38), at a distance from the latter slightly greater than the length of the tray to be fed cyclically into the drawer (3) and this last cross-bar (39) being connected to raising and lowering means (139).
  20. Apparatus according to Claim 19, characterized in that it comprises means so that, at the start of each working cycle, the said carriage (34) is in the position retracted from the operating head (15), with the lifting table (36) in the high position, while a tray (V1) rests against the middle cross-bar (38) and is detected by a sensor (40) and with the upstream cross-bar (39) lowered and with the conveyor (30) active, so that the next tray (V2) is stopped against this cross-bar (39) and is detected here by a sensor (41) and, when these conditions arise, means are envisaged for ensuring that the conveyor (30) stops, that the lifting table (36) moves downwards so as to position the tray (V1) on the rim (1, 2) of the drawer (3) and, when this condition is detected by the overlying sensor (40), means effect the forward movement of the carriage (34) which brings the tray (V1) underneath the operating head (15) for packaging of this tray under a modified atmosphere, it being envisaged that, during the descending movement of the head (15), the film (112) passes from the inclined position into the horizontal position for covering the tray.
  21. Apparatus according to Claim 20, characterized in that it comprises means for ensuring that, during the step for packaging the tray (V1), the conveyor (30) can be activated with simultaneous raising of the upstream cross-bar (39), so as to bring a tray (V2) against the next fixed middle cross-bar (38) and, when this condition is detected by the sensor (40), the said upstream cross-bar (39) is lowered and the conveyor (30) is stopped immediately or when the sensor (41) detects a further tray against the said lowered cross-bar (39).
  22. Apparatus according to Claim 21, characterized in that it comprises means for ensuring that, once packaging of the tray (V1) has been performed, in correct sequence with raising of the operating head (15) which arranges the waste material (112') of the film in an inclined position, the lifting table (36) is raised and brings the said packaged tray (V1) above the drawer (3) such that, when the carriage (34) is subsequently retracted, the same tray is retained by the fixed downstream cross-bar (37) and is arranged on the part (230) of the upper section (230) of the conveyor (30) which is gradually lengthened and, when the carriage reaches the start-of-cycle position, it finds a tray (V2) which is arranged on the lifting table (36) in the high position, ready to be inserted inside the drawer (3) for repetition of a new working cycle.
  23. Apparatus according to Claim 22, characterized in that means are envisaged for ensuring that, while the carriage (34) is retracted or when it then advances towards the operating head (15), the said conveyor (30) is reactivated so as to move the packaged tray (V1) away from the operating head (15) and transfer it onto a motor-driven downstream conveyor (42), while the transfer of the packaging is detected by a sensor (43) which signals to the processor of the machine the correct execution of the working steps, means being envisaged so that, in sequence with the steps described, the means for unwinding the film from the reel (12) and the means for storing the waste material (112') on the spool (14) are activated so as to position a new intact length of the said film (112) underneath the operating head (15).
EP07104527A 2006-04-05 2007-03-20 Apparatus for packaging trays containing products in a modified atmosphere Active EP1842776B1 (en)

Applications Claiming Priority (1)

Application Number Priority Date Filing Date Title
IT000249A ITBO20060249A1 (en) 2006-04-05 2006-04-05 APPARATUS AND MACHINE TO PACK PRODUCT TRAYS IN MODIFIED ATMOSPHERE.

Publications (3)

Publication Number Publication Date
EP1842776A2 true EP1842776A2 (en) 2007-10-10
EP1842776A3 EP1842776A3 (en) 2007-10-31
EP1842776B1 EP1842776B1 (en) 2009-08-19

Family

ID=38123969

Family Applications (1)

Application Number Title Priority Date Filing Date
EP07104527A Active EP1842776B1 (en) 2006-04-05 2007-03-20 Apparatus for packaging trays containing products in a modified atmosphere

Country Status (5)

Country Link
EP (1) EP1842776B1 (en)
AT (1) ATE440031T1 (en)
DE (1) DE602007001993D1 (en)
ES (1) ES2331210T3 (en)
IT (1) ITBO20060249A1 (en)

Cited By (23)

* Cited by examiner, † Cited by third party
Publication number Priority date Publication date Assignee Title
WO2009144714A3 (en) * 2008-05-27 2010-01-28 Hefestus Ltd Food container sealing
ITMI20092003A1 (en) * 2009-11-13 2011-05-14 I L P R A S P A SEALING UNIT IN CONTROLLED ATMOSPHERE OF TRAYS AND / OR SIMILAR CONTAINERS FOR PACKAGING FOOD PRODUCTS
ITBO20100045A1 (en) * 2010-01-26 2011-07-27 Gruppo Fabbri S P A SYSTEM FOR PACKAGING IN MODIFIED ATMOSPHERE OF PRODUCTS PLACED IN TRAYS.
ITMI20100471A1 (en) * 2010-03-23 2011-09-24 Tecnovac S R L MACHINE TO CARRY OUT THE PACKAGING, BY SEALING WITH SYNTHETIC FILM, OF PRODUCTS, IN PARTICULAR FOOD PRODUCTS, IN CONTAINERS OF THE TYPE OF TRAYS, TRAYS OR SIMILAR, WITH HIGH FLEXIBILITY OF USE.
ITBO20100211A1 (en) * 2010-04-08 2011-10-09 Gruppo Fabbri S P A APPARATUS BELLS APPARATUS, FOR PACKAGING IN MODIFIED ATMOSPHERE OF PRODUCTS PLACED IN TRAYS.
EP2468633A1 (en) * 2010-12-27 2012-06-27 Multivac Sepp Haggenmüller GmbH & Co. KG Tray closing machine and method for operating the same
DE102012005891A1 (en) * 2012-03-23 2013-09-26 Multivac Sepp Haggenmüller Gmbh & Co. Kg Packaging machine with sealing station for gassing a packaging
EP2676888A1 (en) * 2012-06-22 2013-12-25 Multivac Sepp Haggenmüller GmbH & Co. KG Sealing device of a tray sealing machine
WO2014080053A1 (en) * 2012-11-21 2014-05-30 Manuel Ruiz Carmona Appliance for joining a sheet-type body to the mouth of a box
CN104003018A (en) * 2013-09-12 2014-08-27 温州市沪华机械电器有限公司 Vacuum pumping opening sealing device
EP3095717A1 (en) 2015-05-21 2016-11-23 MULTIVAC Sepp Haggenmüller SE & Co. KG Jacket closing machine
WO2016193006A1 (en) * 2015-05-29 2016-12-08 Cryovac, Inc. Apparatus and process for packaging a product
CN110626534A (en) * 2019-09-04 2019-12-31 深圳市饭立得科技有限公司 Automatic packaging system of split type cutlery box
WO2020002934A1 (en) * 2018-06-29 2020-01-02 Randox Laboratories Ltd Cartridge sealing apparatus
WO2020044031A1 (en) * 2018-08-29 2020-03-05 Proseal Uk Limited Packaging apparatus with a flushing gas inlet and outlet
US10741432B2 (en) * 2017-02-06 2020-08-11 Applied Materials, Inc. Systems, apparatus, and methods for a load port door opener
EP3733528A1 (en) * 2019-05-02 2020-11-04 MULTIVAC Sepp Haggenmüller SE & Co. KG Sealing tool and method for sealing trays
JP2021031179A (en) * 2019-08-27 2021-03-01 朱暁鳳 Reliable food vacuum packaging machine
US20220063849A1 (en) * 2020-08-27 2022-03-03 Sonoco Development, Inc. Systems and methods for the application and sealing of end closures on containers
CN114408286A (en) * 2022-01-07 2022-04-29 江苏旭鹏智能科技有限公司 A simple-to-operate continuous box-type modified atmosphere packaging machine
WO2022099197A1 (en) * 2020-11-09 2022-05-12 Sonoco Development, Inc. Seal and cut assembly for heat sealing machine
US12122584B2 (en) 2020-08-27 2024-10-22 Sonoco Development, Inc. Container assemblies with paper-based end closures
US12240642B2 (en) 2020-08-27 2025-03-04 Sonoco Development, Inc. Systems and methods for the application and sealing of end closures on containers

Family Cites Families (5)

* Cited by examiner, † Cited by third party
Publication number Priority date Publication date Assignee Title
WO1997045324A1 (en) * 1996-05-31 1997-12-04 Ross Industries, Inc. Food product wrapping
US6202388B1 (en) * 1998-11-06 2001-03-20 Jescorp, Inc. Controlled environment sealing apparatus and method
US6408598B1 (en) * 1998-12-23 2002-06-25 Cryovac, Inc. Modified atmosphere package for high profile products from upwardly formed heat shrinkable film
IL132708A (en) * 1999-02-24 2004-12-15 Hefestus Ltd Packaging method and apparatus
US20030196412A1 (en) * 2002-04-19 2003-10-23 Foulke Guy L. Top formed packaging

Cited By (43)

* Cited by examiner, † Cited by third party
Publication number Priority date Publication date Assignee Title
WO2009144714A3 (en) * 2008-05-27 2010-01-28 Hefestus Ltd Food container sealing
ITMI20092003A1 (en) * 2009-11-13 2011-05-14 I L P R A S P A SEALING UNIT IN CONTROLLED ATMOSPHERE OF TRAYS AND / OR SIMILAR CONTAINERS FOR PACKAGING FOOD PRODUCTS
ITBO20100045A1 (en) * 2010-01-26 2011-07-27 Gruppo Fabbri S P A SYSTEM FOR PACKAGING IN MODIFIED ATMOSPHERE OF PRODUCTS PLACED IN TRAYS.
WO2011092103A1 (en) * 2010-01-26 2011-08-04 Gruppo Fabbri S.P.A. Apparatus for modified atmosphere packaging of products placed in trays
US9150316B2 (en) 2010-01-26 2015-10-06 Gruppo Fabbri Vignola S.P.A. Apparatus for modified atmosphere packaging of products placed in trays
EP2380810A3 (en) * 2010-03-23 2012-02-22 Tecnovac S.r.L. Machine for packaging, by sealing with synthetic film, products, particularly food products, in containers such as trays, tubs or the like, with high flexibility in use
ITMI20100471A1 (en) * 2010-03-23 2011-09-24 Tecnovac S R L MACHINE TO CARRY OUT THE PACKAGING, BY SEALING WITH SYNTHETIC FILM, OF PRODUCTS, IN PARTICULAR FOOD PRODUCTS, IN CONTAINERS OF THE TYPE OF TRAYS, TRAYS OR SIMILAR, WITH HIGH FLEXIBILITY OF USE.
WO2011124548A1 (en) * 2010-04-08 2011-10-13 Gruppo Fabbri Vignola S.P.A. Apparatus with opposing housings for modified atmosphere packaging of products placed in trays
EP2555981B1 (en) 2010-04-08 2018-06-27 Gruppo Fabbri Vignola S.p.A. Method for modified atmosphere packaging of products placed in trays
US9555910B2 (en) 2010-04-08 2017-01-31 Gruppo Fabbri Vignola S.P.A. Apparatus with opposing housings for modified atmosphere packaging of products placed in trays
AU2011237995B2 (en) * 2010-04-08 2015-05-07 Gruppo Fabbri Vignola S.P.A. Apparatus with opposing housings for modified atmosphere packaging of products placed in trays
ITBO20100211A1 (en) * 2010-04-08 2011-10-09 Gruppo Fabbri S P A APPARATUS BELLS APPARATUS, FOR PACKAGING IN MODIFIED ATMOSPHERE OF PRODUCTS PLACED IN TRAYS.
EP2468633A1 (en) * 2010-12-27 2012-06-27 Multivac Sepp Haggenmüller GmbH & Co. KG Tray closing machine and method for operating the same
DE102012005891A1 (en) * 2012-03-23 2013-09-26 Multivac Sepp Haggenmüller Gmbh & Co. Kg Packaging machine with sealing station for gassing a packaging
US9481480B2 (en) 2012-03-23 2016-11-01 Multivac Sepp Haggenmueller Se & Co. Kg Packaging machine with sealing station for gas flushing a package
EP2676888A1 (en) * 2012-06-22 2013-12-25 Multivac Sepp Haggenmüller GmbH & Co. KG Sealing device of a tray sealing machine
WO2014080053A1 (en) * 2012-11-21 2014-05-30 Manuel Ruiz Carmona Appliance for joining a sheet-type body to the mouth of a box
CN104003018A (en) * 2013-09-12 2014-08-27 温州市沪华机械电器有限公司 Vacuum pumping opening sealing device
EP3095717A1 (en) 2015-05-21 2016-11-23 MULTIVAC Sepp Haggenmüller SE & Co. KG Jacket closing machine
WO2016193006A1 (en) * 2015-05-29 2016-12-08 Cryovac, Inc. Apparatus and process for packaging a product
AU2016270276B2 (en) * 2015-05-29 2019-10-10 Cryovac, LLC. Apparatus and process for packaging a product
CN107660192A (en) * 2015-05-29 2018-02-02 克里奥瓦克公司 Equipment and processes for packaging products
US10741432B2 (en) * 2017-02-06 2020-08-11 Applied Materials, Inc. Systems, apparatus, and methods for a load port door opener
WO2020002934A1 (en) * 2018-06-29 2020-01-02 Randox Laboratories Ltd Cartridge sealing apparatus
CN112638779B (en) * 2018-08-29 2023-02-03 普洛希尔英国有限公司 Packaging device with flushing gas inlet and outlet
WO2020044031A1 (en) * 2018-08-29 2020-03-05 Proseal Uk Limited Packaging apparatus with a flushing gas inlet and outlet
CN112638779A (en) * 2018-08-29 2021-04-09 普洛希尔英国有限公司 Packaging device with flushing gas inlet and outlet
US11530062B2 (en) 2018-08-29 2022-12-20 Proseal Uk Limited Gas flush injector
EP3733528A1 (en) * 2019-05-02 2020-11-04 MULTIVAC Sepp Haggenmüller SE & Co. KG Sealing tool and method for sealing trays
DE102019206280A1 (en) * 2019-05-02 2020-11-05 Multivac Sepp Haggenmüller Se & Co. Kg Sealing tool and method for sealing trays
US11492160B2 (en) 2019-05-02 2022-11-08 Multivac Sepp Haggenmueller Se & Co. Kg Sealing tool and method for sealing trays
EP3733528B1 (en) * 2019-05-02 2022-02-09 MULTIVAC Sepp Haggenmüller SE & Co. KG Sealing tool and method for sealing trays
JP2021031179A (en) * 2019-08-27 2021-03-01 朱暁鳳 Reliable food vacuum packaging machine
CN110626534A (en) * 2019-09-04 2019-12-31 深圳市饭立得科技有限公司 Automatic packaging system of split type cutlery box
US20220063849A1 (en) * 2020-08-27 2022-03-03 Sonoco Development, Inc. Systems and methods for the application and sealing of end closures on containers
US12122584B2 (en) 2020-08-27 2024-10-22 Sonoco Development, Inc. Container assemblies with paper-based end closures
US12162644B2 (en) * 2020-08-27 2024-12-10 Sonoco Development, Inc. Systems and methods for the application and sealing of end closures on containers
US12240642B2 (en) 2020-08-27 2025-03-04 Sonoco Development, Inc. Systems and methods for the application and sealing of end closures on containers
WO2022099197A1 (en) * 2020-11-09 2022-05-12 Sonoco Development, Inc. Seal and cut assembly for heat sealing machine
EP4221963A4 (en) * 2020-11-09 2024-05-01 Sonoco Development, Inc. SEALING AND CUTTING ARRANGEMENT FOR A HEAT SEALING MACHINE
US11981471B2 (en) 2020-11-09 2024-05-14 Sonoco Development, Inc. Seal and cut assembly for heat sealing machine
US12325547B2 (en) * 2020-11-09 2025-06-10 Toppan Packaging Americas Holdings, Inc. Seal and cut assembly for heat sealing machine
CN114408286A (en) * 2022-01-07 2022-04-29 江苏旭鹏智能科技有限公司 A simple-to-operate continuous box-type modified atmosphere packaging machine

Also Published As

Publication number Publication date
ES2331210T3 (en) 2009-12-23
ITBO20060249A1 (en) 2007-10-06
EP1842776B1 (en) 2009-08-19
DE602007001993D1 (en) 2009-10-01
ATE440031T1 (en) 2009-09-15
EP1842776A3 (en) 2007-10-31

Similar Documents

Publication Publication Date Title
EP1842776B1 (en) Apparatus for packaging trays containing products in a modified atmosphere
KR950011387B1 (en) Form-fill-seal deflation method and apparatus
US7464521B2 (en) Vacuum packaging machine for product packages with multiple products
US7296390B2 (en) Vacuum packaging machine having a plurality of vacuum chambers for performing a vacuum sealing operation on product packages
US20100287893A1 (en) Packaging machine and method for closing containers with lids
US8033085B2 (en) Machine for shaping, filling and closing expanded polymer containers
US7506491B2 (en) Method and machine for packaging food products in trays sealingly closed at the top with a thermoplastic film
KR101513594B1 (en) Automatic continuous vacuum package machine
JP2009173342A (en) Web packaging system with ergonomic forming plug change
EP2722280A1 (en) Packaging process and packaging apparatus
KR101827788B1 (en) Vacuum packaging system of packaging bag for infusion solutions
KR101911666B1 (en) pet bottle packaging apparatus
US20220348369A1 (en) Sealing machine for the sealing of packages
US4622800A (en) Sterilizing method and apparatus
KR101390986B1 (en) Sealing apparatus for culture medium pack
JP5605085B2 (en) Heat seal packaging equipment
CN205293195U (en) Thermoforming vacuum packaging machine
US20200198817A1 (en) Sealing cardboard blanks by placement onto conveyor belt
CN206926863U (en) Fully automatic packaging equipment for three-dimensional tea bags
JPH0699917A (en) Method and apparatus for commodity filling-packaging
KR200386432Y1 (en) Small goods automatic packer
KR101473619B1 (en) Packing machine with open and close mechanism of transportation path
JP2002211501A (en) Deaerator of vertical bag making and filling machine
JPH08308478A (en) Automatic machine for sterilization and aseptic packaging ofmeat product
MXPA06008425A (en) Method and device for producing and filling containers

Legal Events

Date Code Title Description
PUAI Public reference made under article 153(3) epc to a published international application that has entered the european phase

Free format text: ORIGINAL CODE: 0009012

PUAL Search report despatched

Free format text: ORIGINAL CODE: 0009013

AK Designated contracting states

Kind code of ref document: A2

Designated state(s): AT BE BG CH CY CZ DE DK EE ES FI FR GB GR HU IE IS IT LI LT LU LV MC MT NL PL PT RO SE SI SK TR

AX Request for extension of the european patent

Extension state: AL BA HR MK YU

AK Designated contracting states

Kind code of ref document: A3

Designated state(s): AT BE BG CH CY CZ DE DK EE ES FI FR GB GR HU IE IS IT LI LT LU LV MC MT NL PL PT RO SE SI SK TR

AX Request for extension of the european patent

Extension state: AL BA HR MK YU

17P Request for examination filed

Effective date: 20080325

17Q First examination report despatched

Effective date: 20080425

AKX Designation fees paid

Designated state(s): AT BE BG CH CY CZ DE DK EE ES FI FR GB GR HU IE IS IT LI LT LU LV MC MT NL PL PT RO SE SI SK TR

GRAP Despatch of communication of intention to grant a patent

Free format text: ORIGINAL CODE: EPIDOSNIGR1

RAP1 Party data changed (applicant data changed or rights of an application transferred)

Owner name: GRUPPO FABBRI S.P.A.

GRAS Grant fee paid

Free format text: ORIGINAL CODE: EPIDOSNIGR3

GRAA (expected) grant

Free format text: ORIGINAL CODE: 0009210

AK Designated contracting states

Kind code of ref document: B1

Designated state(s): AT BE BG CH CY CZ DE DK EE ES FI FR GB GR HU IE IS IT LI LT LU LV MC MT NL PL PT RO SE SI SK TR

REG Reference to a national code

Ref country code: GB

Ref legal event code: FG4D

REG Reference to a national code

Ref country code: CH

Ref legal event code: EP

REG Reference to a national code

Ref country code: IE

Ref legal event code: FG4D

REF Corresponds to:

Ref document number: 602007001993

Country of ref document: DE

Date of ref document: 20091001

Kind code of ref document: P

REG Reference to a national code

Ref country code: ES

Ref legal event code: FG2A

Ref document number: 2331210

Country of ref document: ES

Kind code of ref document: T3

LTIE Lt: invalidation of european patent or patent extension

Effective date: 20090819

PG25 Lapsed in a contracting state [announced via postgrant information from national office to epo]

Ref country code: SE

Free format text: LAPSE BECAUSE OF FAILURE TO SUBMIT A TRANSLATION OF THE DESCRIPTION OR TO PAY THE FEE WITHIN THE PRESCRIBED TIME-LIMIT

Effective date: 20090819

Ref country code: LT

Free format text: LAPSE BECAUSE OF FAILURE TO SUBMIT A TRANSLATION OF THE DESCRIPTION OR TO PAY THE FEE WITHIN THE PRESCRIBED TIME-LIMIT

Effective date: 20090819

Ref country code: AT

Free format text: LAPSE BECAUSE OF FAILURE TO SUBMIT A TRANSLATION OF THE DESCRIPTION OR TO PAY THE FEE WITHIN THE PRESCRIBED TIME-LIMIT

Effective date: 20090819

Ref country code: FI

Free format text: LAPSE BECAUSE OF FAILURE TO SUBMIT A TRANSLATION OF THE DESCRIPTION OR TO PAY THE FEE WITHIN THE PRESCRIBED TIME-LIMIT

Effective date: 20090819

Ref country code: IS

Free format text: LAPSE BECAUSE OF FAILURE TO SUBMIT A TRANSLATION OF THE DESCRIPTION OR TO PAY THE FEE WITHIN THE PRESCRIBED TIME-LIMIT

Effective date: 20091219

NLV1 Nl: lapsed or annulled due to failure to fulfill the requirements of art. 29p and 29m of the patents act
PG25 Lapsed in a contracting state [announced via postgrant information from national office to epo]

Ref country code: PL

Free format text: LAPSE BECAUSE OF FAILURE TO SUBMIT A TRANSLATION OF THE DESCRIPTION OR TO PAY THE FEE WITHIN THE PRESCRIBED TIME-LIMIT

Effective date: 20090819

Ref country code: NL

Free format text: LAPSE BECAUSE OF FAILURE TO SUBMIT A TRANSLATION OF THE DESCRIPTION OR TO PAY THE FEE WITHIN THE PRESCRIBED TIME-LIMIT

Effective date: 20090819

Ref country code: LV

Free format text: LAPSE BECAUSE OF FAILURE TO SUBMIT A TRANSLATION OF THE DESCRIPTION OR TO PAY THE FEE WITHIN THE PRESCRIBED TIME-LIMIT

Effective date: 20090819

Ref country code: SI

Free format text: LAPSE BECAUSE OF FAILURE TO SUBMIT A TRANSLATION OF THE DESCRIPTION OR TO PAY THE FEE WITHIN THE PRESCRIBED TIME-LIMIT

Effective date: 20090819

PG25 Lapsed in a contracting state [announced via postgrant information from national office to epo]

Ref country code: BG

Free format text: LAPSE BECAUSE OF FAILURE TO SUBMIT A TRANSLATION OF THE DESCRIPTION OR TO PAY THE FEE WITHIN THE PRESCRIBED TIME-LIMIT

Effective date: 20091119

Ref country code: PT

Free format text: LAPSE BECAUSE OF FAILURE TO SUBMIT A TRANSLATION OF THE DESCRIPTION OR TO PAY THE FEE WITHIN THE PRESCRIBED TIME-LIMIT

Effective date: 20091221

Ref country code: CY

Free format text: LAPSE BECAUSE OF FAILURE TO SUBMIT A TRANSLATION OF THE DESCRIPTION OR TO PAY THE FEE WITHIN THE PRESCRIBED TIME-LIMIT

Effective date: 20090819

PG25 Lapsed in a contracting state [announced via postgrant information from national office to epo]

Ref country code: DK

Free format text: LAPSE BECAUSE OF FAILURE TO SUBMIT A TRANSLATION OF THE DESCRIPTION OR TO PAY THE FEE WITHIN THE PRESCRIBED TIME-LIMIT

Effective date: 20090819

Ref country code: RO

Free format text: LAPSE BECAUSE OF FAILURE TO SUBMIT A TRANSLATION OF THE DESCRIPTION OR TO PAY THE FEE WITHIN THE PRESCRIBED TIME-LIMIT

Effective date: 20090819

Ref country code: CZ

Free format text: LAPSE BECAUSE OF FAILURE TO SUBMIT A TRANSLATION OF THE DESCRIPTION OR TO PAY THE FEE WITHIN THE PRESCRIBED TIME-LIMIT

Effective date: 20090819

Ref country code: EE

Free format text: LAPSE BECAUSE OF FAILURE TO SUBMIT A TRANSLATION OF THE DESCRIPTION OR TO PAY THE FEE WITHIN THE PRESCRIBED TIME-LIMIT

Effective date: 20090819

PG25 Lapsed in a contracting state [announced via postgrant information from national office to epo]

Ref country code: SK

Free format text: LAPSE BECAUSE OF FAILURE TO SUBMIT A TRANSLATION OF THE DESCRIPTION OR TO PAY THE FEE WITHIN THE PRESCRIBED TIME-LIMIT

Effective date: 20090819

PLBE No opposition filed within time limit

Free format text: ORIGINAL CODE: 0009261

STAA Information on the status of an ep patent application or granted ep patent

Free format text: STATUS: NO OPPOSITION FILED WITHIN TIME LIMIT

PG25 Lapsed in a contracting state [announced via postgrant information from national office to epo]

Ref country code: BE

Free format text: LAPSE BECAUSE OF FAILURE TO SUBMIT A TRANSLATION OF THE DESCRIPTION OR TO PAY THE FEE WITHIN THE PRESCRIBED TIME-LIMIT

Effective date: 20090819

26N No opposition filed

Effective date: 20100520

PG25 Lapsed in a contracting state [announced via postgrant information from national office to epo]

Ref country code: MC

Free format text: LAPSE BECAUSE OF NON-PAYMENT OF DUE FEES

Effective date: 20100331

Ref country code: GR

Free format text: LAPSE BECAUSE OF FAILURE TO SUBMIT A TRANSLATION OF THE DESCRIPTION OR TO PAY THE FEE WITHIN THE PRESCRIBED TIME-LIMIT

Effective date: 20091120

PG25 Lapsed in a contracting state [announced via postgrant information from national office to epo]

Ref country code: IE

Free format text: LAPSE BECAUSE OF NON-PAYMENT OF DUE FEES

Effective date: 20100320

PG25 Lapsed in a contracting state [announced via postgrant information from national office to epo]

Ref country code: MT

Free format text: LAPSE BECAUSE OF FAILURE TO SUBMIT A TRANSLATION OF THE DESCRIPTION OR TO PAY THE FEE WITHIN THE PRESCRIBED TIME-LIMIT

Effective date: 20090819

PGRI Patent reinstated in contracting state [announced from national office to epo]

Ref country code: IT

Effective date: 20110501

REG Reference to a national code

Ref country code: CH

Ref legal event code: PL

PG25 Lapsed in a contracting state [announced via postgrant information from national office to epo]

Ref country code: CH

Free format text: LAPSE BECAUSE OF NON-PAYMENT OF DUE FEES

Effective date: 20110331

Ref country code: LI

Free format text: LAPSE BECAUSE OF NON-PAYMENT OF DUE FEES

Effective date: 20110331

PG25 Lapsed in a contracting state [announced via postgrant information from national office to epo]

Ref country code: HU

Free format text: LAPSE BECAUSE OF FAILURE TO SUBMIT A TRANSLATION OF THE DESCRIPTION OR TO PAY THE FEE WITHIN THE PRESCRIBED TIME-LIMIT

Effective date: 20100220

Ref country code: LU

Free format text: LAPSE BECAUSE OF NON-PAYMENT OF DUE FEES

Effective date: 20100320

PG25 Lapsed in a contracting state [announced via postgrant information from national office to epo]

Ref country code: TR

Free format text: LAPSE BECAUSE OF FAILURE TO SUBMIT A TRANSLATION OF THE DESCRIPTION OR TO PAY THE FEE WITHIN THE PRESCRIBED TIME-LIMIT

Effective date: 20090819

REG Reference to a national code

Ref country code: DE

Ref legal event code: R082

Ref document number: 602007001993

Country of ref document: DE

Representative=s name: BUSCHHOFF-HENNICKE-ALTHAUS, DE

REG Reference to a national code

Ref country code: DE

Ref legal event code: R081

Ref document number: 602007001993

Country of ref document: DE

Owner name: GRUPPO FABBRI VIGNOLA S.P.A., IT

Free format text: FORMER OWNER: GRUPPO FABBRI S.P.A., VIGNOLA, MODENA, IT

Effective date: 20140526

Ref country code: DE

Ref legal event code: R081

Ref document number: 602007001993

Country of ref document: DE

Owner name: GRUPPO FABBRI VIGNOLA S.P.A., IT

Free format text: FORMER OWNER: GRUPPO FABBRI S.P.A., VIGNOLA, IT

Effective date: 20140526

Ref country code: DE

Ref legal event code: R082

Ref document number: 602007001993

Country of ref document: DE

Representative=s name: BUSCHHOFF-HENNICKE-ALTHAUS, DE

Effective date: 20140526

REG Reference to a national code

Ref country code: ES

Ref legal event code: PC2A

Owner name: GRUPO FABBRI VIGNOLA S.P.A

Effective date: 20140708

REG Reference to a national code

Ref country code: FR

Ref legal event code: TP

Owner name: GRUPPO FABBRI VIGNOLA S.P.A., IT

Effective date: 20140725

REG Reference to a national code

Ref country code: FR

Ref legal event code: PLFP

Year of fee payment: 10

REG Reference to a national code

Ref country code: FR

Ref legal event code: PLFP

Year of fee payment: 11

REG Reference to a national code

Ref country code: FR

Ref legal event code: PLFP

Year of fee payment: 12

PGFP Annual fee paid to national office [announced via postgrant information from national office to epo]

Ref country code: DE

Payment date: 20250319

Year of fee payment: 19

PGFP Annual fee paid to national office [announced via postgrant information from national office to epo]

Ref country code: FR

Payment date: 20250325

Year of fee payment: 19

PGFP Annual fee paid to national office [announced via postgrant information from national office to epo]

Ref country code: IT

Payment date: 20250307

Year of fee payment: 19

Ref country code: GB

Payment date: 20250321

Year of fee payment: 19

PGFP Annual fee paid to national office [announced via postgrant information from national office to epo]

Ref country code: ES

Payment date: 20250425

Year of fee payment: 19