EP1835166A2 - Luftanschlusseinheit für ein Luftfiltergehäuse - Google Patents

Luftanschlusseinheit für ein Luftfiltergehäuse Download PDF

Info

Publication number
EP1835166A2
EP1835166A2 EP07101376A EP07101376A EP1835166A2 EP 1835166 A2 EP1835166 A2 EP 1835166A2 EP 07101376 A EP07101376 A EP 07101376A EP 07101376 A EP07101376 A EP 07101376A EP 1835166 A2 EP1835166 A2 EP 1835166A2
Authority
EP
European Patent Office
Prior art keywords
air
connection unit
connection
duct element
filter housing
Prior art date
Legal status (The legal status is an assumption and is not a legal conclusion. Google has not performed a legal analysis and makes no representation as to the accuracy of the status listed.)
Withdrawn
Application number
EP07101376A
Other languages
English (en)
French (fr)
Other versions
EP1835166A3 (de
Inventor
Klemens Dworatzek
Sascha Bauer
Jochen Linhart
Michael Fasold
Current Assignee (The listed assignees may be inaccurate. Google has not performed a legal analysis and makes no representation or warranty as to the accuracy of the list.)
Mann and Hummel GmbH
Original Assignee
Mann and Hummel GmbH
Priority date (The priority date is an assumption and is not a legal conclusion. Google has not performed a legal analysis and makes no representation as to the accuracy of the date listed.)
Filing date
Publication date
Application filed by Mann and Hummel GmbH filed Critical Mann and Hummel GmbH
Publication of EP1835166A2 publication Critical patent/EP1835166A2/de
Publication of EP1835166A3 publication Critical patent/EP1835166A3/de
Withdrawn legal-status Critical Current

Links

Images

Classifications

    • FMECHANICAL ENGINEERING; LIGHTING; HEATING; WEAPONS; BLASTING
    • F02COMBUSTION ENGINES; HOT-GAS OR COMBUSTION-PRODUCT ENGINE PLANTS
    • F02MSUPPLYING COMBUSTION ENGINES IN GENERAL WITH COMBUSTIBLE MIXTURES OR CONSTITUENTS THEREOF
    • F02M35/00Combustion-air cleaners, air intakes, intake silencers, or induction systems specially adapted for, or arranged on, internal-combustion engines
    • F02M35/10Air intakes; Induction systems
    • F02M35/10314Materials for intake systems
    • F02M35/10321Plastics; Composites; Rubbers
    • FMECHANICAL ENGINEERING; LIGHTING; HEATING; WEAPONS; BLASTING
    • F02COMBUSTION ENGINES; HOT-GAS OR COMBUSTION-PRODUCT ENGINE PLANTS
    • F02MSUPPLYING COMBUSTION ENGINES IN GENERAL WITH COMBUSTIBLE MIXTURES OR CONSTITUENTS THEREOF
    • F02M35/00Combustion-air cleaners, air intakes, intake silencers, or induction systems specially adapted for, or arranged on, internal-combustion engines
    • F02M35/02Air cleaners
    • F02M35/08Air cleaners with means for removing dust, particles or liquids from cleaners; with means for indicating clogging; with by-pass means; Regeneration of cleaners
    • F02M35/09Clogging indicators ; Diagnosis or testing of air cleaners
    • FMECHANICAL ENGINEERING; LIGHTING; HEATING; WEAPONS; BLASTING
    • F02COMBUSTION ENGINES; HOT-GAS OR COMBUSTION-PRODUCT ENGINE PLANTS
    • F02MSUPPLYING COMBUSTION ENGINES IN GENERAL WITH COMBUSTIBLE MIXTURES OR CONSTITUENTS THEREOF
    • F02M35/00Combustion-air cleaners, air intakes, intake silencers, or induction systems specially adapted for, or arranged on, internal-combustion engines
    • F02M35/10Air intakes; Induction systems
    • F02M35/10091Air intakes; Induction systems characterised by details of intake ducts: shapes; connections; arrangements
    • F02M35/10137Flexible ducts, e.g. bellows or hoses
    • FMECHANICAL ENGINEERING; LIGHTING; HEATING; WEAPONS; BLASTING
    • F02COMBUSTION ENGINES; HOT-GAS OR COMBUSTION-PRODUCT ENGINE PLANTS
    • F02MSUPPLYING COMBUSTION ENGINES IN GENERAL WITH COMBUSTIBLE MIXTURES OR CONSTITUENTS THEREOF
    • F02M35/00Combustion-air cleaners, air intakes, intake silencers, or induction systems specially adapted for, or arranged on, internal-combustion engines
    • F02M35/10Air intakes; Induction systems
    • F02M35/10091Air intakes; Induction systems characterised by details of intake ducts: shapes; connections; arrangements
    • F02M35/10144Connections of intake ducts to each other or to another device
    • FMECHANICAL ENGINEERING; LIGHTING; HEATING; WEAPONS; BLASTING
    • F02COMBUSTION ENGINES; HOT-GAS OR COMBUSTION-PRODUCT ENGINE PLANTS
    • F02MSUPPLYING COMBUSTION ENGINES IN GENERAL WITH COMBUSTIBLE MIXTURES OR CONSTITUENTS THEREOF
    • F02M35/00Combustion-air cleaners, air intakes, intake silencers, or induction systems specially adapted for, or arranged on, internal-combustion engines
    • F02M35/10Air intakes; Induction systems
    • F02M35/10373Sensors for intake systems
    • F02M35/1038Sensors for intake systems for temperature or pressure

Definitions

  • the invention relates to an air connection unit for an air filter housing having at least one nozzle, in which at least one maintenance interval display or a maintenance switch connection is integrated and which is rotatably mounted in a recess in the air filter housing, and with an adjoining the nozzle air line element.
  • Air filters are supplied via air ducts, e.g. Pipes or hoses connected to the intake system.
  • the disadvantage here is that integrated maintenance switch terminals are always in the same, fixed position. Also results in the use of angled ports always a fixed relative nozzle position between raw air and clean air.
  • corrugated pipes are corrugated pipes as well as pipes with a corrugated geometry which allows bending without buckling or constriction of the pipe jacket.
  • the position of the maintenance switch connection can be freely selected.
  • the position of the clean air connection can be selected independently of this. As a result, the position, length and angle of the connection are freely selectable.
  • the air duct element or parts thereof are a flexible wiring even in limited space, e.g. in an engine compartment, possible.
  • the system is insensitive to possible tolerances of the distances to the components to be connected or their location. Regardless of whether the position or the distance varies, the movable connecting piece can be connected to the suction system with little effort.
  • the angle section formed as a corrugated tube of the air duct element should include an angle of 45 ° to 150 °, in particular 90 ° in the force-free state. Due to the flexibility of the corrugated pipe area most simple deflections of the air duct element can be realized.
  • the air duct element preferably terminates in a connection collar. This is an end-side paragraph, around which a hose clamp can be placed, with which the connection collar can be pressed firmly onto a connecting piece.
  • the configurations described in this way apply in the initial state without force.
  • the corrugated pipe sections can be either permanently bent from this or bent back resiliently in order to adapt to the provided conduction path in an engine compartment.
  • an additional connecting element for fastening the air duct element at an additional point in the engine compartment can be provided on the connecting collar located between the angle sections.
  • a configuration can be manufactured and delivered, which allows multiple deflections, but can also be cut off directly behind the central connection collar as needed, if only a simple deflection is needed.
  • the additional cost of the additional angle portion are so small in a blow molded plastic part that it may be economically advantageous to offer this section from the outset to the customer, as to produce two different types of air connection units, distribute and stock for spare parts needs.
  • the air duct element does not need for adaptation be severed more. It can rather be subtracted the unneeded second angle section.
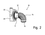
  • FIG 1 shows sections of an air filter housing 20 with an air feed port 22, which is shown in this figure as well as in the following figures 2 and 3, to indicate that the position of the air filter housing 20 in all figures is unchanged.
  • it is a cylindrical air filter housing for a round filter, which has a central recess on a receiving flange 21 on the clean air side, to which an air connection unit can be connected to the air filter housing with other modules in an engine compartment, for example with a suction module an internal combustion engine, to connect.
  • a nozzle 11 is inserted in the receiving flange 21, a nozzle 11 is inserted. A part of the nozzle 11 is in the receiving flange 21st or received in the air filter housing 20 and there so locked or secured in any other way, that although a twisting is possible, however, axial tensile forces can be absorbed at the nozzle.
  • a maintenance switch terminal 12 is arranged in the protruding part of the nozzle 11. This is a branch of trained within the nozzle
  • Air line to be able to lead a thin hose line to a more distant pressure sensor. It is also possible to arrange a suitable sensor for measuring a pressure drop due to contamination of the air filter directly on the nozzle 11.
  • the connecting piece 11 is adjoined by an angle section 14 which is deformable via a fold geometry so that the center axis at the end, which is designed as a connection collar 15 for receiving a hose clamp, is at an angle of approximately 45 ° relative to the center axis of the connection piece 11 ° can be employed.
  • Figure 2 shows the same embodiment of the air connection unit 10, in which the nozzle 11 is rotated relative to the position in Fig. 1 so that the maintenance switch terminal 12 is above.
  • the independent of the position of the nozzle 11 twistable air duct element is bent with its connection collar 15 by 90 ° downwards.
  • FIG. 3a shows a second embodiment of an air connection unit 10 ', in which the air duct element comprises two angle sections 14', 16 ', which are connected to one another at a central connection collar 15'. There, an additional attachment can be attached. The connection with further modules takes place at the connection collar 17 'at the end of the second angle section 16'.
  • the second angle section 16 ' is not needed, it can be separated along the dot-dash line in Fig. 3a.
  • connection collar 15 ' is like the end-side connection collar 17' formed and can therefore be connected via the same fasteners with further leading components.

Landscapes

  • Engineering & Computer Science (AREA)
  • Chemical & Material Sciences (AREA)
  • Combustion & Propulsion (AREA)
  • Mechanical Engineering (AREA)
  • General Engineering & Computer Science (AREA)
  • Filtering Of Dispersed Particles In Gases (AREA)

Abstract

Bei einer Luftanschlusseinheit (10) für ein Luftfiltergehäuse (20, 21) mit wenigstens einem Stutzen (11), in den wenigstens eine Wartungsintervallanzeige oder ein Wartungsschalteranschluss (12) integriert ist und der in einer Ausnehmung im Luftfiltergehäuse (20) drehbar zu lagern ist, ist ein sich an den Stutzen (11) anschließendes Luftleitungselement über wenigstens einen Teil seiner Länge als Wellrohr (14) ausgebildet, so dass eine einfache und weitgehend rückstellkräftefreie Ausrichtung des Wartungsschalteranschluss (12) gegenüber dem Luftfiltergehäuse (20) möglich ist.

Description

  • Die Erfindung betrifft eine Luftanschlusseinheit für ein Luftfiltergehäuse mit wenigstens einem Stutzen, in den wenigstens eine Wartungsintervallanzeige oder ein Wartungsschalteranschluss integriert ist und der in einer Ausnehmung im Luftfiltergehäuse drehbar zu lagern ist, und mit einem sich an den Stutzen anschließenden Luftleitungselement.
  • Luftfilter werden über Luftführungsteile, z.B. Rohre oder Schläuche, mit dem Ansaugsystem verbunden. Nachteilig hierbei ist, dass darin integrierte Wartungsschalteranschlüsse stets in der gleichen, fixen Position sind. Auch ergibt sich bei der Verwendung von abgewinkelten Anschlüssen immer eine feste relative Stutzenposition zwischen Rohluft und Reinluft. Da es aber je nach Motorraum und Einbausituation erforderlich ist, die Lage der Stutzen und der Wartungsschalt.eranschlüsse zu variieren, müssen für jeden Fahrzeugtypen individuell angepasste Bauteile bereitgestellt werden.
  • Aus der US 5,882,367 ist eine gattungsgemäße Luftanschlusseinheit mit einem drehbar zu lagernder Winkelstutzen für ein Luftfiltergehäuse bekannt, in welchen ein Wartungsschalteranschluss integriert ist. Allerdings ist hierbei die Position des Wartungsschalteranschlusses abhängig von der Lage des Anschlussstutzens. Zudem wird für jeden benötigten Winkel ein angepasster Stutzen benötigt. Hinzu kommen noch technisch bedingte Toleranzen bezüglich der Lage und Distanz der Anschlussgeometrie sowie eventuell vorhandener Motoranbauteile in unmittelbarer Nähe. Bei nicht korrekter Einbaulage und/oder zu großen Toleranzen ergeben sich bei der Montage sehr große Kräfte, die die Bauteile über die gesamte Lebensdauer belasten können.
  • Es gilt somit die Aufgabe zu lösen, das Ansaugsystem eines Verbrennungsmotors so mit dem Luftfilter verbinden, dass Länge und Winkel des Reinluftanschlusses variiert werden kann, und die Lage des Wartungsschalteranschlusses variieren zu können.
  • Gelöst werden kann die Aufgabe durch eine Luftanschlusseinheit mit den Merkmalen des Anspruchs 1.
  • Als "Wellrohr" werden im Sinne der Erfindung gewellte Rohre wie auch Rohre mit einer Faltengeometrie bezeichnet, die Biegungen erlaubt, ohne dass es zum Einknicken bzw. Einschnüren des Rohrmantels kommt.
  • Durch die Drehbarkeit des Stutzens kann die Lage des Wartungsschalteranschlusses frei gewählt werden. Die Position des Reinluftanschlusses kann unabhängig hiervon gewählt werden. Hierdurch sind Lage, Länge und Winkel des Anschlusses frei wählbar.
  • Durch die Ausbildung des Luftleitungselement bzw. Teilen davon als Wellrohr ist eine flexible Leitungsverlegung auch bei begrenzten Platzverhältnissen, z.B. in einem Motorraum, möglich.
  • Zudem ist das System unempfindlich bezüglich eventueller Toleranzen der Distanzen zu den anzuschließenden Bauteilen oder deren Lage. Gleichgültig ob die Position oder der Abstand variiert, lässt sich der bewegliche Stutzen mit wenig Kraftaufwand an das Saugsystem anschließen. Die
  • Rückstellkräfte auf die Bauteile sind hierbei auch auf Dauer nur gering, wenn das Wellrohr elastisch verformt wird oder verschwinden ganz, wenn bei einer Knickfaltengeometrie eine bestimmte Konfiguration eingestellt ist.
  • Der als Wellrohr ausgebildete Winkelabschnitt des Luftleitungselements sollte im kräftefreien Zustand einen Winkel von 45° bis 150°, insbesondere 90°, einschließen. Aufgrund der Flexibilität des Wellrohrbereichs können die meisten einfachen Umlenkungen des Luftleitungselements realisiert werden.
  • Das Luftleitungselement endet vorzugsweise in einem Anschlussbund. Hierbei handelt es sich um einen endseitigen Absatz, um den einen Schlauchschelle gelegt werden kann, mit der der Anschlussbund fest auf einen Anschlussstutzen angepresst werden kann.
  • Um zwei Umlenkungen am Luftleitungselement zu realisieren, solle dieses zwei Winkelabschnitte als Wellrohr ausgebildet haben und eine S-förmige Konfiguration aufweisen, das heißt, die gekrümmten Abschnitte liegen zwar in einer Ebene, die Ein- und Auslassöffnung zeigen aber in verschiedene, insbesondere entgegen gesetzte Richtungen.
  • Durch Aneinanderreihen mehrerer Wellrohrabschnitte lässt sich das Prinzip auf nahezu beliebig viele Umlenkungen erweitern.
  • Die so beschriebenen Konfigurationen gelten jeweils im kräftefreien Ausgangszustand. Die Wellrohrabschnitte können davon ausgehend entweder dauerhaft verbogen werden oder federnd zurück gebogen werden, um sie an den vorgesehen Leitungsweg in einem Motorraum anzupassen.
  • Besonders vorteilhaft ist es, das Luftleitungselement zwischen den Winkelabschnitten und auch endseitig mit einem Anschlussbund auszubilden. Einerseits kann an dem zwischen den Winkelabschnitten liegenden Anschlussbund ein zusätzliches Verbindungselement für die Befestigung des Luftleitungselements an einem zusätzlichen Punkt im Motorraum vorgesehen sein. Außerdem kann bei dieser Ausführungsform eine Konfiguration hergestellt und ausgeliefert werden, die mehrfache Umlenkungen erlaubt, je nach Bedarf aber auch direkt hinter dem mittleren Anschlussbund abgeschnitten werden kann, sofern nur eine einfache Umlenkung benötigt wird. Die Mehrkosten des zusätzlichen Winkelabschnitts sind bei einem blasgeformten Kunststoffteil so gering, dass es wirtschaftlich günstiger sein kann, diesen Abschnitt von vornherein dem Kunden mit anzubieten, als zwei verschiedene Typen von Luftanschlusseinheiten herzustellen, zu vertreiben und für den Ersatzteilbedarf vorrätig zu halten.
  • Es kann auch vorgesehen sein, die Winkelabschnitte über eine Muffenverbindung luftdicht miteinander zu verbinden. Damit braucht das Luftleitungselement zur Anpassung nicht mehr durchtrennt werden. Es kann vielmehr der nicht benötigte zweite Winkelabschnitt abgezogen werden.
  • Die Erfindung wird nachfolgend anhand eines Ausführungsbeispiels mit Bezug auf die Zeichnung näher erläutert. Die Figuren zeigen im Einzelnen:
  • Fig. 1
    ein Luftfiltergehäuse mit einer ersten Luftanschlusseinheit in perspektivischer Ansicht;
    Fig. 2
    das Luftfiltergehäuse mit der ersten Luftanschlusseinheit in seitlicher Ansicht; und
    Fig. 3a, 3b
    das Luftfiltergehäuse mit einer zweiten Luftanschlusseinheit, jeweils in seitlicher Ansicht.
  • Figur 1 zeigt Ausschnitte eines Luftfiltergehäuses 20 mit einem Luftzuführstutzen 22, der in dieser Abbildung wie auch in den nachfolgenden Figuren 2 und 3 dargestellt ist, um zu kennzeichnen, dass die Lage des Luftfiltergehäuses 20 in allen Abbildungen unverändert ist.
  • Bei dem dargestellten Ausführungsbeispiel handelt es sich um ein zylindrisches Luftfiltergehäuse für einen Rundfilter, das an einem Aufnahmeflansch 21 auf der Reinluftseite eine zentrale Ausnehmung aufweist, an die eine Luftanschlusseinheit angeschlossen werden kann, um das Luftfiltergehäuse mit weiteren Modulen in einem Motorraum, beispielsweise mit einem Ansaugmodul einer Brennkraftmaschine, zu verbinden.
  • In den Aufnahmeflansch 21 ist ein Stutzen 11 eingeschoben. Ein Teil des Stutzens 11 ist im Aufnahmeflansch 21 bzw. im Luftfiltergehäuse 20 aufgenommen und dort so eingerastet oder in sonstiger Weise befestigt, dass zwar ein Verdrehen möglich ist, jedoch axiale Zugkräfte am Stutzen aufgenommen werden können.
  • Im heraus ragenden Teil des Stutzens 11 ist ein Wartungsschalteranschluss 12 angeordnet. Hierbei handelt es sich um einen Abzweig der innerhalb des Stutzens ausgebildeten
  • Luftleitung, um eine dünne Schlauchleitung zu einem weiter entfernten Drucksensor führen zu können. Möglich ist auch, einen geeigneten Sensor zur Messung eines Druckabfalls infolge einer Verschmutzung des Luftfilters direkt am Stutzen 11 anzuordnen.
  • An den Stutzen 11 schließt sich ein Winkelabschnitt 14 an, der über eine Faltengeometrie verformbar ist, so dass die Mittelachse am Ende, das als ein Anschlussbund 15 zur Aufnahme einer Schlauchschelle ausgebildet ist, gegenüber der Mittelachse des Stutzens 11 in einem Winkel von hier etwa 45° angestellt werden kann.
  • Figur 2 zeigt die gleiche Ausführungsform der Luftanschlusseinheit 10, bei der der Stutzen 11 gegenüber der Stellung in Fig. 1 so verdreht ist, dass der Wartungsschalteranschluss 12 oben liegt. Das unabhängig von der Lage des Stutzens 11 verwindbare Luftleitungselement ist mit seinem Anschlussbund 15 um 90° nach unten gebogen.
  • Figur 3a zeigt eine zweite Ausführungsform einer Luftanschlusseinheit 10', bei der das Luftleitungselement zwei Winkelabschnitte 14', 16' umfasst, die miteinander an einem zentralen Anschlussbund 15' verbunden sind. Dort kann eine zusätzliche Befestigung angebracht werden. Die Verbindung mit weiteren Modulen erfolgt am Anschlussbund 17' am Ende des zweiten Winkelabschnitts 16'.
  • Wird der zweite Winkelabschnitt 16' nicht benötigt, kann er entlang der strichpunktierten Linie in Fig. 3a abgetrennt werden.
  • Wie in Fig. 3b dargestellt, wird nach dem Abtrennen des unteren Winkelabschnitts 16' eine Konfiguration erhalten, die der ersten Ausführungsform nach den Figuren 1 und 2 entspricht. Der Anschlussbund 15' ist wie der endseitige Anschlussbund 17' ausgebildet und kann daher über dieselben Befestigungselemente mit weiter führenden Bauteilen verbunden werden.

Claims (7)

  1. Luftanschlusseinheit (10; 10') für ein Luftfiltergehäuse (20, 21) mit wenigstens einem Stutzen (11), in den wenigstens eine Wartungsintervallanzeige oder ein Wartungsschalteranschluss (12) integriert ist und der in einer Ausnehmung im Luftfiltergehäuse (20) drehbar zu lagern ist, und mit einem sich an den Stutzen (11) anschließenden Luftleitungselement,
    dadurch gekennzeichnet, dass das Luftleitungselement über wenigstens einen Teil seiner Länge als Wellrohr (14; 14', 16') ausgebildet ist.
  2. Luftanschlusseinheit (10; 10') nach Anspruch 1, dadurch gekennzeichnet, dass wenigstens ein als Wellrohr ausgebildeter Winkelabschnitt (14; 14', 16') des Luftleitungselements im kräftefreien Zustand einen Winkel von 30° bis 140° einschließt.
  3. Luftanschlusseinheit (10; 10') nach Anspruch 1 oder 2, dadurch gekennzeichnet, dass das Luftleitungselement in einem Anschlussbund (15; 15', 17')endet.
  4. Luftanschlusseinheit (10') nach einem der Ansprüche 1 bis 3, dadurch gekennzeichnet, dass das Luftleitungselement in zwei Winkelabschnitten (14', 16') als Wellrohr ausgebildet ist und eine S-förmige Konfiguration aufweist.
  5. Luftanschlusseinheit (10') nach Anspruch 4, dadurch gekennzeichnet, dass das Luftleitungselement zwischen den Winkelabschnitten (14', 16') und endseitig als Anschlussbund (15', 17') ausgebildet ist.
  6. Luftanschlusseinheit nach Anspruch 5, dadurch gekennzeichnet, dass die Winkelabschnitte über eine Muffen verbindung luftdicht miteinander verbunden sind.
  7. Luftfiltergehäuse (20) mit einer Lagerausnehmung, in der eine Luftanschlusseinheit nach einem der vorheri gen Ansprüche drehbar angeordnet ist.
EP07101376A 2006-03-16 2007-01-30 Luftanschlusseinheit für ein Luftfiltergehäuse Withdrawn EP1835166A3 (de)

Applications Claiming Priority (1)

Application Number Priority Date Filing Date Title
DE102006012592A DE102006012592A1 (de) 2006-03-16 2006-03-16 Luftanschlusseinheit für ein Luftfiltergehäuse

Publications (2)

Publication Number Publication Date
EP1835166A2 true EP1835166A2 (de) 2007-09-19
EP1835166A3 EP1835166A3 (de) 2008-04-02

Family

ID=38180098

Family Applications (1)

Application Number Title Priority Date Filing Date
EP07101376A Withdrawn EP1835166A3 (de) 2006-03-16 2007-01-30 Luftanschlusseinheit für ein Luftfiltergehäuse

Country Status (3)

Country Link
US (1) US20070240393A1 (de)
EP (1) EP1835166A3 (de)
DE (1) DE102006012592A1 (de)

Cited By (4)

* Cited by examiner, † Cited by third party
Publication number Priority date Publication date Assignee Title
CN102003593A (zh) * 2010-12-13 2011-04-06 浙江银轮机械股份有限公司 波纹管与螺旋管组合式位移补偿器
DE202013011869U1 (de) 2013-09-02 2014-12-03 Mann+Hummel Gmbh Filtersystem mit Sensorstutzen
EP2843206A1 (de) 2013-09-02 2015-03-04 Mann + Hummel Gmbh Filtersystem mit Sensorstutzen
AT518042B1 (de) * 2015-12-12 2018-09-15 Man Diesel & Turbo Se System zum Zuführen von Luft zu Zylindern einer Brennkraftmaschine

Families Citing this family (6)

* Cited by examiner, † Cited by third party
Publication number Priority date Publication date Assignee Title
US20090107090A1 (en) * 2007-10-31 2009-04-30 Shawn Keel Quick Connect Air Fitting with Integral Filter
US7972403B2 (en) * 2008-08-12 2011-07-05 Mann + Hummel Gmbh Rotate-once outlet fitting for a filter housing
SE536418C2 (sv) * 2012-03-01 2013-10-15 Scania Cv Ab Luftfilterarrangemang och anslutningskanal
US10844817B2 (en) * 2018-04-23 2020-11-24 Ford Global Technologies, Llc Convolute-swirl integrated duct for swirl generation
DE102019117640A1 (de) * 2019-07-01 2021-01-07 Mann+Hummel Gmbh Rohrbauteil
CN119373630B (zh) * 2024-12-27 2025-03-07 陕西海鹰汽车部件有限公司 重卡进气扁管

Family Cites Families (11)

* Cited by examiner, † Cited by third party
Publication number Priority date Publication date Assignee Title
US2712387A (en) * 1950-10-19 1955-07-05 Frank W Young Rotary filter with pulsating blowback means
SE506838C2 (sv) * 1992-04-21 1998-02-16 Plymex Fabriksfoersaeljning Ab Inställbar punktutsugningsanordning med filter
US5529743A (en) * 1994-06-30 1996-06-25 Steere Enterprises, Inc. Methods for the manufacture of clean air ducts
US5813701A (en) * 1996-03-07 1998-09-29 Gutter World, Inc. Repositionable flexible downspout extension
US5882367A (en) * 1997-06-26 1999-03-16 Nelson Industries, Inc. Rotatable sealed filter outlet
US6183544B1 (en) * 1998-03-09 2001-02-06 Nelson Industries, Inc. Air filter with reinforced pressure tap
US6398266B1 (en) * 1999-09-22 2002-06-04 Ballard Medical Products Collapse resistant popoid connector
FR2878603B1 (fr) * 2004-12-01 2007-02-23 Avon Polymeres France Sas Soc Conduit d'admission d'air
US20060185639A1 (en) * 2005-02-18 2006-08-24 Spectre Industries, Inc. Modular intake system
DE102005051946A1 (de) * 2005-10-19 2007-04-26 Mündener Gummiwerk Gmbh Im Spritzgießverfahren hergestellter Schlauch für die Führung von Gasen, insbesondere ein Schlauch zwischen Luftfilter und Turbolader eines Fahrzeugs
DE102006012590B4 (de) * 2006-03-16 2007-12-20 Mann+Hummel Gmbh Luftfilteranschlusseinheit

Cited By (6)

* Cited by examiner, † Cited by third party
Publication number Priority date Publication date Assignee Title
CN102003593A (zh) * 2010-12-13 2011-04-06 浙江银轮机械股份有限公司 波纹管与螺旋管组合式位移补偿器
DE202013011869U1 (de) 2013-09-02 2014-12-03 Mann+Hummel Gmbh Filtersystem mit Sensorstutzen
EP2843206A1 (de) 2013-09-02 2015-03-04 Mann + Hummel Gmbh Filtersystem mit Sensorstutzen
DE102014012949A1 (de) 2013-09-02 2015-03-05 Mann + Hummel Gmbh Filtersystem mit Sensorstutzen
DE102013014491A1 (de) 2013-09-02 2015-03-05 Mann + Hummel Gmbh Filtersystem mit Sensorstutzen
AT518042B1 (de) * 2015-12-12 2018-09-15 Man Diesel & Turbo Se System zum Zuführen von Luft zu Zylindern einer Brennkraftmaschine

Also Published As

Publication number Publication date
DE102006012592A1 (de) 2007-09-20
US20070240393A1 (en) 2007-10-18
EP1835166A3 (de) 2008-04-02

Similar Documents

Publication Publication Date Title
EP1835166A2 (de) Luftanschlusseinheit für ein Luftfiltergehäuse
EP0749378B1 (de) Wischblatt
DE202006004407U1 (de) Anschluss für ein rohrförmiges Luftführungselement an einem Turbolader
EP0916540A2 (de) Kraftstoffördereinheit mit einem Leitungsanschluss
WO2008022853A1 (de) System zur vorpositionierung einer schlauchschelle auf einem schlauchende, insbesondere eines ladeluft- und kühlwasserschlauchs
WO2019096596A1 (de) Fluidleitungskupplung mit sicherungsklammer
EP2416991B1 (de) Befestigungseinrichtung für ein kabel
EP0919760A2 (de) Vorrichtung zum Verbinden von zwei rohrförmigen Leitungsteilen
AT506308B1 (de) Befestigungsvorrichtung und verfahren zum anschluss hydraulischer leitungen
EP2199652B1 (de) Vorrichtung zum dichten Verbinden und zur Befestigung einer Fluidleitung mit einem anderen fluidführenden Bauteil
DE102012107263B4 (de) Steckvorrichtung in einem Endbereich einer Leitung und Verfahren zur Herstellung einer Steckvorrichtung
EP1216862A2 (de) Einrichtung zum Steuern von Luftströmen in einer Heiz- oder Klimaanlage eines Fahrzeuges
EP2403084B1 (de) Kabel- und Leitungsführung
DE102009048481B4 (de) Elektrischer Steckverbinder
EP1520977A2 (de) Ansaugvorrichtung für eine Vorreinigungseinrichtung in Verbindung mit einer Ventilatorverkleidung
DE202011005396U1 (de) Schlauchschellen für flexible Schläuche
AT509729B1 (de) Verbindungseinheit zum anschluss einer fluidleitung an eine wasserbettmatratze
EP0879351A1 (de) Ansaugsystem
DE19517055B4 (de) Spritzeinrichtung zur Abgabe von Waschflüssigkeit auf eine zu reinigende Scheibe eines Fahrzeuges
EP0880767A1 (de) Vorrichtung und verfahren zum enteisen einer ansaugöffnung
DE102021210130A1 (de) Fluidleitvorrichtung für einen Scheibenwischer
EP2142399B1 (de) An einem bauteil formschlüssig festgelegte halteeinrichtung
CH690551A5 (de) Schutzhülse für eine Verbindung zwischen einem flexiblen Rohr und einer Anschlussarmatur oder einem Fitting.
DE19700712B4 (de) Adapterteil für zwei zu verbindende Luftkanäle
EP2194308B1 (de) Kupplungsstück für Wellenschlauch-Anschlussteile

Legal Events

Date Code Title Description
PUAI Public reference made under article 153(3) epc to a published international application that has entered the european phase

Free format text: ORIGINAL CODE: 0009012

AK Designated contracting states

Kind code of ref document: A2

Designated state(s): AT BE BG CH CY CZ DE DK EE ES FI FR GB GR HU IE IS IT LI LT LU LV MC NL PL PT RO SE SI SK TR

AX Request for extension of the european patent

Extension state: AL BA HR MK YU

PUAL Search report despatched

Free format text: ORIGINAL CODE: 0009013

AK Designated contracting states

Kind code of ref document: A3

Designated state(s): AT BE BG CH CY CZ DE DK EE ES FI FR GB GR HU IE IS IT LI LT LU LV MC NL PL PT RO SE SI SK TR

AX Request for extension of the european patent

Extension state: AL BA HR MK YU

17P Request for examination filed

Effective date: 20080331

17Q First examination report despatched

Effective date: 20080508

AKX Designation fees paid

Designated state(s): AT BE BG CH CY CZ DE DK EE ES FI FR GB GR HU IE IS IT LI LT LU LV MC NL PL PT RO SE SI SK TR

STAA Information on the status of an ep patent application or granted ep patent

Free format text: STATUS: THE APPLICATION IS DEEMED TO BE WITHDRAWN

18D Application deemed to be withdrawn

Effective date: 20080919