EP1728450A2 - Ultrasonic hair treatment device - Google Patents
Ultrasonic hair treatment device Download PDFInfo
- Publication number
- EP1728450A2 EP1728450A2 EP06010710A EP06010710A EP1728450A2 EP 1728450 A2 EP1728450 A2 EP 1728450A2 EP 06010710 A EP06010710 A EP 06010710A EP 06010710 A EP06010710 A EP 06010710A EP 1728450 A2 EP1728450 A2 EP 1728450A2
- Authority
- EP
- European Patent Office
- Prior art keywords
- ultrasonic
- support
- ultrasonic vibration
- vibration element
- hair treatment
- Prior art date
- Legal status (The legal status is an assumption and is not a legal conclusion. Google has not performed a legal analysis and makes no representation as to the accuracy of the status listed.)
- Withdrawn
Links
- 210000004209 hair Anatomy 0.000 title claims abstract description 86
- 230000000694 effects Effects 0.000 abstract description 14
- 230000035515 penetration Effects 0.000 abstract description 6
- 230000002708 enhancing effect Effects 0.000 abstract description 3
- 230000004048 modification Effects 0.000 description 4
- 238000012986 modification Methods 0.000 description 4
- 230000000295 complement effect Effects 0.000 description 3
- XAGFODPZIPBFFR-UHFFFAOYSA-N aluminium Chemical compound [Al] XAGFODPZIPBFFR-UHFFFAOYSA-N 0.000 description 2
- 229910052782 aluminium Inorganic materials 0.000 description 2
- 239000000463 material Substances 0.000 description 1
- 230000013011 mating Effects 0.000 description 1
- 230000000149 penetrating effect Effects 0.000 description 1
- 238000007493 shaping process Methods 0.000 description 1
- 239000007779 soft material Substances 0.000 description 1
Images
Classifications
-
- A—HUMAN NECESSITIES
- A45—HAND OR TRAVELLING ARTICLES
- A45D—HAIRDRESSING OR SHAVING EQUIPMENT; EQUIPMENT FOR COSMETICS OR COSMETIC TREATMENTS, e.g. FOR MANICURING OR PEDICURING
- A45D2/00—Hair-curling or hair-waving appliances ; Appliances for hair dressing treatment not otherwise provided for
-
- A—HUMAN NECESSITIES
- A45—HAND OR TRAVELLING ARTICLES
- A45D—HAIRDRESSING OR SHAVING EQUIPMENT; EQUIPMENT FOR COSMETICS OR COSMETIC TREATMENTS, e.g. FOR MANICURING OR PEDICURING
- A45D2/00—Hair-curling or hair-waving appliances ; Appliances for hair dressing treatment not otherwise provided for
- A45D2/001—Hair straightening appliances
-
- A—HUMAN NECESSITIES
- A45—HAND OR TRAVELLING ARTICLES
- A45D—HAIRDRESSING OR SHAVING EQUIPMENT; EQUIPMENT FOR COSMETICS OR COSMETIC TREATMENTS, e.g. FOR MANICURING OR PEDICURING
- A45D1/00—Curling-tongs, i.e. tongs for use when hot; Curling-irons, i.e. irons for use when hot; Accessories therefor
-
- A—HUMAN NECESSITIES
- A45—HAND OR TRAVELLING ARTICLES
- A45D—HAIRDRESSING OR SHAVING EQUIPMENT; EQUIPMENT FOR COSMETICS OR COSMETIC TREATMENTS, e.g. FOR MANICURING OR PEDICURING
- A45D2200/00—Details not otherwise provided for in A45D
- A45D2200/20—Additional enhancing means
- A45D2200/207—Vibration, e.g. ultrasound
Definitions
- the present invention is directed to an ultrasonic hair treatment device, and more particularly to a hair treatment device adapted in use for penetrating a hair treatment composition into user' hairs by the effect of the ultrasonic vibrations.
- the device of No. 9-262120 has a barrel which is configured to wound the hairs therearound and is coupled to an ultrasonic vibration element to transmit the ultrasonic vibrations to the hairs, thereby exciting the hair treatment composition and the hairs to expedite the penetration of the composition.
- the ultrasonic vibration element is a piezoelectric thickness drive transducer in the form of a disc coupled to one end of the barrel so as give the maximum vibrations to the lengthwise center of the barrel.
- the hairs wound around the lengthwise ends of the barrel could enjoy only little or no ultrasonic effect.
- Such non-uniform vibration along the length of the barrel is inevitable by the use of the piezoelectric transducer having one resonance point at its center of the disc.
- the device of No. 2001-37526 proposes the use of rectangular vibration plate for clamping the hair with a complementary clamp member in order to straighten the hairs with the ultrasonic vibration effect in combination with the hair treatment composition.
- the vibration plate is mechanically coupled to the piezoelectric element to vibrate in the thickness direction.
- the vibration plate suffers from non-uniform vibration over the rectangular face when using the piezoelectric thickness drive transducer having a single resonance point. That is, the rectangular vibration plate fails to transmit the vibration uniformly and effectively to all the strands of the hairs in contact with the rectangular vibration plate. Therefore, a solution has been waited to give uniform vibration to the hairs clamped in the device.
- the above solution is achieved in the present invention which provides an ultrasonic hair treatment device capable of giving uniform ultrasonic vibration effect over the hairs clamped in the device.
- the device in accordance with the present invention has a support configured to carry an ultrasonic vibration element, and a clamp member configured to clamp hairs between the clamp member and the support for applying ultrasonic vibrations from the ultrasonic vibration element to the hairs.
- the ultrasonic vibration element is configured to have a rectangular vibration face and to have a plurality of resonant points arranged in a lattice pattern on the rectangular vibration face.
- the ultrasonic vibrations of maximum amplitude developed at the plural resonance points can be applied to the strands of the hairs over the entire rectangular vibration face of the ultrasonic vibration element, thereby applying the uniform ultrasonic vibration effect to the hairs for expediting the penetration of a hair treatment composition into the hairs and therefore finishing the hair treatment within a short time.
- the ultrasonic vibration element is configured to come into direct contact at its rectangular vibration face with the hairs clamped between the clamp member and the support member.
- the support is elongated to have a longitudinal axis and is pivotally connected at one longitudinal end to said damp.
- the ultrasonic vibration element is mounted on the support to have its lengthwise axis inclined relative to the longitudinal axis of the support.
- the support is configured to carry at least one the ultrasonic vibration element
- the clamp member is configured to carry at least one auxiliary vibration element.
- the ultrasonic vibration element and the auxiliary vibration element are arranged along a direction crossing with the longitudinal axis.
- the ultrasonic vibrations can be applied from both sides of the support and the clamp member, and over a wide width of the clamped hairs for improving and facilitating the hair treatment.
- a controller is provided to oscillate the ultrasonic vibration element and the auxiliary ultrasonic vibration element alternately with each other in order to enhance the ultrasonic vibration yet in a power saving manner.
- one of the support and the clamp member is configured to have bumps spaced in a lengthwise direction
- the other of the support and the clam member is configured to have recesses which fit with the bumps respectively when the clamp member is closed on the support.
- a plurality of the ultrasonic vibration elements are stacked with each other on the support to enhance the ultrasonic vibration effect or power.
- the device D is used in combination with a hair treatment composition so as to vibrate the composition as well as the hair strands for expediting to penetrate the composition into the hair, and therefore finishing the hair treatment within a short time.
- the device is composed of an elongated support 10 carrying an ultrasonic vibration element 20, and an elongated clamp member 30 carrying a seat 40 at a portion opposed to the element 20.
- the clamp member 30 is pivotally coupled at its one lengthwise end to one lengthwise end of the support 10 by a hinge 50 so that the support 10 is movable between a clamp position of closing the ultrasonic vibration element 20 on the seat 40 for clamping the hair strands therebetween and an open position of releasing the hair strands from the element 20.
- the ultrasonic vibration element 20 is mounted on a base 60 which is made of aluminum and is fixed to the support 10 so that the vibration element 20 comes into direct contact with the hair strands clamped between the element 20 and the seat 40.
- a plurality of bristles 70 are arranged on both longitudinal sides of the element 20 on the support 10 and on both longitudinal sides of the seat 40 on the clamp member 30 in order to comb the hair strands while moving the device along the length of the hair strands.
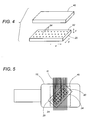
- the ultrasonic vibration element 20 is realized by a vertical effect piezoelectric transducer operating in the thickness mode which is shaped to have a rectangular vibration face 22 and is configured to have a plurality of resonance points 24 arranged in a lattice pattern on the vibration face 22, as shown in FIG. 4.
- the element 20 is connected to receive a drive current and is caused to expand and contract in directions x and y in a plane perpendicular to the thickness (z) of the element 20.
- the deformations in x- and y-directions interfere with each other to develop vibrations in the thickness direction (z), while forming a plurality of resonance points 24 in the lattice pattern where the maximum amplitude is given.
- the element 20 or the piezoelectric transducer is supplied with an electric power and is controlled by a controller 100 to produce vibrations of 500 kHz to 10 MHz frequency at a power of 0.1 to 5 W/cm 2 . Therefore, the clamped hairs can receive relatively uniform ultrasonic vibration of maximum amplitude over the entire face of the element 20 to enhance the penetration of the hair treatment composition into the clamped hairs.
- the seat 40 which is shaped in match with the element 20, is made of hard material for enhancing the hair shaping effect, and may be alternatively made of soft material for further enhancing the penetration effect of the hair treatment composition.
- the illustrated embodiment shows that the element 20 and the complementary seat 40 are finished to have a flat mating surface for the purpose of straightening the hairs, they may be shaped respectively into curved surfaces for curling the hairs.
- FIG. 5 shows another ultrasonic hair treatment device in accordance with a modification of the above embodiment which is identical to the above embodiment except that the rectangular element 20 or the piezoelectric transducer is disposed to have its lengthwise axis inclined with respect to the longitudinal axis of the support 10.
- the resonance points 24 are arranged in a row correspondingly inclined with respect to the length of the hair strands H such that the hair strands running perpendicular to the length of the support 10 are given increased chances of encountering the resonance points 24 while the device D is moved along the length of the hair strands, thereby enjoy the ultrasonic vibration effect over the width of the hair strands.
- FIGS. 6 and 7 show a further ultrasonic hair treatment device in accordance with a second embodiment of the present invention which is similar to the first embodiment except that more than one ultrasonic vibration elements 20 and 20A are arranged in a lateral direction perpendicular to the length of the support 10 or the clamp member 30.
- the support 10 carries the element 20, while the clamp member 30 is also configured to carry an auxiliary ultrasonic element 20A which are staggered with the element 20 with respect to the lateral direction and are opposed to auxiliary seat 40A and the seat 40 respectively secured to the clamp member 30 and the support 10.
- the elements 20 and the auxiliary element 20A are covered respectively by base 60 and auxiliary base 60A made of aluminum which transmits the ultrasonic vibrations in the thickness direction from the elements 20 and 20A to the clamed hair strands as in the previous embodiment.
- the ultrasonic vibrations can be applied to the hair strands over a long range at one time, for facilitating to finish the hair treatment within a short time.
- the elements 20 and 20A may be arranged to have its lengthwise axis inclined with respect tot the length of the support or the clamp member as in the embodiment of FIG. 5.
- the elements 20 and 20A are controlled by a controller 100 to become active alternately with each other.
- the controller 100 is configured to control individual drivers 110 and 110A to give alternating drive pulses P1 and P2, as shown in FIG. 7.
- the high-output period of the drive pulses is set to be longer or equal to low-output period of the drive pulse.
- FIGS. 8 to 10 show a third embodiment of the present invention which is similar to the above embodiment except that base 60 backed up with the ultrasonic vibration element is formed on opposite longitudinal ends with bumps 62 which fit into corresponding recesses 42 formed in the seat 40 of the clamp member 30 when the clamp member 30 is closed on the support 10.
- the set of the bumps 62 are formed on both lateral sides of the base 60, as shown in FIG. 8, to confine the hair strands between the lengthwise spaced bumps 62 in order to keep the hair strands H in the range of receiving the ultrasonic vibrations, i.e., avoid the hair strands from shifting away from the ultrasonic vibration element.
- the bumps and recesses may be formed respectively in the seat and the base.
- the device of the present invention may be configured to have a stack of the ultrasonic vibration elements 20 of the above characteristic.
- the stacked elements 20 are secured to the back of the base 60 by means of a fastener 64 in the illustrated instance, the stacked elements 20 may be provided on top of the base 20 for direct contact with the hair strands.
Landscapes
- Hair Curling (AREA)
- Apparatuses For Generation Of Mechanical Vibrations (AREA)
- Brushes (AREA)
- General Electrical Machinery Utilizing Piezoelectricity, Electrostriction Or Magnetostriction (AREA)
Abstract
Description
- The present invention is directed to an ultrasonic hair treatment device, and more particularly to a hair treatment device adapted in use for penetrating a hair treatment composition into user' hairs by the effect of the ultrasonic vibrations.
- Ultrasonic hair treatment devices designed to penetrate the hair treatment composition are already disclosed in the art, for example
andJapanese Patent Publication No. 9 262120 . The device of No. 9-262120 has a barrel which is configured to wound the hairs therearound and is coupled to an ultrasonic vibration element to transmit the ultrasonic vibrations to the hairs, thereby exciting the hair treatment composition and the hairs to expedite the penetration of the composition. The ultrasonic vibration element is a piezoelectric thickness drive transducer in the form of a disc coupled to one end of the barrel so as give the maximum vibrations to the lengthwise center of the barrel. Thus, the hairs wound around the lengthwise ends of the barrel could enjoy only little or no ultrasonic effect. Such non-uniform vibration along the length of the barrel is inevitable by the use of the piezoelectric transducer having one resonance point at its center of the disc.No. 2001-37526 - The device of No. 2001-37526 proposes the use of rectangular vibration plate for clamping the hair with a complementary clamp member in order to straighten the hairs with the ultrasonic vibration effect in combination with the hair treatment composition. The vibration plate is mechanically coupled to the piezoelectric element to vibrate in the thickness direction. Also in this device, the vibration plate suffers from non-uniform vibration over the rectangular face when using the piezoelectric thickness drive transducer having a single resonance point. That is, the rectangular vibration plate fails to transmit the vibration uniformly and effectively to all the strands of the hairs in contact with the rectangular vibration plate. Therefore, a solution has been waited to give uniform vibration to the hairs clamped in the device.
- The above solution is achieved in the present invention which provides an ultrasonic hair treatment device capable of giving uniform ultrasonic vibration effect over the hairs clamped in the device. The device in accordance with the present invention has a support configured to carry an ultrasonic vibration element, and a clamp member configured to clamp hairs between the clamp member and the support for applying ultrasonic vibrations from the ultrasonic vibration element to the hairs. The ultrasonic vibration element is configured to have a rectangular vibration face and to have a plurality of resonant points arranged in a lattice pattern on the rectangular vibration face. Accordingly, the ultrasonic vibrations of maximum amplitude developed at the plural resonance points can be applied to the strands of the hairs over the entire rectangular vibration face of the ultrasonic vibration element, thereby applying the uniform ultrasonic vibration effect to the hairs for expediting the penetration of a hair treatment composition into the hairs and therefore finishing the hair treatment within a short time.
- In order to maximize the above effect, the ultrasonic vibration element is configured to come into direct contact at its rectangular vibration face with the hairs clamped between the clamp member and the support member.
- Preferably, the support is elongated to have a longitudinal axis and is pivotally connected at one longitudinal end to said damp. The ultrasonic vibration element is mounted on the support to have its lengthwise axis inclined relative to the longitudinal axis of the support. With this arrangement, the strands of the hair running perpendicular to the longitudinal axis of the support or the clamp member are given increased chances of encountering the resonance points and therefore can enjoy the ultrasonic vibration effect over the width of the clamped hairs strands.
- In a preferred embodiment, the support is configured to carry at least one the ultrasonic vibration element, while the clamp member is configured to carry at least one auxiliary vibration element. The ultrasonic vibration element and the auxiliary vibration element are arranged along a direction crossing with the longitudinal axis. Thus, the ultrasonic vibrations can be applied from both sides of the support and the clamp member, and over a wide width of the clamped hairs for improving and facilitating the hair treatment.
- In this embodiment, a controller is provided to oscillate the ultrasonic vibration element and the auxiliary ultrasonic vibration element alternately with each other in order to enhance the ultrasonic vibration yet in a power saving manner.
- It is also preferred that one of the support and the clamp member is configured to have bumps spaced in a lengthwise direction, while the other of the support and the clam member is configured to have recesses which fit with the bumps respectively when the clamp member is closed on the support. With the provision of the bumps and the recesses, the clamped hair can be confined between the lengthwise ends of the device and can be guided smoothly therebetween while the device is manipulated to move along the length of the hair strands, which makes it easy to give the ultrasonic vibration effect over the length of the hair strands..
- Further, it is preferred that a plurality of the ultrasonic vibration elements are stacked with each other on the support to enhance the ultrasonic vibration effect or power.
- These and still other advantageous features of the present invention will become more apparent from the following description of the embodiments when taken in conjunction with the attached drawings.
-
- FIG. 1 is a schematic view illustrating the use of an ultrasonic hair treatment device in accordance with a preferred embodiment of the present invention;
- FIG. 2 is a perspective view of the above device;
- FIG. 3 is a front view of the above device shown with bristles being removed;
- FIG. 4 is an exploded perspective view of an ultrasonic vibration element and a complementary seat between which the hair is clamped;
- FIG. 5 is a top view of the ultrasonic vibration element shown in relation with the clamped hair strands in accordance with a modification of the above embodiment;
- FIG. 6 is a sectional view of an ultrasonic hair treatment device in accordance with a second embodiment of the present invention;
- FIG. 7 is a graph illustrating a driving signal for actuating the ultrasonic vibration element in the embodiment of FIG. 6;
- FIG. 8 is a plan view of a support member in accordance with a third embodiment of the present invention;
- FIG. 9 is a front view of the above support;
- FIG. 10 is a front view of a clamp member used in combination with the above support; and
- FIG. 11 is a sectional view of a support member in accordance with a modification of the above embodiment.
- Referring now to FIGS. 1 to 4, there is shown an ultrasonic hair treatment device in accordance with a first embodiment of the present invention. The device D is used in combination with a hair treatment composition so as to vibrate the composition as well as the hair strands for expediting to penetrate the composition into the hair, and therefore finishing the hair treatment within a short time. The device is composed of an
elongated support 10 carrying anultrasonic vibration element 20, and anelongated clamp member 30 carrying aseat 40 at a portion opposed to theelement 20. Theclamp member 30 is pivotally coupled at its one lengthwise end to one lengthwise end of thesupport 10 by ahinge 50 so that thesupport 10 is movable between a clamp position of closing theultrasonic vibration element 20 on theseat 40 for clamping the hair strands therebetween and an open position of releasing the hair strands from theelement 20. - The
ultrasonic vibration element 20 is mounted on abase 60 which is made of aluminum and is fixed to thesupport 10 so that thevibration element 20 comes into direct contact with the hair strands clamped between theelement 20 and theseat 40. A plurality ofbristles 70 are arranged on both longitudinal sides of theelement 20 on thesupport 10 and on both longitudinal sides of theseat 40 on theclamp member 30 in order to comb the hair strands while moving the device along the length of the hair strands. - The
ultrasonic vibration element 20 is realized by a vertical effect piezoelectric transducer operating in the thickness mode which is shaped to have arectangular vibration face 22 and is configured to have a plurality ofresonance points 24 arranged in a lattice pattern on thevibration face 22, as shown in FIG. 4. Theelement 20 is connected to receive a drive current and is caused to expand and contract in directions x and y in a plane perpendicular to the thickness (z) of theelement 20. The deformations in x- and y-directions interfere with each other to develop vibrations in the thickness direction (z), while forming a plurality ofresonance points 24 in the lattice pattern where the maximum amplitude is given. Theelement 20 or the piezoelectric transducer is supplied with an electric power and is controlled by acontroller 100 to produce vibrations of 500 kHz to 10 MHz frequency at a power of 0.1 to 5 W/cm2. Therefore, the clamped hairs can receive relatively uniform ultrasonic vibration of maximum amplitude over the entire face of theelement 20 to enhance the penetration of the hair treatment composition into the clamped hairs. - The
seat 40, which is shaped in match with theelement 20, is made of hard material for enhancing the hair shaping effect, and may be alternatively made of soft material for further enhancing the penetration effect of the hair treatment composition. Although the illustrated embodiment shows that theelement 20 and thecomplementary seat 40 are finished to have a flat mating surface for the purpose of straightening the hairs, they may be shaped respectively into curved surfaces for curling the hairs. - FIG. 5 shows another ultrasonic hair treatment device in accordance with a modification of the above embodiment which is identical to the above embodiment except that the
rectangular element 20 or the piezoelectric transducer is disposed to have its lengthwise axis inclined with respect to the longitudinal axis of thesupport 10. Like parts are designated by like reference numerals in the above embodiment. In this modification, theresonance points 24 are arranged in a row correspondingly inclined with respect to the length of the hair strands H such that the hair strands running perpendicular to the length of thesupport 10 are given increased chances of encountering theresonance points 24 while the device D is moved along the length of the hair strands, thereby enjoy the ultrasonic vibration effect over the width of the hair strands. - FIGS. 6 and 7 show a further ultrasonic hair treatment device in accordance with a second embodiment of the present invention which is similar to the first embodiment except that more than one
20 and 20A are arranged in a lateral direction perpendicular to the length of theultrasonic vibration elements support 10 or theclamp member 30. Like parts are designated by like reference numerals. In this embodiment, thesupport 10 carries theelement 20, while theclamp member 30 is also configured to carry an auxiliaryultrasonic element 20A which are staggered with theelement 20 with respect to the lateral direction and are opposed toauxiliary seat 40A and theseat 40 respectively secured to theclamp member 30 and thesupport 10. Also in this embodiment, theelements 20 and theauxiliary element 20A are covered respectively bybase 60 andauxiliary base 60A made of aluminum which transmits the ultrasonic vibrations in the thickness direction from the 20 and 20A to the clamed hair strands as in the previous embodiment.. With this configuration, the ultrasonic vibrations can be applied to the hair strands over a long range at one time, for facilitating to finish the hair treatment within a short time. In this embodiment, theelements 20 and 20A may be arranged to have its lengthwise axis inclined with respect tot the length of the support or the clamp member as in the embodiment of FIG. 5.elements - The
20 and 20A are controlled by aelements controller 100 to become active alternately with each other. For this purpose, thecontroller 100 is configured to control 110 and 110A to give alternating drive pulses P1 and P2, as shown in FIG. 7. The high-output period of the drive pulses is set to be longer or equal to low-output period of the drive pulse.individual drivers - FIGS. 8 to 10 show a third embodiment of the present invention which is similar to the above embodiment except that base 60 backed up with the ultrasonic vibration element is formed on opposite longitudinal ends with
bumps 62 which fit into correspondingrecesses 42 formed in theseat 40 of theclamp member 30 when theclamp member 30 is closed on thesupport 10. The set of thebumps 62 are formed on both lateral sides of thebase 60, as shown in FIG. 8, to confine the hair strands between the lengthwise spacedbumps 62 in order to keep the hair strands H in the range of receiving the ultrasonic vibrations, i.e., avoid the hair strands from shifting away from the ultrasonic vibration element. The bumps and recesses may be formed respectively in the seat and the base. - As shown in FIG. 11, the device of the present invention may be configured to have a stack of the
ultrasonic vibration elements 20 of the above characteristic. Although thestacked elements 20 are secured to the back of the base 60 by means of afastener 64 in the illustrated instance, thestacked elements 20 may be provided on top of thebase 20 for direct contact with the hair strands.
Claims (7)
- An ultrasonic hair treatment device comprising:a support (10) configured to carry an ultrasonic vibration element (20);a clamp member (30) configured to clamp hairs between the clamp member andthe support for applying ultrasonic vibrations from said ultrasonic vibration element to the hairs;wherein said ultrasonic vibration element is configured to have a rectangular vibration face (22) and to have a plurality of resonant points (24) arranged in a lattice pattern on said rectangular vibration face.
- The device as set forth in claim 1, wherein
said ultrasonic vibration element is configured to come into direct contact with the hairs clamped between said clamp member and said support. - The ultrasonic hair treatment device as set forth in claim 1, wherein
said support is elongated to have a longitudinal axis and is pivotally connected at one longitudinal end to said clamp member,
said ultrasonic vibration element is mounted on said support to have its lengthwise axis inclined relative to said longitudinal axis of said support. - The ultrasonic hair treatment device as set forth in claim 1, wherein
said support is elongated to have a longitudinal axis and is configured to carry at least one said ultrasonic vibration element (20);
said clamp member is configured to carry at least one auxiliary vibration element (20A),
said ultrasonic vibration element and said auxiliary vibration element are arranged along a direction crossing with said longitudinal axis. - The ultrasonic hair treatment device as set forth in claim 4, wherein a controller (100) is provided to oscillate said ultrasonic vibration element (20) and said auxiliary ultrasonic vibration element (20A) alternately with each other.
- The ultrasonic hair treatment device as set forth in claim 1, wherein one of said support and said clamp member is configured to have bumps (62) spaced in a lengthwise direction, while the other of said support and said claim member is configured to have recesses (42) which fit with said bumps respectively when said clamp member is closed on said support.
- The ultrasonic hair treatment device as set forth in claim 1, wherein a plurality of said ultrasonic vibration elements are stacked with each other on said support.
Applications Claiming Priority (1)
| Application Number | Priority Date | Filing Date | Title |
|---|---|---|---|
| JP2005161981A JP2006334110A (en) | 2005-06-01 | 2005-06-01 | Ultrasonic hair treating device |
Publications (2)
| Publication Number | Publication Date |
|---|---|
| EP1728450A2 true EP1728450A2 (en) | 2006-12-06 |
| EP1728450A3 EP1728450A3 (en) | 2007-12-26 |
Family
ID=36778205
Family Applications (1)
| Application Number | Title | Priority Date | Filing Date |
|---|---|---|---|
| EP06010710A Withdrawn EP1728450A3 (en) | 2005-06-01 | 2006-05-24 | Ultrasonic hair treatment device |
Country Status (6)
| Country | Link |
|---|---|
| US (1) | US20060272665A1 (en) |
| EP (1) | EP1728450A3 (en) |
| JP (1) | JP2006334110A (en) |
| KR (1) | KR100737373B1 (en) |
| CN (2) | CN200987445Y (en) |
| RU (1) | RU2328956C2 (en) |
Cited By (10)
| Publication number | Priority date | Publication date | Assignee | Title |
|---|---|---|---|---|
| EP2095737A1 (en) | 2008-02-29 | 2009-09-02 | Wella Aktiengesellschaft | A device to treat hair using ultrasound |
| GB2461055A (en) * | 2008-06-18 | 2009-12-23 | Hair Tools Ltd | Vibrating hair tool |
| EP1992245A3 (en) * | 2007-05-14 | 2010-04-14 | Ying Chung Huang | Hair Dyeing and Treatment Tongs |
| GB2468176A (en) * | 2009-02-25 | 2010-09-01 | Alpha Brain World Co Ltd | Hair treatment apparatus with ion generator and ultrasonic generator |
| RU2462165C2 (en) * | 2008-06-09 | 2012-09-27 | Кикубоси Корпорейшн | Device for styling hair |
| EP2183992A4 (en) * | 2007-08-29 | 2013-05-01 | Kikuboshi Corp | Device and method for styling hair |
| WO2017017236A1 (en) * | 2015-07-29 | 2017-02-02 | Koninklijke Philips N.V. | Ultrasonic hair styling |
| WO2017080891A1 (en) * | 2015-11-13 | 2017-05-18 | Koninklijke Philips N.V. | Hair care device and method for enhancing uptake of a topical in hair |
| WO2017140757A1 (en) * | 2016-02-17 | 2017-08-24 | Koninklijke Philips N.V. | Ultrasound hair drying and styling |
| FR3119739A1 (en) * | 2021-02-18 | 2022-08-19 | L'oreal | Device with counter-form for ultrasonic hair cleaning |
Families Citing this family (15)
| Publication number | Priority date | Publication date | Assignee | Title |
|---|---|---|---|---|
| JP4839800B2 (en) * | 2005-11-25 | 2011-12-21 | パナソニック電工株式会社 | Ultrasonic hair set |
| WO2007140460A2 (en) * | 2006-05-31 | 2007-12-06 | Living Proof, Inc. | Ultrasound hair treatment |
| KR100813105B1 (en) * | 2007-03-22 | 2008-03-17 | 이만택 | Tongs for hair treatment |
| CN201123496Y (en) * | 2007-12-07 | 2008-10-01 | 建福实业有限公司 | Hair straightener with clip structure |
| US8033286B2 (en) * | 2008-03-03 | 2011-10-11 | Jproducts, Inc. | Hair treatment device |
| JP4944839B2 (en) * | 2008-06-09 | 2012-06-06 | パナソニック株式会社 | Hair set equipment |
| US20110108053A1 (en) * | 2009-10-06 | 2011-05-12 | Goody Products, Inc. | Ultrasonic Hairstyling Device |
| US20110209721A1 (en) * | 2009-11-25 | 2011-09-01 | Goody Products, Inc. | Ultrasonic Hair Dryer |
| KR101525094B1 (en) * | 2013-08-29 | 2015-06-02 | (주)럭스콤 | Apparatus and mehtod for hair treatent by far infrared ray heater |
| EP3216368A1 (en) * | 2016-03-09 | 2017-09-13 | Koninklijke Philips N.V. | Hair styling |
| US20180125193A1 (en) * | 2016-11-08 | 2018-05-10 | Mipsa Llc | Chalk applicator |
| EP3338590A1 (en) * | 2016-12-23 | 2018-06-27 | BaByliss Faco sprl | Hair-styling device |
| CN107467853A (en) * | 2017-09-25 | 2017-12-15 | 深圳市奋达科技股份有限公司 | A kind of sound wave heater of hair straightener |
| CN109198839A (en) * | 2018-09-25 | 2019-01-15 | 覃小鹏 | A kind of acoustic wave vibrations multifunctional hair cleaning instrument |
| CN109527759A (en) * | 2019-01-17 | 2019-03-29 | 覃小鹏 | A kind of electronic hair washing instrument |
Citations (2)
| Publication number | Priority date | Publication date | Assignee | Title |
|---|---|---|---|---|
| US5875789A (en) | 1995-05-12 | 1999-03-02 | Eroica Corporation | Ultra-sonic perming device and method |
| JP2001037526A (en) | 1999-08-03 | 2001-02-13 | Honda Electronic Co Ltd | Ultrasonic permanent device |
Family Cites Families (7)
| Publication number | Priority date | Publication date | Assignee | Title |
|---|---|---|---|---|
| US4023579A (en) * | 1976-05-17 | 1977-05-17 | Xygiene, Inc. | Ultrasonic treatment of hair |
| JPH09308518A (en) * | 1996-05-24 | 1997-12-02 | Matsushita Electric Works Ltd | Hair treatment and hair treater |
| WO1999000034A1 (en) * | 1997-06-30 | 1999-01-07 | Matsushita Electric Works. Ltd. | Ultrasonic hair curling device |
| SE512684C2 (en) * | 1998-07-09 | 2000-05-02 | Volumaster Ab | Apparatus for hair and a hair clipper with such a device |
| US6526988B2 (en) * | 1999-06-29 | 2003-03-04 | Kikuboshi Corporation | Method for treating hair shape and treating device thereof |
| JP3772601B2 (en) * | 1999-08-31 | 2006-05-10 | 松下電工株式会社 | Ultrasonic generator |
| KR20030005920A (en) * | 2001-07-10 | 2003-01-23 | 정승기 | Electric hair tools |
-
2005
- 2005-06-01 JP JP2005161981A patent/JP2006334110A/en not_active Withdrawn
-
2006
- 2006-05-24 EP EP06010710A patent/EP1728450A3/en not_active Withdrawn
- 2006-05-26 US US11/441,182 patent/US20060272665A1/en not_active Abandoned
- 2006-05-31 RU RU2006118927/12A patent/RU2328956C2/en not_active IP Right Cessation
- 2006-05-31 CN CNU2006201164476U patent/CN200987445Y/en not_active Expired - Lifetime
- 2006-05-31 CN CNB2006100876923A patent/CN100571568C/en not_active Expired - Fee Related
- 2006-06-01 KR KR1020060049439A patent/KR100737373B1/en not_active Expired - Fee Related
Patent Citations (2)
| Publication number | Priority date | Publication date | Assignee | Title |
|---|---|---|---|---|
| US5875789A (en) | 1995-05-12 | 1999-03-02 | Eroica Corporation | Ultra-sonic perming device and method |
| JP2001037526A (en) | 1999-08-03 | 2001-02-13 | Honda Electronic Co Ltd | Ultrasonic permanent device |
Cited By (15)
| Publication number | Priority date | Publication date | Assignee | Title |
|---|---|---|---|---|
| EP1992245A3 (en) * | 2007-05-14 | 2010-04-14 | Ying Chung Huang | Hair Dyeing and Treatment Tongs |
| EP2183992A4 (en) * | 2007-08-29 | 2013-05-01 | Kikuboshi Corp | Device and method for styling hair |
| WO2009107034A1 (en) * | 2008-02-29 | 2009-09-03 | The Procter & Gamble Company | A device to treat hair using ultrasound |
| EP2095737A1 (en) | 2008-02-29 | 2009-09-02 | Wella Aktiengesellschaft | A device to treat hair using ultrasound |
| RU2462165C2 (en) * | 2008-06-09 | 2012-09-27 | Кикубоси Корпорейшн | Device for styling hair |
| GB2461055A (en) * | 2008-06-18 | 2009-12-23 | Hair Tools Ltd | Vibrating hair tool |
| GB2468176A (en) * | 2009-02-25 | 2010-09-01 | Alpha Brain World Co Ltd | Hair treatment apparatus with ion generator and ultrasonic generator |
| EP3328235B1 (en) | 2015-07-29 | 2020-11-25 | Koninklijke Philips N.V. | Ultrasonic hair styling |
| WO2017017236A1 (en) * | 2015-07-29 | 2017-02-02 | Koninklijke Philips N.V. | Ultrasonic hair styling |
| WO2017080891A1 (en) * | 2015-11-13 | 2017-05-18 | Koninklijke Philips N.V. | Hair care device and method for enhancing uptake of a topical in hair |
| RU2657167C1 (en) * | 2015-11-13 | 2018-06-08 | Конинклейке Филипс Н.В. | Device for hair care and method for increasing hair care product absorbition for local use |
| WO2017140757A1 (en) * | 2016-02-17 | 2017-08-24 | Koninklijke Philips N.V. | Ultrasound hair drying and styling |
| FR3119739A1 (en) * | 2021-02-18 | 2022-08-19 | L'oreal | Device with counter-form for ultrasonic hair cleaning |
| WO2022175018A1 (en) * | 2021-02-18 | 2022-08-25 | L'oreal | Device with counter-form for cleansing the hair by ultrasound |
| KR20230146626A (en) * | 2021-02-18 | 2023-10-19 | 로레알 | Device with counter-form for ultrasonic cleaning of hair |
Also Published As
| Publication number | Publication date |
|---|---|
| CN100571568C (en) | 2009-12-23 |
| CN1871971A (en) | 2006-12-06 |
| US20060272665A1 (en) | 2006-12-07 |
| JP2006334110A (en) | 2006-12-14 |
| RU2006118927A (en) | 2007-12-20 |
| CN200987445Y (en) | 2007-12-12 |
| KR100737373B1 (en) | 2007-07-09 |
| EP1728450A3 (en) | 2007-12-26 |
| RU2328956C2 (en) | 2008-07-20 |
| KR20060125589A (en) | 2006-12-06 |
Similar Documents
| Publication | Publication Date | Title |
|---|---|---|
| EP1728450A2 (en) | Ultrasonic hair treatment device | |
| RU2321322C1 (en) | Hair dressing iron | |
| CN102056504A (en) | Hair style treatment device | |
| KR100688304B1 (en) | Shaving heads for dry shavers | |
| JP4501828B2 (en) | Ultrasonic hair treatment equipment | |
| KR20100081979A (en) | Device and method for styling hair | |
| JP4665716B2 (en) | Ultrasonic vibrator for hair styling | |
| JP4944839B2 (en) | Hair set equipment | |
| JP2001037526A (en) | Ultrasonic permanent device | |
| JPH0223070A (en) | Linear type ultrasonic motor | |
| JP4561563B2 (en) | Ultrasonic hair set | |
| JPH0564465A (en) | Ultrasonic transducer | |
| JPH1146488A5 (en) | ||
| JP4561564B2 (en) | Ultrasonic hair set | |
| CN107847026B (en) | Ultrasonic Hair Styling | |
| JP2000254366A (en) | Vibrating razor | |
| JP2010084290A (en) | Hair extension-joining implement | |
| JP2000254365A (en) | Vibrating razor | |
| JP2001340669A (en) | Vibrating razor | |
| HK1122766A (en) | Ultrasonic vibration device for hairstyling and hair styling apparatus having the same |
Legal Events
| Date | Code | Title | Description |
|---|---|---|---|
| PUAI | Public reference made under article 153(3) epc to a published international application that has entered the european phase |
Free format text: ORIGINAL CODE: 0009012 |
|
| AK | Designated contracting states |
Kind code of ref document: A2 Designated state(s): AT BE BG CH CY CZ DE DK EE ES FI FR GB GR HU IE IS IT LI LT LU LV MC NL PL PT RO SE SI SK TR |
|
| AX | Request for extension of the european patent |
Extension state: AL BA HR MK YU |
|
| PUAL | Search report despatched |
Free format text: ORIGINAL CODE: 0009013 |
|
| AK | Designated contracting states |
Kind code of ref document: A3 Designated state(s): AT BE BG CH CY CZ DE DK EE ES FI FR GB GR HU IE IS IT LI LT LU LV MC NL PL PT RO SE SI SK TR |
|
| AX | Request for extension of the european patent |
Extension state: AL BA HR MK YU |
|
| 17P | Request for examination filed |
Effective date: 20080625 |
|
| AKX | Designation fees paid |
Designated state(s): AT BE BG CH CY CZ DE DK EE ES FI FR GB GR HU IE IS IT LI LT LU LV MC NL PL PT RO SE SI SK TR |
|
| RAP1 | Party data changed (applicant data changed or rights of an application transferred) |
Owner name: PANASONIC ELECTRIC WORKS CO., LTD. |
|
| GRAP | Despatch of communication of intention to grant a patent |
Free format text: ORIGINAL CODE: EPIDOSNIGR1 |
|
| STAA | Information on the status of an ep patent application or granted ep patent |
Free format text: STATUS: THE APPLICATION IS DEEMED TO BE WITHDRAWN |
|
| 18D | Application deemed to be withdrawn |
Effective date: 20110823 |