EP1642017B1 - Kolben für einen verbrennungsmotor - Google Patents
Kolben für einen verbrennungsmotor Download PDFInfo
- Publication number
- EP1642017B1 EP1642017B1 EP04738618A EP04738618A EP1642017B1 EP 1642017 B1 EP1642017 B1 EP 1642017B1 EP 04738618 A EP04738618 A EP 04738618A EP 04738618 A EP04738618 A EP 04738618A EP 1642017 B1 EP1642017 B1 EP 1642017B1
- Authority
- EP
- European Patent Office
- Prior art keywords
- piston
- annular element
- piston base
- projection
- annular
- Prior art date
- Legal status (The legal status is an assumption and is not a legal conclusion. Google has not performed a legal analysis and makes no representation as to the accuracy of the status listed.)
- Expired - Lifetime
Links
- 238000002485 combustion reaction Methods 0.000 title claims abstract description 10
- 238000001816 cooling Methods 0.000 claims abstract description 12
- 229910000831 Steel Inorganic materials 0.000 claims description 2
- 239000010959 steel Substances 0.000 claims description 2
- 230000002093 peripheral effect Effects 0.000 claims 2
- 238000004519 manufacturing process Methods 0.000 description 3
- 239000000919 ceramic Substances 0.000 description 1
- 239000000110 cooling liquid Substances 0.000 description 1
- 230000001419 dependent effect Effects 0.000 description 1
- 238000010304 firing Methods 0.000 description 1
- 239000000565 sealant Substances 0.000 description 1
- 238000007789 sealing Methods 0.000 description 1
Images
Classifications
-
- F—MECHANICAL ENGINEERING; LIGHTING; HEATING; WEAPONS; BLASTING
- F02—COMBUSTION ENGINES; HOT-GAS OR COMBUSTION-PRODUCT ENGINE PLANTS
- F02F—CYLINDERS, PISTONS OR CASINGS, FOR COMBUSTION ENGINES; ARRANGEMENTS OF SEALINGS IN COMBUSTION ENGINES
- F02F3/00—Pistons
- F02F3/0015—Multi-part pistons
- F02F3/0023—Multi-part pistons the parts being bolted or screwed together
-
- F—MECHANICAL ENGINEERING; LIGHTING; HEATING; WEAPONS; BLASTING
- F02—COMBUSTION ENGINES; HOT-GAS OR COMBUSTION-PRODUCT ENGINE PLANTS
- F02F—CYLINDERS, PISTONS OR CASINGS, FOR COMBUSTION ENGINES; ARRANGEMENTS OF SEALINGS IN COMBUSTION ENGINES
- F02F3/00—Pistons
- F02F3/16—Pistons having cooling means
- F02F3/20—Pistons having cooling means the means being a fluid flowing through or along piston
- F02F3/22—Pistons having cooling means the means being a fluid flowing through or along piston the fluid being liquid
-
- F—MECHANICAL ENGINEERING; LIGHTING; HEATING; WEAPONS; BLASTING
- F02—COMBUSTION ENGINES; HOT-GAS OR COMBUSTION-PRODUCT ENGINE PLANTS
- F02F—CYLINDERS, PISTONS OR CASINGS, FOR COMBUSTION ENGINES; ARRANGEMENTS OF SEALINGS IN COMBUSTION ENGINES
- F02F3/00—Pistons
-
- F—MECHANICAL ENGINEERING; LIGHTING; HEATING; WEAPONS; BLASTING
- F02—COMBUSTION ENGINES; HOT-GAS OR COMBUSTION-PRODUCT ENGINE PLANTS
- F02F—CYLINDERS, PISTONS OR CASINGS, FOR COMBUSTION ENGINES; ARRANGEMENTS OF SEALINGS IN COMBUSTION ENGINES
- F02F3/00—Pistons
- F02F2003/0007—Monolithic pistons; One piece constructions; Casting of pistons
Definitions
- the invention relates to a piston for an internal combustion engine according to the preamble of claim 1.
- a piston for an internal combustion engine which consists of a piston body with pin bosses and with a box-shaped shaft.
- an annular member is welded, in the outside of which a part of the ring part is incorporated, and the upper part is designed as a firing bar.
- the component forms, together with the piston bottom side part of the piston main body an annular cooling channel, which is closed by a molded to the piston body, circumferential wall to the hub side.
- the annular member is welded via each of its two end faces with the piston body, which makes the production of the piston known from the prior art very time consuming and labor-intensive.
- the invention is based on the problem to simplify the manufacturing process of a piston equipped with a cooling channel to accelerate and thus cheaper.
- An expedient embodiment of the invention is the subject of the dependent claim. This results in a quick and easy to produce screw between a piston body and a ring member, which receives high strength by the mechanical stress under which an elastically formed projection sets the ring member.
- Fig. 1 shows a piston 1 for an internal combustion engine in a sectional view, which consists of two halves, of which the left half represents a section of the piston 1 along a longitudinal axis 2 of a hub bore 3 and the right half offset by 90 ° thereto longitudinal section of the piston 1.
- the piston 1 consists of a piston body 4, with a piston element on the bottom side 5, a ring member 6 is screwed, which carries a top land 7 and a ring portion 8 of the piston 1.
- the piston body 4 and the ring member 6 are made of steel.
- the piston main body 4 is formed in one piece and has a combustion bowl 10 in the region of the piston head 9.
- a respective hub support 11, 11 ' two pin bosses 12, 12' each having a hub bore 3, 3 'are integrally formed on the piston head 9, whose end faces 16 are set back relative to the ring member 6 in the direction of the piston longitudinal axis 17.
- the pin bosses 12, 12 ' are connected to each other via shaft elements 13, 13'.
- a carrier of the ring member 6 and a piston body 4 may be used, in which the end faces 16 of the pin bosses 12, 12 'are arranged not reset relative to the ring section 8.
- the recess 18 over the entire circumference of the piston partly between the Shaft members 13, 13 'and the ring member 6 and partly between the pin bosses 12, 12' and the ring member 6 circumferentially arranged.
- the piston body 4 forms in the region of the piston head 9 together with the ring member 6 an annular cooling channel 14, which is partly incorporated in the piston body 4 and partly in the ring member 6.
- the cooling channel 14 is covered by a projection 15 of the piston body 4, which is formed like a plate spring and is arranged starting from the piston body 4 in the direction of the piston head 9 inclined. It can be seen in Fig. 1 also a drain opening 20 of the cooling channel 14th
- Fig. 2 makes a section across the piston 1 along the line AA in Fig. 1 in which the pin bosses 12, 12 'facing side of the piston head 9 can be seen in a bottom view.
- Fig. 2 shows an inlet opening 19 and the discharge opening 20 of the not recognizable in the selected form of representation cooling channel 14 for cooling the piston 1 provided cooling liquid. Hatched are the shaft elements 13, 13 'and the associated pin bosses 12, 12' shown. To recognize are in Fig. 2
- the projection 15, which is visible in the region of the recessed end faces 16 of the pin bosses 12, 12 'in a bottom view, and the lower end face 21 of the ring element. 6
- the thread 5 can be provided with a ceramic sealant for the purpose of improved sealing of the screw first, before the ring member 6 is screwed via the thread 5 on the prefabricated piston body 4.
- the lower end face 21 of the ring member 6 comes into contact with the surface 25 of the projection 15, which in the present embodiment is flat, ie, plateau-like, but may also be roof, or dish-shaped or may have a spherical shape.
- the projection 15 is formed so thin-walled that it elastically yields when screwing the ring member 6 when it exerts a pressure on the projection 15. After screwing the ring element 6, the projection 15 thus sets the ring element 6 under mechanical stress, which improves the strength the screw connection between the ring element 6 and the bottom region of the piston main body 4 contributes.
- the lower end face 21 of the ring element 6 is provided with a recess 24 which has on its inside a radially oriented surface 22 and subsequently on its outside an axially aligned surface 23.
- the axially lying surface 23 is screwed into the lower end face 21 of the ring member 6 in the radial direction so far that, as in Fig.
- a radial clearance 27 results when screwing the ring member 6 on the piston 1, the radially oriented surface 22 of the lower end face 21 of Ring element 6 comes into first contact with the surface 25 of the projection 15.
- the radial width of this radial clearance is in this case between 0 .mu.m and 300 .mu.m.
- the elastic compliance of the projection 15 results in further screwing the ring member 6 to the fact that the upper portion of the projection 15 moves in the direction of arrow 28 until the outer boundary surface 26 of the projection 15 to the axially aligned surface 23 of the recess 24 in Stop comes. This contributes to an improvement in the strength of the screw connection and the rigidity of the upper piston area.
Landscapes
- Engineering & Computer Science (AREA)
- Chemical & Material Sciences (AREA)
- Combustion & Propulsion (AREA)
- Mechanical Engineering (AREA)
- General Engineering & Computer Science (AREA)
- Physics & Mathematics (AREA)
- Fluid Mechanics (AREA)
- Pistons, Piston Rings, And Cylinders (AREA)
Abstract
Description
- Die Erfindung betrifft einen Kolben für einen Verbrennungsmotor nach dem Oberbegriff des Anspruches 1.
- Aus der Offenlegungsschrift
DE 198 46 152 A1 ist ein Kolben für einen Verbrennungsmotor bekannt, der aus einem Kolbengrundkörper mit Bolzennaben und mit einem kastenförmigen Schaft besteht. An den Bodenbereich des Kolbengrundkörpers ist ein ringförmiges Bauteil angeschweißt, in dessen Außenseite ein Teil der Ringpartie eingearbeitet ist, und dessen Oberteil als Feuersteg ausgebildet ist. Das Bauteil bildet gemeinsam mit dem kolbenbodenseitigen Teil des Kolbengrundkörpers einen ringförmigen Kühlkanal, der von einer an den Kolbengrundkörper angeformten, umlaufenden Wand zur Nabenseite hin verschlossen wird. Hierbei wird das ringförmige Bauteil über jede seiner beiden Stirnseiten mit den Kolbengrundkörper verschweißt, was die Herstellung des aus dem Stand der Technik bekannten Kolbens sehr zeit- und arbeitsaufwendig gestaltet. - Hiervon ausgehend liegt der Erfindung das Problem zugrunde, den Herstellungsprozess eines mit einem Kühlkanal ausgestatteten Kolbens zu vereinfachen, zu beschleunigen und damit zu verbilligen.
- Gelöst wird das Problem mit den im Kennzeichen des Hauptanspruches stehenden Merkmalen. Eine zweckmäßige Ausgestaltung der Erfindung ist Gegenstand des Unteranspruches. Hierbei ergibt sich eine schnell und einfach herstellbare Schraubverbindung zwischen einem Kolbengrundkörper und einem Ringelement, die durch die mechanische Spannung, unter die ein elastisch ausgebildeter Vorsprung das Ringelement setzt, große Festigkeit erhält.
- Ein Ausführungsbeispiel der Erfindung wird im Folgenden anhand der Zeichnungen beschrieben. Es zeigen
- Fig. 1
- ein Schnittbild eines Kolbens für einen Verbrennungsmotor bestehend aus zwei Hälften, die zwei um 90° versetzte Längsschnitte des Kolbens dar- stellen,
- Fig. 2
- einen Querschnitt des Kolbens entlang der Linie A-A in
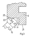
Fig. 1 und - Fig. 3
- eine Ausgestaltung der unteren Stirnfläche eines mit dem Kolbengrund- körper verschraubten Ringelementes.
-
Fig. 1 zeigt einen Kolben 1 für einen Verbrennungsmotor in einem Schnittbild, das aus zwei Hälften besteht, von denen die linke Hälfte einen Schnitt des Kolbens 1 entlang einer Längsachse 2 einer Nabenbohrung 3 und die rechte Hälfte einen um 90° dazu versetzten Längsschnitt des Kolbens 1 darstellt. Der Kolben 1 besteht aus einem Kolbengrundkörper 4, mit dem über ein kolbenbodenseitiges Gewinde 5 ein Ringelement 6 verschraubt ist, das einen Feuersteg 7 und eine Ringpartie 8 des Kolbens 1 trägt. Der Kolbengrundkörper 4 und das Ringelement 6 sind aus Stahl hergestellt. - Der Kolbengrundkörper 4 ist einstückig ausgebildet und weist im Bereich des Kolbenbodens 9 eine Verbrennungsmulde 10 auf. Über je eine Nabenabstützung 11, 11' sind an den Kolbenboden 9 zwei Bolzennaben 12, 12' mit je einer Nabenbohrung 3, 3' angeformt, deren Stirnflächen 16 gegenüber dem Ringelement 6 in Richtung Kolbenlängsachse 17 zurückgesetzt angeordnet sind. Die Bolzennaben 12, 12' sind über Schaftelemente 13, 13' miteinander verbunden. Zwischen den Schaftelementen 13, 13' und dem das Ringelement 6 tragenden, oberen Bereich des Kolbens 1 weist der Kolbengrundkörper 4 Ausnehmungen 18 auf, die im vorliegenden Ausführungsbeispiel im Bereich der Schaftelemente 13, 13' des Kolbengrundkörpers 4 teilweise umlaufend angeordnet sind. Als Träger des Ringelementes 6 kann auch ein Kolbengrundkörper 4 verwendet werden, bei dem die Stirnflächen 16 der Bolzennaben 12, 12' gegenüber der Ringpartie 8 nicht zurückgesetzt angeordnet sind. Hierbei ist die Ausnehmung 18 über den gesamten Umfang des Kolbens teils zwischen den Schaftelementen 13, 13' und dem Ringelement 6 und teils zwischen den Bolzennaben 12, 12' und dem Ringelement 6 umlaufend angeordnet.
- Der Kolbengrundkörper 4 bildet im Bereich des Kolbenbodens 9 gemeinsam mit dem Ringelement 6 einen ringförmigen Kühlkanal 14, der teils in den Kolbengrundkörper 4 und teils in das Ringelement 6 eingearbeitet ist. In Richtung Bolzennabe 12 wird der Kühlkanal 14 von einem Vorsprung 15 des Kolbengrundkörpers 4 abgedeckt, der tellerfederartig ausgebildet ist und ausgehend vom Kolbengrundkörper 4 in Richtung Kolbenboden 9 geneigt angeordnet ist. Zu erkennen ist in
Fig. 1 auch eine Ablauföffnung 20 des Kühlkanals 14. -
Fig. 2 stellt einen Schnitt quer durch den Kolben 1 entlang der Linie A-A inFig. 1 dar, in dem die den Bolzennaben 12, 12' zugewandte Seite des Kolbenbodens 9 in Unteransicht zu sehen ist.Fig. 2 zeigt eine Zulauföffnung 19 und die Ablauföffnung 20 des bei der gewählten Darstellungsform nicht erkennbaren Kühlkanals 14 für zum Kühlen des Kolbens 1 vorgesehene Kühlflüssigkeit. Schraffiert sind die Schaftelementen 13, 13' und die damit verbundenen Bolzennaben 12, 12' dargestellt. Zu erkennen sind inFig. 2 zudem der Vorsprung 15, der im Bereich der zurückgesetzten Stirnflächen 16 der Bolzennaben 12, 12' in Unteransicht sichtbar ist, und die untere Stirnfläche 21 des Ringelementes 6. - Bei der Herstellung des Kolbens 1 kann zum Zweck der verbesserten Abdichtung der Schraubverbindung zunächst das Gewinde 5 mit einem keramischen Dichtstoff versehen werden, bevor das Ringelement 6 über das Gewinde 5 auf den vorgefertigten Kolbengrundkörper 4 geschraubt wird. Hierbei kommt die untere Stirnfläche 21 des Ringelementes 6 in Kontakt mit der Oberfläche 25 des Vorsprunges 15, die im vorliegenden Ausführungsbeispiel eben, d.h., plateauartig ausgebildet ist, die aber auch dach-, bzw. tellerförmig ausgebildet sein kann oder eine ballige Form haben kann. Der Vorsprung 15 ist so dünnwandig ausgebildet, dass er beim Aufschrauben des Ringelementes 6 elastisch nachgibt, wenn dieses einen Druck auf den Vorsprung 15 ausübt. Nach dem Aufschrauben des Ringelementes 6 setzt der Vorsprung 15 das Ringelement 6 somit unter mechanische Spannung, die zur Verbesserung der Festigkeit der Schraubverbindung zwischen dem Ringelement 6 und dem bodenseitigen Bereich des Kolbengrundkörpers 4 beiträgt.
- In einer vorteilhaften Ausgestaltung der Erfindung ist gemäß
Fig. 3 die untere Stirnfläche 21 des Ringelementes 6 mit einer Ausnehmung 24 versehen, die auf ihrer Innenseite eine radial ausgerichtete Fläche 22 und daran anschließend auf ihrer Außenseite eine axial ausgerichtete Fläche 23 aufweist. Hierbei ist die axial liegende Fläche 23 in die untere Stirnfläche 21 des Ringelementes 6 in radialer Richtung soweit eingedreht, dass sich, wie inFig. 3 dargestellt ist, zwischen einer axial ausgerichteten, äußeren, oberen Begrenzungsfläche 26 des Vorsprunges 15 und der axial ausgerichteten Fläche 23 der Ausnehmung 24 ein Radialspiel 27 ergibt, wenn beim Aufschrauben des Ringelementes 6 auf den Kolben 1 die radial ausgerichtete Fläche 22 der unteren Stirnfläche 21 des Ringelementes 6 in ersten Kontakt mit der Oberfläche 25 des Vorsprunges 15 kommt. Die radiale Weite dieses Radialspieles beträgt hierbei zwischen 0 µm und 300 µm. - Die elastische Nachgiebigkeit des Vorsprunges 15 führt bei weitergehendem Aufschrauben des Ringelementes 6 dazu, dass sich der obere Bereich des Vorsprunges 15 so lange in Richtung des Pfeiles 28 bewegt, bis die äußere Begrenzungsfläche 26 des Vorsprunges 15 an die axial ausgerichtete Fläche 23 der Ausnehmung 24 in Anschlag kommt. Dies trägt zu einer Verbesserung der Festigkeit der Schraubverbindung und der Steifigkeit des oberen Kolbenbereiches bei.
-
- 1
- Kolben
- 2
- Längsachse der Nabenbohrungen
- 3
- Nabenbohrung
- 4
- Kolbengrundkörper
- 5
- Gewinde
- 6
- Ringelement
- 7
- Feuersteg
- 8
- Ringpartie
- 9
- Kolbenboden
- 10
- Verbrennungsmulde
- 11, 11'
- Nabenabstützungen
- 12, 12'
- Bolzennaben
- 13, 13'
- Schaftelement
- 14
- Kühlkanal
- 15
- Vorsprung
- 16
- Stirnfläche
- 17
- Kolbenlängsachse
- 18
- Ausnehmung
- 19
- Zulauföffnung
- 20
- Ablauföffnung
- 21
- untere Stirnfläche des Ringelementes 6
- 22
- radial ausgerichtete Fläche der Ausnehmung 24
- 23
- axial ausgerichtete Fläche der Ausnehmung 24
- 24
- Ausnehmung
- 25
- Oberfläche des Vorsprunges 15
- 26
- äußere, obere Begrenzungsfläche des Vorsprunges 15
- 27
- Radialspiel
- 28
- Pfeil
Claims (2)
- Kolben (1) für einen Verbrennungsmotor- mit einem Kolbengrundkörper (4) aus geschmiedetem Stahl, der zwei über je eine Nabenabstützung (11, 11') mit dem Kolbenboden (9) verbundene Bolzennaben (12, 12') aufweist, die über zwei am Kolbenboden (9) angeformte Schaftelemente (13, 13') miteinander verbunden sind, und- mit einem Ringelement (6), das den radial außen liegenden Teil des Kolbenbodens (9), den Feuersteg (7), zumindest einen Teil der Ringpartie (8) und mit dem Kolbengrundkörper (4) einen ringförmigen Kühlkanal (14) bildet,
wobei die außen liegenden Stirnflächen (16) der Bolzennaben (12, 12') gegenüber der Mantelfläche des Kolbenzylinders insoweit zurückgesetzt sind und zwischen den Schaftelementen (13, 13') und dem das Ringelement (6) tragenden, oberen Bereich des Kolbens (1) Ausnehmungen (18) derart eingeformt sind, dass sich ein umlaufender Vorsprung (15) ergibt, der gemeinsam mit dem Ringelement (6) eine radial äußere und axial untere Begrenzung des Kühlkanals (14) bildet,
dadurch gekennzeichnet,- dass das Ringelement (6) mit dem Kolbengrundkörper (4) verschraubt ist, und- dass der Vorsprung (15) in Form eines elastisch nachgiebigen Tragrings, bzw. einer Tellerfeder ausgebildet ist, die beim Aufschrauben des Ringelementes (6) verformbar ist. - Kolben (1) für einen Verbrennungsmotor nach Anspruch 1, dadurch gekennzeichnet, dass die den Bolzennaben (12, 12') zugewandte Stirnfläche (21) des Ringelementes (6) eine nach innen gerichtete Ausnehmung (24) mit einer inneren, radial ausgerichteten Fläche (22) und einer sich daran anschließenden, axial in Richtung der Bolzennaben (12, 12') ausgerichteten Fläche (23) aufweist, und dass dem Kolbenboden (9) zugewandte Begrenzungsflächen (25, 26) des Vorsprunges (15) nach dem Aufschrauben des Ringelementes (6) an den Flächen (22, 23) der Ausnehmung (24) anliegen.
Applications Claiming Priority (2)
| Application Number | Priority Date | Filing Date | Title |
|---|---|---|---|
| DE10325914A DE10325914B4 (de) | 2003-06-07 | 2003-06-07 | Kolben für einen Verbrennungsmotor |
| PCT/DE2004/001164 WO2004111420A1 (de) | 2003-06-07 | 2004-06-07 | Kolben für einen verbrennungsmotor |
Publications (2)
| Publication Number | Publication Date |
|---|---|
| EP1642017A1 EP1642017A1 (de) | 2006-04-05 |
| EP1642017B1 true EP1642017B1 (de) | 2011-05-11 |
Family
ID=33482690
Family Applications (1)
| Application Number | Title | Priority Date | Filing Date |
|---|---|---|---|
| EP04738618A Expired - Lifetime EP1642017B1 (de) | 2003-06-07 | 2004-06-07 | Kolben für einen verbrennungsmotor |
Country Status (8)
| Country | Link |
|---|---|
| US (1) | US6938537B2 (de) |
| EP (1) | EP1642017B1 (de) |
| JP (1) | JP4365409B2 (de) |
| KR (1) | KR101142238B1 (de) |
| CN (1) | CN100412345C (de) |
| BR (1) | BRPI0411090B1 (de) |
| DE (1) | DE10325914B4 (de) |
| WO (1) | WO2004111420A1 (de) |
Families Citing this family (14)
| Publication number | Priority date | Publication date | Assignee | Title |
|---|---|---|---|---|
| DE10340292A1 (de) * | 2003-09-02 | 2005-04-14 | Mahle Gmbh | Kolben für einen Verbrennungsmotor |
| DE102005044597A1 (de) * | 2005-09-17 | 2007-03-29 | Mahle International Gmbh | Kolben für einen Verbrennungsmotor |
| US20070295299A1 (en) * | 2006-06-12 | 2007-12-27 | Mahle Technology, Inc. | Piston for a combustion engine |
| US20070283917A1 (en) * | 2006-06-12 | 2007-12-13 | Lapp Michael T | Piston for a combustion engine |
| DE102007027162A1 (de) | 2007-06-13 | 2008-12-18 | Mahle International Gmbh | Zweiteiliger Kolben für einen Verbrennungsmotor |
| DE102007036236A1 (de) * | 2007-08-02 | 2009-02-05 | Mahle International Gmbh | Gebauter Kolben |
| DE102008038325A1 (de) | 2007-12-20 | 2009-06-25 | Mahle International Gmbh | Verfahren zum Befestigen eines Ringelementes auf einem Kolben für einen Verbrennungsmotor |
| DE102008045456A1 (de) * | 2008-09-02 | 2010-03-04 | Mahle International Gmbh | Kolben für einen Verbrennungsmotor |
| JP5365700B2 (ja) * | 2009-11-25 | 2013-12-11 | トヨタ自動車株式会社 | 内燃機関用ピストン及び内燃機関 |
| US8776670B2 (en) * | 2010-02-17 | 2014-07-15 | Mahle International Gmbh | Piston assembly |
| BR112015005723A2 (pt) * | 2012-09-27 | 2017-07-04 | Ks Kolbenschmidt Gmbh | pistão construído em duas peças de uma máquina de combustão interna |
| DE102014000253A1 (de) * | 2014-01-08 | 2015-07-09 | Mahle International Gmbh | Kolben für einen Verbrennungsmotor und Verfahren zu seiner Herstellung |
| WO2017191189A1 (de) | 2016-05-04 | 2017-11-09 | Ks Kolbenschmidt Gmbh | Kolben |
| CN115492694A (zh) * | 2022-09-14 | 2022-12-20 | 重庆潍柴发动机有限公司 | 振荡冷却活塞 |
Family Cites Families (25)
| Publication number | Priority date | Publication date | Assignee | Title |
|---|---|---|---|---|
| DE278074C (de) * | ||||
| GB186060A (en) * | 1921-09-17 | 1923-02-22 | Christian Bergh Backer | Improvements in or relating to pistons |
| US1723823A (en) * | 1926-03-15 | 1929-08-06 | Perfect Circle Co | Piston |
| DE589409C (de) * | 1930-11-02 | 1933-12-14 | Elektronmetall G M B H | Kolben fuer Brennkraftmaschinen |
| US2244008A (en) * | 1939-06-16 | 1941-06-03 | Gen Motors Corp | Piston construction |
| US2772933A (en) * | 1955-06-22 | 1956-12-04 | Alco Products Inc | Pistons |
| DE1049174B (de) * | 1956-10-25 | 1959-01-22 | Mahle Kg | OElgekuehlter Kolben, insbesondere fuer Brennkraftmaschinen |
| US3190273A (en) * | 1964-01-03 | 1965-06-22 | Continental Aviat & Eng Corp | Piston for internal combustion engine |
| DE1245640B (de) * | 1964-11-25 | 1967-07-27 | Mahle Kg | Kolben fuer Brennkraftmaschinen |
| DK112141B (da) * | 1966-07-12 | 1968-11-11 | Burmeister & Wains Mot Mask | Stempel, navnlig til forbrændingsmotorer. |
| DE2140824C2 (de) * | 1971-08-14 | 1983-06-01 | M.A.N. Maschinenfabrik Augsburg-Nürnberg AG, 8900 Augsburg | Ölgekühlter Kolben für Brennkraftmaschinen |
| DE2348870A1 (de) * | 1973-09-28 | 1975-04-10 | Maschf Augsburg Nuernberg Ag | Mehrteiliger kolben fuer brennkraftmaschinen, insbesondere grossdieselmotoren |
| DD123962A1 (de) * | 1975-12-24 | 1977-01-26 | ||
| GB1588515A (en) * | 1976-09-02 | 1981-04-23 | Ass Eng Ltd | Pistons |
| DE2914456A1 (de) * | 1979-04-10 | 1980-10-23 | Schmidt Gmbh Karl | Gebauter kolben fuer brennkraftmaschinen |
| US4286505A (en) * | 1979-04-23 | 1981-09-01 | Caterpillar Tractor Co. | Oil cooled piston |
| DE3338419A1 (de) * | 1983-10-22 | 1985-05-02 | Mtu Motoren- Und Turbinen-Union Friedrichshafen Gmbh, 7990 Friedrichshafen | Kolben fuer eine hubkolbenbrennkraftmaschine |
| IT1240526B (it) * | 1990-07-31 | 1993-12-17 | Borgo Nova S.P.A. | Perfezionamento relativo a pistoni, in genere. |
| DE4208037C2 (de) * | 1992-03-13 | 1998-03-26 | Mahle Gmbh | Mehrteiliger, gekühlter Kolben für Verbrennungsmotoren |
| US6003479A (en) * | 1997-05-12 | 1999-12-21 | Evans; Mark M. | Piston construction |
| DE19846152A1 (de) * | 1998-10-07 | 2000-04-13 | Mahle Gmbh | Kolben mit Kolbengrundkörper aus geschmiedetem Stahl und einem Kühlkanal |
| US6327962B1 (en) * | 1999-08-16 | 2001-12-11 | Caterpillar Inc. | One piece piston with supporting piston skirt |
| US6286414B1 (en) * | 1999-08-16 | 2001-09-11 | Caterpillar Inc. | Compact one piece cooled piston and method |
| DE10047258C2 (de) * | 2000-09-23 | 2003-02-06 | Ks Kolbenschmidt Gmbh | Kolben mit sich am Basisteil abstützenden und angeschweißtem Ringabschnitt |
| JP3714170B2 (ja) * | 2001-02-05 | 2005-11-09 | 日本電気株式会社 | オンラインショッピング決済方法及びそのシステム並びにオンラインショッピング決済プログラム |
-
2003
- 2003-06-07 DE DE10325914A patent/DE10325914B4/de not_active Expired - Fee Related
- 2003-12-30 US US10/749,176 patent/US6938537B2/en not_active Expired - Fee Related
-
2004
- 2004-06-07 EP EP04738618A patent/EP1642017B1/de not_active Expired - Lifetime
- 2004-06-07 WO PCT/DE2004/001164 patent/WO2004111420A1/de not_active Ceased
- 2004-06-07 KR KR1020057024014A patent/KR101142238B1/ko not_active Expired - Fee Related
- 2004-06-07 JP JP2006515670A patent/JP4365409B2/ja not_active Expired - Fee Related
- 2004-06-07 BR BRPI0411090-0A patent/BRPI0411090B1/pt not_active IP Right Cessation
- 2004-06-07 CN CNB2004800158221A patent/CN100412345C/zh not_active Expired - Fee Related
Also Published As
| Publication number | Publication date |
|---|---|
| DE10325914B4 (de) | 2012-08-02 |
| JP4365409B2 (ja) | 2009-11-18 |
| DE10325914A1 (de) | 2004-12-23 |
| CN100412345C (zh) | 2008-08-20 |
| JP2006527326A (ja) | 2006-11-30 |
| BRPI0411090B1 (pt) | 2015-05-12 |
| BRPI0411090A (pt) | 2006-07-25 |
| WO2004111420A1 (de) | 2004-12-23 |
| EP1642017A1 (de) | 2006-04-05 |
| US20040244581A1 (en) | 2004-12-09 |
| US6938537B2 (en) | 2005-09-06 |
| KR101142238B1 (ko) | 2012-05-07 |
| HK1088941A1 (zh) | 2006-11-17 |
| KR20060014443A (ko) | 2006-02-15 |
| CN1802498A (zh) | 2006-07-12 |
Similar Documents
| Publication | Publication Date | Title |
|---|---|---|
| EP1642017B1 (de) | Kolben für einen verbrennungsmotor | |
| EP1828587B1 (de) | Mehrteiliger, gekühlter kolben für einen verbrennungsmotor | |
| EP2106497A1 (de) | Einsatz für eine zylinderlaufbuchse oder einem zylinder eines verbrennungsmotors | |
| EP2342441B1 (de) | Kühlkanalkolben einer brennkraftmaschine mit einem verschlusselement, das den kühlkanal verschliesst | |
| EP1636475B1 (de) | Kolben für einen verbrennungsmotor | |
| EP1546536B1 (de) | Einteiliger kuehlkanalkolben fuer einen verbrennungsmotor | |
| EP1960653A1 (de) | Zweiteiliger kolben für einen verbrennungsmotor | |
| EP1920152B1 (de) | Zweiteiliger kolben für einen verbrennungsmotor | |
| EP1636474B1 (de) | Verfahren zur herstellung eines einteiligen kolbens für einen verbrennungsmotor | |
| DE4418284B4 (de) | Drehschwingungsdämpfer-Doppelschwungrad, insbesondere für Kraftfahrzeuge | |
| DE10209168B4 (de) | Stahlkolben mit Kühlkanal | |
| WO2005124136A1 (de) | Gebauter kolben für einen verbrennungsmotor | |
| EP1819922A1 (de) | Zweiteiliger kolben für einen verbrennungsmotor | |
| EP1913250B1 (de) | Kolben für einen verbrennungsmotor sowie abdeckring für den kühlkanal eines solchen kolbens | |
| EP1664514A1 (de) | Kolben f r einen verbrennungsmotor | |
| DE102004057558A1 (de) | Kolben für einen Verbrennungsmotor | |
| DE10261333A1 (de) | Kolben für eine luftverdichtende Brennkraftmaschine | |
| DE102004019011A1 (de) | Kühlkanalabdeckung für einen Kolben eines Verbrennungsmotors | |
| EP1819921B1 (de) | Kolben für einen verbrennungsmotor | |
| DE10059954B4 (de) | Rückschlagventil | |
| DE102005044597A1 (de) | Kolben für einen Verbrennungsmotor | |
| EP2893177B1 (de) | Kolben für einen verbrennungsmotor | |
| DE102011085434A1 (de) | Kolben und Verfahren zu seiner Herstellung | |
| DE10205179A1 (de) | Kühlwasserabdichtung zwischen einem Motorblock und einer Zylinderlaufbuchse | |
| DE202025106442U1 (de) | Kolben und Verbrennungsmotor mit einem solchen Kolben |
Legal Events
| Date | Code | Title | Description |
|---|---|---|---|
| PUAI | Public reference made under article 153(3) epc to a published international application that has entered the european phase |
Free format text: ORIGINAL CODE: 0009012 |
|
| 17P | Request for examination filed |
Effective date: 20051217 |
|
| AK | Designated contracting states |
Kind code of ref document: A1 Designated state(s): DE FR GB IT |
|
| DAX | Request for extension of the european patent (deleted) | ||
| RBV | Designated contracting states (corrected) |
Designated state(s): DE FR GB IT |
|
| GRAP | Despatch of communication of intention to grant a patent |
Free format text: ORIGINAL CODE: EPIDOSNIGR1 |
|
| GRAS | Grant fee paid |
Free format text: ORIGINAL CODE: EPIDOSNIGR3 |
|
| GRAA | (expected) grant |
Free format text: ORIGINAL CODE: 0009210 |
|
| AK | Designated contracting states |
Kind code of ref document: B1 Designated state(s): DE FR GB IT |
|
| REG | Reference to a national code |
Ref country code: GB Ref legal event code: FG4D Free format text: NOT ENGLISH |
|
| REG | Reference to a national code |
Ref country code: DE Ref legal event code: R096 Ref document number: 502004012505 Country of ref document: DE Effective date: 20110622 |
|
| PLBE | No opposition filed within time limit |
Free format text: ORIGINAL CODE: 0009261 |
|
| STAA | Information on the status of an ep patent application or granted ep patent |
Free format text: STATUS: NO OPPOSITION FILED WITHIN TIME LIMIT |
|
| 26N | No opposition filed |
Effective date: 20120214 |
|
| REG | Reference to a national code |
Ref country code: DE Ref legal event code: R097 Ref document number: 502004012505 Country of ref document: DE Effective date: 20120214 |
|
| REG | Reference to a national code |
Ref country code: FR Ref legal event code: PLFP Year of fee payment: 12 |
|
| PGFP | Annual fee paid to national office [announced via postgrant information from national office to epo] |
Ref country code: GB Payment date: 20150622 Year of fee payment: 12 |
|
| PGFP | Annual fee paid to national office [announced via postgrant information from national office to epo] |
Ref country code: FR Payment date: 20150622 Year of fee payment: 12 |
|
| PGFP | Annual fee paid to national office [announced via postgrant information from national office to epo] |
Ref country code: DE Payment date: 20150630 Year of fee payment: 12 |
|
| PGFP | Annual fee paid to national office [announced via postgrant information from national office to epo] |
Ref country code: IT Payment date: 20150630 Year of fee payment: 12 |
|
| REG | Reference to a national code |
Ref country code: DE Ref legal event code: R119 Ref document number: 502004012505 Country of ref document: DE |
|
| GBPC | Gb: european patent ceased through non-payment of renewal fee |
Effective date: 20160607 |
|
| REG | Reference to a national code |
Ref country code: FR Ref legal event code: ST Effective date: 20170228 |
|
| PG25 | Lapsed in a contracting state [announced via postgrant information from national office to epo] |
Ref country code: DE Free format text: LAPSE BECAUSE OF NON-PAYMENT OF DUE FEES Effective date: 20170103 Ref country code: FR Free format text: LAPSE BECAUSE OF NON-PAYMENT OF DUE FEES Effective date: 20160630 |
|
| PG25 | Lapsed in a contracting state [announced via postgrant information from national office to epo] |
Ref country code: GB Free format text: LAPSE BECAUSE OF NON-PAYMENT OF DUE FEES Effective date: 20160607 |
|
| PG25 | Lapsed in a contracting state [announced via postgrant information from national office to epo] |
Ref country code: IT Free format text: LAPSE BECAUSE OF NON-PAYMENT OF DUE FEES Effective date: 20160607 |