EP1598488A3 - Device for kitchen or bath - Google Patents
Device for kitchen or bath Download PDFInfo
- Publication number
- EP1598488A3 EP1598488A3 EP05010133A EP05010133A EP1598488A3 EP 1598488 A3 EP1598488 A3 EP 1598488A3 EP 05010133 A EP05010133 A EP 05010133A EP 05010133 A EP05010133 A EP 05010133A EP 1598488 A3 EP1598488 A3 EP 1598488A3
- Authority
- EP
- European Patent Office
- Prior art keywords
- receiving device
- discharge
- liquids
- kitchen
- receiving
- Prior art date
- Legal status (The legal status is an assumption and is not a legal conclusion. Google has not performed a legal analysis and makes no representation as to the accuracy of the status listed.)
- Withdrawn
Links
- 239000007788 liquid Substances 0.000 abstract 3
Classifications
-
- E—FIXED CONSTRUCTIONS
- E03—WATER SUPPLY; SEWERAGE
- E03C—DOMESTIC PLUMBING INSTALLATIONS FOR FRESH WATER OR WASTE WATER; SINKS
- E03C1/00—Domestic plumbing installations for fresh water or waste water; Sinks
- E03C1/12—Plumbing installations for waste water; Basins or fountains connected thereto; Sinks
- E03C1/18—Sinks, whether or not connected to the waste-pipe
-
- E—FIXED CONSTRUCTIONS
- E03—WATER SUPPLY; SEWERAGE
- E03C—DOMESTIC PLUMBING INSTALLATIONS FOR FRESH WATER OR WASTE WATER; SINKS
- E03C1/00—Domestic plumbing installations for fresh water or waste water; Sinks
- E03C1/12—Plumbing installations for waste water; Basins or fountains connected thereto; Sinks
- E03C1/32—Holders or supports for basins
- E03C1/322—Holders or supports for basins connected to the wall only
Landscapes
- Engineering & Computer Science (AREA)
- Environmental & Geological Engineering (AREA)
- Health & Medical Sciences (AREA)
- Life Sciences & Earth Sciences (AREA)
- Hydrology & Water Resources (AREA)
- Public Health (AREA)
- Water Supply & Treatment (AREA)
- Sink And Installation For Waste Water (AREA)
- Bidet-Like Cleaning Device And Other Flush Toilet Accessories (AREA)
Abstract
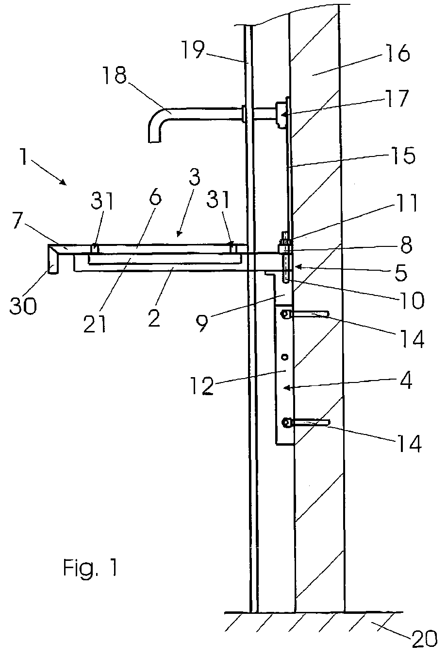
Die Erfindung betrifft einen Einrichtungsgegenstand (1) für Küche oder Bad oder dgl., aufweisend mindestens eine Aufnahmeeinrichtung (3) für Flüssigkeiten sowie mindestens eine Ablaufeinrichtung (2) für die Abführung von in die Aufnahmeeinrichtung (3) eintretende Flüssigkeiten. Bei einem derartigen Einrichtungsgegenstand (1) sind die Aufnahmeeinrichtung (3) und die Ablaufeinrichtung (2) für die Abführung von in die Aufnahmeeinrichtung (3) eintretende Flüssigkeiten derart voneinander trennbar ausgestaltet, daß die Aufnahmeeinrichtung (3) einfach und ohne wesentliche Eingriffe gegen andere Aufnahmeeinrichtungen (3',3") austauschbar ist. Hierdurch kann ein sanitärer Einrichtungsgegenstand (1) mit verschiedenen Aufnahmeeinrichtungen (3) je nach möglicherweise wechseldem Geschmack versehen werden, ohne daß die technischen Einrichtungen, die in der Ablaufeinrichtung (2) zusammengefaßt sind, jeweils demontiert und neu montiert werden müssen. The invention relates to a furniture (1) for kitchen or bathroom or the like., Having at least one receiving device (3) for liquids and at least one drain device (2) for the discharge of in the receiving device (3) entering liquids. In such a device article (1), the receiving device (3) and the discharge device (2) for the discharge of in the receiving device (3) entering liquids are designed separable from each other, that the receiving device (3) easily and without significant interference with other receiving devices (3 ', 3 "), whereby a sanitary fixture (1) can be provided with various receptacles (3), depending on the taste of the fixture, without disassembling the technical equipment contained in the expander (2) and have to be reassembled.
Applications Claiming Priority (2)
| Application Number | Priority Date | Filing Date | Title |
|---|---|---|---|
| DE102004024176 | 2004-05-13 | ||
| DE200410024176 DE102004024176A1 (en) | 2004-05-13 | 2004-05-13 | Furnishings for kitchen or bath or the like. |
Publications (2)
| Publication Number | Publication Date |
|---|---|
| EP1598488A2 EP1598488A2 (en) | 2005-11-23 |
| EP1598488A3 true EP1598488A3 (en) | 2007-03-21 |
Family
ID=34936337
Family Applications (1)
| Application Number | Title | Priority Date | Filing Date |
|---|---|---|---|
| EP05010133A Withdrawn EP1598488A3 (en) | 2004-05-13 | 2005-05-10 | Device for kitchen or bath |
Country Status (2)
| Country | Link |
|---|---|
| EP (1) | EP1598488A3 (en) |
| DE (1) | DE102004024176A1 (en) |
Families Citing this family (2)
| Publication number | Priority date | Publication date | Assignee | Title |
|---|---|---|---|---|
| DE202013104890U1 (en) * | 2013-10-31 | 2013-11-14 | Naber Holding Gmbh & Co. Kg | Spültischanordnung |
| CN105002868B (en) * | 2015-07-24 | 2018-06-08 | 圣都家居装饰有限公司 | Platform basin installation lengthens the construction technology of internal thread bend pipe |
Citations (7)
| Publication number | Priority date | Publication date | Assignee | Title |
|---|---|---|---|---|
| US2766461A (en) * | 1952-11-20 | 1956-10-16 | Crane Co | Resilient mounting for plumbing fixtures and the like |
| GB860747A (en) * | 1958-10-30 | 1961-02-08 | Twyfords Ltd | Improvements relating to lavatory basins |
| US4462126A (en) * | 1982-12-13 | 1984-07-31 | Cleaveland Mildred S | Sink for seated user |
| LU86462A1 (en) * | 1986-06-11 | 1988-01-20 | Jacques Giraud | SANITARY APPARATUS |
| DE20204017U1 (en) * | 2002-03-11 | 2002-07-04 | Rohmann, Klaus, 44357 Dortmund | Kit for creating a corner-prewall installation for a washstand / urinal system |
| DE10146874C1 (en) * | 2001-09-24 | 2002-10-02 | Juergen Klein | Horizontal sanitary table for use as washbasin may be fastened to wall and has flat table top with circular slit to act as drain |
| DE10235367C1 (en) * | 2002-08-02 | 2003-10-30 | Marco Stefano Martinez | Hand washing basin has clean water reception region provided by flat plate positioned over drainage opening |
Family Cites Families (3)
| Publication number | Priority date | Publication date | Assignee | Title |
|---|---|---|---|---|
| DE1725498U (en) * | 1956-04-13 | 1956-07-05 | Hans Wendt | INSERT FOR WASHBASIN OD. DGL. |
| DE6927655U (en) * | 1969-07-10 | 1969-10-30 | Franz Ehrle | WASHBASINS, IN PARTICULAR WASHBASINS DESIGNED FOR HOTELS |
| DE7727495U1 (en) * | 1977-09-06 | 1978-03-02 | Kirsch, Wolfgang, 4630 Bochum | BATHTUB AND SHOWER CUP ADHESIVE TRAY |
-
2004
- 2004-05-13 DE DE200410024176 patent/DE102004024176A1/en not_active Ceased
-
2005
- 2005-05-10 EP EP05010133A patent/EP1598488A3/en not_active Withdrawn
Patent Citations (7)
| Publication number | Priority date | Publication date | Assignee | Title |
|---|---|---|---|---|
| US2766461A (en) * | 1952-11-20 | 1956-10-16 | Crane Co | Resilient mounting for plumbing fixtures and the like |
| GB860747A (en) * | 1958-10-30 | 1961-02-08 | Twyfords Ltd | Improvements relating to lavatory basins |
| US4462126A (en) * | 1982-12-13 | 1984-07-31 | Cleaveland Mildred S | Sink for seated user |
| LU86462A1 (en) * | 1986-06-11 | 1988-01-20 | Jacques Giraud | SANITARY APPARATUS |
| DE10146874C1 (en) * | 2001-09-24 | 2002-10-02 | Juergen Klein | Horizontal sanitary table for use as washbasin may be fastened to wall and has flat table top with circular slit to act as drain |
| DE20204017U1 (en) * | 2002-03-11 | 2002-07-04 | Rohmann, Klaus, 44357 Dortmund | Kit for creating a corner-prewall installation for a washstand / urinal system |
| DE10235367C1 (en) * | 2002-08-02 | 2003-10-30 | Marco Stefano Martinez | Hand washing basin has clean water reception region provided by flat plate positioned over drainage opening |
Also Published As
| Publication number | Publication date |
|---|---|
| DE102004024176A1 (en) | 2005-12-08 |
| EP1598488A2 (en) | 2005-11-23 |
Similar Documents
| Publication | Publication Date | Title |
|---|---|---|
| DE4428680C1 (en) | Open link chain for carrying pipes, cables etc. | |
| DE8906905U1 (en) | Carrying handle for hand loads such as shopping nets, shopping bags, etc. | |
| EP2368704A3 (en) | Tablet outlet | |
| EP2615047A1 (en) | Carrier element for articles or containers | |
| EP1970124A3 (en) | Agitator ball mill | |
| EP1598488A3 (en) | Device for kitchen or bath | |
| EP2814151A3 (en) | Inverter | |
| EP1600694A3 (en) | System and method for a time controlled and displayed household appliance | |
| EP1635310A3 (en) | Display device | |
| DE202013004191U1 (en) | Holder for a box | |
| DE102022132337B3 (en) | Universal mount | |
| DE202019105878U1 (en) | Interior design for a bathroom cabinet | |
| DE20205188U1 (en) | Jewelry Display | |
| EP1938723A3 (en) | Shower partition and fitting | |
| DE202008010995U1 (en) | Keychain device | |
| DE202006006238U1 (en) | Seat furniture e.g. television or couch armchair adjustable by electric drive has hand switch which operates drive by cables and side cheek, arranged with pit on one side in which hand switch is detachably held | |
| EP2095834A3 (en) | Prophylaxis items | |
| CH709284A2 (en) | Mobile Stand for smartphone or tablet of any kind. | |
| DE202008001908U1 (en) | Holding device for at least one crate or the like. | |
| ATE241545T1 (en) | CHAIN ELEMENT FOR A CONVEYOR CHAIN, IN PARTICULAR FOR A MAT CONVEYOR CHAIN | |
| DE202004009241U1 (en) | Friction clamp for smooth tubular sections has two interlocking conical plastic profiles with a twist and lock connection | |
| DE202025107387U1 (en) | Stacking rack for receiving and/or storing goods in the catering industry | |
| DE202005012381U1 (en) | Ring bar, has recess formed on both sides, insertion unit fastened to recess, and upwardly opened grooves formed in insertion unit, where magnets are provided in both endings of recess | |
| Miani et al. | Musik und Sprache-Vorschlag für ein integratives Modell | |
| DE202012004454U1 (en) | Variable door hinges |
Legal Events
| Date | Code | Title | Description |
|---|---|---|---|
| PUAI | Public reference made under article 153(3) epc to a published international application that has entered the european phase |
Free format text: ORIGINAL CODE: 0009012 |
|
| AK | Designated contracting states |
Kind code of ref document: A2 Designated state(s): AT BE BG CH CY CZ DE DK EE ES FI FR GB GR HU IE IS IT LI LT LU MC NL PL PT RO SE SI SK TR |
|
| AX | Request for extension of the european patent |
Extension state: AL BA HR LV MK YU |
|
| PUAL | Search report despatched |
Free format text: ORIGINAL CODE: 0009013 |
|
| AK | Designated contracting states |
Kind code of ref document: A3 Designated state(s): AT BE BG CH CY CZ DE DK EE ES FI FR GB GR HU IE IS IT LI LT LU MC NL PL PT RO SE SI SK TR |
|
| AX | Request for extension of the european patent |
Extension state: AL BA HR LV MK YU |
|
| AKX | Designation fees paid | ||
| STAA | Information on the status of an ep patent application or granted ep patent |
Free format text: STATUS: THE APPLICATION IS DEEMED TO BE WITHDRAWN |
|
| 18D | Application deemed to be withdrawn |
Effective date: 20070922 |
|
| REG | Reference to a national code |
Ref country code: DE Ref legal event code: 8566 |
