EP1586703B1 - Walze zur Behandlung flacher Materialien und Verfahren zur Herstellung dieser Walze - Google Patents

Walze zur Behandlung flacher Materialien und Verfahren zur Herstellung dieser Walze Download PDF

Info

Publication number
EP1586703B1
EP1586703B1 EP05007346A EP05007346A EP1586703B1 EP 1586703 B1 EP1586703 B1 EP 1586703B1 EP 05007346 A EP05007346 A EP 05007346A EP 05007346 A EP05007346 A EP 05007346A EP 1586703 B1 EP1586703 B1 EP 1586703B1
Authority
EP
European Patent Office
Prior art keywords
roller
covering
grooves
plastic
structuring
Prior art date
Legal status (The legal status is an assumption and is not a legal conclusion. Google has not performed a legal analysis and makes no representation as to the accuracy of the status listed.)
Expired - Lifetime
Application number
EP05007346A
Other languages
English (en)
French (fr)
Other versions
EP1586703A1 (de
Inventor
Carsten Sohl
Per Grynnerup
Current Assignee (The listed assignees may be inaccurate. Google has not performed a legal analysis and makes no representation or warranty as to the accuracy of the list.)
Schafer Composites GmbH
Original Assignee
Schafer Composites GmbH
Priority date (The priority date is an assumption and is not a legal conclusion. Google has not performed a legal analysis and makes no representation as to the accuracy of the date listed.)
Filing date
Publication date
Application filed by Schafer Composites GmbH filed Critical Schafer Composites GmbH
Publication of EP1586703A1 publication Critical patent/EP1586703A1/de
Application granted granted Critical
Publication of EP1586703B1 publication Critical patent/EP1586703B1/de
Anticipated expiration legal-status Critical
Expired - Lifetime legal-status Critical Current

Links

Images

Classifications

    • DTEXTILES; PAPER
    • D21PAPER-MAKING; PRODUCTION OF CELLULOSE
    • D21GCALENDERS; ACCESSORIES FOR PAPER-MAKING MACHINES
    • D21G1/00Calenders; Smoothing apparatus
    • D21G1/02Rolls; Their bearings
    • D21G1/0233Soft rolls
    • DTEXTILES; PAPER
    • D21PAPER-MAKING; PRODUCTION OF CELLULOSE
    • D21FPAPER-MAKING MACHINES; METHODS OF PRODUCING PAPER THEREON
    • D21F3/00Press section of machines for making continuous webs of paper
    • D21F3/02Wet presses
    • D21F3/08Pressure rolls
    • YGENERAL TAGGING OF NEW TECHNOLOGICAL DEVELOPMENTS; GENERAL TAGGING OF CROSS-SECTIONAL TECHNOLOGIES SPANNING OVER SEVERAL SECTIONS OF THE IPC; TECHNICAL SUBJECTS COVERED BY FORMER USPC CROSS-REFERENCE ART COLLECTIONS [XRACs] AND DIGESTS
    • Y10TECHNICAL SUBJECTS COVERED BY FORMER USPC
    • Y10TTECHNICAL SUBJECTS COVERED BY FORMER US CLASSIFICATION
    • Y10T29/00Metal working
    • Y10T29/49Method of mechanical manufacture
    • Y10T29/49544Roller making
    • Y10T29/49547Assembling preformed components
    • YGENERAL TAGGING OF NEW TECHNOLOGICAL DEVELOPMENTS; GENERAL TAGGING OF CROSS-SECTIONAL TECHNOLOGIES SPANNING OVER SEVERAL SECTIONS OF THE IPC; TECHNICAL SUBJECTS COVERED BY FORMER USPC CROSS-REFERENCE ART COLLECTIONS [XRACs] AND DIGESTS
    • Y10TECHNICAL SUBJECTS COVERED BY FORMER USPC
    • Y10TTECHNICAL SUBJECTS COVERED BY FORMER US CLASSIFICATION
    • Y10T29/00Metal working
    • Y10T29/49Method of mechanical manufacture
    • Y10T29/49544Roller making
    • Y10T29/49547Assembling preformed components
    • Y10T29/49549Work contacting surface element assembled to core
    • YGENERAL TAGGING OF NEW TECHNOLOGICAL DEVELOPMENTS; GENERAL TAGGING OF CROSS-SECTIONAL TECHNOLOGIES SPANNING OVER SEVERAL SECTIONS OF THE IPC; TECHNICAL SUBJECTS COVERED BY FORMER USPC CROSS-REFERENCE ART COLLECTIONS [XRACs] AND DIGESTS
    • Y10TECHNICAL SUBJECTS COVERED BY FORMER USPC
    • Y10TTECHNICAL SUBJECTS COVERED BY FORMER US CLASSIFICATION
    • Y10T29/00Metal working
    • Y10T29/49Method of mechanical manufacture
    • Y10T29/49544Roller making
    • Y10T29/49547Assembling preformed components
    • Y10T29/49549Work contacting surface element assembled to core
    • Y10T29/49554Work contacting surface having annular axial sections
    • YGENERAL TAGGING OF NEW TECHNOLOGICAL DEVELOPMENTS; GENERAL TAGGING OF CROSS-SECTIONAL TECHNOLOGIES SPANNING OVER SEVERAL SECTIONS OF THE IPC; TECHNICAL SUBJECTS COVERED BY FORMER USPC CROSS-REFERENCE ART COLLECTIONS [XRACs] AND DIGESTS
    • Y10TECHNICAL SUBJECTS COVERED BY FORMER USPC
    • Y10TTECHNICAL SUBJECTS COVERED BY FORMER US CLASSIFICATION
    • Y10T29/00Metal working
    • Y10T29/49Method of mechanical manufacture
    • Y10T29/49544Roller making
    • Y10T29/4956Fabricating and shaping roller work contacting surface element
    • Y10T29/49563Fabricating and shaping roller work contacting surface element with coating or casting about a core

Definitions

  • the invention relates to a roller or calender roller according to the preamble of claim 1, and to a method for producing a roller according to the preamble of claim 11.
  • calender rolls which have a covering as the uppermost layer, which consists of paper or textile material.
  • calender rolls whose covering consists of a plurality of discs of textile material or cotton fabric, which are threaded onto a metal core and are strongly pressed in the axial direction.
  • These rollers form a covering or a surface which has a certain elasticity and, moreover, is relatively cheap and, in the event of wear, can be turned off a bit in order to again achieve a uniformly smooth surface.
  • it has been tried to postpone a metal cylinder fitting exactly on the textile layer and in turn applied to a layer of plastic or rubber, for example.
  • the diameter of the metal tube has to be exactly the same as the diameter of the roll otherwise mechanical problems will occur.
  • the invention has for its object to provide an aforementioned roller and a method for producing a roller with which the problems of the prior art can be avoided and in particular inexpensive and technically manageable another layer structure can be applied to existing treatment facilities.
  • a roller has a hard base on which a covering of paper or textile material is applied, which has a certain thickness, in particular several centimeters.
  • the covering consists of a large number of individual thin layers of paper or textile material. These are compacted or compressed for a certain dimensional stability.
  • This covering made of paper or textile material is structured on its surface.
  • plastic is applied, in particular liquid plastic, which has the effect of an adhesive and additionally for a mechanical connection, in particular for load transmission, is used.
  • a stabilizing layer of fiber material is applied. This is also impregnated with plastic, which hardens and forms a stable fiber-reinforced layer together with the fiber material.
  • a kind of intermediate layer can be formed by plastic and fiber material, which in turn has sufficient strength.
  • structuring the surface of the covering below in turn, it is achieved that the plastic can penetrate into the paper or textile material in the depth and, so to speak, soak it at least one piece.
  • a particularly good adhesion is achieved in addition to the structuring itself and also a good mechanical connection, in particular for load transfer.
  • the surface can be opened so to speak by structuring, so that liquid plastic or adhesive can penetrate.
  • stabilization layer with fiber material on the one hand, a reasonably smooth surface of the roller can be achieved again so that the structuring is balanced again.
  • a known stable layer is achieved by the composite of fiber material and plastic or adhesive.
  • the roll is a calender roll, or such is used to produce a new roll with the described method.
  • a roll can form a rolling mill after completion as a calender roll with a metal counter roll, for example for smoothing paper surfaces.
  • a coating can then be applied to the stabilization layer described above, which advantageously consists of plastic or rubber. This may have a thickness of a few millimeters to a few centimeters and be adapted to the desired purpose of hardness and other properties.
  • the textile material is advantageous to cotton.
  • the textile material consists of a cotton fabric, as it is also used for jeans or the like. This allows a relatively cheap availability.
  • Other possibilities are shares of wool or synthetic fibers in the textile material, for example under the name Nomex.
  • a substructure of the roll is preferably metallic for sufficient strength. Particularly preferably, it is a solid or hollow metal core, which also forms the axis of rotation in the case of a roller.
  • Washers made of paper or textile material can be applied to a substructure or, in the case of a roller, threaded onto a roll core and thus form the coating. For this purpose, they are compacted and compressed, in the case of a roller advantageously by means of clamping means at the ends, which may be, for example, nuts to be screwed.
  • the structuring of the surface of the covering may, for example, have grooves which, depending on the thickness of the covering and other requirements, may have a variable depth. This depth can be between 3mm and 20mm, for example at just under 10mm. It is considered advantageous if a uniform and uniform structuring is provided, so for example only grooves. These can all be provided at the same distance from each other, wherein they are advantageously closely adjacent. By applying the grooves as directly as possible to each other, their number per surface unit becomes as large as possible and thus also their adhesion-improving effect. Likewise, this can be the mechanical connection with which the load transfer is improved. Thus, mechanical loads from the outer layer can be better transferred to the roll core.
  • a structuring of the surface is provided so that it runs only in the circumferential direction or has no or only a small longitudinal component mainly in the axial direction of the roller. This would otherwise cause a force and movement effect of the topmost pad with deflection in the longitudinal direction of the axis of the rotating rollers from a pressure along the nip line of a Kalanderwalzenwerks, which is to be avoided, of course.
  • Grooves thus extend substantially or advantageously exclusively in the circumferential direction as self-contained circular grooves. It is also possible to provide a groove in the manner of a screw thread. Thus, the aforementioned properties are also achieved, although not quite so good.
  • holes or recesses are also possible in addition to the aforementioned elongate grooves. These should be distributed equally. Furthermore, it is advantageous and manufacturing technology favorable to form them in about the same size. They can be applied by drills or mandrels on rotating rollers, as well as possibly by laser beams.
  • plastic or adhesive may be provided resin, for example, synthetic resin such as epoxy resin.
  • resin for example, synthetic resin such as epoxy resin.
  • a plastic may advantageously be a thermoset.
  • a fibrous material may preferably be selected from the following group: glass fiber, carbon fiber, aramid fiber or boron fiber.
  • the application of the fiber material to a roller as a treatment device can take place in that the roller is rotated and the fiber material is wound up.
  • the fiber material is as compact as possible, and is applied close together and evenly.
  • another layer of fiber material can be applied.
  • the fiber material of desired thickness can be applied in a single pass. It is considered advantageous if the fiber material is already applied impregnated with liquid plastic or adhesive.
  • another coating can either be applied directly or first the surface can be smoothed, for example, ground off.
  • the topmost coating is a polymer material, for example rubber or a plastic.
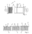
  • a calender roll 11 is shown. This consists of a plurality of discs 13 from the aforementioned paper or textile material. The discs 13 are threaded onto a core 15 which simultaneously has shaft ends. By two retaining washers 17 at the left and right ends of the paper discs 13 are pressed together.
  • the surface 19 or the disks 13 are treated with a cutting tool 21 in accordance with a customary turning operation.
  • grooves 23 are cut.
  • the grooves 23 are exactly parallel, directly adjacent to each other and with the same distance from each other exactly in the circumferential direction on the roller 11th
  • the individual disks 13 are not shredded at their outer edges, but cut relatively smoothly. This means that they are workable like a solid solid material. Nevertheless, due to the processing by the thus formed surface or total area of the adjoining outer edges of the discs 13 is created from the outside so to speak open or accessible to liquid structure. This will be explained in more detail below.
  • a structuring is shown, as holes or blind holes 26 can be introduced into the surface 19. This can be done for example by drilling as well as laser beams or the like. Furthermore, as shown, the holes may be made as pure cylindrical blind bores. Likewise, they can run narrower downwards.
  • Fig. 3 are shown in a split view, the various steps to starting from a provided with grooves 23 treatment device, for example, the calender roll 11 according to Fig. 1 to apply the further layer structure. It is based on a structure of the surface according to Fig. 1 in which the retaining washers 17 are already provided with the grooves 23.
  • resin 30 is applied by means of a nozzle 32.
  • another application device can also be provided.
  • the order is made as shown in the second step right next to it, that at least the grooves 23 are covered with the synthetic resin 30 reasonably well, advantageously not completely filled.
  • Fig. 3 In the third step in Fig. 3 are made of individual fibers 35 existing rovings 34 wound. These can be applied in a kind of endless form. It can be provided, as can be seen by the state according to the fourth step, that the fibers 35 are first filled approximately with the grooves 23 between the tips 24. Subsequently, according to the fifth step, fiber material 35, advantageously again in the form of rovings 34, is applied together with further synthetic resin, but this time distributed over the entire surface. While here in the first step by the fiber material 35, the grooves 23 have been compensated or filled compared to the intermediate points 24, now a total overlapping layer of fiber material 35 is applied. This serves to strengthen the Furthermore, a more stable and coherent substructure can be created for a subsequent layer structure.
  • the entire roller 11 is covered with a layer of fibrous material 35 impregnated with synthetic resin 30.
  • this application of the layer or the production of the layer should be such that either by winding or subsequent processing, the surface is already reasonably even and even.
  • a further coating 37 of polymer material can be applied to the finished cured layer of fiber-reinforced synthetic resin material, for example of rubber or plastic, depending on the intended use.
  • this again corresponds to the already known method.
  • this functional layer 37 made of polymer material due to the stable intermediate layer of fiber material 35, the roller behaves neutrally or, as it were, its properties are not influenced or embossed by the underlying structure of paper discs 13. Above all, loads can be transmitted better from the surface to the underlying roller 11 due to the improved mechanical connection.

Landscapes

  • Rolls And Other Rotary Bodies (AREA)
  • Paper (AREA)
  • Reduction Rolling/Reduction Stand/Operation Of Reduction Machine (AREA)
  • Electrical Discharge Machining, Electrochemical Machining, And Combined Machining (AREA)
  • Mushroom Cultivation (AREA)

Description

  • Die Erfindung betrifft eine Walze oder Kalanderwalze gemäß dem Oberbegriff des Anspruchs 1, sowie ein Verfahren zur Herstellung einer Walze gemäß dem Oberbegriff des Anspruchs 11.
  • Im Maschinenbau bzw. in der Verfahrenstechnik werden häufig Behand-Iungseinrichtungen wie Stempel oder Stempelflächen, Pressen oder auch rundlaufende Walzen verwendet, welche einen mehrschichtigen Aufbau haben. Dieser mehrschichtige Aufbau kann deswegen gewünscht sein, um bestimmte Festigkeitseigenschaften oder -verhalten zu erreichen. Es gibt auch Fälle, bei denen bereits vorhandene Behandlungseinrichtungen überarbeitet werden oder modifiziert werden, beispielsweise mit neuen Oberflächen versehen werden. Schwierigkeiten tauchen vor allem dann auf, wenn auf einen bereits bestehenden Belag oder Unterbau ein weiterer Schichtaufbau aufgebracht werden soll, der von seinen mechanischen Eigenschaften her nicht unbedingt harmonisiert bzw. Schwierigkeiten hervorruft.
  • Ein Beispiel hierfür sind Kalanderwalzen, welche einen Belag als oberste Schicht aufweisen, der aus Papier- oder Textilmaterial besteht. Insbesondere gibt es Kalanderwalzen, deren Belag aus einer Vielzahl von Scheiben aus Textilmaterial bzw. Baumwollstoff besteht, die auf einen Metallkern aufgefädelt sind und in axialer Richtung stark verpresst sind. Diese Walzen bilden einen Belag bzw. eine Oberfläche, welche eine gewisse Elastizität aufweist und darüber hinaus zum einen relativ günstig ist sowie bei Abnutzung etwas abgedreht werden kann, um wieder eine gleichmäßig glatte Oberfläche zu erzielen. Um beispielsweise solche vorhandenen Walzen zum Aufbau eines neuen Belags oder Schichtsystems verwenden zu können, ist es versucht worden, einen genau passenden Metallzylinder auf die Textilschicht aufzuschieben und darauf wiederum eine Schicht beispielsweise aus Kunststoff oder Gummi aufzubringen. Hierbei besteht jedoch das Problem, dass das Metallrohr vom Durchmesser her exakt zum Walzendurchmesser passen muss, da es ansonsten zu mechanischen Problemen kommt.
  • Aufgabe und Lösung
  • Der Erfindung liegt die Aufgabe zugrunde, eine eingangs genannte Walze sowie ein Verfahren zur Herstellung einer Walze zu schaffen, mit denen die Probleme des Standes der Technik vermieden werden können und insbesondere preiswert und technisch beherrschbar ein weiterer Schichtaufbau auf vorhandene Behandlungseinrichtungen aufgebracht werden kann.
  • Gelöst wird diese Aufgabe durch eine Walze mit den Merkmalen des Anspruchs 1 sowie ein Verfahren zur Herstellung einer Walze mit den Merkmalen des Anspruchs 11. Vorteilhafte sowie bevorzugte Ausgestaltungen der Erfindung sind Gegenstand der weiteren Ansprüche und werden im folgenden näher erläutert. Der Wortlaut der Ansprüche wird durch ausdrückliche Bezugnahme zum Inhalt der Beschreibung gemacht. Merkmale hinsichtlich technischer Ausgestaltung sowohl der Walze selber als auch des Verfahrens treffen teilweise für beide zu und werden im folgenden nur einmal erläutert. Diese Erläuterungen sind dann sowohl auf die Walze als auch auf das Verfahren bezogen.
  • Erfindungsgemäß weist eine Walze einen harten Unterbau auf, auf dem ein Belag aus Papier oder Textilmaterial aufgebracht ist, der eine gewisse Dicke aufweist, insbesondere mehrere Zentimeter. Der Belag besteht aus einer Vielzahl von einzelnen dünnen Schichten aus Papier oder Textilmaterial. Diese sind verdichtet oder zusammengepresst für eine gewisse Formstabilität. Dieser Belag aus Papier oder Textilmaterial wird an seiner Oberfläche strukturiert. Darauf ist Kunststoff aufgebracht, insbesondere flüssiger Kunststoff, welcher die Wirkung eines Klebemittels hat und zusätzlich für eine mechanische Verbindung, insbesondere zur Lastübertragung, dient. Darauf wiederum ist eine Stabilisierungsschicht aus Fasermaterial aufgebracht. Diese ist ebenfalls mit Kunststoff getränkt, welcher aushärtet und zusammen mit dem Fasermaterial eine stabile faserverstärkte Schicht bildet.
  • Somit kann durch Kunststoff und Fasermaterial eine Art Zwischenschicht gebildet werden, welche ihrerseits ausreichende Festigkeit aufweist. Durch die Strukturierung der Oberfläche des Belages darunter wiederum wird erreicht, dass der Kunststoff in das Papier oder Textilmaterial in die Tiefe eindringen kann und es sozusagen zumindest ein Stück durchtränkt. So wird eine besonders gute Haftung zusätzlich zu der Strukturierung selber und auch eine gute mechanische Verbindung, insbesondere zur Lastübertragung, erreicht. Vor allem bei Papier oder Textilmaterial kann durch eine Strukturierung die Oberfläche sozusagen geöffnet werden, so dass flüssiger Kunststoff bzw. Klebemittel eindringen kann. Durch die folgende Stabilisierungsschicht mit Fasermaterial kann zum einen wieder eine einigermaßen glatte Oberfläche der Walze erzielt werden, so dass die Strukturierung wieder ausgeglichen ist. Des weiteren wird durch den Verbund aus Fasermaterial und Kunststoff bzw. Klebemittel eine bekanntermaßen stabile Schicht erreicht.
  • Besonders bevorzugt ist die Walze eine Kalanderwalze, bzw. es wird eine solche verwendet, um mit dem beschriebenen Verfahren eine neue Walze herzustellen. Eine solche Walze kann nach Fertigstellung als Kalanderwalze mit einer metallenen Gegenwalze ein Walzwerk bilden, beispielsweise zum Glätten von Papieroberflächen. Dazu kann anschließend auf die zuvor beschriebene Stabilisierungsschicht ein Überzug aufgebracht werden, der vorteilhaft aus Kunststoff oder Gummi besteht. Dieser kann eine Dicke von einigen Millimetern bis wenigen Zentimetern aufweisen und von der Härte sowie sonstigen Eigenschaften her an den gewünschten Verwendungszweck angepasst werden.
  • Als Textilmaterial bietet sich vorteilhaft Baumwolle an. Insbesondere besteht das Textilmaterial aus einem Baumwollstoff, wie er auch für Jeans oder dergleichen verwendet wird. Dies ermöglicht eine relativ günstige Verfügbarkeit. Weitere Möglichkeiten sind Anteile von Wolle oder auch Kunstfasern in dem Textilmaterial, beispielsweise unter der Bezeichnung Nomex.
  • Ein Unterbau der Walze ist bevorzugt metallisch für eine ausreichende Festigkeit. Besonders bevorzugt ist es ein massiver oder hohler Metallkern, der im Fall einer Walze auch die Drehachse bildet.
  • Scheiben aus dem Papier oder Textilmaterial können auf einen Unterbau aufgebracht oder im Fall einer Walze auf einen Walzenkern aufgefädelt werden und bilden so den Belag. Dazu werden sie verdichtet und zusammengepresst, im Falle einer Walze vorteilhaft mittels Spannmitteln an den Enden, welche beispielsweise aufzuschraubende Muttern sein können.
  • Die Strukturierung der Oberfläche des Belags kann beispielsweise Rillen aufweisen, welche abhängig von der Dicke des Belages und sonstigen Anforderungen eine variable Tiefe aufweisen können. Diese Tiefe kann zwischen 3mm und 20mm liegen, beispielsweise bei etwas unter 10mm. Es wird als vorteilhaft angesehen, wenn eine gleichmäßige und einheitliche Strukturierung vorgesehen ist, also beispielsweise nur Rillen. Diese können sämtlich mit gleichem Abstand zueinander vorgesehen sein, wobei sie vorteilhaft eng benachbart sind. Durch ein möglichst direkt einander anschließendes Aufbringen der Rillen wird ihre Zahl pro Oberflächeneinheit möglichst groß und damit auch ihre haftverbessernde Wirkung. Ebenso kann dadurch die mechanische Verbindung, mit der die Lastübertragung erfolgt, verbessert werden. So können mechanische Lasten von der Außenschicht besser auf den Walzenkern übertragen werden.
  • Bevorzugt wird eine Strukturierung der Oberfläche so vorgesehen, dass sie nur in Umlaufrichtung verläuft bzw. keine oder nur eine geringe Längsverlaufs-Komponente hauptsächlich in Achsrichtung der Walze aufweist. Dadurch könnte nämlich ansonsten bei den drehenden Walzen aus einem Druck entlang der Nipplinie eines Kalanderwalzenwerks eine Kraft- und Bewegungswirkung des obersten Belags mit Umlenkung in Längsrichtung der Achse hervorgerufen werden, was selbstverständlich vermieden werden soll. Rillen verlaufen somit im wesentlichen oder vorteilhaft ausschließlich in Umlaufrichtung als in sich geschlossene kreisförmige Rillen. Es ist auch möglich, eine Rille nach Art eines Schraubengewindes vorzusehen. Damit werden die vorgenannten Eigenschaften auch noch erreicht, wenn auch nicht ganz so gut.
  • Eine weitere Möglichkeit einer Strukturierung der Oberfläche, welche unter Umständen auch zusätzlich zu den vorgenannten länglichen Rillen vorgesehen sein kann, sind Löcher oder Vertiefungen, vorteilhaft konisch. Diese sollten gleich verteilt sein. Des weiteren ist es von Vorteil sowie herstellungstechnisch günstig, sie in etwa gleich groß auszubilden. Sie können durch Bohrer oder Dorne auf drehenden Walzen aufgebracht werden, ebenso wie unter Umständen durch Laserstrahlen.
  • Als Kunststoff bzw. Klebemittel kann Harz vorgesehen sein, beispielsweise Kunstharz wie Epoxydharz. Ein Kunststoff kann vorteilhaft ein Duroplast sein.
  • Als Fasermaterial werden vorteilhaft Armierungsfasern verwendet mit großer Stabilität. Sie werden besonders vorteilhaft in Form von Rovings aufgebracht, also eine Art fortlaufendes Faserbündel. Ein Fasermaterial kann vorzugsweise aus der folgenden Gruppe ausgewählt sein: Glasfaser, Kohlefaser, Aramidfaser oder Borfaser.
  • Das Aufbringen des Fasermaterials auf eine Walze als Behandlungseinrichtung kann dadurch erfolgen, dass die Walze gedreht wird und das Fasermaterial aufgewickelt wird. Dabei sollte beim Aufwickeln beachtet werden, dass das Fasermaterial möglichst verdichtet und eng aneinanderliegend sowie gleichmäßig aufgebracht wird. Es ist möglich, zuerst in einem ersten Durchgang die Rillen oder Vertiefungen auszufüllen zur Erzielung einer einigermaßen ebenen Oberfläche. Darauf kann eine weitere Schicht Fasermaterial aufgebracht werden. Alternativ kann in einem einzigen Durchgang das Fasermaterial mit gewünschter Stärke aufgebracht werden. Es wird als vorteilhaft angesehen, wenn das Fasermaterial bereits mit flüssigem Kunststoff bzw. Klebemittel getränkt aufgebracht wird. Nach dem Härten des Kunststoffs bzw. Klebemittels kann ein weiterer Belag entweder direkt aufgebracht werden oder aber zuerst die Oberfläche geglättet werden, beispielsweise abgeschliffen werden. Als oberster Belag bietet sich ein Polymerwerkstoff an, beispielsweise Gummi oder ein Kunststoff.
  • Diese und weitere Merkmale gehen außer aus den Ansprüchen auch aus der Beschreibung und den Zeichnungen hervor, wobei die einzelnen Merkmale jeweils für sich allein oder zu mehreren in Form von Unterkombinationen bei einer Ausführungsform der Erfindung und auf anderen Gebieten verwirklicht sein und vorteilhafte sowie für sich schutzfähige Ausführungen darstellen können, für die hier Schutz beansprucht wird. Die Unterteilung der Anmeldung in einzelne Abschnitte sowie Zwischen-Überschriften beschränken die unter diesen gemachten Aussagen nicht in ihrer Allgemeingültigkeit.
  • Kurzbeschreibung der Zeichnungen
  • Ausführungsbeispiele der Erfindung sind in den Zeichnungen schematisch dargestellt und werden im folgenden näher erläutert. In den Zeichnungen zeigt:
  • Fig. 1
    eine Kalanderwalze mit Textilbezug, welche durch Drehen mit einer erfindungsgemäßen Oberflächenstrukturierung mit Rillen versehen wird,
    Fig. 2
    alternative Oberflächenstrukturierungen mit Rillen und mit Löchern im Vergleich nebeneinander und
    Fig. 3
    mehrere Teildarstellungen einer Oberfläche beispielsweise einer Kalanderwalze gemäß Fig. 1, mit den verschiedenen Schritten der Bearbeitung.
    Detaillierte Beschreibung der Ausführungsbeispiele
  • In Fig. 1 ist eine Kalanderwalze 11 dargestellt. Diese besteht aus einer Vielzahl von Scheiben 13 aus dem vorgenannten Papier- oder Textilmaterial. Die Scheiben 13 sind auf einen Kern 15, der gleichzeitig Wellenenden aufweist, aufgefädelt. Durch zwei Haltescheiben 17 an dem linken und rechten Ende sind die Papierscheiben 13 zusammengepresst.
  • Im normalen Betrieb bilden sie eine glatte Oberfläche 19, wie links in Fig. 1 zu sehen ist.
  • Zur erfindungsgemäßen Behandlung wird mit einem Schneidwerkzeug 21 entsprechend einem üblichen Drehvorgang die Oberfläche 19 bzw. werden die Scheiben 13 behandelt. Dabei werden Rillen 23 eingeschnitten. Die Rillen 23 verlaufen dabei genau parallel, direkt aneinander anschließend und mit immer gleichem Abstand zueinander genau in Umfangsrichtung auf der Walze 11.
  • Aus der Vergrößerung in Fig. 2 verschiedener Rillenstrukturen ist zu erkennen, wie diese ausgebildet sein können. Sie können, wie ganz links dargestellt, entweder mit weichen Übergängen ausgebildet sein und somit auch weichen bzw. abgerundeten Spitzen 24. Ebenso können sie wie rechts daneben dargestellt, relativ spitzwinklig ausgebildet sein. Die Flanken zwischen Spitzen 24 und tiefstem Punkt der Rillen 23 sind hier vorteilhaft gerade. Dieses ist jedoch nicht zwingend notwendig.
  • Wird mit dem Schneidwerkzeug 21 vorsichtig die Oberfläche 19 der Walze 11 bearbeitet, so werden die einzelnen Scheiben 13 an ihren Außenkanten nicht zerfetzt, sondern relativ glatt geschnitten. Dies bedeutet, dass sie wie ein massives Vollmaterial bearbeitbar sind. Dennoch wird aufgrund der Bearbeitung durch die dadurch gebildete Oberfläche bzw. Gesamtfläche der aneinander anschließenden Außenkanten der Scheiben 13 eine von außen sozusagen geöffnete oder für Flüssigkeit zugängliche Struktur geschaffen. Dieses wird nachfolgend noch näher erläutert.
  • Des weiteren ist in Fig. 2 ganz rechts als weitere Alternative eine Strukturierung dargestellt, wie Löcher bzw. Sackbohrungen 26 in die Oberfläche 19 eingebracht werden können. Dieses kann beispielsweise durch Bohren erfolgen ebenso wie Laserstrahlen oder dergleichen. Des weiteren können die Löcher, wie dargestellt, als reine zylindrische Sackbohrungen ausgeführt sein. Ebenso können sie nach unten enger werdend zulaufen.
  • In Fig. 3 sind in aufgespalteter Darstellung die verschiedenen Schritte dargestellt, um ausgehend von einer mit Rillen 23 versehenen Behandlungseinrichtung, beispielsweise der Kalanderwalze 11 gemäß Fig. 1, den weiteren Schichtaufbau aufzubringen. Dabei wird ausgegangen von einer Struktur der Oberfläche gemäß Fig. 1, bei der die Haltescheiben 17 bereits mit den Rillen 23 versehen sind.
  • Im ersten Schritt gemäß Fig. 1 wird Kunstharz 30 mittels einer Düse 32 aufgebracht. Anstelle der Düse 32 kann auch eine sonstige Auftragvorrichtung vorgesehen sein. Der Auftrag erfolgt so, wie im zweiten Schritt rechts daneben zu sehen ist, dass zumindest die Rillen 23 mit dem Kunstharz 30 einigermaßen gut bedeckt sind, vorteilhaft nicht ganz aufgefüllt sind. Ebenso kann auf die Spitzen 24 bereits zu diesem Zeitpunkt Kunstharz aufgebracht werden. Dies hängt maßgeblich ab vom folgenden Vorgang des Aufbringens der Fasern.
  • Im dritten Schritt in Fig. 3 werden aus einzelnen Fasern 35 bestehende Rovings 34 aufgewickelt. Diese können in einer Art Endlosform aufgebracht werden. Es kann vorgesehen sein, wie durch den Zustand gemäß dem vierten Schritt zu erkennen ist, dass mit den Fasern 35 zuerst die Rillen 23 zwischen Spitzen 24 in etwa aufgefüllt werden. Anschließend wird gemäß dem fünften Schritt erneut Fasermaterial 35, vorteilhaft wieder in Form von Rovings 34, zusammen mit weiterem Kunstharz aufgebracht, diesmal allerdings über die gesamte Oberfläche verteilt. Während hier also im ersten Schritt durch das Fasermaterial 35 die Rillen 23 im Vergleich zu den dazwischen liegenden Spitzen 24 ausgeglichen oder ausgefüllt worden sind, wird nun eine gesamt überdeckende Schicht aus Fasermaterial 35 aufgebracht. Diese dient zur Festigung der Oberfläche der Behandlungseinrichtung oder Walze 11 bzw. der Scheiben 13. Des weiteren kann für einen darauffolgenden Schichtaufbau ein stabilerer und zusammenhängender Unterbau geschaffen werden.
  • Gemäß dem fünften Schritt ist zu erkennen, dass die gesamte Walze 11 mit einer Schicht aus mit Kunstharz 30 getränktem Fasermaterial 35 bedeckt ist. Dabei sollte dieses Aufbringen der Schicht bzw. die Herstellung der Schicht so erfolgen, dass entweder durch Wickeln oder nachträgliche Bearbeitung die Oberfläche bereits einigermaßen gleichmäßig und eben ist.
  • Gemäß dem nächsten sechsten Schritt ist zu sehen, wie auf die fertig ausgehärtete Schicht aus faserverstärktem Kunstharzmaterial ein weiterer Belag 37 aus Polymerwerkstoff aufgebracht werden kann, beispielsweise aus Gummi oder Kunststoff, je nach Verwendungszweck. Dies entspricht jedoch wiederum dem bereits bekannten Verfahren. Hinsichtlich dieser Funktionsschicht 37 aus Polymerwerkstoff verhält sich die Walze aufgrund der stabilen Zwischenschicht aus Fasermaterial 35 jedoch sozusagen neutral bzw. werden ihre Eigenschaften nicht mehr durch den darunter liegenden Aufbau aus Papierscheiben 13 beeinflusst oder geprägt. Vor allem können durch die verbesserte mechanische Verbindung Lasten besser von der Oberfläche auf die darunter liegende Walze 11 übertragen werden.

Claims (17)

  1. Walze (11) für eine Behandlung flacher Materialien durch Druck, wobei sie auf einem harten Unterbau bzw. Walzenkern (15) einen mehrere Zentimeter dicken Belag (13) aus Papier oder Textilmaterial aufweist, wobei der Belag aus einer Vielzahl von einzelnen, dünnen Schichten als Scheiben (13) aus Papier oder Textilmaterial besteht, die auf den Unterbau bzw. Walzenkern (15) aufgefädelt und verdichtet und/oder zusammengepresst sind, gekennzeichnet durch eine Strukturierung des Belags (13), auf welche flüssiger Kunststoff (30) als Klebemittel und darauf eine Stabilisierungsschicht aus Fasermaterial (35) aufgebracht ist, die ebenfalls mit flüssigem Kunststoff (30) getränkt ist.
  2. Walze nach Anspruch 1, dadurch gekennzeichnet, dass sie eine Kalanderwalze (11) ist zum Einsatz mit einer metallenen Gegenwalze, wobei sie vorzugsweise zum Glätten von Papieroberflächen ausgebildet ist.
  3. Walze nach Anspruch 1, dadurch gekennzeichnet, dass Textilmaterial (13) Baumwolle aufweist bzw. daraus besteht.
  4. Walze nach einem der vorhergehenden Ansprüche, dadurch gekennzeichnet, dass die Scheiben (13) mittels Spannmitteln (17) zusammengepresst auf dem Unterbau bzw. Walzenkern (15) gehalten sind.
  5. Walze nach einem der vorhergehenden Ansprüche, dadurch gekennzeichnet, dass die Strukturierung Rillen (23) aufweist, insbesondere mit einer Tiefe von 3mm bis 20mm, wobei vorzugsweise im wesentlichen nur Rillen vorgesehen sind und diese sämtlich mit gleichem Abstand zueinander und eng benachbart angeordnet sind, insbesondere direkt aneinander anschließend.
  6. Walze nach Anspruch 2, dadurch gekennzeichnet, dass die Strukturierung ohne Längsverlauf in Achsrichtung der Walze (11) ausgebildet ist, wobei sie vorzugsweise ausschließlich in Umlaufrichtung verlaufende Rillen (23) aufweist.
  7. Walze nach einem der vorhergehenden Ansprüche, dadurch gekennzeichnet, dass die Strukturierung Löcher (26) aufweist, die insbesondere in etwa gleich groß und/oder gleich verteilt sind.
  8. Walze nach einem der vorhergehenden Ansprüche, dadurch gekennzeichnet, dass das Fasermaterial (35) aus Armierungsfasern besteht und vorzugsweise in Form von Rovings (34) aufgebracht ist, wobei es vorzugsweise eines aus der folgenden Gruppe ist: Glasfaser, Kohlefaser, Aramidfaser, Borfaser.
  9. Walze nach einem der vorhergehenden Ansprüche, dadurch gekennzeichnet, dass die Oberfläche der Stabilisierungsschicht im wesentlichen glatt ist ohne eine Strukturierung, wobei ihre Dicke vorzugsweise einige mm bis wenige cm beträgt.
  10. Walze nach einem der vorhergehenden Ansprüche, dadurch gekennzeichnet, dass auf die Oberfläche der Stabilisierungsschicht ein Überzug (37) aus Polymerwerkstoff, vorzugsweise Kunststoff oder Gummi, aufgebracht ist, insbesondere mit einer Dicke von einigen mm bis wenigen cm.
  11. Verfahren zur Herstellung einer Walze (11) für eine Behandlung flacher Materialien durch Druck, die auf einem harten Unterbau bzw. Walzenkern (15) einen mehrere Zentimeter dicken Belag aus Papier oder Textilmaterial aufweist, wobei der Belag aus einer Vielzahl von einzelnen, dünnen Schichten als Scheiben (13) aus Papier oder Textilmaterial besteht, die auf den Unterbau bzw. Walzenkern (15) aufgefädelt und dann verdichtet und/oder zusammengepresst sind, dadurch gekennzeichnet, dass der Belag (13) an seiner Oberfläche (19) strukturiert wird, wobei er anschließend mit flüssigem Kunststoff (30) als Klebemittel getränkt wird und darauf Fasermaterial (35) aufgebracht wird, welches ebenfalls mit flüssigem Kunststoff (30) getränkt ist und nach Aushärtung eine Stabilisierungsschicht bildet.
  12. Verfahren nach Anspruch 11, dadurch gekennzeichnet, dass zur Strukturierung Rillen (23) aufgebracht werden, die vorzugsweise im wesentlichen gleichen Abstand zueinander aufweisen und gleich groß sind, wobei sie insbesondere jeweils direkt aneinander anschließend aufgebracht werden.
  13. Verfahren nach Anspruch 11 oder 12, dadurch gekennzeichnet, dass durch Drehen der Walze (11) Rillen (23) eingebracht werden, wobei sie vorzugsweise als einzelne Rillen aufgebracht werden mit Verlauf in Umfangsrichtung und nicht als durchgängige einzige Rille nach Art eines Schraubengewindes.
  14. Verfahren nach einem der Ansprüche 11 bis 13, dadurch gekennzeichnet, dass direkt nach dem Aufbringen des Kunststoffs (30) als Klebemittel auf den strukturierten Belag (13) das Fasermaterial (35) aufgebracht wird bevor der Kunststoff verhärtet ist, wobei insbesondere das Fasermaterial ebenfalls mit Kunststoff getränkt aufgebracht wird und vorzugsweise in Form von Rovings (34).
  15. Verfahren nach einem der Ansprüche 11 bis 14, dadurch gekennzeichnet, dass auf jedem Punkt des Belags (13) zumindest wenige mm Schichtdicke von Fasermaterial (35) verlaufen.
  16. Verfahren nach einem der Ansprüche 11 bis 15, dadurch gekennzeichnet, dass das Fasermaterial (35) derart aufgebracht wird, dass anschließend eine im wesentlichen glatte und/oder gleichmäßige Oberfläche der Walze (11) vorliegt.
  17. Verfahren nach einem der Ansprüche 11 bis 16, dadurch gekennzeichnet, dass auf die Oberfläche der Stabilisierungsschicht ein Überzug (37) aus einem Polymerwerkstoff, vorzugsweise Kunststoff oder Gummi, aufgebracht wird, insbesondere mit einer Dicke von einigen mm bis wenigen cm.
EP05007346A 2004-04-15 2005-04-05 Walze zur Behandlung flacher Materialien und Verfahren zur Herstellung dieser Walze Expired - Lifetime EP1586703B1 (de)

Applications Claiming Priority (2)

Application Number Priority Date Filing Date Title
DE102004019306A DE102004019306A1 (de) 2004-04-15 2004-04-15 Oberfläche einer Behandlungseinrichtung und Verfahren zur Herstellung einer solchen Behandlungseinrichtung
DE102004019306 2004-04-15

Publications (2)

Publication Number Publication Date
EP1586703A1 EP1586703A1 (de) 2005-10-19
EP1586703B1 true EP1586703B1 (de) 2009-12-30

Family

ID=34934744

Family Applications (1)

Application Number Title Priority Date Filing Date
EP05007346A Expired - Lifetime EP1586703B1 (de) 2004-04-15 2005-04-05 Walze zur Behandlung flacher Materialien und Verfahren zur Herstellung dieser Walze

Country Status (5)

Country Link
US (1) US7669331B2 (de)
EP (1) EP1586703B1 (de)
AT (1) ATE453753T1 (de)
DE (2) DE102004019306A1 (de)
ES (1) ES2339028T3 (de)

Families Citing this family (6)

* Cited by examiner, † Cited by third party
Publication number Priority date Publication date Assignee Title
DE102006012355B4 (de) * 2006-03-17 2010-02-25 Paul Sauer Gmbh & Co. Walzenfabrik Kg Walze oder Walzenelement mit verstärktem Elastomermantel
CN1948614B (zh) * 2006-10-31 2011-04-20 山东泉林纸业有限责任公司 人造石辊辊面的修补方法
DE102007012102A1 (de) * 2007-03-13 2008-09-18 Polysius Ag Verfahren zur Wiederaufarbeitung einer gebrauchten Mahlwalze
WO2008155442A1 (en) * 2007-06-19 2008-12-24 Metso Paper, Inc. A method of coating a filled roll with composite material, and a filled roll coated with composite material
DE102008011497A1 (de) 2008-02-25 2009-08-27 Schäfer Composites GmbH Walze und Verfahren zur Herstellung einer solchen Walze
DE102008042684A1 (de) * 2008-10-08 2010-04-15 Voith Patent Gmbh Walze

Family Cites Families (21)

* Cited by examiner, † Cited by third party
Publication number Priority date Publication date Assignee Title
US1884104A (en) * 1928-11-08 1932-10-25 American Sheet & Tin Plate Method of resurfacing rolls
US3646651A (en) * 1965-10-29 1972-03-07 Mccreary Tire & Rubber Co Abrasion and corrosion resistant composite structural materials and the like
JPS5936133B2 (ja) * 1979-08-10 1984-09-01 山内ゴム工業株式会社 ポリウレタン・ゴム・ロ−ル及びその製造方法
US4503769A (en) * 1982-06-21 1985-03-12 Armotek Industries, Inc. Metal coated thin wall plastic printing cylinder for rotogravure printing
US4475275A (en) * 1983-03-23 1984-10-09 Edwards William H Method of producing a filled calender roll
US4604778A (en) * 1985-09-20 1986-08-12 Edwards William H Filled calender roll and method of building same
US4866826A (en) * 1987-12-22 1989-09-19 Makoto Koide Method of making squeezing roll and squeezing equipment
US5097596A (en) * 1989-11-07 1992-03-24 Consolidated Papers, Inc. Supercalender roll and method of making same
US5091027A (en) * 1990-08-15 1992-02-25 Yamauchi Corporation Process for producing hard roll
DE4219989C2 (de) * 1992-06-19 1995-11-30 Kleinewefers Gmbh Verfahren zum Herstellen einer Walze mit elastischem Bezug
US5952017A (en) * 1994-12-16 1999-09-14 Taisei Kako Co., Ltd. Pressure roll, and molding apparatus using the pressure roll
DE19511595C2 (de) * 1995-03-29 1997-04-24 Voith Sulzer Finishing Gmbh Kalanderwalze mit einem zylindrischen Basiskörper
US5601920A (en) * 1995-04-06 1997-02-11 Stowe Woodward Licensco, Inc. Covered roll and a method for making the same
DE69703098T2 (de) * 1996-04-04 2001-05-03 Sw Paper, Inc. Roll mit verbundumhüllung und verfahren zu seiner herstellung mit ringformigen spaltschichten
US6409645B1 (en) * 1997-06-13 2002-06-25 Sw Paper Inc. Roll cover
US6375602B1 (en) * 1998-07-23 2002-04-23 Sw Paper Inc. Supercalendar roll with composite cover
DE19925421A1 (de) * 1999-06-02 2000-12-07 Voith Sulzer Papiertech Patent Elastische Walze und Verfahren zum Herstellen einer solchen
US6776744B1 (en) * 1999-07-28 2004-08-17 Advanced Materials Corporation Method for and devices used in covering a roll core with a resin infused fiber reinforced adhesive under layer and a polymeric top layer, the method including the use of an improved mold tape
US6793754B1 (en) * 1999-07-28 2004-09-21 Advanced Materials Corporation Covered roll having an under-layer formed of resin infused densely packed fibers that provides increased strength and adhesion properties
US20020189749A1 (en) * 2000-05-18 2002-12-19 Advanced Materials Corporation Method for making a cover for a roll core having a multiple layer construction and having minimal residual stresses
US7051554B2 (en) * 2003-12-31 2006-05-30 Global Consulting, Inc. Tightening a fiber roll cover

Also Published As

Publication number Publication date
ES2339028T3 (es) 2010-05-14
DE502005008761D1 (de) 2010-02-11
ATE453753T1 (de) 2010-01-15
DE102004019306A1 (de) 2005-11-03
US20050233880A1 (en) 2005-10-20
US7669331B2 (en) 2010-03-02
EP1586703A1 (de) 2005-10-19

Similar Documents

Publication Publication Date Title
DE102014004994B3 (de) Chopperscheibe sowie Vorrichtung und Verfahren zu deren Herstellung
EP3037248B1 (de) Verfahren zur Herstellung eines Sandwichbauteils
AT405950B (de) Pressmantel zur entwässerung einer papierbahn in einem pressspalt einer papiermaschine und verfahren zu seiner herstellung
DE4411620C2 (de) Preßmantel und Verfahren zur Herstellung eines Preßmantels
DE102010050065A1 (de) Blattfeder aus einem Faserverbundwerkstoff mit unterschiedlich langen Faserlagen sowie Verfahren zu deren Herstellung
EP1586703B1 (de) Walze zur Behandlung flacher Materialien und Verfahren zur Herstellung dieser Walze
DE102008057463A1 (de) Feder aus einem Faserverbundwerkstoff sowie Verfahren und Vorrichtung zur Herstellung derselben
DE1807331A1 (de) Mit Polyurethan-Gummi beschichtete Walze und Verfahren zur Herstellung einer solchen Walze
EP1659216B1 (de) Walze für die Herstellung von Bahnmaterial, vorzugsweise für die Entwässerung von Papierstoff
EP2934841A1 (de) Verfahren für die vorbereitung eines halbzeugs aus fasermaterial auf ein nasspressverfahren
DE102008057462B4 (de) Feder aus einem Faserverbundwerkstoff sowie Verfahren und Vorrichtung zur Herstellung derselben
DE19925419A1 (de) Elastische Walze und Verfahren zum Herstellen einer solchen
DE102014106460A1 (de) Textilmaschine
EP2274156B1 (de) Verfahren zur herstellung einer walze für die bearbeitung bandförmigen materiales und nach diesem verfahren hergestellte walze
DE102011075179B4 (de) Zur Herstellung der Konstruktion einer Faserbahnmaschinen-Walze bestimmtes Verfahren, Mantelkonstruktion einer Faserbahnmaschinen-Walze und Walze einer Faserbahnmaschine
DE4317363A1 (de) Drahtführungskörper für eine Drahtziehmaschine und Verfahren zu dessen Herstellung
DE3413409C2 (de) Verfahren und Vorrichtung zum Bereitstellen von Bahnmaterial in Form einer Wickelrolle
WO2020057800A1 (de) Pressmantel, dessen verwendung sowie presswalze, schuhpresse und verwendung eines polyuretans zur herstellung einer polymerschicht eines pressmantels
EP4405524B1 (de) Pressmantel mit als zwirnen ausgebildeten verstärkungsfäden
DE102008011497A1 (de) Walze und Verfahren zur Herstellung einer solchen Walze
WO2022063467A1 (de) Walze, beschichtungsvorrichtung und herstellungsverfahren
DE102023114617A1 (de) Walze und Beschichtungsvorrichtung
DE2050626C3 (de) Walze für Naßpressen in schnellaufenden Papiermaschinen
DE1546304C3 (de) Verfahren zum Glätten von mit thermoplastischen Bindemitteln gestrichenen Papierbahnen
DE2438337A1 (de) Verfahren und vorrichtung zum festen aufbringen eines elastischen belages auf einen metallkern einer walze

Legal Events

Date Code Title Description
PUAI Public reference made under article 153(3) epc to a published international application that has entered the european phase

Free format text: ORIGINAL CODE: 0009012

AK Designated contracting states

Kind code of ref document: A1

Designated state(s): AT BE BG CH CY CZ DE DK EE ES FI FR GB GR HU IE IS IT LI LT LU MC NL PL PT RO SE SI SK TR

AX Request for extension of the european patent

Extension state: AL BA HR LV MK YU

17P Request for examination filed

Effective date: 20060330

AKX Designation fees paid

Designated state(s): AT BE BG CH CY CZ DE DK EE ES FI FR GB GR HU IE IS IT LI LT LU MC NL PL PT RO SE SI SK TR

17Q First examination report despatched

Effective date: 20080619

GRAP Despatch of communication of intention to grant a patent

Free format text: ORIGINAL CODE: EPIDOSNIGR1

RTI1 Title (correction)

Free format text: ROLL FOR PROCESSING A FLAT MATERIAL AND PROCESS FOR MAKING SUCH A PROCESSING ROLL

GRAS Grant fee paid

Free format text: ORIGINAL CODE: EPIDOSNIGR3

GRAA (expected) grant

Free format text: ORIGINAL CODE: 0009210

AK Designated contracting states

Kind code of ref document: B1

Designated state(s): AT BE BG CH CY CZ DE DK EE ES FI FR GB GR HU IE IS IT LI LT LU MC NL PL PT RO SE SI SK TR

REG Reference to a national code

Ref country code: GB

Ref legal event code: FG4D

Free format text: NOT ENGLISH

REG Reference to a national code

Ref country code: CH

Ref legal event code: EP

REG Reference to a national code

Ref country code: IE

Ref legal event code: FG4D

REF Corresponds to:

Ref document number: 502005008761

Country of ref document: DE

Date of ref document: 20100211

Kind code of ref document: P

REG Reference to a national code

Ref country code: CH

Ref legal event code: NV

Representative=s name: ZIMMERLI, WAGNER & PARTNER AG

REG Reference to a national code

Ref country code: SE

Ref legal event code: TRGR

PG25 Lapsed in a contracting state [announced via postgrant information from national office to epo]

Ref country code: LT

Free format text: LAPSE BECAUSE OF FAILURE TO SUBMIT A TRANSLATION OF THE DESCRIPTION OR TO PAY THE FEE WITHIN THE PRESCRIBED TIME-LIMIT

Effective date: 20091230

REG Reference to a national code

Ref country code: ES

Ref legal event code: FG2A

Ref document number: 2339028

Country of ref document: ES

Kind code of ref document: T3

LTIE Lt: invalidation of european patent or patent extension

Effective date: 20091230

PG25 Lapsed in a contracting state [announced via postgrant information from national office to epo]

Ref country code: SI

Free format text: LAPSE BECAUSE OF FAILURE TO SUBMIT A TRANSLATION OF THE DESCRIPTION OR TO PAY THE FEE WITHIN THE PRESCRIBED TIME-LIMIT

Effective date: 20091230

Ref country code: PL

Free format text: LAPSE BECAUSE OF FAILURE TO SUBMIT A TRANSLATION OF THE DESCRIPTION OR TO PAY THE FEE WITHIN THE PRESCRIBED TIME-LIMIT

Effective date: 20091230

REG Reference to a national code

Ref country code: IE

Ref legal event code: FD4D

PG25 Lapsed in a contracting state [announced via postgrant information from national office to epo]

Ref country code: IS

Free format text: LAPSE BECAUSE OF FAILURE TO SUBMIT A TRANSLATION OF THE DESCRIPTION OR TO PAY THE FEE WITHIN THE PRESCRIBED TIME-LIMIT

Effective date: 20100430

Ref country code: RO

Free format text: LAPSE BECAUSE OF FAILURE TO SUBMIT A TRANSLATION OF THE DESCRIPTION OR TO PAY THE FEE WITHIN THE PRESCRIBED TIME-LIMIT

Effective date: 20091230

Ref country code: PT

Free format text: LAPSE BECAUSE OF FAILURE TO SUBMIT A TRANSLATION OF THE DESCRIPTION OR TO PAY THE FEE WITHIN THE PRESCRIBED TIME-LIMIT

Effective date: 20100430

Ref country code: EE

Free format text: LAPSE BECAUSE OF FAILURE TO SUBMIT A TRANSLATION OF THE DESCRIPTION OR TO PAY THE FEE WITHIN THE PRESCRIBED TIME-LIMIT

Effective date: 20091230

Ref country code: BG

Free format text: LAPSE BECAUSE OF FAILURE TO SUBMIT A TRANSLATION OF THE DESCRIPTION OR TO PAY THE FEE WITHIN THE PRESCRIBED TIME-LIMIT

Effective date: 20100330

PG25 Lapsed in a contracting state [announced via postgrant information from national office to epo]

Ref country code: CZ

Free format text: LAPSE BECAUSE OF FAILURE TO SUBMIT A TRANSLATION OF THE DESCRIPTION OR TO PAY THE FEE WITHIN THE PRESCRIBED TIME-LIMIT

Effective date: 20091230

Ref country code: SK

Free format text: LAPSE BECAUSE OF FAILURE TO SUBMIT A TRANSLATION OF THE DESCRIPTION OR TO PAY THE FEE WITHIN THE PRESCRIBED TIME-LIMIT

Effective date: 20091230

PGFP Annual fee paid to national office [announced via postgrant information from national office to epo]

Ref country code: IT

Payment date: 20100428

Year of fee payment: 6

Ref country code: NL

Payment date: 20100510

Year of fee payment: 6

PG25 Lapsed in a contracting state [announced via postgrant information from national office to epo]

Ref country code: CY

Free format text: LAPSE BECAUSE OF FAILURE TO SUBMIT A TRANSLATION OF THE DESCRIPTION OR TO PAY THE FEE WITHIN THE PRESCRIBED TIME-LIMIT

Effective date: 20091230

Ref country code: IE

Free format text: LAPSE BECAUSE OF FAILURE TO SUBMIT A TRANSLATION OF THE DESCRIPTION OR TO PAY THE FEE WITHIN THE PRESCRIBED TIME-LIMIT

Effective date: 20091230

Ref country code: GR

Free format text: LAPSE BECAUSE OF FAILURE TO SUBMIT A TRANSLATION OF THE DESCRIPTION OR TO PAY THE FEE WITHIN THE PRESCRIBED TIME-LIMIT

Effective date: 20100331

PGFP Annual fee paid to national office [announced via postgrant information from national office to epo]

Ref country code: CH

Payment date: 20100428

Year of fee payment: 6

PLBE No opposition filed within time limit

Free format text: ORIGINAL CODE: 0009261

STAA Information on the status of an ep patent application or granted ep patent

Free format text: STATUS: NO OPPOSITION FILED WITHIN TIME LIMIT

PG25 Lapsed in a contracting state [announced via postgrant information from national office to epo]

Ref country code: MC

Free format text: LAPSE BECAUSE OF NON-PAYMENT OF DUE FEES

Effective date: 20100430

PGFP Annual fee paid to national office [announced via postgrant information from national office to epo]

Ref country code: GB

Payment date: 20100428

Year of fee payment: 6

Ref country code: SE

Payment date: 20100428

Year of fee payment: 6

26N No opposition filed

Effective date: 20101001

PG25 Lapsed in a contracting state [announced via postgrant information from national office to epo]

Ref country code: DK

Free format text: LAPSE BECAUSE OF FAILURE TO SUBMIT A TRANSLATION OF THE DESCRIPTION OR TO PAY THE FEE WITHIN THE PRESCRIBED TIME-LIMIT

Effective date: 20091230

REG Reference to a national code

Ref country code: NL

Ref legal event code: V1

Effective date: 20111101

REG Reference to a national code

Ref country code: SE

Ref legal event code: EUG

REG Reference to a national code

Ref country code: CH

Ref legal event code: PL

GBPC Gb: european patent ceased through non-payment of renewal fee

Effective date: 20110405

PG25 Lapsed in a contracting state [announced via postgrant information from national office to epo]

Ref country code: CH

Free format text: LAPSE BECAUSE OF NON-PAYMENT OF DUE FEES

Effective date: 20110430

Ref country code: NL

Free format text: LAPSE BECAUSE OF NON-PAYMENT OF DUE FEES

Effective date: 20111101

Ref country code: LI

Free format text: LAPSE BECAUSE OF NON-PAYMENT OF DUE FEES

Effective date: 20110430

PG25 Lapsed in a contracting state [announced via postgrant information from national office to epo]

Ref country code: IT

Free format text: LAPSE BECAUSE OF NON-PAYMENT OF DUE FEES

Effective date: 20110405

Ref country code: GB

Free format text: LAPSE BECAUSE OF NON-PAYMENT OF DUE FEES

Effective date: 20110405

PG25 Lapsed in a contracting state [announced via postgrant information from national office to epo]

Ref country code: HU

Free format text: LAPSE BECAUSE OF FAILURE TO SUBMIT A TRANSLATION OF THE DESCRIPTION OR TO PAY THE FEE WITHIN THE PRESCRIBED TIME-LIMIT

Effective date: 20100701

Ref country code: LU

Free format text: LAPSE BECAUSE OF NON-PAYMENT OF DUE FEES

Effective date: 20100405

PG25 Lapsed in a contracting state [announced via postgrant information from national office to epo]

Ref country code: TR

Free format text: LAPSE BECAUSE OF FAILURE TO SUBMIT A TRANSLATION OF THE DESCRIPTION OR TO PAY THE FEE WITHIN THE PRESCRIBED TIME-LIMIT

Effective date: 20091230

PG25 Lapsed in a contracting state [announced via postgrant information from national office to epo]

Ref country code: SE

Free format text: LAPSE BECAUSE OF NON-PAYMENT OF DUE FEES

Effective date: 20110406

PGFP Annual fee paid to national office [announced via postgrant information from national office to epo]

Ref country code: ES

Payment date: 20140417

Year of fee payment: 10

REG Reference to a national code

Ref country code: FR

Ref legal event code: PLFP

Year of fee payment: 12

REG Reference to a national code

Ref country code: ES

Ref legal event code: FD2A

Effective date: 20160526

PG25 Lapsed in a contracting state [announced via postgrant information from national office to epo]

Ref country code: ES

Free format text: LAPSE BECAUSE OF NON-PAYMENT OF DUE FEES

Effective date: 20150406

REG Reference to a national code

Ref country code: FR

Ref legal event code: PLFP

Year of fee payment: 13

REG Reference to a national code

Ref country code: FR

Ref legal event code: PLFP

Year of fee payment: 14

PGFP Annual fee paid to national office [announced via postgrant information from national office to epo]

Ref country code: FR

Payment date: 20230417

Year of fee payment: 19

Ref country code: DE

Payment date: 20230420

Year of fee payment: 19

PGFP Annual fee paid to national office [announced via postgrant information from national office to epo]

Ref country code: FI

Payment date: 20230417

Year of fee payment: 19

Ref country code: AT

Payment date: 20230414

Year of fee payment: 19

PGFP Annual fee paid to national office [announced via postgrant information from national office to epo]

Ref country code: BE

Payment date: 20230417

Year of fee payment: 19

REG Reference to a national code

Ref country code: DE

Ref legal event code: R119

Ref document number: 502005008761

Country of ref document: DE

REG Reference to a national code

Ref country code: AT

Ref legal event code: MM01

Ref document number: 453753

Country of ref document: AT

Kind code of ref document: T

Effective date: 20240405

REG Reference to a national code

Ref country code: BE

Ref legal event code: MM

Effective date: 20240430

PG25 Lapsed in a contracting state [announced via postgrant information from national office to epo]

Ref country code: DE

Free format text: LAPSE BECAUSE OF NON-PAYMENT OF DUE FEES

Effective date: 20241105

PG25 Lapsed in a contracting state [announced via postgrant information from national office to epo]

Ref country code: BE

Free format text: LAPSE BECAUSE OF NON-PAYMENT OF DUE FEES

Effective date: 20240430

Ref country code: FI

Free format text: LAPSE BECAUSE OF NON-PAYMENT OF DUE FEES

Effective date: 20240405

PG25 Lapsed in a contracting state [announced via postgrant information from national office to epo]

Ref country code: FR

Free format text: LAPSE BECAUSE OF NON-PAYMENT OF DUE FEES

Effective date: 20240430

PG25 Lapsed in a contracting state [announced via postgrant information from national office to epo]

Ref country code: AT

Free format text: LAPSE BECAUSE OF NON-PAYMENT OF DUE FEES

Effective date: 20240405

PG25 Lapsed in a contracting state [announced via postgrant information from national office to epo]

Ref country code: FR

Free format text: LAPSE BECAUSE OF NON-PAYMENT OF DUE FEES

Effective date: 20240430

Ref country code: FI

Free format text: LAPSE BECAUSE OF NON-PAYMENT OF DUE FEES

Effective date: 20240405

Ref country code: DE

Free format text: LAPSE BECAUSE OF NON-PAYMENT OF DUE FEES

Effective date: 20241105

Ref country code: BE

Free format text: LAPSE BECAUSE OF NON-PAYMENT OF DUE FEES

Effective date: 20240430

Ref country code: AT

Free format text: LAPSE BECAUSE OF NON-PAYMENT OF DUE FEES

Effective date: 20240405