EP1569250A2 - Messwandler und Anordnung mit einem elektrischen Gerät - Google Patents

Messwandler und Anordnung mit einem elektrischen Gerät Download PDF

Info

Publication number
EP1569250A2
EP1569250A2 EP05100925A EP05100925A EP1569250A2 EP 1569250 A2 EP1569250 A2 EP 1569250A2 EP 05100925 A EP05100925 A EP 05100925A EP 05100925 A EP05100925 A EP 05100925A EP 1569250 A2 EP1569250 A2 EP 1569250A2
Authority
EP
European Patent Office
Prior art keywords
housing
transducer
electrical device
current transformer
converter
Prior art date
Legal status (The legal status is an assumption and is not a legal conclusion. Google has not performed a legal analysis and makes no representation as to the accuracy of the status listed.)
Withdrawn
Application number
EP05100925A
Other languages
English (en)
French (fr)
Other versions
EP1569250A3 (de
Inventor
Markus Meier
Current Assignee (The listed assignees may be inaccurate. Google has not performed a legal analysis and makes no representation or warranty as to the accuracy of the list.)
Siemens AG
Siemens Corp
Original Assignee
Siemens AG
Siemens Corp
Priority date (The priority date is an assumption and is not a legal conclusion. Google has not performed a legal analysis and makes no representation as to the accuracy of the date listed.)
Filing date
Publication date
Application filed by Siemens AG, Siemens Corp filed Critical Siemens AG
Publication of EP1569250A2 publication Critical patent/EP1569250A2/de
Publication of EP1569250A3 publication Critical patent/EP1569250A3/de
Withdrawn legal-status Critical Current

Links

Images

Classifications

    • HELECTRICITY
    • H01ELECTRIC ELEMENTS
    • H01FMAGNETS; INDUCTANCES; TRANSFORMERS; SELECTION OF MATERIALS FOR THEIR MAGNETIC PROPERTIES
    • H01F27/00Details of transformers or inductances, in general
    • H01F27/06Mounting, supporting or suspending transformers, reactors or choke coils not being of the signal type
    • HELECTRICITY
    • H01ELECTRIC ELEMENTS
    • H01FMAGNETS; INDUCTANCES; TRANSFORMERS; SELECTION OF MATERIALS FOR THEIR MAGNETIC PROPERTIES
    • H01F27/00Details of transformers or inductances, in general
    • H01F27/02Casings
    • HELECTRICITY
    • H01ELECTRIC ELEMENTS
    • H01FMAGNETS; INDUCTANCES; TRANSFORMERS; SELECTION OF MATERIALS FOR THEIR MAGNETIC PROPERTIES
    • H01F38/00Adaptations of transformers or inductances for specific applications or functions
    • H01F38/20Instruments transformers
    • H01F38/22Instruments transformers for single phase AC
    • H01F38/28Current transformers
    • H01F38/30Constructions
    • HELECTRICITY
    • H01ELECTRIC ELEMENTS
    • H01FMAGNETS; INDUCTANCES; TRANSFORMERS; SELECTION OF MATERIALS FOR THEIR MAGNETIC PROPERTIES
    • H01F38/00Adaptations of transformers or inductances for specific applications or functions
    • H01F38/20Instruments transformers
    • H01F38/22Instruments transformers for single phase AC
    • H01F38/28Current transformers
    • H01F38/30Constructions
    • H01F2038/305Constructions with toroidal magnetic core
    • HELECTRICITY
    • H01ELECTRIC ELEMENTS
    • H01FMAGNETS; INDUCTANCES; TRANSFORMERS; SELECTION OF MATERIALS FOR THEIR MAGNETIC PROPERTIES
    • H01F27/00Details of transformers or inductances, in general
    • H01F27/28Coils; Windings; Conductive connections
    • H01F27/30Fastening or clamping coils, windings, or parts thereof together; Fastening or mounting coils or windings on core, casing, or other support
    • H01F27/306Fastening or mounting coils or windings on core, casing or other support

Definitions

  • the invention relates to a measuring transducer, in particular current transformer, for an electrical device.
  • a measuring transducer in particular current transformer
  • an arrangement with such a transducer and an electrical device in particular current transformer
  • Instrument transformers are transformers for connecting measuring instruments. To voltage converters, as they are usually in high voltage systems used to connect the connected meters protect voltmeters are connected. Power converter, as they are mostly used in low-voltage systems, serve the connection of ammeters.
  • As information provider of the current transformer serves a coil which is a conductor concentrically surrounds an electrical device. by virtue of of the current flowing in the current conductor primary current is in the coil a voltage induces a secondary current as a measurement signal entails. In other words, one becomes the input AC proportional and according to the gear ratio lower output alternating current generated.
  • Such current transformers find u. a. in modern switching devices, such as motor protection relays or soft starters, Use.
  • the current transformers provide information about the operating current to the switching device, which thereby in the Location is moved, for example, in addition to its original tasks also to take over motor protection functions.
  • the converters are glued into the housing of the switching device.
  • the gluing takes place at the beginning of the assembly process, so that a later change of the current transformer type, For example, the use of a smaller size for a lower rated current, not possible.
  • the object of the invention is to provide a simple yet secure Attaching a transducer to an electrical Device to allow. This task is performed by a transducer according to claim 1 or by an arrangement according to claim 6 solved.
  • a basic idea of the invention is to provide a measuring transducer in one Transducer housing accommodate, without the use of additional Connection components, such as screws, for a direct connection to the device housing of a electrical device, such as a switching device, is trained.
  • a direct connection to the device housing of a electrical device, such as a switching device.
  • both the converter housing of the transducer as well as the device housing of the electrical device have corresponding connecting elements, which cooperate in the final assembly state and a safe Ensure connection of transducer and electrical device.
  • These fasteners are according to the invention designed to form a snap or snap connection. This means that the transducer with the electric Device by simply plugging in, plugging in or plugging in is connected. Elaborate glands or other additional fastening devices are not required.
  • Instrument transformer simply connected from the outside to the electrical device can be. Because of this easy mountability on the outside of the device is a mounting of the transducer possible at the end of the assembly process, so depending on the desired Purpose different current transformer types can be mounted.
  • the Fastening elements designed such that the connection between the converter housing and the device housing by at least one Latching or snap-action nose is ensured, which with a corresponding fastener forms a rear handle. It has turned out to be particularly advantageous when the latching or snap-action nose is arranged on the device housing is while the counterpart, for example in shape a locking projection or a recess on the converter housing located. Since during assembly most of the transducer in Direction is directed to the electrical device is thus a particularly secure installation possible. Especially advantageous in this context it is when the catch or snap nose and / or the latching projections or recesses run-on slopes for easier locking.
  • the device housing has in a further embodiment of the Invention, a receiving opening in which the converter housing rests in the final assembled state.
  • the Instrument transformer for attachment to the electrical device in the Device housing introduced. It is particularly advantageous when complete insertion takes place so that the transducer in the final assembled state with the surface of the switching device essentially flush. This will be a even housing surface achieved, the one particularly flexible installation of the electrical device in different Mounting environments allows.
  • the converter housing on the side, which when mounting on the electrical device to show, at least partially open.
  • the converter housing at least part of the Transducer, preferably the coil in the transducer housing, does not completely enclose. This saves material and associated weight reduction possible.
  • the opening in the converter housing is according to another embodiment the invention by a corresponding part closed the device housing in the final assembled state. With others Words only becomes by connecting the two housings the transducer completely enclosed. Closing the opening the converter housing serves at the same time for the production a sufficient voltage gap between the transducer coil and the corresponding power conductor of the electrical device.
  • the Device housing clamping ribs for forming a tight fit of the Converter housing in the final assembled state. This will be a Particularly firm and play-free fit of the converter housing in Device housing ensured. This is required to get one Housing wear due to vibration, as due to the high Mass of the converter can occur, to avoid.
  • the Transducer housing a formed like a bag housing element on, which for leading out a connecting line for connecting the transducer to measuring instruments, where the measuring or evaluation unit preferably in the electrical device is located.
  • the housing pocket on the converter housing is assigned a corresponding receptacle in the device housing.
  • the housing pocket also serves as a backup, so that a wrong construction of the transducer in the electrical device is excluded.
  • the Transducer housing also has a mounting element for attaching a Accessory on.
  • a mounting element for attaching a Accessory on. This may be, for example, a Cover to ensure protection against contact or act like that.
  • the converter housing 3 which preferably consists of a Plastic material is made essentially consists from a cylindrical base element 4, in which the transducer components glued or poured.
  • the converter housing 3 has an approximately centrally disposed Through opening 5 for a busbar 6 of the switching device 2 on.
  • the passage opening 5 closes in the mounted position the switching device 2 opposite front side 7 of Transducer housing 3 with a slot-shaped Ausfuelö réelle 8 from. Above and below the Austechnologyö réelle 8 are in the converter housing Breakthroughs 9 provided for a cooling air flow.
  • the current transformer 1 in Mounting direction 10 parallel to the busbar 6 on the Switching device 2 to led.
  • a pocket-shaped Housing element On the lateral surface 11 of the base member 4 is a pocket-shaped Housing element molded.
  • This case 12 has a rectangular plan and runs from the Front 7 of the converter housing 3 to the opposite, to the switching device 2 facing back 13 of the Transducer housing 3.
  • the front side 14 of the housing pocket 12 is over with the lateral surface 11 of the base member 4 via Side surfaces 15 connected.
  • At the back of the converter housing 13 3 facing ends of these side surfaces 15 are transverse to the mounting direction 10 facing locking projections 16 in Formed by webs.
  • Switching device side have this Latching projections 16 chamfers 17 on.
  • the towards the exit opening 8 facing front side 20 of the web 19 has a fastening hooks serving bar 21, while at the opposite Rear 22 of the web support struts 23 for reinforcement of the web 19 are formed.
  • the converter housing 3 is open on the switching device side.
  • the coil 24 of the current transformer 1 lies in the base element 4 and is on one towards the exit opening 8 slightly tapered bobbins 25 with circular Cross section arranged.
  • the circular insertion opening 26 of the bobbin 25 forms the rear end of the Through opening 5 for the busbar. 6
  • the housing pocket 12 is also open on the back. It serves to lead out a connecting line 27th with an electrical connector 28 for connection of the current transformer 1 to a control assembly (not shown) of the switching device 2 is used.
  • a further, smaller housing pocket 29 is formed on the housing pocket 12 opposite side of the base member 4. This serves for a better management of the current transformer 1 when installed in the switching device 2.
  • a substantially circular receiving opening 32 for complete recording of the current transformer 1 is provided in the housing wall 30 of the device housing 31 of the switching device 2 .
  • a truncated conical dome 33 as a counterpart to the coil carrier 25 arranged in the converter housing 3.
  • the dome 33 has a Shooting mount 34 for the busbar 6, which in 3 is not yet mounted.
  • the receiving opening 32 also has a laterally arranged, rectangular recess 37 for receiving the first housing pocket 12 and one on the opposite Side arranged rectangular recess 38 for receiving the second housing pocket 29, which also serves as a hedge serve.
  • a resilient latching hook 40 On the narrow sides 39 of the recess 37 for the first housing pocket 12 is arranged in each case a resilient latching hook 40, the at his pointing in the direction of the device interior end has a latch 41. They show with run-on slopes 42 provided locking lugs 41 toward each other in the recess 32 inside.
  • the device housing 31 in the area of his Receiving opening 32 a passage (not shown) for coming from the housing pocket 12 of the converter housing 3 Connecting line 27 and a corresponding mating connector (not shown).
  • FIG 4 A further detailed representation of the receiving opening 32 and a Latching hook 40 gives FIG 4, in which a current transformer 1 at Insertion into the receiving opening 32 of a switching device 2 is shown.
  • FIG. 5 finally gives a perspective view Switching device 2 with three busbars, taking on the viewer removed, rear busbar already a first Current transformer 1 'is placed.
  • This first current transformer 1 ' is in its final assembly position, in which its front 7 'with the surface 43 of the device housing 31 terminates. Only the one from the front 7 'of the current transformer 1 'projecting web 19' protrudes with fastening hooks out.
  • the middle busbar 44 remains free.
  • the viewer nearest arranged busbar 6 is just a current transformer 1 is placed.
  • the two out of the housing surface 43 protruding webs 19, 19 'then form a fastening device for a cover in the form of a contact protection cap or the like (not shown).

Landscapes

  • Engineering & Computer Science (AREA)
  • Power Engineering (AREA)
  • Transformers For Measuring Instruments (AREA)
  • Measuring Instrument Details And Bridges, And Automatic Balancing Devices (AREA)

Abstract

Die Erfindung betrifft einen Messwandler (1), insbesondere Stromwandler, für ein elektrisches Gerät (2) und eine Anordnung mit einem solchen Messwandler (1) und einem elektrischen Gerät (2). Um eine einfache und dennoch sichere Befestigung eines Messwandlers (1) an einem elektrischen Gerät (2) zu ermöglichen wird vorgeschlagen, Wandlergehäuse (3) und Gerätegehäuse (31) derart auszugestalten, dass Messwandler (1) und elektrisches Gerät (2) unter Ausbildung einer Rast- oder Schnappverbindung miteinander verbunden werden können.

Description

Die Erfindung betrifft einen Messwandler, insbesondere Stromwandler, für ein elektrisches Gerät. Darüber hinaus betrifft die Erfindung eine Anordnung mit einem solchen Messwandler und einem elektrischen Gerät.
Messwandler sind Transformatoren zum Anschluss von Messgeräten. An Spannungswandler, wie sie zumeist in Hochspannungsanlagen verwendet werden, um die angeschlossenen Messgeräte zu schützen, werden Spannungsmesser angeschlossen. Stromwandler, wie sie zumeist in Niederspannungsanlagen verwendet werden, dienen dem Anschluss von Strommessern. Als Informationsgeber des Stromwandlers dient dabei eine Spule, die einen Stromleiter eines elektrischen Gerätes konzentrisch umgibt. Aufgrund des im Stromleiter fließenden Primärstroms wird in der Spule eine Spannung induziert, die einen Sekundärstrom als Messsignal zur Folge hat. Mit anderen Worten wird ein zum Eingangswechselstrom proportionaler und entsprechend dem Übersetzungsverhältnis niedrigerer Ausgangswechselstrom erzeugt. Derartige Stromwandler finden u. a. in modernen Schaltgeräten, wie beispielsweise Motorschutzrelais oder Sanftstartern, Verwendung. Die Stromwandler liefern dabei Informationen über den Betriebsstrom an das Schaltgerät, welches dadurch in die Lage versetzt wird, neben seinen ursprünglichen Aufgaben beispielsweise auch Motorschutzfunktionen zu übernehmen.
Bei den derzeit mit Stromwandlern ausgerüsteten Schaltgeräten werden die Wandler in das Gehäuse des Schaltgerätes eingeklebt. Das Einkleben erfolgt dabei zu Beginn des Montageprozesses, so dass eine spätere Änderung des Stromwandlertyps, beispielsweise der Einsatz einer kleineren Baugröße für einen geringeren Nennstrom, nicht möglich ist.
Darüber hinaus ist es bekannt, Stromwandler in einem Wandlergehäuse anzuordnen und dieses Wandlergehäuse mittels einer Schraubverbindung mit dem Gehäuse des Schaltgerätes zu verbinden. Damit ist zwar eine Montage des Stromwandlers zu einem späteren Zeitpunkt im Montageprozess möglich. Die Art der Befestigung ist jedoch vergleichsweise zeitaufwändig und damit teuer.
Aufgabe der Erfindung ist es, eine einfache und dennoch sichere Befestigung eines Messwandlers an einem elektrischen Gerät zu ermöglichen. Diese Aufgabe wird durch einen Messwandler nach Anspruch 1 bzw. durch eine Anordnung nach Anspruch 6 gelöst.
Eine Grundidee der Erfindung ist es, einen Messwandler in einem Wandlergehäuse unterzubringen, das ohne Verwendung zusätzlicher Verbindungskomponenten, wie beispielsweise Schrauben, für eine direkte Verbindung mit dem Gerätegehäuse eines elektrischen Gerätes, beispielsweise eines Schaltgerätes, ausgebildet ist. Hierzu ist vorgesehen, dass sowohl das Wandlergehäuse des Messwandlers als auch das Gerätegehäuse des elektrischen Gerätes entsprechende Verbindungselemente aufweisen, die im Montageendzustand zusammenwirken und eine sichere Verbindung von Messwandler und elektrischem Gerät gewährleisten. Diese Befestigungselemente sind erfindungsgemäß zur Ausbildung einer Rast- oder Schnappverbindung ausgebildet. Dies bedeutet, dass der Messwandler mit dem elektrischen Gerät durch einfaches Aufstecken, Anstecken oder Hineinstecken verbunden wird. Aufwändige Verschraubungen oder andere zusätzliche Befestigungsvorrichtungen sind nicht erforderlich.
Eine weitere Grundidee der Erfindung besteht darin, dass der Messwandler einfach von außen mit dem elektrischen Gerät verbunden werden kann. Aufgrund dieser einfachen Montierbarkeit an der Geräteaußenseite ist eine Befestigung des Messwandlers am Ende des Montageprozesses möglich, so dass je nach dem gewünschten Einsatzzweck unterschiedliche Stromwandlertypen montiert werden können.
Vorteilhafte Ausführungsformen der Erfindung ergeben sich aus den Unteransprüchen.
In einer bevorzugten Ausführungsform der Erfindung sind die Befestigungselemente derart ausgebildet, dass die Verbindung zwischen Wandlergehäuse und Gerätegehäuse durch zumindest eine Rast- oder Schnappnase sichergestellt wird, die mit einem entsprechenden Befestigungselement einen Hintergriff ausbildet. Als besonders vorteilhaft hat sich dabei herausgestellt, wenn die Rast- oder Schnappnase an dem Gerätegehäuse angeordnet ist, während sich das Gegenstück, beispielsweise in Form eines Rastvorsprungs oder einer Rastausnehmung am Wandlergehäuse befindet. Da bei der Montage zumeist der Messwandler in Richtung auf das elektrische Gerät geführt wird, ist somit eine besonders sichere Montage möglich. Besonders vorteilhaft in diesem Zusammenhang ist es, wenn die Rast- oder Schnappnase und/oder die Rastvorsprünge oder -ausnehmungen Anlaufschrägen für eine einfachere Verrastung aufweisen. Sind die Rast- oder Schnappnasen an zumindest teilweise federnden Befestigungsarmen angebracht, so ist eine besonders freie Gestaltung der jeweiligen Gehäuseteile möglich, da die derart gebildeten Rast- bzw. Schnapphaken aufgrund ihrer flexiblen Positionierung am Gehäuse die Ausbildung einer Rast- oder Schnappverbindung an verschiedenen Gehäusepositionen ermöglichen.
Das Gerätegehäuse weist in einer weiteren Ausführungsform der Erfindung eine Aufnahmeöffnung auf, in der das Wandlergehäuse im Montageendzustand einliegt. Mit anderen Worten wird der Messwandler zur Befestigung mit dem elektrischen Gerät in das Gerätegehäuse eingeführt. Besonders vorteilhaft ist es dabei, wenn ein vollständiges Einführen erfolgt, so dass der Messwandler im Montageendzustand mit der Oberfläche des Schaltgerätes im Wesentlichen bündig abschließt. Hierdurch wird eine gleichmäßige Gehäuseoberfläche erzielt, die einen besonders flexiblen Einbau des elektrischen Gerätes in unterschiedliche Montageumgebungen ermöglicht.
In einer weiteren Ausführungsform der Erfindung ist das Wandlergehäuse an der Seite, welche bei der Montage auf das elektrische Gerät zu zeigt, zumindest teilweise offen. Dies bedeutet, dass das Wandlergehäuse zumindest einen Teil des Wandlers, vorzugsweise die im Wandlergehäuse einliegende Spule, nicht vollständig umschließt. Hierdurch ist eine Materialeinsparung und damit verbunden eine Gewichtsreduzierung möglich.
Die Öffnung im Wandlergehäuse wird gemäß einer weiteren Ausführungsform der Erfindung durch einen entsprechenden Teil des Gerätegehäuses im Montageendzustand verschlossen. Mit anderen Worten wird erst durch das Verbinden der beiden Gehäuse der Wandler vollständig umschlossen. Das Schließen der Öffnung des Wandlergehäuses dient dabei zugleich zur Herstellung eines ausreichenden Spannungsabstandes zwischen der Wandlerspule und dem entsprechenden Stromleiter des elektrischen Gerätes.
Gemäß einer weiteren Ausführungsform der Erfindung weist das Gerätegehäuse Klemmrippen zur Ausbildung eines Festsitzes des Wandlergehäuses im Montageendzustand auf. Hierdurch wird ein besonders fester und spielfreier Sitz des Wandlergehäuses im Gerätegehäuse sichergestellt. Dies ist erforderlich, um einen Gehäuseverschleiß durch Vibrationen, wie sie aufgrund der hohen Masse des Wandlers auftreten können, zu vermeiden.
In einer weiteren Ausführungsform der Erfindung weist das Wandlergehäuse ein nach Art einer Tasche ausgebildetes Gehäuseelement auf, welches zum Herausführen einer Anschlussleitung zum Anschluss des Messwandlers an Messgeräte dient, wobei sich die Mess- bzw. Auswerteeinheit vorzugsweise in dem elektrischen Gerät befindet. Der Gehäusetasche am Wandlergehäuse ist eine entsprechende Aufnahme im Gerätegehäuse zugeordnet. Die Gehäusetasche dient gleichzeitig als Verstecksicherung, so dass ein Falscheinbau des Messwandlers in das elektrische Gerät ausgeschlossen ist.
In einer weiteren Ausführungsform der Erfindung weist das Wandlergehäuse zudem ein Montageelement zur Befestigung eines Zubehörteils auf. Hierbei kann es sich beispielsweise um eine Abdeckung zur Sicherstellung eines Berührungsschutzes oder ähnliches handeln.
Die vorliegende Erfindung wird nachfolgend anhand von Ausführungsbeispielen beschrieben, die mit Hilfe von Zeichnungen näher erläutert werden. Hierbei zeigen:
FIG 1
eine erste Detailansicht eines Stromwandlers,
FIG 2
eine zweite Detailansicht eines Stromwandlers,
FIG 3
eine erste Detailansicht einer Gerätegehäuses,
FIG 4
eine zweite Detailansicht eines Gerätegehäuses,
FIG 5
eine Ansicht eines ersten Stromwandlers in Montageendstellung und eines zweiten Stromwandlers.
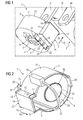
FIG 1 zeigt einen erfindungsgemäßen Stromwandler 1 in Montageposition, kurz vor der Befestigung an einem elektronischen Schaltgerät 2. Das Wandlergehäuse 3, das vorzugsweise aus einem Kunststoffmaterial gefertigt ist, besteht im Wesentlichen aus einem zylinderförmigen Basiselement 4, in das die Wandlerbauteile eingeklebt oder eingegossen sind.
Das Wandlergehäuse 3 weist eine in etwa mittig angeordnete Durchführöffnung 5 für eine Stromschiene 6 des Schaltgerätes 2 auf. Die Durchführöffnung 5 schließt auf der in Montageposition dem Schaltgerät 2 gegenüberliegenden Vorderseite 7 des Wandlergehäuses 3 mit einer schlitzförmigen Ausführöffnung 8 ab. Oberhalb und unterhalb der Ausführöffnung 8 sind im Wandlergehäuse Durchbrüche 9 für einen Kühlluftstrom vorgesehen. Zur Montage mit dem Schaltgerät 2 wird der Stromwandler 1 in Montagerichtung 10 parallel zu der Stromschiene 6 auf das Schaltgerät 2 zu geführt.
An der Mantelfläche 11 des Basiselements 4 ist ein taschenförmiges Gehäuseelement angeformt. Diese Gehäusetasche 12 weist einen rechteckigen Grundriss auf und verläuft von der Vorderseite 7 des Wandlergehäuses 3 bis zu der gegenüberliegenden, zum Schaltgerät 2 hin zeigenden Rückseite 13 des Wandlergehäuses 3. Die Stirnseite 14 der Gehäusetasche 12 wird dabei mit der Mantelfläche 11 des Basiselements 4 über Seitenflächen 15 verbunden. An den der Rückseite 13 des Wandlergehäuses 3 zugewandten Enden dieser Seitenflächen 15 sind quer zur Montagerichtung 10 weisende Rastvorsprünge 16 in Form von Stegen ausgebildet. Schaltgeräteseitig weisen diese Rastvorsprünge 16 Anlaufschrägen 17 auf.
Während die Gehäusetasche 12 schaltgeräteseitig mit der Rückseite 13 des Wandlergehäuses 2 abschließt, ist an der Vorderseite 18 der Gehäusetasche 12 ein Befestigungselement in Form eines über die gesamte Breite der Gehäusetasche 12 verlaufenden Steges 19 angebracht. Die in Richtung Ausführöffnung 8 zeigende Vorderseite 20 des Steges 19 weist eine als Befestigungshaken dienende Leiste 21 auf, während an der gegenüberliegenden Rückseite 22 des Steges Stützstreben 23 zur Verstärkung des Steges 19 angeformt sind.
In FIG 2 ist eine Ansicht der Rückseite des Stromwandlers 1 dargestellt. Das Wandlergehäuse 3 ist schaltgeräteseitig offen. Die Spule 24 des Stromwandlers 1 liegt dabei in dem Basiselement 4 ein und ist auf einem sich in Richtung Ausführöffnung 8 leicht verjüngenden Spulenträger 25 mit kreisförmigem Querschnitt angeordnet. Die kreisförmige Einführöffnung 26 des Spulenträgers 25 bildet den rückwärtigen Abschluss der Durchführöffnung 5 für die Stromschiene 6.
Die Gehäusetasche 12 ist rückseitig ebenfalls offen ausgeführt. Sie dient zum Herausführen einer Anschlussleitung 27 mit einem elektrischen Steckverbinder 28, der zum Anschluss des Stromwandlers 1 an eine Ansteuerbaugruppe (nicht abgebildet) des Schaltgerätes 2 dient.
Auf der der Gehäusetasche 12 gegenüberliegenden Seite des Basiselements 4 ist eine weitere, kleinere Gehäusetasche 29 angeformt. Diese dient zu einer besseren Führung des Stromwandlers 1 beim Einbau in das Schaltgerät 2.
In der Gehäusewand 30 des Gerätegehäuses 31 des Schaltgerätes 2 ist eine im Wesentlichen kreisrunde Aufnahmeöffnung 32 zur vollständigen Aufnahme des Stromwandlers 1 vorgesehen. Wie in FIG 3 abgebildet, ist in der Mitte der Aufnahmeöffnung 32 ein kegelstumpfförmiger Dom 33 als Gegenstück zu dem Spulenträger 25 im Wandlergehäuse 3 angeordnet. Der Dom 33 weist dabei eine Aufnahmehalterung 34 für die Stromschiene 6 auf, welche in FIG 3 noch nicht montiert ist. Bei der Montage des Stromwandlers 1 wird dieser in Montagerichtung 10 auf das Gerätegehäuse 31 zu und in die Aufnahmeöffnung 32 eingeführt. Dabei dringt der Dom 33 in die Einführöffnung 26 des Wandlergehäuses 3 ein. Hiermit wird zum einen ein sicherer Sitz des Stromwandlers 1 in der Aufnahmeöffnung 32 gewährleistet. Darüber hinaus ergibt sich damit ein ausreichender Spannungsabstand zwischen Stromschiene 6 und Spule 24.
In der Aufnahmeöffnung 32 sind drei in Dreiecksform angeordnete Überschneidungs- oder Klemmrippen 35 vorgesehen, die von dem gehäuseinneren Abschluss 36 der Gehäusewand 30 bis in etwa die Mitte der Gehäusewand 30 verlaufen. Diese Klemmrippen 35 dienen der Ausbildung eines Festsitzes des eingeführten Wandlergehäuses 3 im Montageendzustand.
Die Aufnahmeöffnung 32 weist darüber hinaus eine seitlich angeordnete, rechteckförmige Ausnehmung 37 zur Aufnahme der ersten Gehäusetasche 12 sowie eine auf der gegenüberliegenden Seite angeordnete rechteckförmige Ausnehmung 38 zur Aufnahme der zweiten Gehäusetasche 29 auf, die zudem als Verstecksicherung dienen.
An den Schmalseiten 39 der Ausnehmung 37 für die erste Gehäusetasche 12 ist jeweils ein federnder Rasthaken 40 angeordnet, der an seinem in Richtung Geräteinnenraum zeigenden Ende eine Rastnase 41 aufweist. Dabei zeigen die mit Anlaufschrägen 42 versehenen Rastnasen 41 aufeinander zu in die Ausnehmung 32 hinein. Bei dem Einführen des Stromwandlers 1 in die Aufnahmeöffnung 32 des Schaltgerätes 2 gleiten die beiden Rastnasen 41 federnd über die Rastvorsprünge 16 an den Seitenflächen 15 der Gehäusetasche 12 und verrasten dort unter Ausbildung eines Hintergriffes.
Darüber hinaus weist das Gerätegehäuse 31 im Bereich seiner Aufnahmeöffnung 32 eine Durchführung (nicht abgebildet) für die von der Gehäusetasche 12 des Wandlergehäuses 3 kommende Anschlussleitung 27 sowie einen entsprechenden Gegensteckverbinder (nicht abgebildet) auf.
Eine weitere Detaildarstellung der Aufnahmeöffnung 32 und eines Rasthakens 40 gibt FIG 4, in der ein Stromwandler 1 beim Einführen in die Aufnahmeöffnung 32 eines Schaltgerätes 2 dargestellt ist.
FIG 5 gibt schließlich eine perspektivische Ansicht auf ein Schaltgerät 2 mit drei Stromschienen, wobei auf die vom Betrachter entfernte, hintere Stromschiene bereits ein erster Stromwandler 1' aufgesetzt ist. Dieser erste Stromwandler 1' befindet sich in seiner Montageendposition, in der seine Vorderseite 7' mit der Oberfläche 43 des Gerätegehäuses 31 abschließt. Lediglich der aus der Vorderseite 7' des Stromwandlers 1' hervorstehende Steg 19' mit Befestigungshaken ragt hervor. Die mittlere Stromschiene 44 bleibt frei. Auf der vorderen, dem Betrachter am nächsten angeordneten Stromschiene 6 wird gerade ein Stromwandler 1 aufgesetzt. Dabei sind die Stromwandler 1, 1' und die entsprechenden Aufnahmeöffnungen 32 im Schaltgerät 2 derart ausgebildet, dass die Stege 19, 19' der Stromwandler 1, 1' im Montageendzustand aufeinander zu gerichtet sind. Die beiden aus der Gehäuseoberfläche 43 herausragenden Stege 19, 19' bilden dann eine Befestigungsvorrichtung für eine Abdeckung in Form einer Berührungsschutzkappe oder dergleichen (nicht abgebildet).

Claims (10)

  1. Messwandler (1), insbesondere Stromwandler, für ein elektrisches Gerät (2), mit einem Wandlergehäuse (3) zur Aufnahme einer Spule (24), wobei das Wandlergehäuse (3) zur Durchführung eines Stromleiters (6) des elektrischen Gerätes (2) ausgebildet ist und wenigstens ein Befestigungselement (16) zur Ausbildung einer Rast- oder Schnappverbindung mit dem elektrischen Gerät (2) aufweist.
  2. Messwandler (1) nach Anspruch 1,
    dadurch gekennzeichnet, dass das Befestigungselement (16) für einen Hintergriff mit einer Rast- oder Schnappnase (41) ausgebildet ist.
  3. Messwandler (1) nach Anspruch 1 oder 2,
    dadurch gekennzeichnet, dass das Wandlergehäuse (3) schaltgeräteseitig zumindest teilweise offen und durch das elektrische Gerät (2) verschließbar ist.
  4. Messwandler (1) nach einem der Ansprüche 1 bis 3,
    gekennzeichnet durch eine Gehäusetasche (12) zum Herausführen einer Anschlussleitung (27).
  5. Messwandler (1) nach einem der Ansprüche 1 bis 4,
    gekennzeichnet durch ein Montageelement (19) für ein Zubehörteil.
  6. Anordnung mit einem Messwandler (1), insbesondere Stromwandler, und einem elektrischen Gerät (2), wobei der Messwandler (1) ein Wandlergehäuse (3) und das elektrische Gerät (2) ein Gerätegehäuse (31) aufweist, und die Gehäuse (3, 31) im Montageendzustand durch eine Rast- oder Schnappverbindung miteinander verbunden sind.
  7. Anordnung nach Anspruch 6,
    gekennzeichnet durch wenigstens eine am Gerätegehäuse (31) vorgesehene Rast- oder Schnappnase (41) zur Ausbildung eines Hintergriffes mit einem entsprechenden Befestigungselement (16) am Wandlergehäuse (3).
  8. Anordnung nach Anspruch 6 oder 7,
    dadurch gekennzeichnet, dass das Wandlergehäuse (3) im Montageendzustand in einer Aufnahmeöffnung (32) des Gerätegehäuses (31) einliegt.
  9. Anordnung nach einem der Ansprüche 6 bis 8,
    dadurch gekennzeichnet, dass das Gerätegehäuse (31) im Montageendzustand eine Öffnung des Wandlergehäuses (3) verschließt.
  10. Anordnung nach einem der Ansprüche 6 bis 9,
    dadurch gekennzeichnet, dass das Gerätegehäuse (31) Klemmrippen (35) zur Ausbildung eines Festsitzes des Wandlergehäuses (3) aufweist.
EP05100925A 2004-02-24 2005-02-09 Messwandler und Anordnung mit einem elektrischen Gerät Withdrawn EP1569250A3 (de)

Applications Claiming Priority (2)

Application Number Priority Date Filing Date Title
DE102004008978 2004-02-24
DE102004008978 2004-02-24

Publications (2)

Publication Number Publication Date
EP1569250A2 true EP1569250A2 (de) 2005-08-31
EP1569250A3 EP1569250A3 (de) 2007-12-05

Family

ID=34745263

Family Applications (1)

Application Number Title Priority Date Filing Date
EP05100925A Withdrawn EP1569250A3 (de) 2004-02-24 2005-02-09 Messwandler und Anordnung mit einem elektrischen Gerät

Country Status (1)

Country Link
EP (1) EP1569250A3 (de)

Cited By (5)

* Cited by examiner, † Cited by third party
Publication number Priority date Publication date Assignee Title
AT502659B1 (de) * 2005-10-11 2007-05-15 Fronius Int Gmbh Stromwandler
DE102007044632B3 (de) * 2007-09-19 2009-02-26 Siemens Ag Ansteuerbaugruppe eines Schaltgerätes sowie Schaltgerät
CN105304304A (zh) * 2015-10-26 2016-02-03 常州欧瑞电气有限公司 自供电微机保护装置用电流互感器
DE102015205632A1 (de) * 2015-03-27 2016-09-29 Siemens Aktiengesellschaft Stromwandler und Strommesseinrichtung
WO2026021029A1 (zh) * 2024-07-23 2026-01-29 上海摩瓦新能源科技有限公司 变压器组件、变压器和功率变换器

Family Cites Families (1)

* Cited by examiner, † Cited by third party
Publication number Priority date Publication date Assignee Title
US6008711A (en) * 1998-01-09 1999-12-28 Siemens Power Transmission & Distribution Method and arrangement for securing a current transformer to an electric utility meter housing

Cited By (6)

* Cited by examiner, † Cited by third party
Publication number Priority date Publication date Assignee Title
AT502659B1 (de) * 2005-10-11 2007-05-15 Fronius Int Gmbh Stromwandler
DE102007044632B3 (de) * 2007-09-19 2009-02-26 Siemens Ag Ansteuerbaugruppe eines Schaltgerätes sowie Schaltgerät
DE102015205632A1 (de) * 2015-03-27 2016-09-29 Siemens Aktiengesellschaft Stromwandler und Strommesseinrichtung
CN105304304A (zh) * 2015-10-26 2016-02-03 常州欧瑞电气有限公司 自供电微机保护装置用电流互感器
CN105304304B (zh) * 2015-10-26 2017-07-04 常州欧瑞电气股份有限公司 自供电微机保护装置用电流互感器
WO2026021029A1 (zh) * 2024-07-23 2026-01-29 上海摩瓦新能源科技有限公司 变压器组件、变压器和功率变换器

Also Published As

Publication number Publication date
EP1569250A3 (de) 2007-12-05

Similar Documents

Publication Publication Date Title
EP2614515B1 (de) Schaltgeraet und anschlussseitiges zubehoer
EP0248181A1 (de) Sicherungs- und Verteilerkasten für Kraftfahrzeuge
EP1290759A1 (de) Anschlussklemme
DE10323550A1 (de) Sicherungsdose für ein Fahrzeug
EP2385540B1 (de) Sicherungsaufnahmevorrichtung, insbesondere für Anschlusskästen von Photovoltaikanlagen
DE102007051419A1 (de) NH-Sicherungslasttrenner mit Stromwandler
DE3739051C2 (de) Sicherung
DE2724939B2 (de) Schaltgerät, insbesondere elektronisches, berührungslos arbeitendes Schaltgerät
DE2511385C3 (de) Elektrische Anschlußklemme
DE9012881U1 (de) Anordnung eines Varistors in einem Gehäuse
EP1569250A2 (de) Messwandler und Anordnung mit einem elektrischen Gerät
EP3309904B1 (de) Gehäuse zum anschliessen wenigstens einer kabellitze eines kabels
DE60104027T2 (de) Elektrischer Energiezähler
DE10131739B4 (de) Stromwandler
EP0976310B1 (de) Elektrisches gerät mit zwei identisch aufgebauten gehäuseschalen
DE102005056214B3 (de) Vorrichtung zum Führen von Kabeln oder Leitungen
DE29823870U1 (de) Kasten-Gehäuse zur Aufnahme mindestens einer Elektronikplatine
DE29903000U1 (de) Isoliergehäuse für Verteilerklemme
DE69834897T2 (de) Verwechslungsschutzanordnung für elektrische Schaltgeräte, insbesondere für Leistungsschalter und Differenzstromschutzschalter
DE19846196A1 (de) Verbinder für eine Fahrzeug-Batterie
DE2900357A1 (de) Ueberbrueckungseinrichtung fuer einen elektrozaehler
DE19854584B4 (de) Elektrische Installationsgeräte, insbesondere Schutzkontaktsteckdosenanordnungen
DE60006838T2 (de) Elektrische anschlussvorrichtung für leistungsschalter
DE4327172C2 (de) Vorrichtung zur lösbaren Befestigung mindestens eines elektrischen Bauteils an einer Profilschiene
DE3025129A1 (de) Schnellbefestigungsvorrichtung

Legal Events

Date Code Title Description
PUAI Public reference made under article 153(3) epc to a published international application that has entered the european phase

Free format text: ORIGINAL CODE: 0009012

AK Designated contracting states

Kind code of ref document: A2

Designated state(s): AT BE BG CH CY CZ DE DK EE ES FI FR GB GR HU IE IS IT LI LT LU MC NL PL PT RO SE SI SK TR

AX Request for extension of the european patent

Extension state: AL BA HR LV MK YU

PUAL Search report despatched

Free format text: ORIGINAL CODE: 0009013

AK Designated contracting states

Kind code of ref document: A3

Designated state(s): AT BE BG CH CY CZ DE DK EE ES FI FR GB GR HU IE IS IT LI LT LU MC NL PL PT RO SE SI SK TR

AX Request for extension of the european patent

Extension state: AL BA HR LV MK YU

RIC1 Information provided on ipc code assigned before grant

Ipc: H01R 13/66 20060101ALI20071026BHEP

Ipc: H01F 27/06 20060101ALI20071026BHEP

Ipc: H01F 27/02 20060101ALI20071026BHEP

Ipc: H01F 38/30 20060101AFI20050512BHEP

17P Request for examination filed

Effective date: 20080110

AKX Designation fees paid

Designated state(s): DE FR SE

17Q First examination report despatched

Effective date: 20081121

STAA Information on the status of an ep patent application or granted ep patent

Free format text: STATUS: THE APPLICATION IS DEEMED TO BE WITHDRAWN

18D Application deemed to be withdrawn

Effective date: 20090402