EP1526000A2 - Notizkalender zur Koordinierung von Zeit und Arbeit - Google Patents
Notizkalender zur Koordinierung von Zeit und Arbeit Download PDFInfo
- Publication number
- EP1526000A2 EP1526000A2 EP04023857A EP04023857A EP1526000A2 EP 1526000 A2 EP1526000 A2 EP 1526000A2 EP 04023857 A EP04023857 A EP 04023857A EP 04023857 A EP04023857 A EP 04023857A EP 1526000 A2 EP1526000 A2 EP 1526000A2
- Authority
- EP
- European Patent Office
- Prior art keywords
- calendar
- note
- time
- work
- coordination
- Prior art date
- Legal status (The legal status is an assumption and is not a legal conclusion. Google has not performed a legal analysis and makes no representation as to the accuracy of the status listed.)
- Withdrawn
Links
Images
Classifications
-
- B—PERFORMING OPERATIONS; TRANSPORTING
- B42—BOOKBINDING; ALBUMS; FILES; SPECIAL PRINTED MATTER
- B42D—BOOKS; BOOK COVERS; LOOSE LEAVES; PRINTED MATTER CHARACTERISED BY IDENTIFICATION OR SECURITY FEATURES; PRINTED MATTER OF SPECIAL FORMAT OR STYLE NOT OTHERWISE PROVIDED FOR; DEVICES FOR USE THEREWITH AND NOT OTHERWISE PROVIDED FOR; MOVABLE-STRIP WRITING OR READING APPARATUS
- B42D5/00—Sheets united without binding to form pads or blocks
- B42D5/04—Calendar blocks
-
- B—PERFORMING OPERATIONS; TRANSPORTING
- B42—BOOKBINDING; ALBUMS; FILES; SPECIAL PRINTED MATTER
- B42D—BOOKS; BOOK COVERS; LOOSE LEAVES; PRINTED MATTER CHARACTERISED BY IDENTIFICATION OR SECURITY FEATURES; PRINTED MATTER OF SPECIAL FORMAT OR STYLE NOT OTHERWISE PROVIDED FOR; DEVICES FOR USE THEREWITH AND NOT OTHERWISE PROVIDED FOR; MOVABLE-STRIP WRITING OR READING APPARATUS
- B42D5/00—Sheets united without binding to form pads or blocks
- B42D5/04—Calendar blocks
- B42D5/042—Diaries; Memorandum calendars
Definitions
- the invention has the object to provide a note calendar, the one complete and simultaneous overview of the upcoming appointments and the current working notes possible.
- the note calendar should be in Calendar part provide concise, concise information by Additional entries in the note section are added. For all 12 a day possible appointment entries should be given two additional options. e.g .: 1. Supplement to prepare for an appointment 2. Supplementary notes in the Framework of the execution of the appointment.
- the two parts, calendar and note piece can be attached to a single spine attached or physically separate, from a specially shaped, both parts encompassing and holding envelope.
- the two parts, physically independent and therefore interchangeable at any time, have one below the other through structure and design a close and complementary reference.
- the Double-page is preferably one week, but can also take less days be worked out.
- the note part shows besides the usual arrangement of the calendar days, next to the space reserved for each keyword (6-18 pm) for a keyword, a double column share for additions in the note section.
- the front Column portion (Fig.1 P 5) is used for reference, with plans in Related additions.
- the rear part of the column (Fig. 1 P 6) serves additions of the keyword from "happened", is diary share.
- the references usually refer to the pages and the lines of the Entry in the note section.
- 3 to 5 lines are more flexible than the day part indicated in hours Day plan created (Fig 1 P 12) and each with its own Capital letters for each line (Fig. 1 P12). Also for these lines is a separate one each Reference column proportion created (Fig.1 P2). When laying the flexibly planned Tasks in another day, this will be in the second column with date and Time noted.
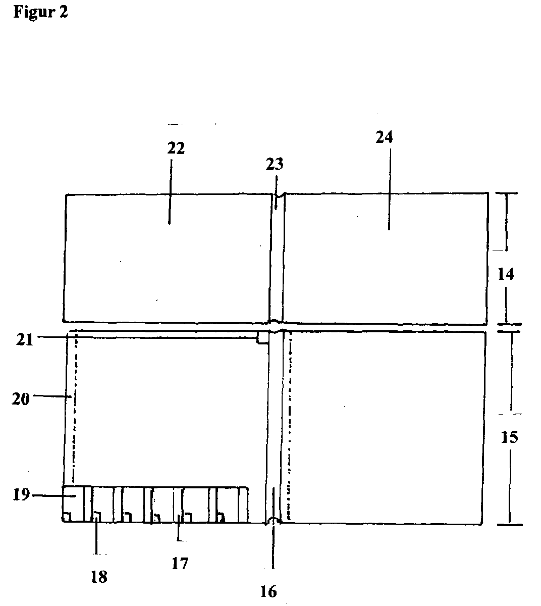
- the fields are divided into lines for keywords (Fig. 2 P 19), for Category characters (Fig. 2 P 17) Line numbers of the note section and Page numbers (Fig.2 P 18).
- the note piece can be used tightly without wasting paper as accurate Location by the line data from the calendar part on the one hand and on the other hand, starting from the keyword register, and making finding easy.
Landscapes
- Machine Translation (AREA)
- Sheet Holders (AREA)
- Management, Administration, Business Operations System, And Electronic Commerce (AREA)
Abstract
Description
Claims (6)
- Notizkalender zur Koordinierung von Zeit und Arbeit,
dadurch gekennzeichnet, dass je eine Doppelseite des Notizteiles und eine Doppelseite des Kalenderteiles gemeinsam eingesehen werden können (Fig. 2) weil beide Teile körperlich voneinander getrennt und nur durch vorzugsweise flexible Verbindungselemente über oder nebeneinander gehalten werden. - Notizkalender zur Koordinierung von Zeit und Arbeit,
nach Anspruch 1 dadurch gekennzeichnet, dass der Kalenderteil im oberen Bereich eine Reihe von Zeilen enthält die jeweils einzeln mit Großbuchstaben gekennzeichnet und für den Eintrag zeitlich flexibler Tagesaufgaben vorgesehen sind. - Notizkalender zur Koordinierung von Zeit und Arbeit nach Anspruch 1
dadurch gekennzeichnet, dass jeder Kalendertag für die zeitlich flexiblen Einträge (Fig.1 P 12), für die feststehenden Stunden (Fig.1 P 9) und für Spättermine (Fig. 1 P 8) eine Verweisspalte für Planungseinträge (Fig.1 P 5 u. 2 ) und eine Verweisspalte für Ergänzungen zu Erledigungen vorhält - Notizkalender zur Koordinierung von Zeit und Arbeit, nach Anspruch 1
dadurch gekennzeichnet, dass die Letzten 6 bis 8 Zeilen der linken Seite des aufgeschlagenen und zeilenweise durchnummerierten Notizbuches zu einem periodischen Stichwortregister gestaltet sind ( Fig. 2 P 19,18,17) - Notizkalender zur Koordinierung von Zeit und Arbeit, nach Anspruch 1
dadurch gekennzeichnet, dass eine feste, dünne U-förmige Schiene (Fig.3 P 25), die mit einem Buchrücken starr verbunden ist (Fig.3 P 26) , so ausgeformt ist, das in sie Kalender und Notizteil (Fig.3 P 28) , je vom anderen Ende, unter Ausnutzung der natürlichen Bindedickung, klemmend eingeschoben werden können. - Notizkalender zur Koordinierung von Zeit und Arbeit, nach
Anspruch 1 dadurch gekennzeichnet,
das zwischen den Monaten jeweils mehrere Blätter mit kleiner Monatsübersicht zur Monatsvorplanung und Monatsauswertung, vom Kalender frei bleiben.
Applications Claiming Priority (2)
| Application Number | Priority Date | Filing Date | Title |
|---|---|---|---|
| DE20316097 | 2003-10-21 | ||
| DE20316097U | 2003-10-21 |
Publications (2)
| Publication Number | Publication Date |
|---|---|
| EP1526000A2 true EP1526000A2 (de) | 2005-04-27 |
| EP1526000A3 EP1526000A3 (de) | 2005-06-29 |
Family
ID=32319215
Family Applications (1)
| Application Number | Title | Priority Date | Filing Date |
|---|---|---|---|
| EP04023857A Withdrawn EP1526000A3 (de) | 2003-10-21 | 2004-10-07 | Notizkalender zur Koordinierung von Zeit und Arbeit |
Country Status (2)
| Country | Link |
|---|---|
| EP (1) | EP1526000A3 (de) |
| DE (1) | DE202004003287U1 (de) |
Family Cites Families (7)
| Publication number | Priority date | Publication date | Assignee | Title |
|---|---|---|---|---|
| GB203331A (en) * | 1922-08-30 | 1924-09-04 | Gordon Holroyd Booth | Improved diary |
| US2121297A (en) * | 1937-11-29 | 1938-06-21 | Amalgamated Textiles Ltd | Book |
| FR2417399A1 (fr) * | 1978-02-15 | 1979-09-14 | Heck Raymond | Volume, en particulier agenda |
| DE8810524U1 (de) * | 1988-08-19 | 1988-09-29 | E. Gundlach Kg, 4800 Bielefeld | Kalender |
| EP0567714A1 (de) * | 1992-04-27 | 1993-11-03 | Andrea Ragosta | Notizbuch mit einer Hülle ausgestattet mit zwei faltbaren Klappen und zwei inneren Klappen |
| DE9206701U1 (de) * | 1992-05-16 | 1992-07-30 | Asomafashion Gmbh, 4040 Neuss | Buchtasche mit Kalendarium und Organisationsteil |
| FR2793340B1 (fr) * | 1999-05-07 | 2001-08-03 | Vachon Creations Publicite | Dispositif avec espaces journaliers et hebdomadaires a lecture simultanee et son procede de fabrication |
-
2004
- 2004-03-03 DE DE202004003287U patent/DE202004003287U1/de not_active Expired - Lifetime
- 2004-10-07 EP EP04023857A patent/EP1526000A3/de not_active Withdrawn
Also Published As
| Publication number | Publication date |
|---|---|
| EP1526000A3 (de) | 2005-06-29 |
| DE202004003287U1 (de) | 2004-05-13 |
Similar Documents
| Publication | Publication Date | Title |
|---|---|---|
| DE1774940A1 (de) | Zeitumsetzeinrichtung | |
| DE69716696T2 (de) | Vielfächiger ordner und multi-ordner | |
| DE1436144C3 (de) | Kalendervorrichtung | |
| EP1526000A2 (de) | Notizkalender zur Koordinierung von Zeit und Arbeit | |
| DE853901C (de) | Registriereinrichtung fuer Schriftstuecke | |
| DE29914907U1 (de) | Ewiger Kalender | |
| DE8815264U1 (de) | Buch | |
| DE376219C (de) | Dauer- und Erinnerungskalender in Kartothekform | |
| DE2301860A1 (de) | Dauerkalender mit einrichtung zum verfolgen der sogenannten lebensrhythmen | |
| DE20100785U1 (de) | Abreißkalender | |
| DE2217510B1 (de) | Abreiß-Tischkalender | |
| DE7245315U (de) | Termin- und Sachmerktasche o. dgl | |
| DE865734C (de) | Taschenkalender | |
| DE8030072U1 (de) | Kalender, insbesondere Vormerkkalender | |
| CH635033A5 (en) | Writing support | |
| DE1923700U (de) | Kalenderkartei. | |
| DE29910582U1 (de) | Aufgaben- und Terminplanungssystem | |
| DE1898436U (de) | Abreisskalender. | |
| DE1189950B (de) | Loseblaetterbuch mit Buchzeichen und einer Aufreihvorrichtung fuer auswechselbare Notizblaetter | |
| DE1408861U (de) | ||
| DE1612344U (de) | Tisch-umstell-merkblatt-kalender. | |
| CH692034A5 (de) | Planungsmittel für Termine und/oder Aktivitäten. | |
| DE202012012320U1 (de) | Individuell gestaltbare und jederzeit anpassbare Kombination aus Terminkalender, Tagebuch und Jahresweiser | |
| DE1486758A1 (de) | Vordruckblatt,insbesondere Kalenderblatt | |
| DE2351060A1 (de) | Aufstellbarer oder aufhaengbarer dauerwochenkalender |
Legal Events
| Date | Code | Title | Description |
|---|---|---|---|
| PUAI | Public reference made under article 153(3) epc to a published international application that has entered the european phase |
Free format text: ORIGINAL CODE: 0009012 |
|
| AK | Designated contracting states |
Kind code of ref document: A2 Designated state(s): AT BE BG CH CY CZ DE DK EE ES FI FR GB GR HU IE IT LI LU MC NL PL PT RO SE SI SK TR |
|
| AX | Request for extension of the european patent |
Extension state: AL HR LT LV MK |
|
| PUAL | Search report despatched |
Free format text: ORIGINAL CODE: 0009013 |
|
| AK | Designated contracting states |
Kind code of ref document: A3 Designated state(s): AT BE BG CH CY CZ DE DK EE ES FI FR GB GR HU IE IT LI LU MC NL PL PT RO SE SI SK TR |
|
| AX | Request for extension of the european patent |
Extension state: AL HR LT LV MK |
|
| RIC1 | Information provided on ipc code assigned before grant |
Ipc: 7B 42D 1/06 B Ipc: 7B 42D 3/04 B Ipc: 7B 42D 1/00 B Ipc: 7B 42D 5/04 A |
|
| 17P | Request for examination filed |
Effective date: 20051220 |
|
| AKX | Designation fees paid |
Designated state(s): AT BE BG CH CY CZ DE DK EE ES FI FR GB GR HU IE IT LI LU MC NL PL PT RO SE SI SK TR |
|
| STAA | Information on the status of an ep patent application or granted ep patent |
Free format text: STATUS: THE APPLICATION HAS BEEN WITHDRAWN |
|
| 18W | Application withdrawn |
Effective date: 20061206 |
