EP1423795B1 - System zum routen von instant-nachrichten von benutzern in einer kunden-service-gruppe - Google Patents
System zum routen von instant-nachrichten von benutzern in einer kunden-service-gruppe Download PDFInfo
- Publication number
- EP1423795B1 EP1423795B1 EP02761182.1A EP02761182A EP1423795B1 EP 1423795 B1 EP1423795 B1 EP 1423795B1 EP 02761182 A EP02761182 A EP 02761182A EP 1423795 B1 EP1423795 B1 EP 1423795B1
- Authority
- EP
- European Patent Office
- Prior art keywords
- client
- server
- network
- routing
- communication
- Prior art date
- Legal status (The legal status is an assumption and is not a legal conclusion. Google has not performed a legal analysis and makes no representation as to the accuracy of the status listed.)
- Expired - Lifetime
Links
Images
Classifications
-
- G—PHYSICS
- G06—COMPUTING OR CALCULATING; COUNTING
- G06Q—INFORMATION AND COMMUNICATION TECHNOLOGY [ICT] SPECIALLY ADAPTED FOR ADMINISTRATIVE, COMMERCIAL, FINANCIAL, MANAGERIAL OR SUPERVISORY PURPOSES; SYSTEMS OR METHODS SPECIALLY ADAPTED FOR ADMINISTRATIVE, COMMERCIAL, FINANCIAL, MANAGERIAL OR SUPERVISORY PURPOSES, NOT OTHERWISE PROVIDED FOR
- G06Q10/00—Administration; Management
- G06Q10/06—Resources, workflows, human or project management; Enterprise or organisation planning; Enterprise or organisation modelling
- G06Q10/063—Operations research, analysis or management
-
- G—PHYSICS
- G06—COMPUTING OR CALCULATING; COUNTING
- G06Q—INFORMATION AND COMMUNICATION TECHNOLOGY [ICT] SPECIALLY ADAPTED FOR ADMINISTRATIVE, COMMERCIAL, FINANCIAL, MANAGERIAL OR SUPERVISORY PURPOSES; SYSTEMS OR METHODS SPECIALLY ADAPTED FOR ADMINISTRATIVE, COMMERCIAL, FINANCIAL, MANAGERIAL OR SUPERVISORY PURPOSES, NOT OTHERWISE PROVIDED FOR
- G06Q10/00—Administration; Management
- G06Q10/10—Office automation; Time management
- G06Q10/107—Computer-aided management of electronic mailing [e-mailing]
-
- H—ELECTRICITY
- H04—ELECTRIC COMMUNICATION TECHNIQUE
- H04L—TRANSMISSION OF DIGITAL INFORMATION, e.g. TELEGRAPHIC COMMUNICATION
- H04L41/00—Arrangements for maintenance, administration or management of data switching networks, e.g. of packet switching networks
- H04L41/18—Delegation of network management function, e.g. customer network management [CNM]
-
- H—ELECTRICITY
- H04—ELECTRIC COMMUNICATION TECHNIQUE
- H04L—TRANSMISSION OF DIGITAL INFORMATION, e.g. TELEGRAPHIC COMMUNICATION
- H04L51/00—User-to-user messaging in packet-switching networks, transmitted according to store-and-forward or real-time protocols, e.g. e-mail
- H04L51/04—Real-time or near real-time messaging, e.g. instant messaging [IM]
-
- H—ELECTRICITY
- H04—ELECTRIC COMMUNICATION TECHNIQUE
- H04L—TRANSMISSION OF DIGITAL INFORMATION, e.g. TELEGRAPHIC COMMUNICATION
- H04L63/00—Network architectures or network communication protocols for network security
- H04L63/02—Network architectures or network communication protocols for network security for separating internal from external traffic, e.g. firewalls
- H04L63/0281—Proxies
-
- H—ELECTRICITY
- H04—ELECTRIC COMMUNICATION TECHNIQUE
- H04L—TRANSMISSION OF DIGITAL INFORMATION, e.g. TELEGRAPHIC COMMUNICATION
- H04L65/00—Network arrangements, protocols or services for supporting real-time applications in data packet communication
- H04L65/40—Support for services or applications
- H04L65/401—Support for services or applications wherein the services involve a main real-time session and one or more additional parallel real-time or time sensitive sessions, e.g. white board sharing or spawning of a subconference
-
- H—ELECTRICITY
- H04—ELECTRIC COMMUNICATION TECHNIQUE
- H04L—TRANSMISSION OF DIGITAL INFORMATION, e.g. TELEGRAPHIC COMMUNICATION
- H04L67/00—Network arrangements or protocols for supporting network services or applications
- H04L67/01—Protocols
- H04L67/02—Protocols based on web technology, e.g. hypertext transfer protocol [HTTP]
-
- H—ELECTRICITY
- H04—ELECTRIC COMMUNICATION TECHNIQUE
- H04L—TRANSMISSION OF DIGITAL INFORMATION, e.g. TELEGRAPHIC COMMUNICATION
- H04L67/00—Network arrangements or protocols for supporting network services or applications
- H04L67/01—Protocols
- H04L67/04—Protocols specially adapted for terminals or networks with limited capabilities; specially adapted for terminal portability
-
- H—ELECTRICITY
- H04—ELECTRIC COMMUNICATION TECHNIQUE
- H04L—TRANSMISSION OF DIGITAL INFORMATION, e.g. TELEGRAPHIC COMMUNICATION
- H04L67/00—Network arrangements or protocols for supporting network services or applications
- H04L67/14—Session management
- H04L67/142—Managing session states for stateless protocols; Signalling session states; State transitions; Keeping-state mechanisms
-
- H—ELECTRICITY
- H04—ELECTRIC COMMUNICATION TECHNIQUE
- H04L—TRANSMISSION OF DIGITAL INFORMATION, e.g. TELEGRAPHIC COMMUNICATION
- H04L67/00—Network arrangements or protocols for supporting network services or applications
- H04L67/50—Network services
- H04L67/54—Presence management, e.g. monitoring or registration for receipt of user log-on information, or the connection status of the users
-
- H—ELECTRICITY
- H04—ELECTRIC COMMUNICATION TECHNIQUE
- H04M—TELEPHONIC COMMUNICATION
- H04M3/00—Automatic or semi-automatic exchanges
- H04M3/42—Systems providing special services or facilities to subscribers
- H04M3/50—Centralised arrangements for answering calls; Centralised arrangements for recording messages for absent or busy subscribers ; Centralised arrangements for recording messages
- H04M3/51—Centralised call answering arrangements requiring operator intervention, e.g. call or contact centers for telemarketing
- H04M3/5141—Details of processing calls and other types of contacts in an unified manner
-
- H—ELECTRICITY
- H04—ELECTRIC COMMUNICATION TECHNIQUE
- H04M—TELEPHONIC COMMUNICATION
- H04M3/00—Automatic or semi-automatic exchanges
- H04M3/42—Systems providing special services or facilities to subscribers
- H04M3/50—Centralised arrangements for answering calls; Centralised arrangements for recording messages for absent or busy subscribers ; Centralised arrangements for recording messages
- H04M3/51—Centralised call answering arrangements requiring operator intervention, e.g. call or contact centers for telemarketing
- H04M3/5183—Call or contact centers with computer-telephony arrangements
-
- H—ELECTRICITY
- H04—ELECTRIC COMMUNICATION TECHNIQUE
- H04M—TELEPHONIC COMMUNICATION
- H04M3/00—Automatic or semi-automatic exchanges
- H04M3/42—Systems providing special services or facilities to subscribers
- H04M3/50—Centralised arrangements for answering calls; Centralised arrangements for recording messages for absent or busy subscribers ; Centralised arrangements for recording messages
- H04M3/51—Centralised call answering arrangements requiring operator intervention, e.g. call or contact centers for telemarketing
- H04M3/5183—Call or contact centers with computer-telephony arrangements
- H04M3/5191—Call or contact centers with computer-telephony arrangements interacting with the Internet
-
- H—ELECTRICITY
- H04—ELECTRIC COMMUNICATION TECHNIQUE
- H04M—TELEPHONIC COMMUNICATION
- H04M7/00—Arrangements for interconnection between switching centres
- H04M7/0024—Services and arrangements where telephone services are combined with data services
- H04M7/003—Click to dial services
-
- H—ELECTRICITY
- H04—ELECTRIC COMMUNICATION TECHNIQUE
- H04L—TRANSMISSION OF DIGITAL INFORMATION, e.g. TELEGRAPHIC COMMUNICATION
- H04L65/00—Network arrangements, protocols or services for supporting real-time applications in data packet communication
- H04L65/10—Architectures or entities
- H04L65/1016—IP multimedia subsystem [IMS]
-
- H—ELECTRICITY
- H04—ELECTRIC COMMUNICATION TECHNIQUE
- H04L—TRANSMISSION OF DIGITAL INFORMATION, e.g. TELEGRAPHIC COMMUNICATION
- H04L65/00—Network arrangements, protocols or services for supporting real-time applications in data packet communication
- H04L65/1066—Session management
- H04L65/1101—Session protocols
-
- H—ELECTRICITY
- H04—ELECTRIC COMMUNICATION TECHNIQUE
- H04L—TRANSMISSION OF DIGITAL INFORMATION, e.g. TELEGRAPHIC COMMUNICATION
- H04L67/00—Network arrangements or protocols for supporting network services or applications
- H04L67/50—Network services
- H04L67/60—Scheduling or organising the servicing of application requests, e.g. requests for application data transmissions using the analysis and optimisation of the required network resources
- H04L67/63—Routing a service request depending on the request content or context
-
- H—ELECTRICITY
- H04—ELECTRIC COMMUNICATION TECHNIQUE
- H04M—TELEPHONIC COMMUNICATION
- H04M2203/00—Aspects of automatic or semi-automatic exchanges
- H04M2203/20—Aspects of automatic or semi-automatic exchanges related to features of supplementary services
- H04M2203/2011—Service processing based on information specified by a party before or during a call, e.g. information, tone or routing selection
-
- H—ELECTRICITY
- H04—ELECTRIC COMMUNICATION TECHNIQUE
- H04M—TELEPHONIC COMMUNICATION
- H04M2203/00—Aspects of automatic or semi-automatic exchanges
- H04M2203/45—Aspects of automatic or semi-automatic exchanges related to voicemail messaging
- H04M2203/4536—Voicemail combined with text-based messaging
-
- H—ELECTRICITY
- H04—ELECTRIC COMMUNICATION TECHNIQUE
- H04M—TELEPHONIC COMMUNICATION
- H04M3/00—Automatic or semi-automatic exchanges
- H04M3/22—Arrangements for supervision, monitoring or testing
- H04M3/2218—Call detail recording
-
- H—ELECTRICITY
- H04—ELECTRIC COMMUNICATION TECHNIQUE
- H04M—TELEPHONIC COMMUNICATION
- H04M3/00—Automatic or semi-automatic exchanges
- H04M3/22—Arrangements for supervision, monitoring or testing
- H04M3/36—Statistical metering, e.g. recording occasions when traffic exceeds capacity of trunks
-
- H—ELECTRICITY
- H04—ELECTRIC COMMUNICATION TECHNIQUE
- H04M—TELEPHONIC COMMUNICATION
- H04M3/00—Automatic or semi-automatic exchanges
- H04M3/42—Systems providing special services or facilities to subscribers
- H04M3/42025—Calling or Called party identification service
- H04M3/42085—Called party identification service
- H04M3/42093—Notifying the calling party of information on the called or connected party
-
- H—ELECTRICITY
- H04—ELECTRIC COMMUNICATION TECHNIQUE
- H04M—TELEPHONIC COMMUNICATION
- H04M3/00—Automatic or semi-automatic exchanges
- H04M3/42—Systems providing special services or facilities to subscribers
- H04M3/42365—Presence services providing information on the willingness to communicate or the ability to communicate in terms of media capability or network connectivity
-
- H—ELECTRICITY
- H04—ELECTRIC COMMUNICATION TECHNIQUE
- H04M—TELEPHONIC COMMUNICATION
- H04M3/00—Automatic or semi-automatic exchanges
- H04M3/42—Systems providing special services or facilities to subscribers
- H04M3/50—Centralised arrangements for answering calls; Centralised arrangements for recording messages for absent or busy subscribers ; Centralised arrangements for recording messages
- H04M3/51—Centralised call answering arrangements requiring operator intervention, e.g. call or contact centers for telemarketing
- H04M3/523—Centralised call answering arrangements requiring operator intervention, e.g. call or contact centers for telemarketing with call distribution or queueing
- H04M3/5231—Centralised call answering arrangements requiring operator intervention, e.g. call or contact centers for telemarketing with call distribution or queueing with call back arrangements
-
- H—ELECTRICITY
- H04—ELECTRIC COMMUNICATION TECHNIQUE
- H04M—TELEPHONIC COMMUNICATION
- H04M3/00—Automatic or semi-automatic exchanges
- H04M3/42—Systems providing special services or facilities to subscribers
- H04M3/50—Centralised arrangements for answering calls; Centralised arrangements for recording messages for absent or busy subscribers ; Centralised arrangements for recording messages
- H04M3/51—Centralised call answering arrangements requiring operator intervention, e.g. call or contact centers for telemarketing
- H04M3/523—Centralised call answering arrangements requiring operator intervention, e.g. call or contact centers for telemarketing with call distribution or queueing
- H04M3/5238—Centralised call answering arrangements requiring operator intervention, e.g. call or contact centers for telemarketing with call distribution or queueing with waiting time or load prediction arrangements
-
- H—ELECTRICITY
- H04—ELECTRIC COMMUNICATION TECHNIQUE
- H04M—TELEPHONIC COMMUNICATION
- H04M7/00—Arrangements for interconnection between switching centres
- H04M7/12—Arrangements for interconnection between switching centres for working between exchanges having different types of switching equipment, e.g. power-driven and step by step or decimal and non-decimal
-
- H—ELECTRICITY
- H04—ELECTRIC COMMUNICATION TECHNIQUE
- H04Q—SELECTING
- H04Q2213/00—Indexing scheme relating to selecting arrangements in general and for multiplex systems
- H04Q2213/1305—Software aspects
-
- H—ELECTRICITY
- H04—ELECTRIC COMMUNICATION TECHNIQUE
- H04Q—SELECTING
- H04Q2213/00—Indexing scheme relating to selecting arrangements in general and for multiplex systems
- H04Q2213/13072—Sequence circuits for call signaling, ACD systems
-
- H—ELECTRICITY
- H04—ELECTRIC COMMUNICATION TECHNIQUE
- H04Q—SELECTING
- H04Q2213/00—Indexing scheme relating to selecting arrangements in general and for multiplex systems
- H04Q2213/13103—Memory
-
- H—ELECTRICITY
- H04—ELECTRIC COMMUNICATION TECHNIQUE
- H04Q—SELECTING
- H04Q2213/00—Indexing scheme relating to selecting arrangements in general and for multiplex systems
- H04Q2213/13164—Traffic (registration, measurement,...)
-
- H—ELECTRICITY
- H04—ELECTRIC COMMUNICATION TECHNIQUE
- H04Q—SELECTING
- H04Q2213/00—Indexing scheme relating to selecting arrangements in general and for multiplex systems
- H04Q2213/13335—Simulation, emulation
-
- H—ELECTRICITY
- H04—ELECTRIC COMMUNICATION TECHNIQUE
- H04Q—SELECTING
- H04Q2213/00—Indexing scheme relating to selecting arrangements in general and for multiplex systems
- H04Q2213/13349—Network management
Definitions
- the present invention is in the field of telecommunication encompassing all existing sorts of interaction multimedia technology, and pertains more particularly to methods and apparatus for intelligently routing Instant Messaging Presence Protocol (IMPP) events to individual customer service representatives (CSRs) among a group of CSRs working in a communication center or other business premise.
- IDP Instant Messaging Presence Protocol
- CTI computer-telephony integration
- CTI implementations of various design and purpose are implemented both within individual call-centers and, in some cases, at the telephone network level.
- processors running CTI software applications may be linked to telephone switches, service control points (SCP), and network entry points within a public or private telephone network.
- SCP service control points
- CTI-enhanced processors, data servers, transaction servers, and the like are linked to telephone switches and, in some cases, to similar CTI hardware at the network level, often by a dedicated digital link.
- CTI processors and other hardware within a call-center is commonly referred to as customer premises equipment (CPE). It is the CTI processor and application software is such centers that provides computer enhancement to a call center.
- CPE customer premises equipment
- a central telephony switching apparatus such as an automatic call distributor (ACD) switch or a private branch exchange (PBX).
- ACD automatic call distributor
- PBX private branch exchange
- the agent stations may also be equipped with computer terminals such as personal computer/video display units (PC/VDU) so that agents manning such stations may have access to stored data as well as being linked to incoming callers by telephone equipment.
- PC/VDU personal computer/video display units
- Such stations may be interconnected through the PC VDU by a local area network (LAN).
- LAN local area network
- One or more data or transaction servers may also be connected to the LAN that interconnects agent stations.
- the LAN is, in turn, typically connected to the CTI processor, which is connected to the call switching apparatus of the call center.
- COST Connection-Oriented Switched-Telephony
- COST telephony is not limited to wired, or land-line systems, but may include wireless network systems as well.
- the purpose of the definitions here is to distinguish clearly between data-packet systems, which share available bandwidth, and non-packet systems, which use dedicated connections or channels.
- DNT Internet Protocol Network Telephony
- a DNT center may also share other forms of media with customers accessing the system through their computers. E-mails, video mails, fax, file share, file transfer, video calls, and so forth are some of the other forms of media, which may be used. This capability of handling varied media leads to the term multimedia communications center.
- a multimedia communications center may be a combination CTI and DNT center, or may be a DNT center capable of receiving COST calls and converting them to a digital DNT format.
- the term communication center will replace the term call center hereinafter in this specification when referring to multi-media capabilities.
- IP applications are different regarding protocol than COST calls, and so on. Separate routing systems and/or software components are needed for routing e-mails, IP calls, COST calls, file sharing, etc. Agents must then be trained in the use of a variety of applications supporting the different types of media.
- Older call-centers relying on COST communication techniques simply play recorded messages, the recordings informing the customers of the status of an agent being called.
- More advanced communication centers, including multimedia centers, have more extensive automated services in place for interacting with customers in the event that no agents are available. Most of these services are, however, IVR driven and inform callers of options, as well as status of those persons the callers are attempting to connect with.
- the user operating the network-capable appliance connects to the network and accesses the interfacing server node and requests the agent-status information, the agent-status information is then accessed from the status server node connected to the communication center by the interfacing server node and delivered to the requesting user over the operating network.
- the system uses instant message presence protocol (IMPP) technology compatible with a formal protocol such as IMMP-IETF RFC 2778 and is described in disclosure included herein and referenced by S/N 09/710,042 in the cross-reference section above.
- IMPP instant message presence protocol
- IMMP-IETF RFC 2778 a formal protocol
- S/N 09/710,042 in the cross-reference section above.
- S/N 09/766,271 Also known to the inventor and referenced in the cross-reference section as S/N 09/766,271 is a similar system that further provides a self-service interface for clients of a communication or information center that enables the client to determine agent states without calling the center, publish his or her own state without requiring the center to initiate a call, and perform a variety of business-related tasks at the center without requiring any agent interaction.
- a brokering component is also provided for managing client and communication center data and communication, and, additionally, a status monitoring and reporting component is provided for monitoring and reporting communication center and client status.
- the application is characterized in that a client using the user interface is enabled to access and alter communication center data, and also to initiate live interaction with the communication center.
- the application is described in relation to Internet uses and system architecture as well.
- wo 01/40959 A1 discloses methods and an apparatus for handling customer interaction requests transmitted to a business by a wide variety of electronic means but does neither disclose the determination of the client's instant messaging software version nor the routing to an appropriate customer service representative workstation that supports the appropriate instant messaging software version.
- Instant Messaging Presence Protocol IMPP has become a rapidly growing and popular form of communication. Active communication using standard IM messaging is enabled when connected IMPP users have downloaded and installed software from an IMPP service provider. Once the users are connected online, text typed in a senders dialog box is instantly viewable by a recipient.
- a routing system operable on a data-packet-network for intelligent routing of instant messages between clients connected to the network and customer service representatives connected to the network.
- the system comprises at least one instant message server connected to and addressable on the network and at least one intermediate server connected to and addressable on the network and accessible to the instant message server the intermediate server having access to routing rules and capability.
- Clients connected to the network and operating instant message software connect to the instant message server for the purpose of establishing communication with available customer service representatives, and wherein assertion of a connection link advertised by the instant message server establishes bi-directional communication between the client machine and the intermediate server, the intermediate server interacting with including identifying the client and version of instant message software used by the client for the purpose of routing the client request to an appropriate customer service representative thereby establishing an active instant message connection between the client and the selected customer service representative.
- the system is operationally coupled the Internet network.
- the client connection comprises a network appliance capable of instant messaging operationally coupled to the network.
- customer service representative connection comprises a network appliance capable of instant messaging operationally coupled to the network.
- the at least one instant message server retains responsibility of hosting ongoing communication between clients and customer service representatives after connection.
- the at least one intermediate server is granted the responsibility of hosting ongoing communication between clients and customer service representatives.
- the client, customer service representative, and intermediate server involved in a single routed and established communication channel run instant messaging software compatible to that hosted by the instant message server used to initiate the connection.
- the customer service representatives are agents operating within a communication center and connected to a local area network. In another embodiment, the customer service representatives are remote agents operating from addressable locations on the network not confined to one location.
- the at least one intermediate server requests and receives routing instructions from a separate server containing an intelligent routing software suite used for disposing all communication events occurring within the center.
- the routing capability includes routing based on customer service representative availability. In a variation of this aspect, the routing capability includes routing based on skill level of a customer service representative.
- a proxy server for routing instant messages sourced from clients connected to a data-packet-network to selected ones of a plurality of customer service representatives connected to the network and representing an enterprise of, at least one bi-directional data port for receiving data thereto and sending data there from, at least one version of instant messaging software executable therein for generating, sending, and receiving instant messages, a software routing component executable therein for routing client instant message requests to selected IP addresses on the network; and a software firewall component operable therein and capable of IP address translation.
- routing destination is determined as a result executed routing routines according to routing rules.
- the routing rules and executed routing routines are generic to a transaction server running a software suite for determination of internal routing for all multimedia and COST events occurring within the center.
- the routing capability includes routing based on customer service representative availability. According to an enhancement of this aspect, the routing capability includes routing based on skill level of a customer service representative.
- the at least one routing routine comprises an availability determination of existence of a network-connected customer service representative having a compatible instant messaging software to that used by the client.
- the at least one routing routine further comprises a skill level determination.
- the execution request is handled by a separate server running a routing software suite for routing communication events within the enterprise.
- the proxy server hosts the ongoing routed and established communication transaction.
- the instant message server continues to host the ongoing routed and established transaction.
- the transaction is conducted through a firewall.
- a system that allows controlled and intelligent routing of instant messages to individual customer service representatives working as a group of active agents including automated systems wherein intelligent routing rules and constraints are applied for ordering and in some cases structuring the routed and established communication sequences.
- the inventor provides a novel software-hardware driven system for improving the reporting of communication-center presence information to prospective communication-center clients.
- the method and apparatus of the present invention is described in enabling detail below.
- Fig. 1 is an overview of a communication network 52 wherein reporting of communication-center presence information is practiced according to an embodiment of the present invention.
- Communication network 52 comprises, in this example, a public-switched-telephone network (PSTN) 55, a data-packet-network (DPN) 61, a communication center 21, and an exemplary user 9.
- PSTN public-switched-telephone network
- DPN data-packet-network
- PSTN 55 in this example, represents a preferred network connecting all connection-oriented-switched-telephony (COST) clients who call into communication center 21 for the purpose of doing business with the center.
- COST connection-oriented-switched-telephony
- a private telephone network may be utilized in place of or in combination with PSTN 55. The inventor chooses PSTN 55 because of its high public-access characteristic.
- CTI processor 62 an instance of CTI software known to the inventor and termed Transaction Server (TS) is provided within CTI processor 62 and adapted to enable communication-center 21 to certain call-switching and routing aspects performed by LSW 59.
- LSW 59 is connected to a central telephony switch (CSW) 53, illustrated within communication center 21, by a COST telephony trunk 57.
- CSW 53 may be any one of several types of call processing switches as previously described with respect to LSW 59 above.
- DPN 61 is, in this example, the well-known Internet network and will hereinafter be termed Internet 61.
- Internet 61 facilitates all Internet-protocol (IP) callers reaching communication center 21 through the Internet.
- IP Internet-protocol
- Internet 61 may instead be a private or corporate Wide Area Network (WAN), or any other type of DPN as long as Internet communication protocols are supported.
- WAN Wide Area Network
- the inventor chooses Internet 61 as a preferred network because of it's high public-access characteristic. IP callers calling into communication center 21 may interface from any Internet-connected server, which provides network access to communication center 21.
- WPS Web-Presence-Software
- CPS 10 Customer-Presence-Software (CPS) 10 is provided to execute on customer-premise-equipment (CPE), which in this case is a PC operated by user 9.
- CPS 10 is adapted to integrate communication-center status information into a customer's electronic interface, which is typically an electronic-information-page (Web page) served to the customer by WS 15 upon the customer's request.
- CPS 10 is an optional implementation in this example and is described in more detail later in this specification.
- PC/VDU's 39, 35, and 43 are connected to a Local-Area-Network (LAN) 23.
- LAN 23 is, in this case, enhanced for Internet communication.
- IPR 25 is connected to LAN 23 and functions as an event router as previously described above.
- Other equipment may also be connected to LAN 23 such as a customer information server (CIS), a statistical server, and other communication-center systems and equipment not shown here but assumed to be present.
- Processor 65 is connected to LAN 23 by a LAN connection 67. In this way, information about COST callers being handled at LSW 59 may be routed over LAN 23 to destination PC/VDUs such as PC/VDU 35 in station 29 for example. Information about COST callers can also be handled by CSW 53 and routed over LAN 23 to destinations.
- a status server 49 is provided within communication center 21 and adapted to monitor agent status and availability for receiving incoming communication events.
- Status server 49 is connected to LAN 23 by virtue of a LAN connection and monitors status at each workstation 27-31.
- Software used for this purpose is not illustrated in this embodiment, but may be assumed to be present and operational within server 49.
- Agents manning stations 27-31 may monitored as to how many calls are in their respective queues whether they are COST queues, IP queues, or virtual queues of either type. Estimated waiting times for each queue of each agent are determined using call-handling statistics available within center 21. The information gathered to be made available t users may also be more extensive in scope, involving status of groups of agents and the like.
- Server 49 is capable of monitoring the status of each agent in real-time, but for practical purposes, may perform periodic status checks on a frequent basis such that real-time parameters are closely emulated. All current status information for every agent logged on to LAN 23 is compiled by server 49 and maintained as long as it is current.
- CCPS Communication-Center-Presence Software
- server 49 is, in this embodiment connected directly to WS 15 by a separate high-speed data link 20. This implementation is not specifically required to practice the present invention, however the presence of link 20 enhances server-to-server communication. In the absence of data link 20, all communication between WS 15 and status server 49 would be conducted over Internet connection line 19, through IPR 25, and over LAN 23.
- the Web form which is part of WPS 16, allows a user to enter such information as a product description, profile information, or a purpose for the desired contact with communication center 21.
- WPS 16 upon receiving and registering a request from user 9 sends an instant message/request over high-speed data link 20 to status server 49.
- CCPS 50 parses the request and obtains the most current status information from server 49 that matches the intent of the request. For example, if user 9 desires to purchase a four-wheel drive pickup, and communication center 21 is a car dealership, then CCPS 50 will only obtain status information connected to those agents within center 21 responsible for four-wheel drive sales.
- status information is obtained by server 49, it is sent in the form of a response from server 49 to WS 15 whereupon it may be made available to user 9.
- the status response may be sent to user 9 along with a subsequent Web page whereupon the information is caused to be a part of the web page at the location of user 9.
- CPS 10 would incorporate the information into the display of the subsequent Web page.
- CCPS 50 may obtain all of the current agent-status information available from communication center 21 and send it to WS 15 over link 20 on a periodic or real-time basis.
- WPS 16 would, in this case, the enhanced with a filtering capability of filtering status information that closely matches a user request. Also in this case, an instant message would not need to be sent from WS 15 to status server 49.
- status information viewable by user 9 would include any listed agents, number of calls in their queues, and estimated time waiting for agent availability with respect to each queue.
- agent JIM may have 5 COST calls waiting, 5 IP calls waiting, and 8 unanswered e-mails. Therefore, agent Jim may be considered unavailable for imnediate service.
- An estimated time waiting for Jim to respond may be averaged over all his media types, or maybe specified for each media type.
- User 9 may initiate a refresh action in order to obtain an update of status information. Contact links and other options may be presented in association with listed agents and agent status figures.
- An interface of the type described above enables users to essentially browse agent-availability statistics before initiating any type of contact with communication center 21.
- user 9 could initiate contact with that agent using provided contact links or information.
- WPS 16 at Web server 15 in retrieving information from communication center 21 via CCPS 50 is but a single example of how a system according to the present invention may function. It has been described that similar functionality may be provided by CPS 10 at a client station, and that there is no limitation to the client station operating only through a Web server. In a broad sense, the means of communication of client station 9 with communication center 21 is not limiting to the invention.
- the cooperation of gathering software (CCPS 50) at a communication center with an interface software (CPS 10) at a client station is novel.
- the client stations in such a system may become enabled.
- retrieval of communication center status info is by software (WPS 16) at server 15
- WPS 16 software
- a conventional browser will do.
- software CPS 10 is enabled at a client station, that software may be sent to a client on a CD (for example), sent to the client in the background on accessing a Web page at server 15, downloaded intentionally by a client at station 9 as a plug-in to a Web browser, and in other ways as well.
- Fig. 2 is a plan view of a client-side media-interface 69 that contains status information according to an embodiment of the present invention.
- Interface 69 is an exemplary representation of a customer interface displaying agent-availability status after it has been requested and delivered.
- Interface 69 may be an integrated part of a Web page (incl. e.g. script, Java, Java script, X-Windows script, plug-in etc. etc.), a pop-up information window, an instant message interface, or any other mechanism of computerized display.
- interface 69 is a product of CPS 10 of Fig. 1 .
- WPS 16 of Fig. 1 sends agent-availability information to user 9 over Internet connection 11, 13, 19, and CPS 10 incorporates information into an interactive display-window or into the actual Web page served by server 15.
- interface 69 is a product of WPS 16 in Fig. 1 and is embedded into the actual Web page before it is served to user 9.
- interface 69 is a product of WPS 16 and is served to user 9 in the form of a standard instant-message interface using any of several known protocols.
- agent-availability status is generalized to a group of agents and displayed as 3 parameters. These are a number of available agents 71, a number of calls waiting 73, and an estimated hold time 75.
- the information represents the most basic information available for the target group of agents. In this case there are 12 available agents that are handling the subject of request resulting in interface 69. There are 25 calls waiting in a queue shared by the 12 available agents. The average estimated hold time for one of the 12 agents to respond to an immediately placed call is 2 minutes and 10 seconds.
- a contact option 72 is provided to allow a viewing customer to initiate an IP-to-IP telephone call, or an IP-to-COST telephone call.
- a contact option 74 enables a viewing customer to send an e-mail, which would be routed to one of the 12 available agents.
- a contact option 76 enables a viewing customer to initiate a callback from one of the 12 available agents. Using callback option 76 enables an invoking user to be entered into a virtual queue. A user in this case may expect a callback at approximately 2 minutes and 10 seconds after initiating the contact.
- the availability and variety of interactive contact options is dependent upon enterprise rules and available media.
- interface 69 may contain much more detailed information including information that a specific to a user request invoking the interface.
- each of the available agents 71 may be listed separately instead of collectively as illustrated herein.
- the number of calls waiting may be broken down to reflect the exact number of calls waiting for each available agent.
- estimated hold times may be determined individually for each busy agent.
- additional information about agents may be listed such as skill levels, language preferences, ranking within the organization, and so on.
- the level at which detailed agent-availability data may be compiled and presented depends entirely on the sophistication and configuration of agent monitoring software in use within communication center.
- Fig. 3 is a flow diagram illustrating client and system procedural steps for practicing communication-center presence reporting according to an embodiment of the present invention.
- the user logs onto a DPN, which in a preferred case, is the Internet network.
- the user of step 77 navigates to a Web site hosted by a communication center that the user desires to contact.
- a Web form may be present on a main Web page of the Web site navigated to in step 79.
- Such a Web form would prompt a user for his or her intent or reason for the desired contact.
- These reasons are as wide-ranging as are enterprises that might host such a Web form. For example, a list of product descriptions may be presented for selection.
- Levels of contact priority may be established in the case of priority queuing, amongst others possibly based on user ID. Available options are limited only by enterprise rules.
- a user enters the information solicited from him or her by the above-described Web form.
- the user submits the Web form.
- a Web presence server analogous to Web server 15 of Fig. 1 receives the request sent by the user of step 83.
- the Web presence server forwards the request received in step 84 to a communication-center presence server analogous to server 49 of Fig. 1 .
- CCPS 50 of Fig. 1 analyzes the received request and pulls the most current agent-availability data for the purpose of servicing the request.
- the applicable data is sent in the form of a response back to the Web presence server of step 85. It is noted herein, that this communication between servers may occur over a separate high-speed data line as was described in reference to figure 1 above.
- the server-to-server transaction may follow known request/response models used in Internet transactions.
- the applicable data When the applicable data is received at the Web presence server, software analogous to WPS 10 of Fig. 1 may integrate the information into a subsequent Web page to be sent back to the user of step 77, or it may formulate the response as an instant message, which is immediately dispatched act to user 77.
- the applicable data is delivered to the user of step 77 and is displayed as an interactive interface analogous to interface 69 of Fig. 2 at step 89.
- the user of step 77 may initiate contact with the target communication center or wait for a better time for contact initiation based on user-analysis of the received data.
- the user requesting the data may refresh his or her request periodically to obtain the most current agent-availability data during a session period. In some cases, the requesting user may receive streaming data in real-time showing continual changes in agent-availability status over the time spent viewing the interface.
- Web server 15 of Fig. 1 may be hosted by a single communication center or shared by a plurality of communication centers. In the latter case, it is more likely that agent-availability data will be pulled from the providing communication centers rather than pushed to the central location.
- an enhancement is provided that enables agents operating from within communications-centers to monitor client availability status for the purpose of callback optimization.
- client availability status for the purpose of callback optimization.
- a collection of all media statuses is generated, and then presented as an amalgamated status to an agent or robotic agent.
- the preferred mode and time for a back connection may be available as well.
- client on-/off-line status information and the client's callback preferences are obtained at the same time using the same protocol.
- client on-/off-line status information and the client's callback preferences are obtained independently, for instance using a presence service such as ICQTM for the on-/off-line status information and HTTP or WAP for obtaining the client's callback preferences, or for instance during a previous communication between the client and an agent of the communication center.
- client-status information is obtained using a single protocol, such as ICQTM.
- partial client-status information is obtained using multiple protocols, such as ICQTM and MSN Messenger ServiceTM, and combined to provide complete client-status information to the subscribing agent.
- client-status information is obtained via a single network, such as the Internet network.
- partial client-status information is obtained via multiple networks, such as the Internet network and the cellular network, and combined to provide complete client-status information to the subscribing agent.
- Fig. 4 is an overview of a communications network 92 wherein agent monitoring of client status is practiced according to an aspect of the present invention.
- Communication network 92 is somewhat analogous to communications network 52 of Fig. 1 above in terms of basic architecture and software implementation. Elements of network 52, which are not modified for the purpose of enabling the present invention are not re-introduced with new element numbers. Newly provided or modified elements used in the practice of the present invention are introduced herein having new element numbers.
- Communication network 92 comprises PSTN 55, DPN 61, communication center 21, and an exemplary user 9 as described above with reference to network 52 of Fig. 1 .
- PSTN 55 represents a preferred network connecting all connection-oriented-switched-telephony (COST) clients whom call into communication center 21 for the purpose of doing business with the center.
- COST connection-oriented-switched-telephony
- a private telephone network may be utilized in place of or in combination with PSTN 55. The inventor chooses PSTN 55 because of its high public-access characteristic.
- LSW 59 illustrated within PSTN 55 and represents automated switching capability within the network.
- LSW 59 may be an Automatic Call Distributor (ACD), a Public Branch Exchange (PBX), or any other type of telephony switching apparatus, in the broadest sense, including but not limited to DNT type switches/gateways as used in Voice over IP (VoIP) etc. as was previously described.
- ACD Automatic Call Distributor
- PBX Public Branch Exchange
- LSW 59 is CTI enhanced by CTI processor 62 connected thereto by a CTI connection.
- TS software provided within CTI processor 62 enables communication center 21 to control certain call-switching and routing aspects performed by LSW 59 as was described in Fig. 1 .
- LSW 59 is connected to CSW 53, illustrated within communication center 21, by COST telephony trunk 57.
- CSW 53 may be any of several types of call processing switches as previously described with respect to LSW 59 above.
- CSW 53 is enhanced by CTI processor 65, which is connected thereto by a CTI connection as was described with reference to LSW 59.
- CTI processor 65 also has an instance of TS software provided therein and adapted to communicate with TS software of processor 62.
- Data network 64 provides a capability of double dipping described in Fig. 1 above.
- Internet 61 facilitates all Internet-protocol (IP) callers reaching communication center 21 through the Internet.
- Internet 61 may be a private or corporate Wide Area Network (WAN), or any other type of DPN as long as Internet communication protocols are supported.
- IP Internet-protocol
- CCPS 94 software installed therein, which is an enhanced version of CCPS 50 described in the example of Fig. 1 .
- CCPS 94 not only provides clients with agent status information over the WWW, but also allows agents working within center 21 the capability of subscribing to client status information. More detail regarding the just-described enhancement is provided below.
- CPS 95 there are 2 exemplary file servers illustrated as connected to Internet backbone 13. These are a customer presence server (CPS) 95 and a foreign presence server (FPS) 93. It is noted herein that CPS 95 effectively replaces WS 15 of Fig. 1 and can be assumed to provide the formerly-described functionality of server 15 and associated web presence server (WPS software) 16 of the same example.
- CPS 95 functions as a file server enhanced with an instance of software (SW) 97, which may be described, in this embodiment as CPS software 97.
- SW software
- CPS server 95 is, in this example, hosted by the same entity hosting communication center 21 and is utilized as a customer/agent interface.
- CPS SW 97 is enhanced for the purpose of allowing an agent to subscribe to real-time customer availability information as it applies to the remote station occupied by the customer.
- the station refers to remote PC 9, also referred to as user 9 in this specification.
- User 9 is connected to backbone 13 by Internet-access line 11, as was described with reference to Fig. 1 .
- CPS 95 is optional in this example and not specifically required in order to practice the present invention.
- CPS 95 represents a collection server that is utilized for collecting and organizing user status-states, which may be subscribed to or otherwise accessed by agents of center 21.
- FPS server 93 is adapted as a third-party server similar to those employed by well-known chat and instant messaging services.
- FPS 93 may be assumed to have software installed therein, and is adapted to organize instant communication between clients using a supported instant messaging service operating under a known protocol such as RFC2778 as was described in the example of Fig. 1 .
- CPS server 95 is connected to status server 49 within communication center 21 by high-speed data connection 20.
- a second high-speed data connection 19 is provided for connecting FPS server 93 to status server 49.
- status server 49 has access capability to both CPS 95 and FPS 93.
- Server 49 may instead of adapted to connect to Internet backbone 13 using a 24X7 or a switched Internet connection.
- CPS 95 is hosted by center 21 and adapted to function in much the same way as FPS 93. That is to say that CPS 95 is a central facility for interaction.
- CPS 95 is not present and CPS SW 97 is instead distributed directly to client machines, as in this case, CPS SW 97 illustrated as installed in PC 9.
- CPS SW 97 illustrated as installed in PC 9.
- the functionality of CPS 10 of Fig. 1 is included in the enhanced version, or CPS SW 97 shown on PC 9.
- CCPS 94 interacts directly with the customer.
- User 9 may be assumed, in this example, to be accessing either FPS 93, or CPS 95 for the purpose of determining agent status information as described in Fig. 1 and for making status information available to subscribing agents.
- IPR 25 handles incoming message events sourced from FPS 93 and/or CPS 95.
- communication center 21 operates identically to the center (21) described in Fig. 1 including the configuration of agent's workstations and so on. Therefore, detailed re-description of the agent's operating environment (workstations, LAN connectivity, etc) need not be provided in this example.
- CCPS 94 may be adapted to integrate an enhanced package of status indicators associated with communication-center use into software running on FPS 93 and on user station 9 such that user station 9 may communicate a variety of enhanced status messages to subscribing agents within communication center 21. It is also noted herein, that the functionality of agent-status indication as taught in Fig. 1-3 above may be integrated into software at FPS 93 and at user station 9 without departing from the spirit and scope of the present invention.
- One example of an enhanced user-status indication that may be associated with communication center 21 may be an indication that user 9 is temporarily away and preferred contact is by cellular phone during this status period. Of course, the cellular phone number of user 9 would be provided as part of the indication.
- a communication-center agent for example, an agent operating PC 43 within workstation 31 may subscribe to FPS 93 utilizing LAN 23, server 49, and high-speed data link 19.
- the agent in question may be in various states of communication with a plurality of users connected to have FPS 93.
- user-status indications may be pushed in the form of periodic instant messages to PC 43, where they may be viewed by the monitoring agent.
- the monitoring agent may decide which callback options are appropriate based on user-status indication contained within the content of the instant message. That may be done by other protocol than just IM, e.g. HTTP, WAP, IPNT etc.
- the agent operating PC 43 may subscribe to an interface (not shown) served by FPS 93 such that current status indications are contained within the interface and viewable on PC 43.
- status server 49 executing CCPS 94 provides interactive interfaces for both clients and agents for the purpose of viewing status. Also in this embodiment, status server 49 executing CCPS 94 may facilitate COST outbound dialing from agent to client through CSW 53 by virtue of connection 51.
- An agent operating at one of connected workstations 27-31 may subscribe to real-time status reports associated with a plurality of users connected to FPS 93. Subscription may be defined as an active state of dialog established between an agent and the connected users. The dialog states may be initiated and established by users contacting agents through the method of the present invention. Therefore, users who have connected to FPS 93 and have initiated contact with an agent of communication center 21 may be considered for status reporting until the purpose of the dialog is achieved or the user is no longer connected to FPS 93.
- the agent user will not be a human agent but will be a special purpose server (not shown) providing some very specific services.
- a special server is a callback server that automatically initiates callback calls to a customer 9 based on that user's callback preferences and routes the call to an agent after the customer answers.
- a special purpose server is a server that monitors the communication center's status and, on request of the customer 9, sends an alert to the customer when the communication center's status matches specific conditions, for instance when the average waiting time is smaller than three minutes.
- the customer can have multiple terminal devices such as a PC 9 and a cellular phone (not shown). For each type of terminal equipment there can be a different FPS 93 to obtain the on-/off-line status of the customer. By combining these partial statuses (SW not shown), for instance in CCPS 94, a complete customer status can be presented to the subscribing agent.
- the CCPS 94 can combine the presence information of the customer.
- the customer's PC 9 can combine the presence information. Take for instance the case where the PC is equipped with a modem-board and where the customer's telephony is also connected to that same modem-board.
- the client's PC 9 can combine the client's on-/off-line status for the customer's fixed line and for the customer's internet access and his ability to participate in a chat session or a net-meeting, etc.
- the agent doesn't necessarily have to subscribe for agent status info to the CPS or FPS
- the CCPS could take over this job (e.g. agent doesn't use IMPP to subscribe but proprietary protocol).
- the CCPS could subscribe to the CPS or FPS.
- this CCPS functionality could run on a dedicated node, could be combined with other functionality on a separate node (e.g. embedding the status information in web-page), could run on the agents workstation (or node in case of automated agent), etc.
- the agent will not be communicating synchronously with the customer while receiving these customer's status info, it is possible to allow that, for example in cases where both the agent and the client need to do something, while communicating as well.
- CPS 95 is optional and is intended to represent the central "place of status exchange" between agents and users, including but not limited to requests, etc. for dialog.
- CPS SW 97 is distributed directly to client PC stations similar to PC 9 as illustrated herein.
- status server 49 executing CCPS 94 functions as an instant message broker (i.e. proxy) between agents operating workstations 27-31 and users represented herein as user 9.
- user 9 would log into a web server analogous to web server 15 of Fig. 1 for the purpose of initiating contact with communication center 21. Because and interfacing server is used to interface a plurality of users to communication center 21, both instant message type status reports and status reports contained with an electronic information pages (web pages) are possible.
- a channel may be opened from server 49 to the node, which is in this case PC 9, from which the incoming event originated if the addressing information is included in the arriving COST event.
- an agent may interact with a user from a COST telephone and view that user's status information simultaneously. If for some reason the agent must terminate the call, the agent may still subscribe user's online status through the connection established to PC 9 by server 49. Even though there is no active communication between the contacted agent and the initiating user status regarding connectivity state, callback instructions, and so on is immediately available to the contacted agent. Similarly, agent availability and estimated time of response reports associated with the contacted agent are available to user 9 as long as the connection between user 9 and server 49 is open.
- the on-/off-line status information for user 9 will reach the communication center 21 independently from the callback preference information for that user 9.
- user 9 can be invited to fill out some form on a web page in order to specify callback preferences.
- an agent can be feeding the customer preferences to the system during a communication with that customer 9.
- the callback preference information can be combined with the on-/off-line status information.
- the web page can be accessed by the customer using a PC.
- the web page can be accessed using a mobile device that is for instance WAP enabled.
- the web-page can be hosted by the FPS 93 or the CPS 95. In another aspect, it can be hosted by another server (not shown).
- the customer's preferred third-party presence service can be part of the callback preferences.
- third-party presence services such as, but not limited to, ICQTM and MSN Messenger ServiceTM.
- a user 9 that is a member of one these presence services can allow agents of the communication center to monitor it's presence status by communicating it's preferred presence service to the communication center.
- a customer that isn't a member of a third-party presence service can be allowed by the communications center to download the tools for a communication center specific presence service.
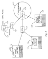
- Fig. 5 is a simplified logical connection diagram illustrating functionality of principally software elements in an embodiment of the present invention.
- CCPS 119 is illustrated as operable in a communication center 117 for receiving status from client devices and other information to be provided to agents.
- the agents may be live agents or robotic agents.
- Fig. 5 there are two clients (persons) labeled Client 1 and Client 2.
- Client 1 has a PC 129 at his home, which executes an instance of FPS-SW 131, which is, in this case, AOL.
- Client 1 also has a PC 137 at his office executing an instance of CPS-SW 195.
- CPS-SW 139 is provided by the host of communication center 117.
- Client 1 has a WAP telephone 125 executing an instance of FPS-SW 127, provided by Sprint in this example.
- a first Foreign Presence Service Server (FPSS) 121 monitors both instances of AOL (and any other instances at client premises not shown), and provides presence information to CCPS 119, which is enabled for AOL and is executing in communication center 117.
- a second FPSS 123 monitors WAP telephone 123.
- CCPS 119 monitors CPS-SW 139 executing on PC 137, although alternatively, there may be an intermediate Client Presence Service Server between PC 137 and CCPS 119, not shown here.
- additional servers maybe inserted as proxies etc. between for example FPSS 121,123 and CPSS 119 etc., not shown here.
- Fig. 5 may move between his PCs and carry his WAP telephone with him, being variously connected and available through the three client devices 125, 129, and 137.
- Real time monitoring of all of these devices by CCPS 119 directly and through FPSS instances provides valuable information to a real or robotic agent associated with Center 117, together with client preference information which may be achieved by any of several paths, as described above, in real time or according to pre-programmed preferences.
- client preference information which may be achieved by any of several paths, as described above, in real time or according to pre-programmed preferences.
- the ability of agents, real or robotic, to respond to client's needs is therefore greatly enhanced.
- Fig. 4 and Fig. 5 are greatly simplified illustrations, and there may be many more clients, client devices, and instances of FPS and CPS servers and software involved in many ways.
- the diagrams and accompanying descriptions are provided to convey the essentials of the invention and its functionality.
- the method and apparatus of the present invention may be applied to a variety of connection scenarios without departing from the spirit and scope of the present invention.
- the software of the present invention may be provided in a variety of functionalities ranging from an extendable application program interface (API) to an existing instant-messaging service to a fully functional server-driven service application including client-side and server-side components.
- API application program interface
- status alerts may take the form of pager messages or other types of known alerts when a client status is determined to be offline.
- a single agent may subscribe to a plurality of customer status messages simultaneously such that he or she may manage outbound calling in a more optimal fashion.
- Joe may receive alerts or messages indicating estimated waiting time for a callback, or perhaps instant message data that resolves the current dialog between Joe and an agent. In the latter case, instant messaging may be used to dispose of calls.
- Fig. 7 is a flow diagram illustrating agent and system procedural steps for observing customer status and call back preferences according to an embodiment of the present invention.
- a communication-center agent subscribes to customer presence server 95 of Fig. 4 , in this case, through status server 49 within communication center 21 described in Fig. 4 . It is assumed in this step that the subscribing agent already has at least one customer who has initiated contact with the subscribing agent through server 95. It may be that the subscribing agent is working with a plurality of customers also connected to server 95.
- the subscribing agent observes the customers status relating to whether the customer it is online or off-line.
- the subscribing agent observes the customer's call back preferences, which may very according to the customer's connection status. Call back preferences may include but are not limited to IP phone, cellular, e-mail, pager, COST telephone, interactive chat, and so on.
- the subscribing agent takes action based on the customer's status and stated call back preferences.
- CPS 95 may be facilitated as sort of a callback queue wherein a plurality of the agent's customers may be directed to if the agent of contact happened to be busy at the time of contact.
- customer status and call back preferences are propagated to the subscribing agent and estimated times of response and other information they be propagated to the waiting customers. Flexibility exists in this embodiment in that unlike any normal call-waiting queue, the customer is free to move about and even disconnect from the network and go about normal business while waiting for a callback.
- the subscribing agent will be served an instant message reflecting the customer's off-line status and a medium wherein the agent may contact the customer off-line such as a COST telephone, a pager, or some other off-line medium.
- a priority state may be applied to the plurality of customers waiting for a response from a particular agent.
- the customers may subscribe to estimated-waiting time alerts regardless of whether they are online or off-line. For example, a customer may indicate that an alert be sent to his or her paging device approximately five minutes before an agent is estimated to respond by calling the customer on his or her cell phone the event that the customer has gone off-line from the interfacing server.
- the subscribing agent is served the offline status, which includes the preferred call back medium and the appropriate cell phone number to call.
- a central server such as CPS 95 of Fig. 4 may be dedicated to communication-center 21 such that all interfacing customers have status interfaces which are available to all subscribing agents.
- subscribing agent may browse and subscribe to selected customer states based on agent/customer match-up. For example, a subscribing agent specializing home loans for example, may log into the system and subscribe to any customers connected the system who have initiated an inquiry to communication center 21 regarding loans.
- a subscribing agent specializing home loans for example, may log into the system and subscribe to any customers connected the system who have initiated an inquiry to communication center 21 regarding loans.
- a personalized client-center interface which in addition to accommodating the agent/client presence services described above, provides an interactive capability to clients for the purpose of enabling the client to perform a number of communication-center related tasks without involving agent interaction.
- the client is enabled to access information at the communication center, and to check thereby the status of a transaction.
- a client can access a variety of other information, and interact with communication center capabilities in a number of ways.
- the method and apparatus of the present invention is enabled in various embodiments by the teachings presented below.
- Fig. 8 is an overview of a communications network 177 wherein a personal interaction-center system is utilized according to an embodiment of the present invention.
- Communications network 117 is somewhat analogous to communications network 92 of Fig. 4 above in terms of basic architecture and software implementation. Elements of network 92 which are not modified for the purpose of enabling the present invention are not re-introduced with new element numbers.
- Communications network 117 comprises PSTN 55, DPN 61, communication center 21, and an exemplary user 9 as described above with reference to network 92 of Fig. 4 .
- CPS customer presence server
- CIS customer interaction server
- CIS 119 is provided as a single example of a way in which the functionality of the present invention may be implemented. There are a number of other ways within the spirit and scope of the invention that this may be done, such as by utilizing the functions described above provided by WS 15 of Fig. 1 with those of FPS 93 of Fig. 4 . The overall functionality may also be provided by utilizing the functions of WS 15 with those of CPS 95. Further, there is no implication here that the user interface, in the case of a Web page, by hosted by a third party. The descriptions of the functions of CIS 119 in great detail in the following material is to be construed in this light, that there needs be an interface, and that described is exemplary, and that the functions may be provided differently within the spirit and scope of the invention.
- CPS server 95 is connected to status server 49 within communications center 21 by high-speed data connection 20.
- a second high-speed data connection 22 is provided for connecting CIS server 119 to status server 49.
- status server 49 has identical high-speed access capability to both CPS 95 and CIS 119.
- high-speed data-access lines connecting server 49 to servers 95 and 119 are not required in order to practice the present invention.
- Server 49 may instead be adapted to connect to Internet backbone 13 using such as a switched Internet connection.
- CPS 95 enhanced by CPS SW 97, is hosted by communication center 21 and adapted to function in much the same manner as CIS 119. That is to say that CPS 95 is a central facility for interaction. Agents 27, 29 and 31 may be assumed, in this example, to be accessing either CIS 119, or CPS 95 for the purpose of determining client status information and for making status information available to servicing agents.
- IPR 25 handles incoming message events sourced from CIS 119 and/or CPS 95.
- communication center 21 operates identically to the center (21) described in Fig. 4 including the configuration of agent's workstations and so on. Therefore, detailed re-description of the agent's operating environment (workstations, LAN connectivity, etc.) will not be provided in this example.
- a distributed software application is provided to reside in one part on server 119 as software (SW) 121 and in one part as software (123) residing at remote station 9.
- SW 121 is adapted to enable a user operating station 9 through SW 123 to subscribe to a personalized and interactive activity interface (SW 121).
- SW 121 may incorporate the presence reporting capabilities taught in the examples of Fig. 4 (SW 97) and of the example of Fig. 1 (WPS 16).
- SW 121 may incorporate the presence reporting capabilities taught in the examples of Fig. 4 (SW 97) and of the example of Fig. 1 (WPS 16).
- the inventor intends that the three capabilities taught, customer presence reporting, agent presence reporting, and personalized client interaction capabilities may be combined, if desired, into a single distributed software implementation namely SW 121 and SW 123.
- each capability taught may be separately implemented by both hardware and software provisions.
- SW 123 residing on PC 9 is a known instant-messaging software adapted to enable client connection to CIS 119 as a centralized communication server.
- An example of one such known messaging service would be the well-known ICQTM service.
- CCPS 94 running on status server 49 would be adapted to support the particular instant-messaging application employed by user 9 and supported at CIS 119 by SW 121.
- server 119 may be hosted by the entity hosting general IM services and through special arrangement, may provide personalized interfaces enabling client interaction to common clients of center 21 and the entity hosting server 119.
- SW 121 provides interactive activity interfaces of the form of dynamic WEB pages complete with instant messaging capabilities.
- SW 123 at station 9 represents a thin client application that may operate in a stand-alone fashion or be plugged into a client's browser application.
- server 119 is hosted by the same entity that hosts center 21.
- SW instances 121 and 123 are dedicated applications enabling client interaction capability with various communication-center resources.
- agent-status indication may be integrated into software at CIS 119 and accessible from user station 9 without departing from the spirit and scope of the present invention.
- a communication-center agent for example, an agent operating PC 43 within workstation 31 may subscribe to CIS 119 utilizing LAN 23, server 49, and high-speed data link 22 for the purpose of determining client presence, as well as for assisting a client with interactive tasks, if required.
- a client 9 can verify a current interaction status between himself or herself and communication center 21 without initiating a call to the center.
- Center 21 can also verify the status of client 9 without initiating a callback.
- the further goal of this specification is to enable client 9 to perform a variety of center-related tasks, which may be performed without agent involvement.
- client interaction at CIS 119 is open such that any subscribing agent in question may monitor states of activity of a plurality of users actively connected to CIS 119.
- user-status indications may be pushed in the form of periodic instant messages to, for example, PC 43, where they may be, for example, viewed by a monitoring agent working station 31.
- a monitoring agent may decide whether or not to become actively involved in interaction with a client. For example, if a client is reviewing interaction history regarding a particular product of interest handled by a monitoring agent, that agent may invite the client to a pre-scheduled chat session about the product, or perhaps an impromptu chat, which may lead to an additional sale.
- a pre-scheduled chat session may be, for example, a pre-scheduled chat session about the product, or perhaps an impromptu chat, which may lead to an additional sale.
- an agent operating PC 43 may subscribe to an interface (not shown) served by CIS 119 such that current status indications are contained within the interface and viewable on PC 43.
- status server 49 executing CIS 119 provides interactive interfaces for both clients and agents for the purpose of viewing status and as a predecessor to impending dialogue.
- status server 49 executing CCPS 94 may facilitate COST outbound dialing from agent to client through CSW 53 by virtue of connection 51.
- An agent operating one of the connected workstations 27, 29 or 31 may subscribe real-time status reports associated with a plurality of users connected to CIS 119 as previously described. Subscription may be defined as an active or in-active state of dialog established between an agent and the connected users.
- the dialog states may be initiated and established by users contacting agents through the method of the present invention or by agents contacting users.
- Fig. 9 is a plan view of an interactive user interface 125 served by CIS 119 of Fig. 8 according to an embodiment of the present invention.
- the Personal Interaction User Interface (PIUI) 125 is composed of two sub-elements or sections. These are a section labeled Add/Edit Information and a section labeled View Status.
- the Add/Edit Information element is made up of four basic categories of data used to create a dynamic multifaceted profile of a client that is accessible to communication center entities. These four categories represent interactive add/edit functions illustrated in this example, by an element number 127 (critical account and personal data), an element number 129 (network-capable appliance communication information), an element number 131 (personal agenda information), and an element number 133 (personal interests data).
- the information described in sub-element 133 lends itself to life style and preferences of a client and therefore is established in a manner as to be updated as often as is necessary.
- the section of interface 125 labeled View Status comprises two basic categories. These categories are illustrated herein by element number 135 (view interaction history) and element 137 (view communication center status).
- the information described in category 135 relates to current and past interaction history between a client operating interface 125 and entities of a communication center. Entities as defined herein may also be assumed to include automated systems.
- the information described in category 137 relates to status information made available by the center upon request and, in some cases, dependant on the nature of the request.
- element 139 is for viewing the status of individual agents as personal account managers, allowing a user to monitor calls holding for the agent, estimated hold time, and to submit a call-back request.
- Element 141 allows the user to initiate a communication in any one of a variety of formats, as indicated.
- interface 125 covers all of the functionality described in the embodiments introduced by Figs. 1 and 4 above.
- every client subscribing to the system of the present invention is provided with at least an identification parameter (member ID number).
- an identification parameter member ID number
- data obtained and stored from internal and external sources is easily identifiable to a particular client.
- passwords and log-in requirements may be instituted depending on enterprise rules.
- Much profile information about clients may be automatically compiled using on-going historical data resulting from ongoing relationships with clients. Such data, if available, may automatically appear in the described Add/Edit Information section of interface 125 when first created. It is important to note herein that the data categories 127, 129, 131, and 133 may be populated using automatic interaction recording methods during communication center interaction events.
- personal data category 127 this information is illustrated herein as divided into various basic subcategories. These subcategories are listed from top to bottom as: login name, password, address, and age, marital status, etc. Each category may be further divided into more subcategories as deemed appropriate. As data is automatically compiled about a client over time, the client's profile becomes more and more accurate. Interface 125 enables a client to manually add or edit information at any time.
- Element 129 provides information relating to the network-capable appliance capabilities of the client. This element is divided into various subcategories befitting the status of the client. In this example, the subcategories are Email, cell phone, telephone, and pager. This element may be edited continuously in keeping with the changing requirements of the client. Additional communication capabilities may include but are not limited to IP phone, PC applications such as specific chat interfaces, file-share programs, and so on.
- Element 131 reflects personal agenda information provided by a client and is divided into various subcategories that pertain to the client's personal preferences relative to time and date available for communicating with agents at the communication center and preferred method or methods of communication. Personal agenda information may be edited frequently as a client's personal state changes.
- Element 133 pertains to personal interests of a client and is divided into multiple subcategories.
- the subcategories listed include interest lists, subscriptions, and product updates.
- Category 133 is , in this example, a vehicle through which a client may communicate general desires to agent's of a communication center.
- interest lists may detail all of a client's particular interests whether related to communication-center business or not. By knowing interests of a client, agents may be better able to relate to the client on a personal level. Moreover, interests may be taken into consideration when serving the client.
- Subscriptions may include client subscriptions to communication-center provided material as well as to materials provided by other sources.
- Product updates may include requests to add notifications of when new or newly enhanced products offered by the communication center are available. Frequent client editing and addition of new data through category 133 is expected.
- element 135 enables client access to personal interaction history as previously described.
- Subcategories of category 135 represented herein include a date of last interaction, an update option, and a cancel option.
- Information accessed through interaction within category 135 is compiled over time and is personalized to the client.
- Such available history data may include separate interaction records pertinent to separate communication mediums. Interaction records may be further divided by product, agent interacted with, and so on.
- interaction with automated systems of a communication center may be included.
- a client may be provided with various options for ordering interaction history records. For example, a client may order a combined record including all communication-center interaction presented according to data and time.
- partial records may be ordered through a search function (not shown) provided in interface 125. There are many possibilities.
- Element 137 pertains to communication center status reflecting information pertinent to a client when desiring contact with an entity of a communication center. It is noted here that a client may access and view agent status without initiating a contact event. However, in some embodiments, a client may submit an instant message summarizing an intent of a pending communication event whether it will be initiated by a client or by an agent calling the requesting client. Subcategories represented herein include calls holding, agents available, estimated hold time, and submit call back request. These and various other available options provide information for the client relative to the status of the communication center, and availability of services before connecting to the communication center or requesting a contact event from the center.
- interface 125 there may be more categories and subcategories described in interface 125 without departing from the spirit and scope of the present invention.
- the inventor has outlined basic categories and basic subcategories and deems them sufficient for illustrative purposes.
- appropriate secondary interfaces will display for clients interacting with interface 125 such that selective viewing, data entry, editing, and so on may be accomplished.
- Such secondary interfaces may be linked to each category and subcategory through hyper linking or other known methods.
- the method and apparatus of the present invention may be applied to a variety of connection scenarios without departing from the spirit and scope of the present invention.
- the software of the present invention may be provided in a variety of functionalities ranging from an extendable application program interface (API) to an existing instant-messaging service to a fully functional server-driven service application including client-side and server-side components.
- API application program interface
- the inventor provides a novel way of supporting third-party IMPP services in a secure manner by intelligently routing IM events within a closed, or in some cases open system of Customer Service Representatives (CSRs).
- CSRs Customer Service Representatives
- Fig. 10 is an overview of a communications network 1001 wherein IMPP event routing is practiced according to an embodiment of the present invention.
- Network 1001 consists of, in this example, a communication center 1026, an Internet network 1021, and a public-switch-telephone-network (PSTN) 1019.
- Network 1001 is analogous in preferred embodiments to networks 52 or 92 described above with respect to the Figs. 1 and 4 pertaining to general function and preferences.
- Internet 1021 and PSTN 1019 are preferred components because of a high public access characteristic and also because of network integration capabilities. It is not illustrated that network 1021 and network 1019 may pass data back and forth through an appropriate network gateway, but the capability may be assumed to be present.
- Communication center 1026 is a dually-capable center able to handle call events both from network 1021 and from network 1019.
- Communication center 1026 has a local area network (LAN) 1002 operable therein and enabled in this example with IP protocols.
- LAN local area network
- SW central switch
- other equivalents may be used such as a router, a softswitch or switchless telephony. In all those cases, some call routing capabilities exist, and are equivalent to a CTI server.
- a CTI server (T-Server) is provided and illustrated as connected to SW 1016 by a CTI-enabled link.
- T-Server 1015 provides at least intelligent routing routines for routing events within center 1026.
- T-Server-enhanced equipment provided within network 1019 and connected to a local switch (LSW) 1018 provided therein.
- LSW local switch
- server 1015 may also be a separate digital network connecting server 1015 to a similar server in PSTN 1019 to provide a path for quick and parallel transfer of data for such as agent level routing at the PSTN level.
- a plurality of workstations A-N are provided within center 1026 each having access to LAN 1002.
- Workstation A has a PC 1011 and a telephone 1012 implemented therein.
- Workstation N has a PC 1013 and a telephone 1014 implemented therein. It may be assumed that other workstations connected to LAN 1002 are similarly endowed with a PC and telephone, or other, equivalent network terminals.
- telephones 1012 and 1014 in stations A and N respectively are connected to their respective computers through cabling to the soundcard of each. This enables an agent to accept COST events either by picking up the phone, or by using the PC sound system.
- Telephones 1012 and 1014 are connected to SW 1016 by internal telephony wiring 1015.
- a proxy server 1003 is provided within communication center 1026 and shares connection to LAN 1002 with workstations A-N.
- a data router 1007 running a firewall address translation application (FATS) 1008 is provided within center 1026 and also connected to LAN 1002 as a separate machine from server 1003.
- FATS firewall address translation application
- servers 1003 and router 1007 can be combined into one server/router machine having a LAN connection to LAN 1002.
- the inventor illustrates separate machines for purpose of clear description only.
- Internet 1021 has instant message presence protocol (IMPP) service providers A and B servers illustrated therein and connected to an Internet backbone 1020.
- Backbone 1020 represents all of the lines, connection points and equipment that make up the Internet network as a geographic whole. Therefore, there are no geographic limitations to the practice of the present invention.
- IMPP service provider A (server 1022) is adapted as a communication server of a provider such as the well-known AOLTM IM service.
- IMPP service provider B (server 1023) is adapted as a communication server hosted by a service other than AOLTM such as, perhaps MSNTM.
- IM servers there may be other IM servers present in this embodiment representing still other IM providers, of which there are many known without departing from the spirit and scope of the invention. The inventor provides 2 known examples and deems them sufficient for the purpose of describing the present invention in an enabling manner.
- Clients of services represented by servers 1022 and 1023 within Internet 1021 are illustrated in this example as service provider A client (PC 1024), and service provider B client (PC 1025).
- client 1024 is an AOLTM user having IM software (SWa) and Internet connectivity to server 1022.
- client 1025 is a MSNTM user having IM software (SWb) and Internet connectivity to server 1023.
- Internet connectivity for both clients 1024 and 1025 is represented by Internet access lines illustrated from each client to Internet backbone 1020. It will be apparent to one with skill in the art that clients 1024 and 1025 may access the Internet network (1021) through the PSTN network and ISP provision as is generally known in the art, but not explicitly shown in Fig. 10 . There are also other known methods of Internet access any one of which may be used for either or both clients in this example as long as IM capability is supported over the access network.
- An important goal of the present invention is to provide a controlled routing program that brokers communication between clients, namely 1024 and 1025 and agents (customer-service representatives - CSRs) of center 1026 operating at LAN-connected stations A and B.
- agent presence information, client presence information, center status information and passive client interface capabilities may be assumed to be installed and operational within proxy server 1003.
- Server 1003 is adapted, in a preferred embodiment, as a central communication server and event router/switch through which all IM communication to and from agents in center 1026 passes.
- router 1007 running application 1008 may also be considered to be integrated in some embodiments with proxy 1003.
- T-server 1015 In order to provide intelligent routing rules for routing IM events, T-server 1015 must be consulted by proxy 1003 for rules-related states such as agent availability, skill level, and so on.
- server 1003 consults server 1015 through LAN 1002.
- the two servers may be implemented as one more powerful server.
- Proxy server 1003 has SWa and SWb installed thereon, the software instances representing AOLTM and MSNTM IM packages. It is noted herein that there is no limit to the quantity of separate IM services that can be supported within center 1026. In cases where 2 separate protocols are compatible, one application may be installed within proxy 1003 that covers the functionality of both. In one embodiment server 1003 may have translation software in order to translate all kinds of supported IM protocols into one unified protocol supported by CSRs. In this case the client 1025 and the CSR may have different kinds of IM client software.
- CSR stations A through N also have IM applications installed on respective PCs 1011-1013.
- CSR station A may support one or more separate instances of IM software for different providers as may all of the other stations. Any combination may be extant as long as the information is known to T-server software (1015).
- Agent-availability routines are utilized as a preferred routing criteria in this embodiment. Agent skill level routines, priority routing routines, and other routing routines may be similarly incorporated singularly or in combination.
- IMPP provider servers 1022 and 1023 are adapted to present a communication link to accessing clients (1024, 1025) whereby invocation of the link initiates an IM to center 1026, specifically to proxy server 1003.
- Proxy server 1003 of center 1026 is capable of generating IM messages in response to those received from servers 1022 and 1023 independently from the CSR system represented in this example by LAN-connected CSR representatives grouped for communication and routing purposes.
- Proxy 1003 is also capable of routing IM notification events directly to representative PCs 1011 or 1013 over LAN 1002 upon consultation with and direction response from T-server 1015 executing the routing routines.
- router 1007 represents this function and FATS 1008 provides address translation capability to proxy 1003 for routing purposes.
- a CSR at station 1024 desires to contact center 1026 through server 1022, in this case, an AOLTM server.
- SWa is proprietary AOLTM IM software.
- an IM requesting communication is generated and sent to server 1022 hosting the communication at this point.
- Server 1022 sends notification of the received event/request to proxy server 1003.
- Proxy server 1003 having an appropriate instance of SWa installed therein responds by generating an IM to server 1022 to open dialogue.
- Proxy 1003 is capable of robotic IM communication simulating the function of an Interactive Voice Response (IVR) software. That is to say that before a request is eventually routed to a CSR representative, proxy server 1003 may execute one or more transactions with the user at server 1022 to find out how best to route the call.
- IVR Interactive Voice Response
- proxy 1003 When proxy 1003 has enough information to route a request, it notifies T-server 1015 of a pending request and associated parameters. Parameters may include a user's IP address, telephone number, version and brand of the IM application used by the user and other information subsequent to privacy policies of the acting IMPP provider.
- T-Server 1015 executes an agent-availability routine in this example to look for a CSR at any of stations A-N that has a running instance of AOLTM IM software or one compatible to the user's software and looks to see if the particular agent is available for an IM notification. T-server 1015 selects an available agent and sends notification of the selection back to proxy 1003.
- proxy 1003 notifies the CSR with the user IM request and the CSR responds to server 1003 opening a connection that is now hosted by proxy 1003.
- IMPP providers such as the previously-described passive interaction interface, communication center status data, agent presence information and so on.
- IMPP providers simply provide a communication re-direct to proxy 1003 for any users invoking the option regardless of service/software brand.
- proxy 1003 determines user identity, brand and version of IM capability, and immediately opens an IVR-type dialogue with the requesting user independently.
- IM transactions may at this time be hosted within server 1003 because of re-direct capability.
- IMPP providers do not maintain communication channels on behalf of the users.
- Server 1003 must be adapted to function as an IMPP provider in this embodiment.
- Proxy 1003 uses FATS software 1008 to translate to a selected CSR IP address on LAN 1002.
- a CSR may have 2 or more IP addresses included in availability status provided that these are addresses of appliances that can practice IM messaging and have the IM application at least compatible with that of the requesting user.
- proxy 1003 if a CSR cannot be found available then proxy 1003 returns an IM to the user stating this fact, and may also provide an estimated time waiting before a CSR will be available.
- proxy 1003 may provide an IM form allowing a user to provided preferred call-back information.
- a passive interface may also be presented enabling the user to alter his or her personal center data such as order status, payment status, and so on.
- proxy 1003 may be enhanced with the capability of re-directing the user to an automated system that the user may then interact with to automatically make a payment, place an order, etc.
- the example presented herein represents a closed system wherein all of the CSRs operate on a limited LAN network. However this is not required in order to practice the present invention.
- the system may be extended to include more than one communication center and remote agents operating from isolated homes or offices but connected to the Internet for communication. All that is required for routing purposes is the software for monitoring CSR status locally and reporting software for remote CSRs over a defined network.
- estimated waiting time can be communicated in a traditional IM.
- a user may simply type any client presence information using the traditional third-party IM interface. Center information and agent presence information can be handled in much the same way.
- a primary goal of the invention is to provide intelligent routing of traditional third-party hosted IM messages in such a way as to emulate an IVR/telephony routing convention wherein various routing rules and protocols may be applied. There are many possibilities.
- Fig. 11 is a flow chart illustrating client/service steps for practicing IM communication according to an embodiment of the present invention.
- a client analogous to one (1024, 1025) of Fig. 10 above establishes Internet connection through one of various known methods.
- the client invokes his or her personal IMPP software.
- an automatic server connection is established between the client and a third-party IMPP message server analogous to server 1022 or 1023 of Fig. 10 .
- the client invokes a link to, in this example, a communication center analogous to center 1026 of Fig. 10 .
- a communication center is used in this example only for illustrative purpose as a convention having a group of CSRs connected for communication.
- the CSR group could be remotely employed in an individual sense and share connection with a proxy server on the network, the server adapted to practice the present invention.
- the link connecting to the center may be tiered such that invoking the link brings up a plurality of more granular links associated with specific groups of CSRs working in the center wherein such distinct groups may be un associated with each other with regard to center functions.
- one CSR group within a center may handle sales whereas another may be dedicated to account management or quality service. There are many options.
- the client is optionally re-directed to a proxy server analogous to server 1003 incorporating the function of server 1007 both of Fig. 10 . If a client is re-directed, the IMPP message server is not hosting subsequent communication. In this case communication hosting is taken over by the proxy. In this event, the proxy must be endowed with all of the required software enabling the IMPP server.
- the IMPP server instead of performing a re-direct as described at step 1104, simply routes the client or user's IM request to the proxy server.
- the proxy server interacts directly with the client via IM messaging.
- the proxy emulates IVR technology in order to glean information from the client to aid in more appropriate routing.
- IM interaction between the proxy and client may follow a dedicated and directed sequence of options and answers, or may, with enhanced parsing capability, follow a more informal approach.
- the proxy server interacts with the client through the IMPP host, the server functioning also as a client.
- the proxy consults routing services available and selects a routing state based on information collected from the client and any available conditions reported by the routing system.
- the information collected from the client may include a desire to be connected with an accounting representative to discuss a late bill or payment.
- the routing system would check availability of a CSR in accounting having IM software running that is compatible with the client application and that is immediately available.
- the proxy server routes the target IM event to the selected CSR workstation, preferably through a security firewall using an address translation protocol.
- communication is established between the selected CSR and the client either through the IMPP message server as a retentive host, or with the proxy server functioning as the communication host. It is important to note herein for security reasons, that it may be preferable to pass hosting responsibility to the proxy server within the center as this embodiment affords the added security of a firewall. The implementation will depend in part on the sensitivity level of the business enterprise and communication associated with it.
- the method and apparatus of the present invention can be practiced over any data-packet-network wherein a group of connected entities, either CSRs, automated systems, or a combination of both maintain addresses accessible through the network and share a routing system. Therefore, the method and apparatus of the present invention should be afforded the broadest scope with regard to examination for allowance. The present invention is limited only by the language of the claims that follow.
Landscapes
- Engineering & Computer Science (AREA)
- Signal Processing (AREA)
- Business, Economics & Management (AREA)
- Computer Networks & Wireless Communication (AREA)
- Human Resources & Organizations (AREA)
- Marketing (AREA)
- Strategic Management (AREA)
- Entrepreneurship & Innovation (AREA)
- Economics (AREA)
- Operations Research (AREA)
- Theoretical Computer Science (AREA)
- Computer Hardware Design (AREA)
- General Engineering & Computer Science (AREA)
- Quality & Reliability (AREA)
- Tourism & Hospitality (AREA)
- Physics & Mathematics (AREA)
- General Business, Economics & Management (AREA)
- General Physics & Mathematics (AREA)
- Data Mining & Analysis (AREA)
- Computer Security & Cryptography (AREA)
- Computing Systems (AREA)
- Development Economics (AREA)
- Educational Administration (AREA)
- Game Theory and Decision Science (AREA)
- Multimedia (AREA)
- Data Exchanges In Wide-Area Networks (AREA)
- Telephonic Communication Services (AREA)
Claims (24)
- Proxyserver zum Routen von Instant-Nachrichten, die von an ein Datenpaketnetz angeschlossenen Clients ausgehen, zu ausgewählten Repräsentanten aus einer Vielzahl von Repräsentanten eines Kunden-Service, die an das Netz angeschlossen sind und ein Unternehmen repräsentieren, wobei der Proxyserver aufweist:- mindestens einen bidirektionalen Datenport zum Empfangen von Daten dort und zum Senden von Daten dort;- mindestens zwei unterschiedliche Versionen von darin ausführbarer Software für die Instant-Nachrichtenübermittlung zum Erzeugen, Senden und Empfangen von Instant-Nachrichten;- eine darin ausführbare, softwaremäßige Routing-Komponente zum Routen von Instant-Nachrichten-Anforderungen eines Clients zu ausgewählten IP-Adressen im Netz; unddadurch gekennzeichnet, dass der Proxyserver ausgestaltet ist, die unterschiedlichen Versionen von Software zur Instant-Nachrichtenübermittlung für jeden Client zu ermitteln und mit den Clients unter Nutzung der ermittelten Version der Software für die Instant-Nachrichtenübermittlung, um, durch Anfordern der Ausführung mindestens einer intelligenten Routingroutine für die Client-Anforderungen, vom Client Informationen zum Routen zu erhalten, und durch die Interaktion mit den Clients erhaltener Informationen zu interagieren; und die Client-Anforderungen vom Proxyserver zu einer geeigneten, den Kunden-Service repräsentierenden Workstation, die über eine gleiche Version der Instant-Nachrichten-Software wie die Anforderung des Clients, die empfangen wird, verfügt, auf der Basis von Ergebnissen der Routinenausführung zu routen.
- Proxyserver nach Anspruch 1, wobei das Datenpaketnetz das Internet ist.
- Proxyserver nach Anspruch 1, wobei die Client-Verbindung eine Netz-Appliance aufweist, die, in Wirkbeziehung an das Netz gekoppelt, zur Instant-Nachrichtenübermittlung fähig ist.
- Proxyserver nach Anspruch 1, wobei die Verbindung des Repräsentanten des Kunden-Service eine Netz-Appliance aufweist, die, in Wirkbeziehung an das Netz gekoppelt, zur Instant-Nachrichtenübermittlung fähig ist.
- Proxyserver nach Anspruch 3, wobei die Netz-Appliance ein Rechner ist.
- Proxyserver nach Anspruch 4, wobei die Netz-Appliance ein Rechner ist.
- Proxyserver nach Anspruch 1, wobei die Repräsentanten des Kunden-Service menschliche Arbeitskräfte sind.
- Proxyserver nach Anspruch 1, wobei zu den Repräsentanten des Kunden-Service automatisierte Systeme gehören.
- Proxyserver nach Anspruch 1, wobei nach dem Aufbau einer gerouteten Verbindung ein Instant-Nachrichtenserver, welcher der Host der Instant-Nachricht vom Client ist, weiterhin der Host der Kommunikationstransaktion zwischen dem Client und der Workstation des Repräsentanten des Kunden-Service ist.
- Proxyserver nach Anspruch 1, wobei das Routingziel als ein Ergebnis ausgeführter Routingroutinen gemäß Routingregeln ermittelt wird.
- Proxyserver nach Anspruch 10, wobei die Routingregeln und ausgeführten Routingroutinen für einen Transaktionsserver, auf dem ein Softwarepaket zum Festlegen des internen Routings für alle innerhalb der Zentrale ablaufenden multimedialen und COST-Ereignisse läuft, allgemeingültig sind.
- Proxyserver nach Anspruch 1, wobei zur Routingfähigkeit das Routing auf der Basis der Verfügbarkeit von Repräsentanten des Kunden-Service gehört.
- Proxyserver nach Anspruch 1, wobei zur Routingfähigkeit das Routing auf der Basis der Fähigkeit und Kenntnisse eines Repräsentanten des Kunden-Service gehört.
- Verfahren zum Aufbauen eines Kommunikationskanals für Instant-Nachrichten über ein Datenpaketnetz zwischen einer Vielzahl von Clients und Repräsentanten eines Kunden-Service, die ein Unternehmen repräsentieren, auf der Basis zurückgemeldeter Ergebnisse mindestens einer ausgeführten Routingroutine, folgende Schritte beinhaltend:(a) Aufbauen einer Netzverbindung für zwei oder mehr Clients;(b) Aufbauen einer Client-Server-Verbindung von den mindestens zwei Clients mit mindestens zwei Instant-Nachrichtenservern, wobei jeder Server eine ungleiche, herstellerspezifische Version von Softwareanwendungen für die Instant-Nachrichtenübermittlung nutzt;(c) Aufbauen einer Verbindung von den Instant-Nachrichtenservern zu einem zwischengeschalteten Proxyserver durch Ansteuerung eines Client-Links;(d) Ermitteln, im zwischengeschalteten Proxyserver, der unterschiedlichen Versionen der Software für die Instant-Nachrichtenübermittlung;(e) der Proxyserver interagiert mit dem Client unter Nutzung der in Schritt (d) ermittelten Software für die Instant-Nachrichtenübermittlung, um vom Client Informationen zum Routen zu erhalten;(f) der Proxyserver fordert die Ausführung mindestens einer intelligenten Routingroutine für die Client-Anforderungen und Informationen, die durch Interaktion mit den Clients erhalten wurden, an; und(g) Routen der Client-Anforderungen vom Proxyserver zu einer geeigneten, den Kunden-Service repräsentierenden Workstation, die über eine gleiche Version der Instant-Nachrichten-Software wie die Anforderung des Clients, die empfangen wird, verfügt, auf der Basis von Ergebnissen der Routinenausführung.
- Verfahren nach Anspruch 14, wobei das Datenpaketnetz das Internet ist.
- Verfahren nach Anspruch 14, wobei in Schritt (a) die Client-Verbindung eine Netz-Appliance aufweist, die, in Wirkbeziehung an das Netz gekoppelt, über die Fähigkeit zur Instant-Nachrichtenübermittlung verfügt.
- Verfahren nach Anspruch 16, wobei in Schritt (a) die Netz-Appliance ein Rechner ist.
- Verfahren nach Anspruch 14, wobei in Schritt (c) die Instant-Nachrichtenserver wahlweise den Client zum Proxyserver umleiten und nicht mehr der Host der Kommunikation sind.
- Verfahren nach Anspruch 14, wobei in Schritt (e) die Interaktion mindestens die Identifizierung des Clients und einen Grund für die Anforderung der Kommunikation mit einem Repräsentanten des Kunden-Service ergibt.
- Verfahren nach Anspruch 14, wobei in Schritt (f) die mindestens eine Routingroutine eine Verfügbarkeitsermittlung des Vorhandenseins eines mit dem Netz verbundenen Repräsentanten des Kunden-Service, der über eine Software für die Instant-Nachrichtenübermittlung verfügt, die mit der vom Client genutzten kompatibel ist, beinhaltet.
- Verfahren nach Anspruch 20, wobei in Schritt (f) die mindestens eine Routingroutine ferner eine Ermittlung der Fähigkeit und Kenntnisse beinhaltet.
- Verfahren nach Anspruch 14, wobei in Schritt (f) die Ausführungsanforderung von einem separaten Server, auf dem ein Softwarepaket zum Routen von Kommunikationsereignissen innerhalb des Unternehmens läuft, abgearbeitet wird.
- Verfahren nach Anspruch 14, wobei in Schritt (g) der Proxyserver der Host der laufenden gerouteten und aufgebauten Kommunikationstransaktion zwischen dem Client und der Workstation des Repräsentanten des Kunden-Service ist.
- Verfahren nach Anspruch 14, wobei in Schritt (g) der Instant-Nachrichtenserver weiterhin der Host der laufenden gerouteten und aufgebauten Transaktion zwischen dem Client und der Workstation des Repräsentanten des Kunden-Service ist.
Applications Claiming Priority (3)
| Application Number | Priority Date | Filing Date | Title |
|---|---|---|---|
| US09/932,033 US7299259B2 (en) | 2000-11-08 | 2001-08-17 | Method and apparatus for intelligent routing of instant messaging presence protocol (IMPP) events among a group of customer service representatives |
| US932033 | 2001-08-17 | ||
| PCT/US2002/023851 WO2003025776A1 (en) | 2001-08-17 | 2002-07-26 | System for routing instant messages from users in a customer service group |
Publications (3)
| Publication Number | Publication Date |
|---|---|
| EP1423795A1 EP1423795A1 (de) | 2004-06-02 |
| EP1423795A4 EP1423795A4 (de) | 2004-10-13 |
| EP1423795B1 true EP1423795B1 (de) | 2016-04-27 |
Family
ID=25461669
Family Applications (1)
| Application Number | Title | Priority Date | Filing Date |
|---|---|---|---|
| EP02761182.1A Expired - Lifetime EP1423795B1 (de) | 2001-08-17 | 2002-07-26 | System zum routen von instant-nachrichten von benutzern in einer kunden-service-gruppe |
Country Status (3)
| Country | Link |
|---|---|
| US (4) | US7299259B2 (de) |
| EP (1) | EP1423795B1 (de) |
| WO (1) | WO2003025776A1 (de) |
Families Citing this family (206)
| Publication number | Priority date | Publication date | Assignee | Title |
|---|---|---|---|---|
| US6832245B1 (en) | 1999-12-01 | 2004-12-14 | At&T Corp. | System and method for analyzing communications of user messages to rank users and contacts based on message content |
| US7299259B2 (en) | 2000-11-08 | 2007-11-20 | Genesys Telecommunications Laboratories, Inc. | Method and apparatus for intelligent routing of instant messaging presence protocol (IMPP) events among a group of customer service representatives |
| US6822945B2 (en) | 2000-11-08 | 2004-11-23 | Genesys Telecommunications Laboratories, Inc. | Method and apparatus for anticipating and planning communication-center resources based on evaluation of events waiting in a communication center master queue |
| US7929562B2 (en) | 2000-11-08 | 2011-04-19 | Genesis Telecommunications Laboratories, Inc. | Method and apparatus for optimizing response time to events in queue |
| EP1399833B1 (de) | 2000-11-20 | 2017-04-19 | AT & T Mobility II, LLC | Verfahren und systeme zur bereitstellung von anwesenheitsinformationen auf anwendungsebene in der drahtlosen kommunikation |
| JP2002279141A (ja) * | 2001-03-19 | 2002-09-27 | Ricoh Co Ltd | 情報表示システム,情報表示方法,情報表示サーバ並びに情報表示プログラム |
| US7016936B2 (en) * | 2001-05-15 | 2006-03-21 | Hewlett-Packard Development Company, L.P. | Real time electronic service interaction management system and method |
| US7554938B1 (en) * | 2001-09-28 | 2009-06-30 | At&T Intellectual Property I, L.P. | System and method for providing an instant messaging function using a personal computer equipped with a wireless digital packet-switched modem |
| US7774711B2 (en) | 2001-09-28 | 2010-08-10 | Aol Inc. | Automatic categorization of entries in a contact list |
| US8644475B1 (en) | 2001-10-16 | 2014-02-04 | Rockstar Consortium Us Lp | Telephony usage derived presence information |
| US7287057B2 (en) * | 2001-11-15 | 2007-10-23 | International Business Machines Corporation | Accessing information using an instant messaging system |
| US20030103618A1 (en) * | 2001-12-03 | 2003-06-05 | International Business Machines Corporation | Voice browsing while waiting in a hold queue |
| US7095842B2 (en) * | 2001-12-03 | 2006-08-22 | International Business Machines Corporation | Enabling caller controlled hold queue position adjustment |
| US6959081B2 (en) * | 2001-12-03 | 2005-10-25 | International Business Machines Corporation | Expert hold queue management |
| US7130411B2 (en) * | 2001-12-03 | 2006-10-31 | International Business Machines Corporation | Hold queue position publication |
| US7499973B2 (en) * | 2001-12-21 | 2009-03-03 | Motorola, Inc. | System and method for automatically forwarding a communication message |
| US7299286B2 (en) * | 2001-12-27 | 2007-11-20 | Nortel Networks Limited | Personal user agent |
| US20030135624A1 (en) * | 2001-12-27 | 2003-07-17 | Mckinnon Steve J. | Dynamic presence management |
| US7917623B2 (en) * | 2002-01-03 | 2011-03-29 | Aspect Software, Inc. | Method of allocating data communication sessions based upon user information |
| CA2472953A1 (en) | 2002-02-14 | 2003-08-21 | Andrew Charles Zmolek | Presence tracking and name space interconnection techniques |
| US6658095B1 (en) | 2002-03-19 | 2003-12-02 | Nortel Networks Limited | Customized presence information delivery |
| US7227937B1 (en) | 2002-03-19 | 2007-06-05 | Nortel Networks Limited | Monitoring natural interaction for presence detection |
| US20030191762A1 (en) * | 2002-04-08 | 2003-10-09 | Juha Kalliokulju | Group management |
| US7139797B1 (en) | 2002-04-10 | 2006-11-21 | Nortel Networks Limited | Presence information based on media activity |
| US7035923B1 (en) | 2002-04-10 | 2006-04-25 | Nortel Networks Limited | Presence information specifying communication preferences |
| US20060168553A1 (en) * | 2002-07-25 | 2006-07-27 | Wiredred Software Corporation | Software development kit for real-time communication applications and system |
| USRE46776E1 (en) | 2002-08-27 | 2018-04-03 | Genesys Telecommunications Laboratories, Inc. | Method and apparatus for optimizing response time to events in queue |
| US8392609B2 (en) | 2002-09-17 | 2013-03-05 | Apple Inc. | Proximity detection for media proxies |
| US20040059781A1 (en) * | 2002-09-19 | 2004-03-25 | Nortel Networks Limited | Dynamic presence indicators |
| US7555108B2 (en) * | 2002-10-01 | 2009-06-30 | Nortel Networks Limited | Presence information for telephony users |
| US20040103153A1 (en) * | 2002-11-21 | 2004-05-27 | Chang Tsung-Yen Dean | Apparatus and method for providing smart network appliances |
| US7023980B2 (en) | 2002-12-04 | 2006-04-04 | Avaya Technology Corp. | Outbound dialing decision criteria based |
| US20040122901A1 (en) * | 2002-12-20 | 2004-06-24 | Nortel Networks Limited | Providing computer presence information to an integrated presence system |
| US7372957B2 (en) * | 2002-12-24 | 2008-05-13 | Intel Corporation | Method and apparatus for implementing call processing in packet telephony networks |
| US7249161B2 (en) * | 2002-12-27 | 2007-07-24 | Nokia Corporation | Method and system for facilitating instant messaging transactions between disparate service providers |
| US7257218B2 (en) * | 2002-12-30 | 2007-08-14 | Nortel Networks Limited | Presence enabled queue management |
| US7269629B2 (en) * | 2002-12-30 | 2007-09-11 | Intel Corporation | Method and apparatus for distributing notification among cooperating devices and device channels |
| AU2003300029A1 (en) * | 2002-12-31 | 2004-07-29 | America Online, Inc. | Implicit access for communications pathway |
| US7945674B2 (en) | 2003-04-02 | 2011-05-17 | Aol Inc. | Degrees of separation for handling communications |
| US7263614B2 (en) * | 2002-12-31 | 2007-08-28 | Aol Llc | Implicit access for communications pathway |
| US7711810B2 (en) * | 2003-01-03 | 2010-05-04 | Nortel Networks Limited | Distributed services based on presence technology |
| US7474741B2 (en) | 2003-01-20 | 2009-01-06 | Avaya Inc. | Messaging advise in presence-aware networks |
| US20040189698A1 (en) * | 2003-03-26 | 2004-09-30 | Nortel Networks Limited | Instant messaging to service bureau |
| US20040210639A1 (en) | 2003-03-26 | 2004-10-21 | Roy Ben-Yoseph | Identifying and using identities deemed to be known to a user |
| US20050111653A1 (en) * | 2003-04-15 | 2005-05-26 | Robert Joyce | Instant message processing in a customer interaction system |
| CN1833236A (zh) * | 2003-05-27 | 2006-09-13 | 吉奥迪西克信息系统有限公司 | 通用存在指示符和即时消息传递系统 |
| US9094805B2 (en) * | 2003-06-25 | 2015-07-28 | Oracle International Corporation | Mobile messaging concierge |
| AU2004254997A1 (en) * | 2003-06-27 | 2005-01-13 | Akonix Systems, Inc. | Context sensitive transfer with active listening and active alerts |
| US7263183B1 (en) | 2003-08-11 | 2007-08-28 | At&T Corp. | Method and system for assigning tasks to workers |
| US8094804B2 (en) | 2003-09-26 | 2012-01-10 | Avaya Inc. | Method and apparatus for assessing the status of work waiting for service |
| US20050097197A1 (en) * | 2003-10-07 | 2005-05-05 | International Business Machines Corporation | Web browser control for customer support |
| US7673001B1 (en) * | 2003-11-21 | 2010-03-02 | Microsoft Corporation | Enterprise management of public instant message communications |
| US20050114159A1 (en) * | 2003-11-25 | 2005-05-26 | Timucin Ozugur | Web based CRM service using on-line presence information |
| US9118574B1 (en) | 2003-11-26 | 2015-08-25 | RPX Clearinghouse, LLC | Presence reporting using wireless messaging |
| US20050141694A1 (en) * | 2003-12-26 | 2005-06-30 | Alcatel | Real-time communications call center server |
| US20050141687A1 (en) * | 2003-12-31 | 2005-06-30 | Timucin Ozugur | Call treatment in a communications system based on instant messaging |
| KR100448636B1 (ko) | 2004-01-30 | 2004-09-16 | 엔에이치엔(주) | 프레전스 기반의 전화 시스템 및 그 시스템에서의 호라우팅 방법 |
| US7640066B2 (en) | 2004-02-05 | 2009-12-29 | York International Corporation | Transport of encapsulated serial data via instant messaging communication |
| US7675903B2 (en) | 2004-02-06 | 2010-03-09 | Alcatel Lucent | Dynamic contact list management system and method |
| US7650380B2 (en) | 2004-02-12 | 2010-01-19 | International Business Machines Corporation | System and method for messaging and collaborating in an intranet environment |
| US7634072B2 (en) * | 2004-02-13 | 2009-12-15 | Yahoo! Inc. | Integrated instant messaging, routing and telephone services billing system |
| US9398152B2 (en) * | 2004-02-25 | 2016-07-19 | Avaya Inc. | Using business rules for determining presence |
| US20050190744A1 (en) * | 2004-02-27 | 2005-09-01 | Xian-He Sun | Method of informing a callee of an attempted telephone call by means of internet protocol messaging |
| US7802262B1 (en) | 2004-03-05 | 2010-09-21 | Adobe Systems Incorporated | System and method for communicating state and title information between a browser and a rich internet application with browser forward and back button support |
| US8898239B2 (en) | 2004-03-05 | 2014-11-25 | Aol Inc. | Passively populating a participant list with known contacts |
| US7536672B1 (en) * | 2004-03-05 | 2009-05-19 | Adobe Systems Incorporated | Management of user interaction history with software applications |
| US8229454B1 (en) | 2004-03-22 | 2012-07-24 | Avaya Inc. | Personal location information management |
| US8015504B1 (en) | 2004-03-26 | 2011-09-06 | Adobe Systems Incorporated | System and method for communicating information over a network |
| US7953859B1 (en) | 2004-03-31 | 2011-05-31 | Avaya Inc. | Data model of participation in multi-channel and multi-party contacts |
| US8000989B1 (en) | 2004-03-31 | 2011-08-16 | Avaya Inc. | Using true value in routing work items to resources |
| US7734032B1 (en) | 2004-03-31 | 2010-06-08 | Avaya Inc. | Contact center and method for tracking and acting on one and done customer contacts |
| EP1585281A1 (de) * | 2004-04-07 | 2005-10-12 | Siemens Aktiengesellschaft | Verfahren und Vorrichtungen zur dynamischen Rekonfiguration eines auf Präsenz basierten Anwendungsrahmens in einem Kommunikationsnetz |
| CA2566768C (en) * | 2004-05-14 | 2016-07-05 | Orderly Mind Limited | Queuing system, method and computer program product for managing the provision of services over a communications network |
| US7769154B1 (en) | 2004-06-09 | 2010-08-03 | Avaya Inc. | Aggregated perceived presence |
| TWI262678B (en) * | 2004-06-30 | 2006-09-21 | Inst Information Industry | Peer-to-peer communication system, method and machine-readable storage medium |
| US7983148B1 (en) | 2004-07-12 | 2011-07-19 | Avaya Inc. | Disaster recovery via alternative terminals and partitioned networks |
| US8738412B2 (en) * | 2004-07-13 | 2014-05-27 | Avaya Inc. | Method and apparatus for supporting individualized selection rules for resource allocation |
| US20060020676A1 (en) * | 2004-07-20 | 2006-01-26 | International Business Machines Corporation | System and method for presenting a chat user name with multiple user service names |
| FR2873526A1 (fr) * | 2004-07-21 | 2006-01-27 | France Telecom | Procede et systeme de gestion de la surcharge d'identite et de la disponibilite privee/publique d'une adresse de messagerie instantanee |
| US7836126B2 (en) * | 2004-08-04 | 2010-11-16 | Sap Ag | Business presence system and method |
| US7580837B2 (en) | 2004-08-12 | 2009-08-25 | At&T Intellectual Property I, L.P. | System and method for targeted tuning module of a speech recognition system |
| US8634537B2 (en) * | 2004-08-16 | 2014-01-21 | Aspect Software, Inc. | Method of routing calls from a contact center |
| US7949121B1 (en) | 2004-09-27 | 2011-05-24 | Avaya Inc. | Method and apparatus for the simultaneous delivery of multiple contacts to an agent |
| JP2006094369A (ja) * | 2004-09-27 | 2006-04-06 | Nec Corp | メッセージ自動通知システムとその方法、及び、通信端末装置とそのプログラム |
| US8234141B1 (en) | 2004-09-27 | 2012-07-31 | Avaya Inc. | Dynamic work assignment strategies based on multiple aspects of agent proficiency |
| US20060083219A1 (en) * | 2004-10-14 | 2006-04-20 | Sbc Knowledge Ventures, L.P. | Using information about dialup access numbers in a service region to support customer service interactions |
| US7975009B2 (en) * | 2004-10-25 | 2011-07-05 | Aspect Software, Inc. | Instant message contact router |
| US9203788B2 (en) * | 2004-11-18 | 2015-12-01 | Adobe Systems Incorporated | System and method for communicating instant message information between an instant messaging node and one or more programs |
| US7724889B2 (en) * | 2004-11-29 | 2010-05-25 | At&T Intellectual Property I, L.P. | System and method for utilizing confidence levels in automated call routing |
| US7242751B2 (en) | 2004-12-06 | 2007-07-10 | Sbc Knowledge Ventures, L.P. | System and method for speech recognition-enabled automatic call routing |
| US7774825B2 (en) * | 2004-12-16 | 2010-08-10 | At&T Intellectual Property I, L.P. | Methods & apparatuses for controlling access to secured servers |
| EP1836864A4 (de) * | 2004-12-20 | 2011-12-07 | Lg Electronics Inc | Multimedia-zugangssystem |
| US7751551B2 (en) | 2005-01-10 | 2010-07-06 | At&T Intellectual Property I, L.P. | System and method for speech-enabled call routing |
| US7567653B1 (en) | 2005-03-22 | 2009-07-28 | Avaya Inc. | Method by which call centers can vector inbound TTY calls automatically to TTY-enabled resources |
| US8223954B2 (en) | 2005-03-22 | 2012-07-17 | At&T Intellectual Property I, L.P. | System and method for automating customer relations in a communications environment |
| US8649498B1 (en) * | 2005-03-25 | 2014-02-11 | Cisco Technology, Inc. | Network architecture for hosting voice services |
| US7684555B2 (en) * | 2005-05-02 | 2010-03-23 | Cisco Technology, Inc. | Method and system for failover capability for remote call center agents |
| US7809127B2 (en) | 2005-05-26 | 2010-10-05 | Avaya Inc. | Method for discovering problem agent behaviors |
| US7657020B2 (en) | 2005-06-03 | 2010-02-02 | At&T Intellectual Property I, Lp | Call routing system and method of using the same |
| US7779042B1 (en) | 2005-08-08 | 2010-08-17 | Avaya Inc. | Deferred control of surrogate key generation in a distributed processing architecture |
| US7822587B1 (en) | 2005-10-03 | 2010-10-26 | Avaya Inc. | Hybrid database architecture for both maintaining and relaxing type 2 data entity behavior |
| US7752230B2 (en) | 2005-10-06 | 2010-07-06 | Avaya Inc. | Data extensibility using external database tables |
| US7787609B1 (en) | 2005-10-06 | 2010-08-31 | Avaya Inc. | Prioritized service delivery based on presence and availability of interruptible enterprise resources with skills |
| US20070088839A1 (en) * | 2005-10-19 | 2007-04-19 | Nortel Networks Limited | Local time related presence automation and session control |
| EP2362595B1 (de) * | 2005-10-21 | 2019-10-23 | BlackBerry Limited | Sofortmitteilungsvorrichtung/Serverprotokoll |
| US8001458B1 (en) | 2005-11-14 | 2011-08-16 | Adobe Systems Incorporated | System and method for communicating state and title information between a browser and a rich Internet application |
| US8185423B2 (en) * | 2005-12-22 | 2012-05-22 | Canon Kabushiki Kaisha | Just-in time workflow |
| US8332760B2 (en) * | 2006-01-18 | 2012-12-11 | International Business Machines Corporation | Dynamically mapping chat session invitation history |
| US8737173B2 (en) | 2006-02-24 | 2014-05-27 | Avaya Inc. | Date and time dimensions for contact center reporting in arbitrary international time zones |
| US7599861B2 (en) | 2006-03-02 | 2009-10-06 | Convergys Customer Management Group, Inc. | System and method for closed loop decisionmaking in an automated care system |
| EP2018759A1 (de) * | 2006-03-16 | 2009-01-28 | Versko Limited | Warteschlangensystem, verfahren und einrichtung |
| US9154563B2 (en) * | 2006-04-24 | 2015-10-06 | Aol Inc. | Alerts for monitoring user status |
| US8086723B2 (en) * | 2006-05-17 | 2011-12-27 | Alcatel Lucent | Apparatus and methods for managing communication system resources |
| US8379830B1 (en) | 2006-05-22 | 2013-02-19 | Convergys Customer Management Delaware Llc | System and method for automated customer service with contingent live interaction |
| US7809663B1 (en) | 2006-05-22 | 2010-10-05 | Convergys Cmg Utah, Inc. | System and method for supporting the utilization of machine language |
| US8842818B2 (en) * | 2006-06-30 | 2014-09-23 | Avaya Inc. | IP telephony architecture including information storage and retrieval system to track fluency |
| US7936867B1 (en) | 2006-08-15 | 2011-05-03 | Avaya Inc. | Multi-service request within a contact center |
| US8577916B1 (en) | 2006-09-01 | 2013-11-05 | Avaya Inc. | Search-based contact initiation method and apparatus |
| US8391463B1 (en) | 2006-09-01 | 2013-03-05 | Avaya Inc. | Method and apparatus for identifying related contacts |
| US8811597B1 (en) | 2006-09-07 | 2014-08-19 | Avaya Inc. | Contact center performance prediction |
| US8938063B1 (en) | 2006-09-07 | 2015-01-20 | Avaya Inc. | Contact center service monitoring and correcting |
| US20080068206A1 (en) * | 2006-09-15 | 2008-03-20 | Microsoft Corporation | Extended presence information and interest flag |
| US7573996B1 (en) | 2006-10-03 | 2009-08-11 | Avaya Inc. | Presence based callback |
| US20080091782A1 (en) * | 2006-10-13 | 2008-04-17 | Gabriel Jakobson | Method and system for delegating and managing tasks over instant messenger |
| US20080120164A1 (en) * | 2006-11-17 | 2008-05-22 | Avaya Technology Llc | Contact center agent work awareness algorithm |
| US9754273B2 (en) * | 2006-12-19 | 2017-09-05 | Microsoft Technology Licensing, Llc | Enterprise resource tracking of knowledge |
| US8224359B2 (en) * | 2006-12-22 | 2012-07-17 | Yahoo! Inc. | Provisioning my status information to others in my social network |
| US8150003B1 (en) | 2007-01-23 | 2012-04-03 | Avaya Inc. | Caller initiated undivert from voicemail |
| US8060565B1 (en) | 2007-01-31 | 2011-11-15 | Avaya Inc. | Voice and text session converter |
| US20080209417A1 (en) * | 2007-02-22 | 2008-08-28 | Gabriel Jakobson | Method and system of project management and task collaboration over instant messenger |
| US9055150B2 (en) * | 2007-02-28 | 2015-06-09 | International Business Machines Corporation | Skills based routing in a standards based contact center using a presence server and expertise specific watchers |
| US20080244011A1 (en) * | 2007-03-30 | 2008-10-02 | Patrick Herbert Cox | System and Method for providing instant messaging session backups |
| CN101079845B (zh) * | 2007-05-15 | 2012-09-05 | 腾讯科技(深圳)有限公司 | 一种基于即时通信工具的客户服务系统及方法 |
| CN101316377A (zh) | 2007-05-28 | 2008-12-03 | 国际商业机器公司 | 即时消息路由方法、设备和系统 |
| US8230417B1 (en) | 2007-06-08 | 2012-07-24 | Adobe Systems Incorporated | Combined application and execution environment install |
| US10671600B1 (en) | 2007-07-24 | 2020-06-02 | Avaya Inc. | Communications-enabled dynamic social network routing utilizing presence |
| US8375381B1 (en) | 2007-07-30 | 2013-02-12 | Adobe Systems Incorporated | Management user interface for application execution environment |
| US7930273B1 (en) | 2007-07-30 | 2011-04-19 | Adobe Systems Incorporated | Version management for application execution environment |
| US8448161B2 (en) * | 2007-07-30 | 2013-05-21 | Adobe Systems Incorporated | Application tracking for application execution environment |
| EP2026550A1 (de) * | 2007-08-17 | 2009-02-18 | Voxbone SA | Routing-System und -Verfahren für eingehende Rufe in einem VoIP-Netzwerk |
| US20090055497A1 (en) * | 2007-08-21 | 2009-02-26 | Scott Stephen Dickerson | Method and system for automatic instant messaging delegation |
| US7987275B2 (en) * | 2007-09-18 | 2011-07-26 | International Business Machines Corporation | Method, apparatus and computer program product implementing a chat application proxy and a chat application wrapper in a chat system |
| US8504534B1 (en) | 2007-09-26 | 2013-08-06 | Avaya Inc. | Database structures and administration techniques for generalized localization of database items |
| US9092380B1 (en) * | 2007-10-11 | 2015-07-28 | Norberto Menendez | System and method of communications with supervised interaction |
| US20090110167A1 (en) * | 2007-10-25 | 2009-04-30 | Cisco Technology, Inc. | Diverting a Call Session to a Text Session |
| US20090110169A1 (en) * | 2007-10-25 | 2009-04-30 | Cisco Technology, Inc. | Initiating a Conference Session Based on Availability of End Users |
| US20090112996A1 (en) * | 2007-10-25 | 2009-04-30 | Cisco Technology, Inc. | Determining Presence Status of End User Associated with Multiple Access Terminals |
| US20090168989A1 (en) | 2007-12-27 | 2009-07-02 | Perlmutter S Michael | Customer-Enabled Evaluation and and Control of Communication Center Agent Contact |
| US7392290B1 (en) * | 2008-01-07 | 2008-06-24 | International Business Machines Corporation | System for providing transparent participation of third parties in instant messaging communication |
| US8856182B2 (en) | 2008-01-25 | 2014-10-07 | Avaya Inc. | Report database dependency tracing through business intelligence metadata |
| US8635279B2 (en) * | 2008-04-02 | 2014-01-21 | Intuit Inc. | Establishing and recovering context related to an on-going sequence of communications |
| US9014016B2 (en) | 2008-06-20 | 2015-04-21 | Microsoft Corporation | Techniques to manage presence information based on routing rules |
| EP2141901A1 (de) * | 2008-06-30 | 2010-01-06 | France Telecom | Instant-Messaging als ein Kommunikationskanal für ein Kontaktzentrum |
| US9077699B1 (en) | 2008-09-11 | 2015-07-07 | Bank Of America Corporation | Text chat |
| US9003300B2 (en) * | 2008-10-03 | 2015-04-07 | International Business Machines Corporation | Voice response unit proxy utilizing dynamic web interaction |
| US20100125580A1 (en) * | 2008-11-04 | 2010-05-20 | Westen Peter T | Automatic buddy management |
| US8271509B2 (en) * | 2008-11-20 | 2012-09-18 | Bank Of America Corporation | Search and chat integration system |
| US20100161415A1 (en) * | 2008-12-19 | 2010-06-24 | Mandel Edward W | System and Method for Dynamically Changing Advertisements |
| US8792631B2 (en) * | 2009-04-07 | 2014-07-29 | Echostar Technologies L.L.C. | System and method for matching service representatives with customers |
| US20100325215A1 (en) * | 2009-06-19 | 2010-12-23 | Microsoft Corporation | Message requirements based routing of messages |
| US8301581B2 (en) | 2009-09-24 | 2012-10-30 | Avaya Inc. | Group compositing algorithms for presence |
| US8565386B2 (en) | 2009-09-29 | 2013-10-22 | Avaya Inc. | Automatic configuration of soft phones that are usable in conjunction with special-purpose endpoints |
| US9516069B2 (en) | 2009-11-17 | 2016-12-06 | Avaya Inc. | Packet headers as a trigger for automatic activation of special-purpose softphone applications |
| WO2011085121A2 (en) * | 2010-01-06 | 2011-07-14 | Tekelec | Methods, systems and computer readable media for providing session initiation protocol (sip) event watcher entity information in a communications network |
| US8661077B2 (en) * | 2010-01-06 | 2014-02-25 | Tekelec, Inc. | Methods, systems and computer readable media for providing a failover measure using watcher information (WINFO) architecture |
| US20110195694A1 (en) * | 2010-02-08 | 2011-08-11 | Mitel Networks Corporation | Desktop mobile information provider |
| US8594306B2 (en) * | 2010-03-03 | 2013-11-26 | International Business Machines Corporation | Providing information by a contact center |
| US8914539B2 (en) * | 2010-03-12 | 2014-12-16 | Salesforce.Com, Inc. | Service cloud console |
| US8930498B2 (en) | 2010-03-31 | 2015-01-06 | Bank Of America Corporation | Mobile content management |
| US20110246377A1 (en) * | 2010-03-31 | 2011-10-06 | Bank Of America Corporation | Conditional Establishment of a Communications Connection with a Mobile Terminal in Response to a Query From the Mobile Terminal |
| US9118593B2 (en) | 2010-10-07 | 2015-08-25 | Enghouse Networks Limited | System and method for best value routing |
| US9691069B2 (en) | 2011-06-20 | 2017-06-27 | Dell Products, Lp | System and method for device specific customer support |
| US9900351B2 (en) * | 2011-07-20 | 2018-02-20 | Genband Us Llc | Methods, systems, and computer readable media for providing legacy devices access to a session initiation protocol (SIP) based network |
| US9215096B2 (en) | 2011-08-26 | 2015-12-15 | Salesforce.Com, Inc. | Computer implemented methods and apparatus for providing communication between network domains in a service cloud |
| US8830876B2 (en) | 2011-10-11 | 2014-09-09 | Genesys Telecommunications Laboratories, Inc. | Method for interacting with a group of individuals as a single contact |
| CN103139405B (zh) * | 2011-12-02 | 2016-02-17 | 北京神州泰岳软件股份有限公司 | 一种互联网中实现客服的方法和系统 |
| FR3004047A1 (fr) * | 2013-03-29 | 2014-10-03 | France Telecom | Technique de cooperation entre une pluralite d'entites clientes |
| CN104123296A (zh) * | 2013-04-26 | 2014-10-29 | 阿里巴巴集团控股有限公司 | 一种生成消息索引以便向接收者呈现消息的方法及装置 |
| US9525743B2 (en) * | 2013-07-16 | 2016-12-20 | Interactive Intelligence Group, Inc. | System and method for predictive live interaction offering and hosting |
| US9036807B1 (en) * | 2013-10-25 | 2015-05-19 | Teletech Holdings, Inc. | Method and system for routing messages and connecting users associated with live-connected content |
| CN103532833B (zh) * | 2013-11-05 | 2017-01-11 | 中国联合网络通信集团有限公司 | 一种业务系统访问方法、终端及代理服务系统 |
| US9860124B2 (en) * | 2014-04-02 | 2018-01-02 | Aria Solutions, Inc. | Configurable cloud-based routing |
| US9571649B2 (en) | 2014-10-23 | 2017-02-14 | Teletech Holdings, Inc. | Method for connecting users with agents based on user values dynamically determined according to a set of rules or algorithms |
| US9924033B2 (en) | 2014-10-23 | 2018-03-20 | Teletech Holdings, Inc. | Method for collecting data using a user interaction event-driven data collection system |
| US9350865B2 (en) | 2014-10-23 | 2016-05-24 | Teletech Holdings, Inc. | Method for connecting a user with an agent based on user interaction of a link of a prior message exchanged between the user and the agent |
| US9716792B2 (en) | 2015-10-19 | 2017-07-25 | Genesys Telecommunications Laboratories, Inc. | System and method for generating a network of contact center agents and customers for optimized routing of interactions |
| US9723151B2 (en) * | 2015-10-19 | 2017-08-01 | Genesys Telecommunications Laboratories, Inc. | Optimized routing of interactions to contact center agents based on forecast agent availability and customer patience |
| US11100548B1 (en) * | 2016-04-07 | 2021-08-24 | United Services Automobile Association (Usaa) | Systems and methods for calling party authentication |
| US10970687B2 (en) * | 2016-05-26 | 2021-04-06 | Motorola Mobility Llc | Routing transaction data over a data pipe |
| CN106777135B (zh) * | 2016-05-27 | 2018-10-12 | 中科鼎富(北京)科技发展有限公司 | 服务调度方法、装置及机器人服务系统 |
| KR102615111B1 (ko) | 2016-06-13 | 2023-12-20 | 구글 엘엘씨 | 인간 운영자로의 에스컬레이션 |
| US10827064B2 (en) | 2016-06-13 | 2020-11-03 | Google Llc | Automated call requests with status updates |
| CN106357510B (zh) * | 2016-09-13 | 2019-06-28 | 山东脉达信息科技有限公司 | 一种企业管理数据交互系统与方法 |
| US9697101B1 (en) * | 2016-09-20 | 2017-07-04 | International Business Machines Corporation | Detecting errors in web application runtime environments |
| US10616153B2 (en) | 2016-12-30 | 2020-04-07 | Logmein, Inc. | Real-time communications system with intelligent presence indication |
| CN107222645B (zh) * | 2017-07-07 | 2018-03-27 | 北京广隆方略技术有限公司 | 一种工作流接入的实现方法和系统 |
| CN108011806A (zh) * | 2017-10-20 | 2018-05-08 | 网宿科技股份有限公司 | 基于第三方通讯软件的报警系统及报警方法 |
| CN110048935B (zh) * | 2019-04-17 | 2021-09-14 | 深圳市腾讯网域计算机网络有限公司 | 一种跨终端交互方法、装置及系统 |
| KR102791064B1 (ko) | 2019-05-06 | 2025-04-07 | 구글 엘엘씨 | 자동 통화 시스템 |
| CN110266755B (zh) * | 2019-05-09 | 2022-02-25 | 视联动力信息技术股份有限公司 | 一种获取协转服务器状态的方法及装置 |
| US11158321B2 (en) | 2019-09-24 | 2021-10-26 | Google Llc | Automated calling system |
| US12080285B2 (en) | 2020-03-20 | 2024-09-03 | Google Llc | Semi-delegated calling by an automated assistant on behalf of human participant |
| US11303749B1 (en) | 2020-10-06 | 2022-04-12 | Google Llc | Automatic navigation of an interactive voice response (IVR) tree on behalf of human user(s) |
| CA3217259A1 (en) | 2021-05-07 | 2022-11-10 | Emir MUNOZ | Systems and methods relating to predictive routing and occupancy balancing |
| US20220358462A1 (en) * | 2021-05-10 | 2022-11-10 | Salesforce.Com, Inc. | Context and rule based dynamic communication channels for collaboration between users |
| US12225158B2 (en) | 2022-12-15 | 2025-02-11 | Google Llc | System(s) and method(s) for implementing a personalized chatbot |
Family Cites Families (178)
| Publication number | Priority date | Publication date | Assignee | Title |
|---|---|---|---|---|
| US4718005A (en) | 1984-05-03 | 1988-01-05 | International Business Machines Corporation | Distributed control of alias name usage in networks |
| US4800583A (en) | 1986-07-31 | 1989-01-24 | Theis Peter F | Overflow call handling system |
| US4958368A (en) | 1988-10-31 | 1990-09-18 | Gte Mobilnet Incorporated | Customer activation system |
| US5062103A (en) | 1988-12-29 | 1991-10-29 | At&T Bell Laboratories | Telephone agent call management system |
| US5006983A (en) | 1989-09-12 | 1991-04-09 | Addax, Inc. | Service allocation system |
| US5040208A (en) | 1989-11-03 | 1991-08-13 | International Business Machines Corporation | Coordinated voice and data display having temporary storage of transaction data |
| US5274700A (en) | 1989-11-27 | 1993-12-28 | Unifi Communications Corporation | Methods of automatically rerouting an incoming telephone call placed over a network |
| US5036535A (en) | 1989-11-27 | 1991-07-30 | Unifi Communications Corporation | Switchless automatic call distribution system |
| US5271058A (en) | 1989-11-27 | 1993-12-14 | Unifi Communications Corporation | Switchless automatic call distribution system used with a combination of networks |
| US5155761A (en) | 1990-01-26 | 1992-10-13 | Intervoice, Inc. | Automatic call back system and method of operation |
| US5586174A (en) | 1990-08-15 | 1996-12-17 | Advanced Laundry Devices, Inc. | Condition responsive indicating system for interactively indicating status of a plurality of electrical appliances |
| US5181236A (en) | 1990-09-25 | 1993-01-19 | Rockwell International Corporation | Automatic call returning method for call distributor with message record capability |
| US5583922A (en) | 1990-09-27 | 1996-12-10 | Radish Communication Systems, Inc. | Telecommunication system for automatic switching between voice and visual data communications using forms |
| US5911134A (en) | 1990-10-12 | 1999-06-08 | Iex Corporation | Method for planning, scheduling and managing personnel |
| US5163083A (en) | 1990-10-12 | 1992-11-10 | At&T Bell Laboratories | Automation of telephone operator assistance calls |
| US5206903A (en) | 1990-12-26 | 1993-04-27 | At&T Bell Laboratories | Automatic call distribution based on matching required skills with agents skills |
| US5311574A (en) | 1991-10-23 | 1994-05-10 | At&T Bell Laboratories | Automatic customer call back for automatic call distribution systems |
| US5452350A (en) | 1992-03-09 | 1995-09-19 | Advantis | Subscriber call routing processing system |
| US5557736A (en) | 1992-03-19 | 1996-09-17 | Hitachi Electronics Services Co., Ltd. | Computer system and job transfer method using electronic mail system |
| US5311583A (en) | 1992-08-05 | 1994-05-10 | At&T Bell Laboratories | International priority calling system with callback features |
| US5535335A (en) | 1992-12-22 | 1996-07-09 | International Business Machines Corporation | Method and system for reporting the status of an aggregate resource residing in a network of interconnected real resources |
| US6278936B1 (en) | 1993-05-18 | 2001-08-21 | Global Research Systems, Inc. | System and method for an advance notification system for monitoring and reporting proximity of a vehicle |
| CA2129942C (en) | 1993-09-30 | 1998-08-25 | Steven Todd Kaish | Telecommunication network with integrated network-wide automatic call distribution |
| US5555376A (en) | 1993-12-03 | 1996-09-10 | Xerox Corporation | Method for granting a user request having locational and contextual attributes consistent with user policies for devices having locational attributes consistent with the user request |
| US5436967A (en) | 1994-02-01 | 1995-07-25 | At&T Corp. | Held party call-back arrangement |
| US6606668B1 (en) | 1994-02-16 | 2003-08-12 | Priority Call Management, Inc. | System and method for least cost routing and managing multiple gatekeepers on a packet switched network |
| US5873032A (en) | 1994-04-28 | 1999-02-16 | Metro One Telecommunications, Inc. | Method and system for providing directory assistance services during attempt to complete customer or after call termination via an alphanumeric page |
| US5542088A (en) | 1994-04-29 | 1996-07-30 | Intergraph Corporation | Method and apparatus for enabling control of task execution |
| US5742905A (en) | 1994-09-19 | 1998-04-21 | Bell Communications Research, Inc. | Personal communications internetworking |
| US5777614A (en) | 1994-10-14 | 1998-07-07 | Hitachi, Ltd. | Editing support system including an interactive interface |
| JPH08263438A (ja) | 1994-11-23 | 1996-10-11 | Xerox Corp | ディジタルワークの配給及び使用制御システム並びにディジタルワークへのアクセス制御方法 |
| US6367013B1 (en) | 1995-01-17 | 2002-04-02 | Eoriginal Inc. | System and method for electronic transmission, storage, and retrieval of authenticated electronic original documents |
| US5546452A (en) | 1995-03-02 | 1996-08-13 | Geotel Communications Corp. | Communications system using a central controller to control at least one network and agent system |
| US5918222A (en) | 1995-03-17 | 1999-06-29 | Kabushiki Kaisha Toshiba | Information disclosing apparatus and multi-modal information input/output system |
| US6255943B1 (en) | 1995-03-29 | 2001-07-03 | Cabletron Systems, Inc. | Method and apparatus for distributed object filtering |
| US5696486A (en) | 1995-03-29 | 1997-12-09 | Cabletron Systems, Inc. | Method and apparatus for policy-based alarm notification in a distributed network management environment |
| ATE330416T1 (de) | 1995-04-24 | 2006-07-15 | Ibm | Verfahren und gerät zur auf geschicklichkeit basierten leitweglenkung in einer anrufzentrale |
| US5964837A (en) | 1995-06-28 | 1999-10-12 | International Business Machines Corporation | Computer network management using dynamic switching between event-driven and polling type of monitoring from manager station |
| US5678002A (en) | 1995-07-18 | 1997-10-14 | Microsoft Corporation | System and method for providing automated customer support |
| US5956509A (en) | 1995-08-18 | 1999-09-21 | Microsoft Corporation | System and method for performing remote requests with an on-line service network |
| US5913040A (en) | 1995-08-22 | 1999-06-15 | Backweb Ltd. | Method and apparatus for transmitting and displaying information between a remote network and a local computer |
| US5884032A (en) | 1995-09-25 | 1999-03-16 | The New Brunswick Telephone Company, Limited | System for coordinating communications via customer contact channel changing system using call centre for setting up the call between customer and an available help agent |
| US5915012A (en) | 1997-01-14 | 1999-06-22 | Genesys, Telecommunications Laboratories, Inc. | System and method for operating a plurality of call centers |
| US6130933A (en) | 1996-02-02 | 2000-10-10 | Genesys Telecommunications Laboratories, Inc. | Apparatus and methods for coordinating telephone and data communications |
| WO1997018661A1 (en) | 1995-11-13 | 1997-05-22 | Answersoft, Inc. | Intelligent information routing system and method |
| US5757904A (en) | 1996-02-05 | 1998-05-26 | Lucent Technologies Inc. | Context-sensitive presentation of information to call-center agents |
| US6324683B1 (en) | 1996-02-23 | 2001-11-27 | International Business Machines Corporation | System, method and program for debugging external programs in client/server-based relational database management systems |
| JPH09297684A (ja) | 1996-03-05 | 1997-11-18 | Fujitsu Ltd | オブジェクト・ネットワークによる情報処理装置 |
| US5764913A (en) | 1996-04-05 | 1998-06-09 | Microsoft Corporation | Computer network status monitoring system |
| US5867562A (en) | 1996-04-17 | 1999-02-02 | Scherer; Gordon F. | Call processing system with call screening |
| US5778060A (en) | 1996-04-19 | 1998-07-07 | At&T Corp | Work at home ACD agent network with cooperative control |
| US5689548A (en) | 1996-05-21 | 1997-11-18 | Ericsson, Inc. | Emergency call back using MSC numbers |
| US6064730A (en) | 1996-06-18 | 2000-05-16 | Lucent Technologies Inc. | Customer-self routing call center |
| US5966653A (en) | 1996-06-24 | 1999-10-12 | Ericsson Inc. | Validating a forward-to-number within a mobile telecommunications system |
| US5999965A (en) | 1996-08-20 | 1999-12-07 | Netspeak Corporation | Automatic call distribution server for computer telephony communications |
| US5892764A (en) | 1996-09-16 | 1999-04-06 | Sphere Communications Inc. | ATM LAN telephone system |
| US5898770A (en) | 1996-09-26 | 1999-04-27 | Ericsson Inc | Subscriber controlled call list deregistration |
| US6237009B1 (en) | 1996-10-11 | 2001-05-22 | Sun Microsystems, Inc. | Lease renewal service |
| US5966699A (en) | 1996-10-11 | 1999-10-12 | Zandi; Richard | System and method for conducting loan auction over computer network |
| US5907547A (en) | 1996-10-24 | 1999-05-25 | At&T Corp | System and method for establishing internet communications links |
| US6578005B1 (en) | 1996-11-22 | 2003-06-10 | British Telecommunications Public Limited Company | Method and apparatus for resource allocation when schedule changes are incorporated in real time |
| US6178443B1 (en) | 1996-12-20 | 2001-01-23 | Intel Corporation | Method and apparatus for propagating user preferences across multiple computer environments |
| US6112243A (en) | 1996-12-30 | 2000-08-29 | Intel Corporation | Method and apparatus for allocating tasks to remote networked processors |
| US6477374B1 (en) | 1997-01-03 | 2002-11-05 | Siemens Information And Communication Networks, Inc. | Apparatus and method for calendar based call routing |
| US5946388A (en) | 1997-02-06 | 1999-08-31 | Walker Asset Management Limited Partnership | Method and apparatus for priority queuing of telephone calls |
| US5926539A (en) | 1997-09-12 | 1999-07-20 | Genesys Telecommunications Laboratories, Inc. | Method and apparatus for determining agent availability based on level of uncompleted tasks |
| US6137869A (en) | 1997-09-16 | 2000-10-24 | Bell Atlantic Network Services, Inc. | Network session management |
| US6775371B2 (en) | 1997-03-13 | 2004-08-10 | Metro One Telecommunications, Inc. | Technique for effectively providing concierge-like services in a directory assistance system |
| US5943478A (en) * | 1997-04-04 | 1999-08-24 | Flash Communications, Inc. | System for immediate popup messaging across the internet |
| US6161099A (en) | 1997-05-29 | 2000-12-12 | Muniauction, Inc. | Process and apparatus for conducting auctions over electronic networks |
| US6070243A (en) | 1997-06-13 | 2000-05-30 | Xylan Corporation | Deterministic user authentication service for communication network |
| US20010054064A1 (en) * | 1997-07-02 | 2001-12-20 | Pallipuram V. Kannan | Method system and computer program product for providing customer service over the world-wide web |
| US6108700A (en) | 1997-08-01 | 2000-08-22 | International Business Machines Corporation | Application end-to-end response time measurement and decomposition |
| IL121501A (en) | 1997-08-08 | 2003-04-10 | Icq Inc | Telephone-status notification system |
| US6393015B1 (en) | 1997-09-12 | 2002-05-21 | Genesys Telecommunications Laboratories, Inc. | Method and apparatus for automatic network connection between a small business and a client |
| US6373836B1 (en) | 1997-09-15 | 2002-04-16 | Genesys Telecommunications Laboratories, Inc. | Apparatus and methods in routing internet protocol network telephony calls in a centrally-managed call center system |
| US6782087B1 (en) | 1997-09-19 | 2004-08-24 | Mci Communications Corporation | Desktop telephony application program for a call center agent |
| US6631402B1 (en) | 1997-09-26 | 2003-10-07 | Worldcom, Inc. | Integrated proxy interface for web based report requester tool set |
| US6108711A (en) | 1998-09-11 | 2000-08-22 | Genesys Telecommunications Laboratories, Inc. | Operating system having external media layer, workflow layer, internal media layer, and knowledge base for routing media events between transactions |
| US5960442A (en) | 1997-11-12 | 1999-09-28 | Genesys Telecommunications Laboratories, Inc. | Real-time interactive directory |
| US6308216B1 (en) | 1997-11-14 | 2001-10-23 | International Business Machines Corporation | Service request routing using quality-of-service data and network resource information |
| US6493447B1 (en) | 1997-11-21 | 2002-12-10 | Mci Communications Corporation | Contact server for call center for syncronizing simultaneous telephone calls and TCP/IP communications |
| US6011845A (en) | 1997-12-29 | 2000-01-04 | Us West, Inc. | Method and system for two-way call holding using an intelligent communication device |
| US6085097A (en) | 1998-02-12 | 2000-07-04 | Savery; Winsor T. | Cellular communications tracking system using a multitude of assigned call-numbers |
| US6157655A (en) | 1998-02-17 | 2000-12-05 | Genesys Telecommunications Laboratories, Inc. | Method for estimating telephony system-queue waiting time in an agent level routing environment |
| US6535492B2 (en) | 1999-12-01 | 2003-03-18 | Genesys Telecommunications Laboratories, Inc. | Method and apparatus for assigning agent-led chat sessions hosted by a communication center to available agents based on message load and agent skill-set |
| US6332154B2 (en) | 1998-09-11 | 2001-12-18 | Genesys Telecommunications Laboratories, Inc. | Method and apparatus for providing media-independent self-help modules within a multimedia communication-center customer interface |
| US6484196B1 (en) | 1998-03-20 | 2002-11-19 | Advanced Web Solutions | Internet messaging system and method for use in computer networks |
| US6173053B1 (en) | 1998-04-09 | 2001-01-09 | Avaya Technology Corp. | Optimizing call-center performance by using predictive data to distribute calls among agents |
| US6650748B1 (en) | 1998-04-13 | 2003-11-18 | Avaya Technology Corp. | Multiple call handling in a call center |
| US6381321B1 (en) | 1998-05-04 | 2002-04-30 | T-Netix, Inc. | Telecommunication resource allocation system and method |
| AU758096C (en) | 1998-05-07 | 2004-04-29 | Samsung Electronics Co., Ltd. | Method and system for device to device command and control in a network |
| US6317786B1 (en) | 1998-05-29 | 2001-11-13 | Webspective Software, Inc. | Web service |
| US6363421B2 (en) | 1998-05-31 | 2002-03-26 | Lucent Technologies, Inc. | Method for computer internet remote management of a telecommunication network element |
| GB2338870A (en) | 1998-06-01 | 1999-12-29 | Chen Yong Cong | Network of distributed, non-permanent, and human interactive web servers |
| FI106909B (fi) | 1998-09-02 | 2001-04-30 | Nokia Networks Oy | Menetelmä radiokanavan saantiviiveen pienentämiseksi GPRS-järjestelmässä ja pakettiradiojärjestelmä |
| US6115743A (en) | 1998-09-22 | 2000-09-05 | Mci Worldcom, Inc. | Interface system for integrated monitoring and management of network devices in a telecommunication network |
| US6389007B1 (en) | 1998-09-24 | 2002-05-14 | Genesys Telecommunications Laboratories, Inc. | Method and apparatus for providing integrated routing for PSTN and IPNT calls in a call center |
| US6618369B1 (en) | 1998-09-29 | 2003-09-09 | Lg Electronics Inc. | Internet phone protocol |
| US6449646B1 (en) | 1998-10-13 | 2002-09-10 | Aspect Communications Corporation | Method and apparatus for allocating mixed transaction type messages to resources via an integrated queuing mechanism |
| CA2352165C (en) | 1998-10-14 | 2011-03-22 | Bradley S. Templeton | Method and apparatus for intermediation of meetings and calls |
| US6487590B1 (en) | 1998-10-30 | 2002-11-26 | Lucent Technologies Inc. | Method for controlling a network element from a remote workstation |
| US6111940A (en) | 1998-11-09 | 2000-08-29 | Pilgrim Telephone, Inc. | Method for providing telephonic services |
| EP1003117A3 (de) | 1998-11-17 | 2003-07-23 | Citibank, N.A. | Verfahren und System für eine strategische Verwaltung der anfallenden Arbeiten in Dienstleistungsunternehmen |
| US6327364B1 (en) | 1998-12-15 | 2001-12-04 | Siemens Information And Communication Networks, Inc. | Reducing resource consumption by ACD systems |
| US6842877B2 (en) | 1998-12-18 | 2005-01-11 | Tangis Corporation | Contextual responses based on automated learning techniques |
| US6826194B1 (en) | 1999-01-20 | 2004-11-30 | Tadiran Telecom Business Systems Ltd. | Method for serving IP users by graphically-based interaction to agents of a call center |
| US6434230B1 (en) | 1999-02-02 | 2002-08-13 | Avaya Technology Corp. | Rules-based queuing of calls to call-handling resources |
| US6199099B1 (en) | 1999-03-05 | 2001-03-06 | Ac Properties B.V. | System, method and article of manufacture for a mobile communication network utilizing a distributed communication network |
| US6424709B1 (en) | 1999-03-22 | 2002-07-23 | Rockwell Electronic Commerce Corp. | Skill-based call routing |
| JP3834452B2 (ja) | 1999-04-01 | 2006-10-18 | セイコーエプソン株式会社 | 機器管理システム、管理サーバ及びコンピュータ読取可能な記録媒体 |
| US6747970B1 (en) | 1999-04-29 | 2004-06-08 | Christopher H. Lamb | Methods and apparatus for providing communications services between connectionless and connection-oriented networks |
| US6564261B1 (en) | 1999-05-10 | 2003-05-13 | Telefonaktiebolaget Lm Ericsson (Publ) | Distributed system to intelligently establish sessions between anonymous users over various networks |
| US6493446B1 (en) | 1999-05-13 | 2002-12-10 | Willow Csn Incorporated | Call center posting program |
| US6553336B1 (en) | 1999-06-25 | 2003-04-22 | Telemonitor, Inc. | Smart remote monitoring system and method |
| US6301609B1 (en) | 1999-07-07 | 2001-10-09 | Lucent Technologies Inc. | Assignable associate priorities for user-definable instant messaging buddy groups |
| US6584499B1 (en) | 1999-07-09 | 2003-06-24 | Lsi Logic Corporation | Methods and apparatus for performing mass operations on a plurality of managed devices on a network |
| US6392666B1 (en) | 1999-07-21 | 2002-05-21 | Avaya Technology Corp. | Telephone call center monitoring system allowing real-time display of summary views and interactively defined detailed views |
| US6611590B1 (en) | 1999-07-30 | 2003-08-26 | Avaya Technology Corp. | Enterprise-wide intelligent call center routing |
| US7187662B1 (en) | 1999-08-11 | 2007-03-06 | Klingman Edwin E | Table driven call distribution system for local and remote agents |
| US6996603B1 (en) | 1999-08-31 | 2006-02-07 | Qwest Communications International, Inc. | Automatic desktop audio/video/data conferencing distributor |
| US6571282B1 (en) | 1999-08-31 | 2003-05-27 | Accenture Llp | Block-based communication in a communication services patterns environment |
| US6728365B1 (en) | 1999-09-13 | 2004-04-27 | Nortel Networks Limited | Method and system for providing quality-of-service on packet-based wireless connections |
| US6389028B1 (en) | 1999-09-24 | 2002-05-14 | Genesys Telecommunications Laboratories, Inc. | Method and apparatus for providing estimated response-wait-time displays for data network-based inquiries to a communication center |
| US6578054B1 (en) | 1999-10-04 | 2003-06-10 | Microsoft Corporation | Method and system for supporting off-line mode of operation and synchronization using resource state information |
| US6389132B1 (en) * | 1999-10-13 | 2002-05-14 | Avaya Technology Corp. | Multi-tasking, web-based call center |
| US6587831B1 (en) | 1999-10-21 | 2003-07-01 | Workforce Logistics Inc. | System and method for online scheduling and shift management |
| US6701366B1 (en) | 1999-11-09 | 2004-03-02 | Nortel Networks Corporation | Providing communications services |
| US6408062B1 (en) | 1999-11-19 | 2002-06-18 | Intervoice Limited Partnership | Pre-qualifying call-back service |
| US6760767B1 (en) | 1999-12-02 | 2004-07-06 | General Electric Company | Communication connectivity verification and reporting system and method of use |
| US6985576B1 (en) * | 1999-12-02 | 2006-01-10 | Worldcom, Inc. | Method and apparatus for automatic call distribution |
| AU2426501A (en) | 1999-12-02 | 2001-06-12 | Lightning Rod Software, Inc. | System with multi-media real-time queue monitor |
| US20010044840A1 (en) | 1999-12-13 | 2001-11-22 | Live Networking, Inc. | Method and system for real-tme monitoring and administration of computer networks |
| US6563920B1 (en) | 1999-12-15 | 2003-05-13 | Avaya Technology Corp. | Methods and apparatus for processing of communications in a call center based on variable rest period determinations |
| US6442432B2 (en) * | 1999-12-21 | 2002-08-27 | Medtronic, Inc. | Instrumentation and software for remote monitoring and programming of implantable medical devices (IMDs) |
| US6842899B2 (en) | 1999-12-21 | 2005-01-11 | Lockheed Martin Corporation | Apparatus and method for resource negotiations among autonomous agents |
| US6584186B1 (en) | 2000-01-12 | 2003-06-24 | Lucent Technologies Inc. | Protecting communications network integrity |
| US6661889B1 (en) | 2000-01-18 | 2003-12-09 | Avaya Technology Corp. | Methods and apparatus for multi-variable work assignment in a call center |
| US6771764B1 (en) | 2000-01-26 | 2004-08-03 | Rockwell Electronic Commerce Corp. | Schedule based transaction routing |
| US6724884B2 (en) | 2000-01-27 | 2004-04-20 | Avaya Technology Corp. | Call management system using fast response dynamic threshold adjustment |
| US6868525B1 (en) | 2000-02-01 | 2005-03-15 | Alberti Anemometer Llc | Computer graphic display visualization system and method |
| EP1256210A2 (de) | 2000-02-04 | 2002-11-13 | HRL Laboratories, LLC | System und verfahren zur preisbasierten dienstqualität |
| US6782413B1 (en) | 2000-02-11 | 2004-08-24 | Microsoft Corporation | Distributed conference bridge |
| US6961910B2 (en) | 2000-02-17 | 2005-11-01 | International Business Machines Corporation | System for interacting with participants at a web site through an interactive visual proxy |
| US20030046396A1 (en) | 2000-03-03 | 2003-03-06 | Richter Roger K. | Systems and methods for managing resource utilization in information management environments |
| US20020049608A1 (en) | 2000-03-03 | 2002-04-25 | Hartsell Neal D. | Systems and methods for providing differentiated business services in information management environments |
| US6707906B1 (en) * | 2000-03-13 | 2004-03-16 | Concerto Software, Inc. | Outbound calling system in a contact center |
| US7260635B2 (en) | 2000-03-21 | 2007-08-21 | Centrisoft Corporation | Software, systems and methods for managing a distributed network |
| US6799208B1 (en) | 2000-05-02 | 2004-09-28 | Microsoft Corporation | Resource manager architecture |
| US7269160B1 (en) * | 2000-05-26 | 2007-09-11 | Buffalo International, Inc. | Voice over internet call center integration |
| US6654816B1 (en) | 2000-05-31 | 2003-11-25 | Hewlett-Packard Development Company, L.P. | Communication interface systems for locally analyzing computers |
| US6763384B1 (en) | 2000-07-10 | 2004-07-13 | International Business Machines Corporation | Event-triggered notification over a network |
| US6651085B1 (en) | 2000-07-17 | 2003-11-18 | Interactive Intelligence, Inc. | Agent status viewing system and method |
| US20020120697A1 (en) * | 2000-08-14 | 2002-08-29 | Curtis Generous | Multi-channel messaging system and method |
| US6697858B1 (en) | 2000-08-14 | 2004-02-24 | Telephony@Work | Call center |
| US20020143987A1 (en) | 2000-08-22 | 2002-10-03 | Sadler Andrew Paul | Message management systems and method |
| US6430602B1 (en) * | 2000-08-22 | 2002-08-06 | Active Buddy, Inc. | Method and system for interactively responding to instant messaging requests |
| US6405035B1 (en) | 2000-08-24 | 2002-06-11 | Telefonaktiebolaget L.M. Ericsson | System and method for forwarding messages to a subscriber device |
| US6795830B1 (en) | 2000-09-08 | 2004-09-21 | Oracle International Corporation | Techniques for providing off-host storage for a database application |
| US6603837B1 (en) | 2000-09-11 | 2003-08-05 | Kinera, Inc. | Method and system to provide a global integrated messaging services distributed network with personalized international roaming |
| AU2001292813A1 (en) | 2000-09-15 | 2002-03-26 | Avaya Technology Corp. | Call center with integrated work management |
| US6728262B1 (en) | 2000-10-02 | 2004-04-27 | Coi Software, Inc. | System and method for integrating process control and network management |
| US6748471B1 (en) | 2000-10-16 | 2004-06-08 | Electronics For Imaging, Inc. | Methods and apparatus for requesting and receiving a print job via a printer polling device associated with a printer |
| US6970939B2 (en) | 2000-10-26 | 2005-11-29 | Intel Corporation | Method and apparatus for large payload distribution in a network |
| US20020056000A1 (en) | 2000-11-08 | 2002-05-09 | Albert Coussement Stefaan Valere | Personal interaction interface for communication-center customers |
| EP1206106A3 (de) | 2000-11-08 | 2005-06-22 | Genesys Telecommunications Laboratories, Inc. | Vorrichtung um Kunden Anwesenheits- und Statusinformation einer Anrufzentrale mitzuteilen |
| US20020055967A1 (en) | 2000-11-08 | 2002-05-09 | Coussement Stefaan Valere Albert | System for reporting client status information to communications-center agents |
| US7929562B2 (en) | 2000-11-08 | 2011-04-19 | Genesis Telecommunications Laboratories, Inc. | Method and apparatus for optimizing response time to events in queue |
| US20030009530A1 (en) | 2000-11-08 | 2003-01-09 | Laurent Philonenko | Instant message presence protocol for facilitating communication center activity |
| US7299259B2 (en) | 2000-11-08 | 2007-11-20 | Genesys Telecommunications Laboratories, Inc. | Method and apparatus for intelligent routing of instant messaging presence protocol (IMPP) events among a group of customer service representatives |
| US6822945B2 (en) | 2000-11-08 | 2004-11-23 | Genesys Telecommunications Laboratories, Inc. | Method and apparatus for anticipating and planning communication-center resources based on evaluation of events waiting in a communication center master queue |
| KR20010016151A (ko) | 2000-11-14 | 2001-03-05 | 김종우 | 인스턴트 메신저를 이용한 콜센터 구축 방법 |
| US6665375B1 (en) | 2000-11-21 | 2003-12-16 | International Business Machines Corporation | Method and apparatus for providing accessibility to call connection status |
| US20020116531A1 (en) * | 2001-02-21 | 2002-08-22 | International Business Machines Corporation | Applying anonymous personalization to web-based customer interactions |
| US7224774B1 (en) * | 2001-03-23 | 2007-05-29 | Aol Llc | Real-time call control system |
| US20020178227A1 (en) * | 2001-05-25 | 2002-11-28 | International Business Machines Corporation | Routing instant messages using configurable, pluggable delivery managers |
| US7953219B2 (en) | 2001-07-19 | 2011-05-31 | Nice Systems, Ltd. | Method apparatus and system for capturing and analyzing interaction based content |
| US20030212583A1 (en) | 2001-07-25 | 2003-11-13 | Perras Francis A. | Automated tool set for improving operations in an ecommerce business |
-
2001
- 2001-08-17 US US09/932,033 patent/US7299259B2/en not_active Ceased
-
2002
- 2002-07-26 WO PCT/US2002/023851 patent/WO2003025776A1/en not_active Ceased
- 2002-07-26 EP EP02761182.1A patent/EP1423795B1/de not_active Expired - Lifetime
-
2007
- 2007-10-29 US US11/927,353 patent/US7730135B2/en not_active Ceased
-
2014
- 2014-12-12 US US14/569,587 patent/USRE46174E1/en not_active Expired - Fee Related
- 2014-12-12 US US14/569,586 patent/USRE46625E1/en not_active Expired - Lifetime
Also Published As
| Publication number | Publication date |
|---|---|
| WO2003025776A1 (en) | 2003-03-27 |
| US20020055975A1 (en) | 2002-05-09 |
| US20080071917A1 (en) | 2008-03-20 |
| US7730135B2 (en) | 2010-06-01 |
| US7299259B2 (en) | 2007-11-20 |
| EP1423795A1 (de) | 2004-06-02 |
| USRE46174E1 (en) | 2016-10-04 |
| EP1423795A4 (de) | 2004-10-13 |
| USRE46625E1 (en) | 2017-12-05 |
Similar Documents
| Publication | Publication Date | Title |
|---|---|---|
| EP1423795B1 (de) | System zum routen von instant-nachrichten von benutzern in einer kunden-service-gruppe | |
| US20020056000A1 (en) | Personal interaction interface for communication-center customers | |
| USRE47138E1 (en) | Method and apparatus for anticipating and planning communication-center resources based on evaluation of events waiting in a communication center master queue | |
| US20030009530A1 (en) | Instant message presence protocol for facilitating communication center activity | |
| US9648168B2 (en) | Method and apparatus for optimizing response time to events in queue | |
| US20020055967A1 (en) | System for reporting client status information to communications-center agents | |
| EP1087596B1 (de) | Verfahren und Gerät zum Bereitstellen von geschätzten Antwort-Wartenzeit Anzeigen für Daten-Netzwerke basierte Abfragen eines Kommunikationscentrum | |
| USRE46776E1 (en) | Method and apparatus for optimizing response time to events in queue | |
| EP1206106A2 (de) | Vorrichtung um Kunden Anwesenheits- und Statusinformation einer Anrufzentrale mitzuteilen |
Legal Events
| Date | Code | Title | Description |
|---|---|---|---|
| PUAI | Public reference made under article 153(3) epc to a published international application that has entered the european phase |
Free format text: ORIGINAL CODE: 0009012 |
|
| 17P | Request for examination filed |
Effective date: 20040303 |
|
| AK | Designated contracting states |
Kind code of ref document: A1 Designated state(s): AT BE BG CH CY CZ DE DK EE ES FI FR GB GR IE IT LI LU MC NL PT SE SK TR |
|
| AX | Request for extension of the european patent |
Extension state: AL LT LV MK RO SI |
|
| RIC1 | Information provided on ipc code assigned before grant |
Ipc: 7H 04M 3/51 B Ipc: 7G 06F 15/16 A |
|
| A4 | Supplementary search report drawn up and despatched |
Effective date: 20040830 |
|
| 17Q | First examination report despatched |
Effective date: 20050629 |
|
| APBK | Appeal reference recorded |
Free format text: ORIGINAL CODE: EPIDOSNREFNE |
|
| APBN | Date of receipt of notice of appeal recorded |
Free format text: ORIGINAL CODE: EPIDOSNNOA2E |
|
| APBR | Date of receipt of statement of grounds of appeal recorded |
Free format text: ORIGINAL CODE: EPIDOSNNOA3E |
|
| APAF | Appeal reference modified |
Free format text: ORIGINAL CODE: EPIDOSCREFNE |
|
| APAK | Date of receipt of statement of grounds of an appeal modified |
Free format text: ORIGINAL CODE: EPIDOSCNOA3E |
|
| APAF | Appeal reference modified |
Free format text: ORIGINAL CODE: EPIDOSCREFNE |
|
| APBT | Appeal procedure closed |
Free format text: ORIGINAL CODE: EPIDOSNNOA9E |
|
| REG | Reference to a national code |
Ref country code: DE Ref legal event code: R079 Ref document number: 60248019 Country of ref document: DE Free format text: PREVIOUS MAIN CLASS: G06F0015160000 Ipc: G06Q0010100000 |
|
| GRAP | Despatch of communication of intention to grant a patent |
Free format text: ORIGINAL CODE: EPIDOSNIGR1 |
|
| RIC1 | Information provided on ipc code assigned before grant |
Ipc: G06Q 10/10 20120101AFI20151030BHEP Ipc: H04M 3/51 20060101ALI20151030BHEP Ipc: G06F 15/16 20060101ALI20151030BHEP |
|
| INTG | Intention to grant announced |
Effective date: 20151118 |
|
| GRAS | Grant fee paid |
Free format text: ORIGINAL CODE: EPIDOSNIGR3 |
|
| GRAA | (expected) grant |
Free format text: ORIGINAL CODE: 0009210 |
|
| AK | Designated contracting states |
Kind code of ref document: B1 Designated state(s): AT BE BG CH CY CZ DE DK EE ES FI FR GB GR IE IT LI LU MC NL PT SE SK TR |
|
| REG | Reference to a national code |
Ref country code: GB Ref legal event code: FG4D |
|
| REG | Reference to a national code |
Ref country code: CH Ref legal event code: EP |
|
| REG | Reference to a national code |
Ref country code: AT Ref legal event code: REF Ref document number: 795533 Country of ref document: AT Kind code of ref document: T Effective date: 20160515 |
|
| REG | Reference to a national code |
Ref country code: IE Ref legal event code: FG4D |
|
| REG | Reference to a national code |
Ref country code: DE Ref legal event code: R096 Ref document number: 60248019 Country of ref document: DE |
|
| REG | Reference to a national code |
Ref country code: FR Ref legal event code: PLFP Year of fee payment: 15 |
|
| REG | Reference to a national code |
Ref country code: NL Ref legal event code: MP Effective date: 20160427 |
|
| REG | Reference to a national code |
Ref country code: AT Ref legal event code: MK05 Ref document number: 795533 Country of ref document: AT Kind code of ref document: T Effective date: 20160427 |
|
| PG25 | Lapsed in a contracting state [announced via postgrant information from national office to epo] |
Ref country code: NL Free format text: LAPSE BECAUSE OF FAILURE TO SUBMIT A TRANSLATION OF THE DESCRIPTION OR TO PAY THE FEE WITHIN THE PRESCRIBED TIME-LIMIT Effective date: 20160427 |
|
| PG25 | Lapsed in a contracting state [announced via postgrant information from national office to epo] |
Ref country code: FI Free format text: LAPSE BECAUSE OF FAILURE TO SUBMIT A TRANSLATION OF THE DESCRIPTION OR TO PAY THE FEE WITHIN THE PRESCRIBED TIME-LIMIT Effective date: 20160427 |
|
| PG25 | Lapsed in a contracting state [announced via postgrant information from national office to epo] |
Ref country code: PT Free format text: LAPSE BECAUSE OF FAILURE TO SUBMIT A TRANSLATION OF THE DESCRIPTION OR TO PAY THE FEE WITHIN THE PRESCRIBED TIME-LIMIT Effective date: 20160829 Ref country code: ES Free format text: LAPSE BECAUSE OF FAILURE TO SUBMIT A TRANSLATION OF THE DESCRIPTION OR TO PAY THE FEE WITHIN THE PRESCRIBED TIME-LIMIT Effective date: 20160427 Ref country code: AT Free format text: LAPSE BECAUSE OF FAILURE TO SUBMIT A TRANSLATION OF THE DESCRIPTION OR TO PAY THE FEE WITHIN THE PRESCRIBED TIME-LIMIT Effective date: 20160427 Ref country code: GR Free format text: LAPSE BECAUSE OF FAILURE TO SUBMIT A TRANSLATION OF THE DESCRIPTION OR TO PAY THE FEE WITHIN THE PRESCRIBED TIME-LIMIT Effective date: 20160728 Ref country code: SE Free format text: LAPSE BECAUSE OF FAILURE TO SUBMIT A TRANSLATION OF THE DESCRIPTION OR TO PAY THE FEE WITHIN THE PRESCRIBED TIME-LIMIT Effective date: 20160427 |
|
| PG25 | Lapsed in a contracting state [announced via postgrant information from national office to epo] |
Ref country code: BE Free format text: LAPSE BECAUSE OF FAILURE TO SUBMIT A TRANSLATION OF THE DESCRIPTION OR TO PAY THE FEE WITHIN THE PRESCRIBED TIME-LIMIT Effective date: 20160427 Ref country code: IT Free format text: LAPSE BECAUSE OF FAILURE TO SUBMIT A TRANSLATION OF THE DESCRIPTION OR TO PAY THE FEE WITHIN THE PRESCRIBED TIME-LIMIT Effective date: 20160427 |
|
| REG | Reference to a national code |
Ref country code: DE Ref legal event code: R097 Ref document number: 60248019 Country of ref document: DE |
|
| PG25 | Lapsed in a contracting state [announced via postgrant information from national office to epo] |
Ref country code: DK Free format text: LAPSE BECAUSE OF FAILURE TO SUBMIT A TRANSLATION OF THE DESCRIPTION OR TO PAY THE FEE WITHIN THE PRESCRIBED TIME-LIMIT Effective date: 20160427 Ref country code: CZ Free format text: LAPSE BECAUSE OF FAILURE TO SUBMIT A TRANSLATION OF THE DESCRIPTION OR TO PAY THE FEE WITHIN THE PRESCRIBED TIME-LIMIT Effective date: 20160427 Ref country code: SK Free format text: LAPSE BECAUSE OF FAILURE TO SUBMIT A TRANSLATION OF THE DESCRIPTION OR TO PAY THE FEE WITHIN THE PRESCRIBED TIME-LIMIT Effective date: 20160427 Ref country code: EE Free format text: LAPSE BECAUSE OF FAILURE TO SUBMIT A TRANSLATION OF THE DESCRIPTION OR TO PAY THE FEE WITHIN THE PRESCRIBED TIME-LIMIT Effective date: 20160427 |
|
| REG | Reference to a national code |
Ref country code: CH Ref legal event code: PL |
|
| PLBE | No opposition filed within time limit |
Free format text: ORIGINAL CODE: 0009261 |
|
| STAA | Information on the status of an ep patent application or granted ep patent |
Free format text: STATUS: NO OPPOSITION FILED WITHIN TIME LIMIT |
|
| PG25 | Lapsed in a contracting state [announced via postgrant information from national office to epo] |
Ref country code: MC Free format text: LAPSE BECAUSE OF FAILURE TO SUBMIT A TRANSLATION OF THE DESCRIPTION OR TO PAY THE FEE WITHIN THE PRESCRIBED TIME-LIMIT Effective date: 20160427 |
|
| 26N | No opposition filed |
Effective date: 20170130 |
|
| PG25 | Lapsed in a contracting state [announced via postgrant information from national office to epo] |
Ref country code: LI Free format text: LAPSE BECAUSE OF NON-PAYMENT OF DUE FEES Effective date: 20160731 Ref country code: CH Free format text: LAPSE BECAUSE OF NON-PAYMENT OF DUE FEES Effective date: 20160731 |
|
| REG | Reference to a national code |
Ref country code: IE Ref legal event code: MM4A |
|
| REG | Reference to a national code |
Ref country code: FR Ref legal event code: PLFP Year of fee payment: 16 |
|
| PG25 | Lapsed in a contracting state [announced via postgrant information from national office to epo] |
Ref country code: IE Free format text: LAPSE BECAUSE OF NON-PAYMENT OF DUE FEES Effective date: 20160726 |
|
| PG25 | Lapsed in a contracting state [announced via postgrant information from national office to epo] |
Ref country code: LU Free format text: LAPSE BECAUSE OF NON-PAYMENT OF DUE FEES Effective date: 20160726 |
|
| PG25 | Lapsed in a contracting state [announced via postgrant information from national office to epo] |
Ref country code: CY Free format text: LAPSE BECAUSE OF FAILURE TO SUBMIT A TRANSLATION OF THE DESCRIPTION OR TO PAY THE FEE WITHIN THE PRESCRIBED TIME-LIMIT Effective date: 20160427 |
|
| PG25 | Lapsed in a contracting state [announced via postgrant information from national office to epo] |
Ref country code: TR Free format text: LAPSE BECAUSE OF FAILURE TO SUBMIT A TRANSLATION OF THE DESCRIPTION OR TO PAY THE FEE WITHIN THE PRESCRIBED TIME-LIMIT Effective date: 20160427 |
|
| REG | Reference to a national code |
Ref country code: FR Ref legal event code: PLFP Year of fee payment: 17 |
|
| PG25 | Lapsed in a contracting state [announced via postgrant information from national office to epo] |
Ref country code: BG Free format text: LAPSE BECAUSE OF FAILURE TO SUBMIT A TRANSLATION OF THE DESCRIPTION OR TO PAY THE FEE WITHIN THE PRESCRIBED TIME-LIMIT Effective date: 20160427 |
|
| PGFP | Annual fee paid to national office [announced via postgrant information from national office to epo] |
Ref country code: FR Payment date: 20210721 Year of fee payment: 20 |
|
| PGFP | Annual fee paid to national office [announced via postgrant information from national office to epo] |
Ref country code: GB Payment date: 20210705 Year of fee payment: 20 Ref country code: DE Payment date: 20210721 Year of fee payment: 20 |
|
| REG | Reference to a national code |
Ref country code: DE Ref legal event code: R071 Ref document number: 60248019 Country of ref document: DE |
|
| REG | Reference to a national code |
Ref country code: GB Ref legal event code: PE20 Expiry date: 20220725 |
|
| PG25 | Lapsed in a contracting state [announced via postgrant information from national office to epo] |
Ref country code: GB Free format text: LAPSE BECAUSE OF EXPIRATION OF PROTECTION Effective date: 20220725 |
|
| P01 | Opt-out of the competence of the unified patent court (upc) registered |
Effective date: 20230510 |