EP1411294A2 - Reflektor mit strukturierter Oberfläche, sowie Leuchte und Sekundärbeleuchtungssystem mit einem solchen Reflektor - Google Patents

Reflektor mit strukturierter Oberfläche, sowie Leuchte und Sekundärbeleuchtungssystem mit einem solchen Reflektor Download PDF

Info

Publication number
EP1411294A2
EP1411294A2 EP03023538A EP03023538A EP1411294A2 EP 1411294 A2 EP1411294 A2 EP 1411294A2 EP 03023538 A EP03023538 A EP 03023538A EP 03023538 A EP03023538 A EP 03023538A EP 1411294 A2 EP1411294 A2 EP 1411294A2
Authority
EP
European Patent Office
Prior art keywords
reflection
reflector
light
area
depressions
Prior art date
Legal status (The legal status is an assumption and is not a legal conclusion. Google has not performed a legal analysis and makes no representation as to the accuracy of the status listed.)
Granted
Application number
EP03023538A
Other languages
English (en)
French (fr)
Other versions
EP1411294A3 (de
EP1411294B1 (de
Inventor
Joachim Leibig
Uwe Slabke
Alf Günther
Current Assignee (The listed assignees may be inaccurate. Google has not performed a legal analysis and makes no representation or warranty as to the accuracy of the list.)
Osram SBT GmbH
Original Assignee
Siteco Beleuchtungstechnik GmbH
Priority date (The priority date is an assumption and is not a legal conclusion. Google has not performed a legal analysis and makes no representation as to the accuracy of the date listed.)
Filing date
Publication date
Application filed by Siteco Beleuchtungstechnik GmbH filed Critical Siteco Beleuchtungstechnik GmbH
Priority to DE20320375U priority Critical patent/DE20320375U1/de
Publication of EP1411294A2 publication Critical patent/EP1411294A2/de
Publication of EP1411294A3 publication Critical patent/EP1411294A3/de
Application granted granted Critical
Publication of EP1411294B1 publication Critical patent/EP1411294B1/de
Anticipated expiration legal-status Critical
Expired - Lifetime legal-status Critical Current

Links

Images

Classifications

    • FMECHANICAL ENGINEERING; LIGHTING; HEATING; WEAPONS; BLASTING
    • F21LIGHTING
    • F21SNON-PORTABLE LIGHTING DEVICES; SYSTEMS THEREOF; VEHICLE LIGHTING DEVICES SPECIALLY ADAPTED FOR VEHICLE EXTERIORS
    • F21S6/00Lighting devices intended to be free-standing
    • F21S6/005Lighting devices intended to be free-standing with a lamp housing maintained at a distance from the floor or ground via a support, e.g. standing lamp for ambient lighting
    • F21S6/007Lighting devices intended to be free-standing with a lamp housing maintained at a distance from the floor or ground via a support, e.g. standing lamp for ambient lighting for indirect lighting only, e.g. torchiere with reflector bowl directed towards ceiling
    • FMECHANICAL ENGINEERING; LIGHTING; HEATING; WEAPONS; BLASTING
    • F21LIGHTING
    • F21SNON-PORTABLE LIGHTING DEVICES; SYSTEMS THEREOF; VEHICLE LIGHTING DEVICES SPECIALLY ADAPTED FOR VEHICLE EXTERIORS
    • F21S8/00Lighting devices intended for fixed installation
    • F21S8/04Lighting devices intended for fixed installation intended only for mounting on a ceiling or the like overhead structures
    • FMECHANICAL ENGINEERING; LIGHTING; HEATING; WEAPONS; BLASTING
    • F21LIGHTING
    • F21VFUNCTIONAL FEATURES OR DETAILS OF LIGHTING DEVICES OR SYSTEMS THEREOF; STRUCTURAL COMBINATIONS OF LIGHTING DEVICES WITH OTHER ARTICLES, NOT OTHERWISE PROVIDED FOR
    • F21V7/00Reflectors for light sources
    • F21V7/0008Reflectors for light sources providing for indirect lighting
    • FMECHANICAL ENGINEERING; LIGHTING; HEATING; WEAPONS; BLASTING
    • F21LIGHTING
    • F21VFUNCTIONAL FEATURES OR DETAILS OF LIGHTING DEVICES OR SYSTEMS THEREOF; STRUCTURAL COMBINATIONS OF LIGHTING DEVICES WITH OTHER ARTICLES, NOT OTHERWISE PROVIDED FOR
    • F21V7/00Reflectors for light sources
    • F21V7/04Optical design
    • F21V7/09Optical design with a combination of different curvatures
    • FMECHANICAL ENGINEERING; LIGHTING; HEATING; WEAPONS; BLASTING
    • F21LIGHTING
    • F21VFUNCTIONAL FEATURES OR DETAILS OF LIGHTING DEVICES OR SYSTEMS THEREOF; STRUCTURAL COMBINATIONS OF LIGHTING DEVICES WITH OTHER ARTICLES, NOT OTHERWISE PROVIDED FOR
    • F21V11/00Screens not covered by groups F21V1/00, F21V3/00, F21V7/00 or F21V9/00
    • F21V11/06Screens not covered by groups F21V1/00, F21V3/00, F21V7/00 or F21V9/00 using crossed laminae or strips, e.g. grid-shaped louvers; using lattices or honeycombs
    • FMECHANICAL ENGINEERING; LIGHTING; HEATING; WEAPONS; BLASTING
    • F21LIGHTING
    • F21VFUNCTIONAL FEATURES OR DETAILS OF LIGHTING DEVICES OR SYSTEMS THEREOF; STRUCTURAL COMBINATIONS OF LIGHTING DEVICES WITH OTHER ARTICLES, NOT OTHERWISE PROVIDED FOR
    • F21V2200/00Use of light guides, e.g. fibre optic devices, in lighting devices or systems
    • F21V2200/40Use of light guides, e.g. fibre optic devices, in lighting devices or systems of hollow light guides
    • FMECHANICAL ENGINEERING; LIGHTING; HEATING; WEAPONS; BLASTING
    • F21LIGHTING
    • F21WINDEXING SCHEME ASSOCIATED WITH SUBCLASSES F21K, F21L, F21S and F21V, RELATING TO USES OR APPLICATIONS OF LIGHTING DEVICES OR SYSTEMS
    • F21W2131/00Use or application of lighting devices or systems not provided for in codes F21W2102/00-F21W2121/00
    • F21W2131/10Outdoor lighting

Definitions

  • the invention relates generally to reflectors, and more particularly to reflectors for secondary illumination systems.
  • general reflectors where the reflection surface in reflective Individual areas, such as Facets, is decomposed.
  • the Reflection surface of a reflector decomposed into a large number of small areas, each specific Have reflection properties.
  • a reflection characteristic achieved with a smooth surface is difficult or impossible to achieve.
  • it also decomposes the mirror image of the light source into many small points of light, which reduces the glare for a viewer.
  • This concerns in particular secondary illumination systems, for example of the type described in EP 0 735 311 A1 or EP 0 479 042 A2 are disclosed.
  • the elements of the reflector for redirecting or Widening of the light rays usually consist of convex or concave mirror elements which have a smooth course over their surface without Have discontinuities. Discontinuities occur at most at the interface between mirror elements on.
  • the known mirror elements are three-dimensional Elements that are formed either in a metal surface or plastic shaped and provided with a reflective coating. Such structures are disadvantageous because of their uneven surface and their depending on the radius of curvature and Intended use partly large volume, especially in Sekundärbeleuchtungssystemen in the outdoor area forms an increased wind attack surface.
  • a reflector in particular a reflector for secondary illumination systems, which has several non-overlapping reflection areas wherein at least a part, preferably each of the reflection areas at least has a refractive or light reflecting surface on which a light directing Reflection area structure is formed by elevations and / or depressions, wherein a Edge of at least two unconnected elevations or depressions of the Reflection area structure follows one line in each case.
  • each of these two lines extends in two dimensions; they form So no straight line, but a curved line, a polygon or the like.
  • the reflector according to the invention does not necessarily reflect over its entire surface but may also be translucent and / or light wholly or partially absorbent Contain areas.
  • the reflector according to the invention does not necessarily have to the only reflector in a lamp, but can interact with other reflectors or a partial reflector of a larger reflector or a part of a larger one form optical component.
  • the reflection areas can be wholly or partly in terms of their shape and / or optical Properties be different. Preferably, they can be in visual perception be perceived as separate areas in a reflection of light.
  • the invention may in particular provide that the one survey or depression the other either completely surrounds or at least partially surrounds. It can be provided in particular be that one elevation or depression is concave with respect to the other. Under concave in this context is not necessarily a concave curvature but generally a line shape that defines a depression that is not necessarily be smooth, but also points of discontinuity, as in a polygon, can have.
  • both Surveys or depressions may be wholly or partially common.
  • the outer of the two elevations or depressions limited (or, in the case of more than two elevations or depressions, the outermost one) Structure.
  • the invention can also provide that the two elevations or depressions offset from all other elevations or depressions of the reflection area structure are, i. between them and the other elevations or depressions is located always a section of lower or higher levels.
  • the reflection area structure is limited to the respective reflection area.
  • the reflector consists of a material with one at least partially directed reflecting surface, which in the various areas of reflection as before is structured described.
  • the surface is completely reflective, so formed mirroring.
  • it can also be designed so that only a part directed by the light and the rest of the light is reflected diffusely, wherein the proportion of the directionally reflected light to the total reflected light according to the preferred embodiments of the invention greater than or equal to 50%, in particular is greater than 70%.
  • the appropriate shaping of a homogeneous material can manufacturing technology be problematic.
  • the invention can therefore provide that the reflector in the said reflection areas essentially of a body of a moldable Material, e.g. Glass, plastic or the like, which on an outer surface of the reflection region structure and having an outer surface the light incident surface for the Reflection range forms, while the light incident surface or the light incident surface opposite Area with one at least partially, preferably completely directed reflective coating, e.g. a mirroring layer, or, more generally, has an interface with a wholly or partially directed reflective material.
  • a moldable Material e.g. Glass, plastic or the like
  • a reflector according to the invention can be a transmission body in the region of or several of the reflection areas, in which light can enter and exit and which one Light incident side and one of the light incident side has opposite side, and a Reflection device, which has entered the body light in the field of the light incident side opposite side reflected back into the body.
  • the transmission body consists essentially of a translucent material. He can, but does not have to be translucent as a whole, but may also, for example, e.g. by a reflective coating, be designed as a reflector or mirror.
  • the invention may provide that the light incident side opposite side of Transmissive body at least in one of said reflection areas an interface to a light wholly or partially directed reflective material has and preferably with a directionally reflective coating, in particular a completely directed reflective coating, is provided.
  • the reflective side of the transmission body does not necessarily have to be coated but can also be directly reflective to a voluminous Body adjacent, so that an interface between the translucent material of the Transmissive body and a reflective body is formed. If the the light incident side is structured opposite side of the transmission body, for example also be provided that the wells of the structure with a reflective Material are filled and the level surface thus formed, if necessary, with another Layer is provided of a reflective material, so that in total on the light incident side opposite side creates a smooth surface.
  • the invention may provide that the light incident side opposite side of Transmissive body is transparent and on this side a reflective body, preferably with a smooth surface, in particular a directionally reflecting reflector, is provided adjacent to the transmission body, which exiting from this side Reflected light back into the transmission body.
  • the reflective body can connect directly to the transmission body or also from this, e.g. be separated by a slight air gap.
  • the invention may provide that said reflection region structure on the light incident side the transmission body in at least one reflection region of the reflector is trained.
  • the invention may provide that the reflection region structure in at least one reflection region is formed on the light incident side opposite side.
  • the invention may provide that the reflection area structure in a translucent Surface is formed and acts refractive.
  • the invention may provide that the light incident side opposite side of Transmissive body in at least one reflection region, the said reflection region structure has and completely reflective, in particular fully directed reflective is.
  • the invention may provide that the light incident side of the transmission body in at least a reflection region, preferably all reflection regions, is smooth.
  • This embodiment of the invention has the particular advantage that the light incident surface the reflector is completely smooth, which makes these insensitive to pollution and mechanical Makes actions and facilitates the cleaning.
  • the for the optics of the reflector important reflection area structure protected by that is located on the inside of the transmission body.
  • the invention can provide in particular that the transmission body on a support plate is arranged. This gives the reflector stability and protects at the same time from the Light incident side of the transmission body side facing away. This is especially true advantageous if the structured side of the transmission body from the light incident side turned away.
  • the light-conducting body is directly adjacent to the support plate.
  • the light-conducting body on the sides of the support plate or enclosing a housing such that each may pass through the reflective area structure Conditional space between the support plate and the transmission body after is completed on the outside.
  • the invention may provide that one or more reflection areas wholly or partly bounded by the edge or edge of a body which is on its surface contains one or more reflective area structures.
  • the invention may provide that one or more reflection areas wholly or partly by a portion of a body having on one surface one or more reflective area structures having limited, which no elevations or depressions and transverse to the lines of the ridges or the soles of elevations or depressions the associated reflection area structure runs and these elevations or depressions Limited in length.
  • the invention may provide that one or more areas of reflection by the edge of a self-contained increase or depression are limited.
  • the invention may also provide that one or more, in particular all reflection ranges each formed on the surface of each of a body, wherein the or the corresponding bodies each have only this one reflection region and wherein the boundaries of the reflection range in this case, preferably with the edge of the surface of this body, which forms the reflection area, coincide.
  • the invention may provide that an edge of at least two elevations or depressions each follows either a closed line or together with the edge of the reflection area forms a closed line, such that the one elevation or depression the other either alone or together with the edge of the reflection area completely surrounds. It may be provided in particular that the enclosed survey or depression is limited in part by the said closed line. For example can limit the enclosed elevation or depression to the edge of the reflection area, which, together with the edge of the elevation or depression, forms the closed line, which surrounds the survey or depression.
  • the invention may provide that an edge of a plurality of elevations or depressions of a or a plurality of reflection area structures follows a line, which is the projection of a Height line of a three-dimensional, preferably convex or concave curved imaginary Body whose base is identical to the surface of the reflection area, on whose base area corresponds.
  • the invention can provide that the reflection areas with respect to the two-dimensional Shape of their edge (not necessarily with regard to the structure formed on them elevations and / or depressions) are uniform or at least several Refelxions Stude the same two-dimensional shape of its edge, especially the same Outline shape and the same size.
  • the reflection areas with respect to the two-dimensional Shape of their edge are uniform or at least several Refelxions Stude the same two-dimensional shape of its edge, especially the same Outline shape and the same size.
  • it can be provided that it too Any two-dimensional shape of a reflection area or at least for several different two-dimensional shapes or the majority thereof, in the reflector more Reflection areas are, which have this shape.
  • the same structure of elevations and / or depressions to be available.
  • any structure of surveys and / or depressions but at least to several such structures or the predominant Part thereof, each having a plurality of reflection areas having this structure, this structure being the same or, according to an alternative embodiment, can be oriented differently.
  • the reflection areas have different structures or structures with the same topology but different Have orientation.
  • the openings that intervene between the Endpoints of the line are defined, in a reflection area in another direction as in a different area of reflection, although the lines themselves are within the range of reflection have the same topology.
  • the ratio of the two Be reflective areas such that the one reflection area by a rotation of the other Reflection range can be generated.
  • the invention may provide that for at least two elevations or depressions, respectively one edge that is not identical to one edge of the other well, on a portion an imaginary closed line runs, with one of the two imaginary closed lines completely encloses the other and where the sub-area on which the edge of each survey or depression runs, in each case by neighboring Intersections is defined with a third imaginary closed line (borderline), which intersects the first and second closed imaginary lines.
  • This third imaginary In a sense, line forms a frame with which that section of the two imaginary ones closed lines, which in the reflection area structure in the form of a survey or Recess is to be implemented, is cut out.
  • the third imaginary closed In particular, line may coincide with the boundary of a reflection range.
  • the invention may provide that several, preferably all elevations and / or depressions a reflection area structure are closed in themselves or at their ends in the Edge of the reflection area open.
  • the invention may also provide that the reflection area structure has a central portion which is bounded on all sides by a survey or depression, and the reflection area structure outside this central area is entirely made up of elevations and recesses, which are separated from each other and each one closed Follow line or a line that opens at their ends in the edge of the reflection area and forms a closed line together with the edge of the reflection area, wherein each of these elevations and depressions alone or together with the edge of the reflection area enclosing the central area and each of these elevations or depressions of all surveys or recesses that are outside the area enclosed by it located on all sides that do not coincide with the edge of the reflection area, is enclosed.
  • the invention may also provide that a reflection area structure has a marginal area which is on those sides where it does not pass through the edge of the reflection area is limited by a separate collection or depression and the reflection area structure outside of this edge area entirely from elevations and recesses, which are separated from each other and each of a line, the opens at their ends in the edge of the reflection region and together with this one closed line forms follow, with each of these elevations or depressions together enclosing said edge region with the edge of the reflective region and each These surveys or depressions of all surveys or wells that are outside of the area enclosed by it, on all sides together with the Enclosed edge of the reflection area.
  • the invention may provide that in a reflection region structure Survey or depression completely outside that of another survey or depression enclosed or enclosed area lies. It can be provided in particular be that the survey or depression that a second survey or depression completely or partially encloses or at least concave against this and with this second survey is not connected, outside of that range, which by this elevation or depression and an imaginary straight line representing the two endpoints the second survey or depression connects, is included.
  • the second survey or depression, which according to the invention is completely or partially enclosed by a first survey or depression or with respect to which the first bump is concave, within that range which is due to this first elevation or depression and an imaginary straight line, which connects the two endpoints of the first survey or depression, included becomes.
  • the invention may provide that the elevations and / or depressions outside the Central region or edge region at least partially concentric and / or parallel to each other are.
  • the invention may provide that the lying outside of the central region or edge region Elevations and / or depressions at least partially have a circular shape.
  • these surveys or depressions also have another closed geometric shape, e.g. that of an ellipse, a square, a rectangle or other polygon or the like, or the shape of a Have a subsection of this.
  • the invention can provide that the central area or edge area to the outside has concave or convex curved surface.
  • this reflection area structure When the said reflection area structure is formed in a light-reflecting surface is and this light-reflecting surface forms the light incident side of the reflector, this is Surface preferably convexly convex towards the outside. If this reflective surface of the Light incident surface opposite surface of a transmission body, it is preferably to the outside concave (ie convex to the light incident side).
  • the invention may provide that the elevations and / or depressions outside the Central region or edge region in a cross-section perpendicular to the direction of the line, which follows the survey or depression, are formed like a jag.
  • the said reflection region structure of the structure a Fresnel lens corresponds.
  • the refractive reflection region structure does not have to be a Fresnel lens act, i. be formed in a transparent interface of a body. she can be formed in a reflective surface so that it forms a reflector, the is structured similar to a Fresnel lens.
  • the thickness of the reflector opposite a conventional facet structure can be reduced and at the same time the reflection properties a facet structure are essentially retained.
  • constructive can be a facet structure of a known type in a reflector structure according to the invention by making the facet substantially more uniform in layers on the one hand Thickness and on the other hand in (not necessarily circular cylindrical) cylinder sections perpendicular to the base of the facet whose base is defined by the intersecting line of the bottom or top Top of a layer is defined with the surface of the facet divided and in each this cylinder sections maintains only the top of the layers and at the base level the facet orders.
  • This principle is illustrated schematically in FIG. Precautionary will be on it indicated that Fig.
  • the reflection properties of the reflection region structure substantially the reflection properties correspond to the original facet.
  • the invention may provide that the height of the elevations of the reflection area structure, in relation to a parallel to a smooth imaginary or real surface, which is an envelope the light incident surface forms in a reflection region, at least predominantly have the same height.
  • feature sizes are within a range of 0.1 mm to 10 mm proved to be advantageous.
  • the dimensions of the reflection areas can, especially in applications for secondary illumination systems, in a range from 40 mm x 40 mm to 4000 mm x 4000 mm, in particular 40 mm x 40 mm to 350 mm x 350 mm, according to certain embodiments from 40mm x 40mm to 150mm x 150mm, in another embodiment about 300 mm x 300 mm, lie.
  • the reflection areas are square and in this case the preceding measures indicate both the area and the edge length
  • the reflection areas may also have other shapes, eg a rectangular shape, a hexagon shape, the shape of a circle segment or the shape of a ring or ring portion
  • the area of these areas is equal to the area implied by the preceding measures, and thus, according to certain embodiments, may be in the range 16 x 10 2 mm 2 to 16 x 10 6 mm 2 .
  • the reflector or partial sections of the reflector can be flat. This is especially true at advantageous for use in secondary illumination systems.
  • the reflector or sections however, in certain embodiments, the reflector may also be curved or otherwise shaped.
  • a reflector according to the invention can be constructed from a plurality of reflection regions which directly adjoin one another and preferably regularly, similar to a faceted reflector, are arranged.
  • the individual reflection areas can be like facets Act. In particular, in reflection, they may be present in at least some, preferably all Viewing directions as individual light sources act, each on the respective Reflection range appears limited.
  • the reflection region structure in a or repeats two directions periodically, with the reflection area structures adjacent Reflection areas can also be directly adjacent to each other.
  • the invention can provide that at least a part of the reflection areas respectively a transmission body are defined which has exactly one reflection area structure has at least two unrelated elevations or depressions, of where the one at least partially surrounds the other and / or is concave to this.
  • the single ones Transmissive bodies can be interconnected. You can e.g. be integrally formed with a connecting them supporting portion of the reflector.
  • the reflector can be structured in a facet-like manner, the reflection areas each correspond to a facet, except that in this case the facets of the reflector not with a curvature, but with the above-described reflection area structure are provided.
  • the invention may provide that the reflection ranges are defined by a Body of translucent or opaque material on a surface several reflection area structures of elevations and depressions are provided, which have at least two separate elevations or depressions, one of which at least partially surrounds and / or is concave with the other, wherein each of the reflective area structures over other reflective area structures is limited by a preferably self-contained elevation or depression, which is separate from other surveys or wells.
  • the reflection areas are at least partially through the outline the respective reflection area structure limited and thus defined. Because the outer Elevation or depression that limits the range of reflection, other surveys or depressions does not cross or merge with them, but at best their edge possibly coinciding with an edge of a neighboring elevation or depression, the corresponding reflection area of the reflector is clearly delimited. When the reflection area structure has several self-contained elevations or depressions, which surround each other, the outermost of these elevations or depressions sets the edge of the Reflection range fixed. Conversely, in this embodiment, if the limiting Survey or depression is closed, no survey or depression of a reflection area an elevation of the reflection area structure of another Enclose reflection area in the sense of a closed line, crossing it or in these lead to.
  • the invention may also provide that a plurality of on the surface of a body Reflection areas are realized with different reflection area structures.
  • the body as a whole can form the reflector or part of a larger, more than one be such body composite reflector.
  • the invention provides in particular reflectors, which are used for lighting tasks be used, in which at least in certain directions light fluxes of more than 1000 lumens are emitted, and in particular also lights or lighting systems for such lighting tasks available, in which one or more Light sources cooperate with a reflector according to the invention.
  • Lighting tasks that be solved with a reflector according to the invention or a lamp according to the invention can, in particular, space illumination, street lighting, facade radiation or a combination of these three applications, furthermore free-form illumination, Roundabout illumination or spot illumination.
  • a particularly advantageous application of the invention in secondary lighting systems in particular if the reflector of the secondary illumination system is planar is, as well as generally lighting arrangements with a reflective component and a light emitting component, which are separated from each other.
  • the invention provides a secondary illumination system with a light source and a reflector spaced from the light source and emitting the light emitted from the light source Light reflected in a room area to be illuminated, available which characterized in that the reflector is formed as described above.
  • the secondary reflector of the secondary illumination system can be mounted on a ceiling a room arranged or suspended from the ceiling, while a thrower lamp formed light source near the ground or sunk in the ground or at least spaced from the ceiling.
  • the secondary reflector can also be attached to a frame or attached to a mast, wherein in a lower region of the mast or frame, offset from the secondary reflector, e.g. by 1 to 15 meters or more, one or more launchers are arranged as light sources.
  • the distance between the light source of the secondary illumination system, which in particular can be a projector light, and the reflector between 0.1 m and 50 m with distances of about 0.1 m to 3 m, especially in the interior lighting area be used while larger distances, such as Distances of 3 m or more, especially in outdoor areas will be used.
  • larger distances than 3 m can occur even at high internal spaces, while in outdoor lights, where the launcher attached to the end of a mast is, the distance from the reflector are quite in the range of 0.1 m to 1 m can.
  • the invention is not limited to the use of such reflectors in secondary lighting systems limited, but can in particular also with direct-radiating Lights are used, especially as a roof or side wall reflector in lights with lateral light coupling, optionally in conjunction with a refractive Structure at or near the light exit surface, or in conventional lights, at where the light source is arranged in a reflector. In the latter case, in particular be provided that one, several or all sides of the reflector in whole or in part are just. Because the light-directing properties of the reflector through the structure of elevations and / or depressions are determined and not by a specific curvature the side wall, it is according to the invention not necessary, curved reflector walls to use as they are otherwise commonly used. This will increase on the one hand the design possibilities. For example, you can shine with a four-pronged, Hexagonal, octagonal or otherwise polygonal light exit surface with inventive produce flat reflectors, which have similar properties as conventional have round lights with a curved reflector.
  • the production is simplified because it is possible with basically the same Structure of the reflector by different plane reflector elements different Achieve light-emitting properties.
  • a plurality of inventively embodied reflectors are included, which together form a luminaire reflector and optionally also interchangeable.
  • a series of lights with the same basic structure, in particular with the same structure of the reflector, to realize that only by a different Distinguish structuring of the reflector surface.
  • An inventive reflector or a luminaire according to the invention can in particular a shielded light distribution, for example for computer workstations (BAP), produce a low-beam or wide-beam light distribution.
  • BAP computer workstations
  • the invention is generally applicable to optical reflective luminaire components.
  • the effect of a lighting grid with reflective Slats are obtained by a body with reflective and translucent sections is provided, the lamellae of a grid or the spaces between correspond to the fins, so for example strip-shaped reflective areas, the correspond to the slats and which also strip-shaped light-transmitting areas alternate, which correspond to the spaces between the slats.
  • This sequence of stripe-shaped translucent and reflective sections supplemented by a frame-shaped, surrounding these sections reflective area which is the side reflectors in a luminaire with a grid or side reflectors corresponds to the grid.
  • the reflective areas can be used as reflectors Elevations and / or depressions formed in the manner described above be that emulate the reflection effect of the slats or the side reflectors.
  • the invention also provides a reflector having one or more areas of reflection each having at least one refractive or light-reflecting surface, on the a light-guiding reflection area structure of elevations and / or depressions is formed, wherein at least one reflection region or a combination of a plurality of reflection regions at least approximately the reflection properties of a Wall, in particular a side wall of a lamella, in particular a three-dimensional Lamella having.
  • the reflector can also have two opposite sides, each are provided with one or more reflection regions according to the invention, which at least approximately the reflection properties of opposing each other Have side walls of a lamella. It can also be provided in particular that the Reflector is designed three-dimensional and next to the two side walls and a Has roof wall, wherein the side walls and optionally the roof wall in accordance with the invention Mann are designed such that they the reflection properties of a corresponding Slat at least approximately.
  • the one or more reflection areas which the Have reflective properties of a wall of a lamella, of a Fresnel construction the lamella, as illustrated in Figure 1 and has been explained above.
  • the reflection area structure or the reflection area structures which emulate the lamella, parallel elevations and / or depressions, contains concentric circular or arc sections or the like.
  • the reflector in one or more reflection regions, which emulate the properties of a wall of a lamella, is made of a translucent material and on a surface with an inventive Structure is provided, being adjacent to this structured surface or her or on the opposite surface a reflective layer or a reflective one Body is present, in particular a specularly reflective layer.
  • the reflective Layer can be spaced from the structured surface and through the translucent Material to be separated.
  • the invention can be a surface of a translucent body structure and mirror this surface or the opposite surface.
  • a plurality of reflectors or combinations of reflectors, each emulating a blade, spaced from each other are.
  • These reflectors or combinations of reflectors can transparent areas are separated from each other, in particular from the same base material how the base material of the reflectors can be made.
  • each having optical properties similar or identical to those of a lamella, a side reflector and / or others Have components of a grid and to assemble a reflector arrangement from these parts, which in terms of their optical properties of a conventional grid corresponds and in particular has parts or sections which, in terms of their optical Properties correspond to lamellae, and / or parts or sections which, in terms of their optical properties side reflectors of a grid or other components of a Rasters correspond.
  • the structures which define the reflection regions according to the invention can be used with respect to their diameter, their shape and also with regard to the curvature of the elevations or depressions vary. There are both symmetrical structures and structures possible, which go back to free-form surfaces (see Fig. 1).
  • the invention is based on the surprising finding that the conventional facet elements, which require a relatively large volume and training in three dimensions, can be replaced by a flatter structure, which is essentially on a two-dimensional Basic structure is based along which formed elevations and depressions become. This results in a lower weight and, when used outdoors, a lower windage area. At the same time, this also opens up the advantageous possibility to design the reflector so that it is less susceptible to contamination and easier to clean.
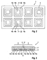
  • the reflector has a base plate 5, which essentially serves as a support plate and intended to give stability to the whole structure. In the illustrated embodiment this support plate 5 has no optical function.
  • a Body 7 made of a translucent material, e.g. by gluing or by a mechanical Attachment attached, which has a smooth surface 9 on the of the support plate. 5 opposite side and a textured surface 11 on the support plate 5 facing Side has.
  • recesses 13a to 13c and 15a to 15c are formed (see Fig. 3), each having a substantially vertical inwardly facing wall and have a curved outwardly facing wall.
  • depressions are in Fig. 2 with indicated by solid lines.
  • the surface 11 is mirrored.
  • the Surface 11 also be mirrored. However, it may be desirable to straighten in area 11 To bring about no reflection to the individual areas 3 optically stronger from each other to separate.
  • the surface 11 or the opposite surface of the support plate 5 provided in this area 17 with a light-absorbing or light-scattering coating.
  • the surface 9 forms the light incident surface of the reflector. Light, which is on this surface is incident, enters the body 7 and is at the interface in the region of the recesses 13a to 13c and 15a to 15c reflected so that it exits at the surface 9 again.
  • the recesses 13a to 13c and 15a to 15c according to the design principle shown in Fig. 1 designed to be shaped like a three-dimensional curved surface, e.g. one Kugelkalotte, act.
  • the drawings neither to scale nor the shape of the recesses 13a to 13c and 15a to 15c Realistic is reproduced. These were shown only schematically for illustration.
  • the reflector 1 acts like a faceted reflector with spherical caps, as in Fig. 1 are shown. Unlike a dome reflector, however, it has a smooth surface 9 and can be made much flatter.
  • the plate 7 has a thickness in a range of 0.1 mm to 5 mm. This leads to correspondingly flat reflector walls.
  • Fig. 4 shows a modification of the reflection area structure in which the outer recesses do not have a closed shape.
  • the wells here designated 21a and 21b, which correspond to the recesses 13a and 13b and 15a and 15b have in this embodiment a horseshoe shape whose open side leads to an unstructured area 23 has. It can be seen from the cross section of Fig. 5 that each of the recesses 21 a and 21b on the unstructured area 23 adjacent side of a vertical wall 25th is limited. In the direction perpendicular to the line V-V corresponds to the cross section of Structure that of the recesses 13a and 13b of Fig. 3.
  • the area 21c may be a Have maximum in its interior, as is the case with the recess 13c, or else have its maximum at the edge adjacent to the unstructured region 23.
  • the body 5 can be located both on the light incident surface 9 as well as at the light incident surface opposite side with a Be provided structure that acts refractive or light-reflecting.
  • the surface 11 is not is mirrored and the support plate 5 completely or in the region of the structures 13a to 13c and 15a is formed to 15c mirrored. It could also be provided that the area of the depressions 13a to 13c and 15a to 15c with a reflective material by volume is filled, so that a smooth interface with the support plate 5 is formed.
  • a secondary illumination system may have a structure which is identical to the structure which is e.g. in EP 0 735 311 A1 or EP 0 479 042 A2 and is shown, to which reference is made for further details, wherein only the secondary reflector in the invention described above Way is formed.
  • a launcher and a distance from the projector light arranged secondary reflector which is formed according to the invention on.
  • the various individual reflectors formed in the manner according to the invention be or even each reflection areas in a reflector according to the invention correspond.
  • individual reflectors or units can be adjusted with several individual reflectors. According to a possible embodiment These individual reflectors or such units may also be interchangeable, so that they in place, depending on the desired Lichtabstrahl characterizing be used can be used to create a specific illumination distribution.
  • Figs. 6 to 8 illustrate embodiments of such secondary illumination systems.
  • a secondary lighting system is designed as a table lamp, wherein the reference numeral 30 a table, the reference numeral 32 a projector light, the reference numeral 34th a reflector according to the invention and the reference numeral 36 denotes the illuminated surface.
  • the distance between the projector light 32 and the reflector 34 be 0.1 m to 0.5 m.
  • Fig. 7 shows a secondary lighting system in which below a ceiling 40, a projector light 42 is mounted, which light on a reflector designed according to the invention 44, which reflects the light to the adjacent wall, the reference numeral 46 denotes the illuminated area.
  • Fig. 8 shows an application example in the outdoor lighting area.
  • the reference numeral 50 denotes while a mast, the reference numeral 52 denotes a projector light and the reference numeral 54 denotes a reflector according to the invention, which detects the light emitted by the projector light 52 is irradiated to him, reflected in different areas.
  • FIG. 8 various lighting tasks are illustrated with the inventive Reflector can be solved.
  • the area marked A denotes the illumination a street, so the lighting of a strip-shaped elongated terrain section.
  • the area labeled B illustrates the illumination of a square and the one labeled C.
  • Area illustrates the lighting of a facade.
  • suitable reflective structures or by the use of different Structures in different areas of reflection several lighting tasks, about two or more of the lighting tasks illustrated in FIG. 8, simultaneously to be solved.
  • FIG. 8 in connection with a space illumination by a suitable design of the reflector can be achieved that the area around the mast is relatively dark and illuminates an annular portion around this dark area is.
  • a given lighting task can be the corresponding reflector structures calculated by known methods, such as ray tracing.
  • Another design option For example, in the center of the reflector 54 would be a Fresnel reflector which emulates a convex spherical reflector, in which case it is However, stronger than a ball reflector is possible, light rays that with a small Tilt angle to the mast 50 incident on the reflector 54, at a relatively large angle to reflect on this mast.
  • FIG. 9 shows a schematic cross section of a luminaire according to the invention, which has a light guide 60, in the light from light sources 62, in particular from the sides Lamps, is coupled.
  • the light guide 60 has a cavity 64, a reflector 66 and optionally side reflectors 68 and can on his the roof reflector 66 opposite side by a translucent cover 70, for example a translucent plate, be completed.
  • the lamps 62 are preferably Einkoppelreflektoren 72 assigned to the lamps facing away from the light conductor 60 on the Surround side and the light incident on them preferably completely in the light guide 60, i. into the cavity 64, to the reflectors 66 or 68, or directly to the cover 70 reflect.
  • the cover 70 may be provided with a refractive light-directing Be provided structure, as described for example in EP 1 065 436 A1 (EP 99 125 646.2) or EP 1 106 916 A2 (EP 00 126 203.9) is described. It can also refractive, light-directing Structures may be provided, as described in EP 0 846 915 A1 for generating a shield No. 5,555,109 and US Pat. No. 5,396,350, respectively for more details regarding the corresponding structures.
  • At least one of the reflectors 66 or 68 is in the according to the invention, as described above, designed.
  • the Roof reflector 66 may be configured so that it substantially the radiation to a specific Angular range, based on a perpendicular to the light exit surface, limited.
  • Fig. 10 shows schematically an embodiment of a lamp in which a lamp 90 via a reflector assembly 92 is arranged.
  • the reflector assembly 92 includes individual reflectors 94, which each have planar side walls, which in the above-described Are structured so that they the reflection properties of the side walls of a Raster lamella, possibly also the roof wall of a grid lamella, emulate. Between the reflectors 94 are, as in a normal grid, translucent areas, which may be free spaces between the reflectors 94, for example. In Fig. 10 are only to recognize the narrow sides of the reflectors 94, but not the erfindunsdorfe structured Side walls.
  • FIG. 10 can be supplemented by a further circulating planar reflector which, in accordance with the invention, for example by a Fresnel construction, is structured so that it the reflection properties of the side reflectors of a grid emulated.
  • This reflector surrounds, as in a normal grid, the reflectors 94, which the lamellae, but with the difference that this frame-like reflector on its reflection surfaces, apart from the elevations and depressions which the Form structure on its surface, is even.
  • the invention is not limited to reflectors for secondary illumination systems, but Rather, it also finds application in all areas where faceted reflectors, in particular with facets in dome shape, to be used. In the concrete lighting technology Application therefore does not necessarily have to separate the light source from the reflector but can also be arranged in this.
  • FIG. 12 illustrates a lamp in which a lamp 100 is disposed within a reflector, which consists of three planar reflector sections 102, 104 and 106 is constructed, which are each formed in the manner according to the invention. It would also be conceivable to design only one or two of these reflector sections according to the invention and leave the remaining reflector (s) unstructured.
  • Fig. 12 is schematically sketched a fluorescent lamp. However, it is also possible a different lamp or to use other reflector geometries.

Landscapes

  • Engineering & Computer Science (AREA)
  • General Engineering & Computer Science (AREA)
  • Optical Elements Other Than Lenses (AREA)

Abstract

Die Erfindung betrifft einen Reflektor (1), insbesondere Reflektor für Sekundärbeleuchtungssysteme, welcher mehrere voneinander verschiedene Reflexionsbereiche (3) aufweist, wobei zumindest ein Teil der Reflexionsbereiche (3) mindestens eine lichtbrechende oder lichtreflektierende Fläche aufweist, auf der eine lichtlenkende Reflexionsbereichsstruktur von Erhebungen und/oder Vertiefungen (13a,13b,15a,15b;21a,21b) ausgebildet ist, wobei ein Rand mindestens zweier nicht miteinander verbundener Erhebungen oder Vertiefungen (13a,13b,15a,15b;21a,21b) der Reflexionsbereichsstruktur, jeweils einer Linie folgt, die sich in zwei Dimensionen erstreckt, derart, daß die eine Erhebung bzw. Vertiefung umschließt oder zumindest konkav gegenüber dieser ist. Die Erfindung betrifft weiterhin ein Sekundärbeleuchtungssystem mit einem solchen Reflektor. <IMAGE>

Description

Die Erfindung betrifft allgemein Reflektoren und insbesondere Reflektoren für Sekundärbeleuchtungssysteme, allgemeiner Reflektoren, bei denen die Reflexionsfläche in reflektierende Einzelbereiche, wie z.B. Facetten, zerlegt ist.
Bei vielen lichttechnischen Anwendungen, insbesondere im Außenleuchtenbereich, wird die Reflexionsfläche eines Reflektors in eine Vielzahl kleiner Bereiche zerlegt, die jeweils bestimmte Reflexionseigenschaften haben. Auf diese Weise kann einerseits eine Reflexionscharakteristik erreicht werden, die mit einer glatten Fläche nicht oder nur schwer zu erreichen ist. Andererseits wird damit auch das Spiegelbild der Lichtquelle in viele kleine Lichtpunkte zerlegt, was die Blendung für einen Betrachter reduziert. Dies betrifft insbesondere Sekundärbeleuchtungssysteme, etwa von der Art, wie sie in der EP 0 735 311 A1 oder der EP 0 479 042 A2 offenbart sind. Insbesondere wenn die Elemente des Reflektors zur Umlenkung oder Aufweitung der Lichtstrahlen vorgesehen sind, bestehen diese üblicherweise aus konvexen oder konkaven Spiegelelementen, welche über ihrer Oberfläche einen glatten Verlauf ohne Unstetigkeiten aufweisen. Unstetigkeiten treten allenfalls an der Grenzfläche zwischen Spiegelelementen auf. Bei den bekannten Spiegelelementen handelt es sich um dreidimensionale Elemente, die entweder in einer Metalloberfläche ausgebildet werden oder aus Kunststoff geformt und mit einer reflektierenden Beschichtung versehen werden. Derartige Strukturen sind nachteilig wegen ihrer unebenen Oberfläche und ihres je nach Krümmungsradius und Einsatzzweck teilweise großen Volumens, das insbesondere bei Sekundärbeleuchtungssystemen im Außenbereich eine erhöhte Windangriffsfläche bildet.
Es ist die Aufgabe der Erfindung, eine Alternative zu den bislang verwendeten volumenförmigen Facetten zur Verwendung bei Reflektoren, insbesondere Sekundärreflektoren, zu finden.
Erfindungsgemäß wird diese Aufgabe gelöst durch einen Reflektor, insbesondere einen Reflektor für Sekundärbeleuchtungssysteme, welcher mehrere nicht überlappende Reflexionsbereiche aufweist, wobei zumindest ein Teil, vorzugsweise jeder der Reflexionsbereiche mindestens eine lichtbrechende oder lichtreflektierende Fläche aufweist, auf der eine lichtlenkende Reflexionsbereichsstruktur von Erhebungen und/oder Vertiefungen ausgebildet ist, wobei ein Rand mindestens zweier nicht miteinander verbundener Erhebungen oder Vertiefungen der Reflexionsbereichsstruktur jeweils einer Linie folgt. Gemäß einer bevorzugten Ausführungsform der Erfindung erstreckt sich jede dieser beiden Linien in zwei Dimensionen; sie bilden also keine gerade Linie, sondern eine gekrümmte Linie, einen Polygonzug oder dergleichen.
Der erfindungsgemäße Reflektor muß nicht zwangsläufig über seiner ganzen Fläche reflektierend sein, sondern kann auch lichtdurchlässige und/oder Licht ganz oder teilweise absorbierende Bereiche enthalten. Der erfindungsgemäße Reflektor muß auch nicht notwendigerweise der einzige Reflektor in einer Leuchte sein, sondern kann mit anderen Reflektoren zusammenwirken oder einen Teilreflektor eines größeren Reflektors oder einen Teil eines größeren optischen Bauteils bilden.
Die Reflexionsbereiche können ganz oder teilweise hinsichtlich ihrer Form und/oder optischen Eigenschaften verschieden sein. Vorzugsweise können sie in der optischen Wahrnehmung bei einer Reflexion von Licht als getrennte Bereiche wahrgenommen werden.
Die Erfindung kann insbesondere vorsehen, daß die eine Erhebung bzw. Vertiefung die andere entweder vollständig umgibt oder zumindest teilweise umgibt. Es kann insbesondere vorgesehen sein, daß die eine Erhebung bzw. Vertiefung konkav gegenüber der anderen ist. Unter konkav ist in diesem Zusammenhang nicht notwendigerweise eine konkave Krümmung zu verstehend, sondern allgemein eine Linienform, welche eine Vertiefung definiert, die nicht notwendigerweise glatt sein muß, sondern auch Unstetigkeitsstellen, wie bei einem Polygonzug, aufweisen kann.
Daß die beiden Erhebungen bzw. Vertiefungen nicht miteinander verbunden sind, bedeutet, daß die innere Erhebung oder Vertiefung auf allen Seiten durch einen Abschnitt mit einem tieferen bzw. höheren Niveau von der äußeren Erhebung bzw. Vertiefung getrennt ist. Dabei kann allerdings eine Randlinie, welche die Erhebungen bzw. Vertiefungen begrenzt, beiden Erhebungen bzw. Vertiefungen ganz oder teilweise gemeinsam sein.
In einer bevorzugten Ausführungsform begrenzt die äußere der beiden Erhebungen bzw. Vertiefungen (bzw., im Fall von mehr als zwei Erhebungen oder Vertiefungen, die äußerste) die Struktur.
Gemäß einer bevorzugten Ausführungsform ist vorgesehen, daß zumindest eine der beiden Erhebungen oder Vertiefungen innerhalb einer Reflexionsbereichsstruktur verzweigungsund/oder kreuzungsfrei ist, d.h. es gibt keine weitere Erhebung bzw. Vertiefung in der Reflexionsbereichsstruktur, welche eine dieser beiden Erhebungen kreuzt und/oder in diese mündet bzw. in welche eine dieser beiden Erhebungen mündet.
Die Erfindung kann insbesondere auch vorsehen, daß die beiden Erhebungen bzw. Vertiefungen von allen anderen Erhebungen bzw. Vertiefungen der Reflexionsbereichsstruktur abgesetzt sind, d.h. zwischen ihnen und den anderen Erhebungen bzw. Vertiefungen befindet sich immer ein Abschnitt tieferen bzw. höheren Niveaus.
Die Reflexionsbereichsstruktur ist auf den jeweiligen Reflexionsbereich begrenzt.
Im einfachsten Fall besteht der Reflektor aus einem Material mit einer zumindest teilweise gerichtet reflektierenden Oberfläche, die in den verschiedenen Reflexionsbereichen wie vorangehend beschrieben strukturiert ist. Vorzugsweise ist die Oberfläche vollständig reflektierend, also spiegelnd ausgebildet. Sie kann jedoch auch so ausgebildet sein, daß nur ein Teil des Lichts gerichtet reflektiert wird und der restliche Teil des Lichts diffus reflektiert wird, wobei der Anteil des gerichtet reflektierten Lichts an dem insgesamt reflektierten Licht gemäß den bevorzugten Ausführungsformen der Erfindung größer oder gleich 50%, insbesondere größer als 70% ist.
Die entsprechende Formung eines homogenen Materials, z.B. eines Reflektorblechs kann herstellungstechnisch problematisch sein. Die Erfindung kann daher vorsehen, daß der Reflektor in den besagten Reflexionsbereichen im wesentlichen aus einem Körper aus einem formbaren Material, z.B. Glas, Kunststoff oder dergleichen besteht, der an einer Außenfläche die Reflexionsbereichsstruktur aufweist, und der mit einer Außenfläche die Lichteinfallsfläche für den Reflexionsbereich bildet, während die Lichteinfallsfläche oder die der Lichteinfallsfläche gegenüberliegende Fläche mit einer zumindest teilweise, vorzugsweise vollständig gerichtet reflektierenden Beschichtung, z.B. einer Verspiegelungsschicht, versehen ist, oder, allgemeiner, eine Grenzfläche zu einem ganz oder teilweise gerichtet reflektierenden Material aufweist.
Ein erfindungsgemäßer Reflektor kann einen Transmissionskörper im Bereich eines oder mehrerer der Reflexionsbereiche, in den Licht ein- und austreten kann und welcher eine Lichteinfallsseite und eine der Lichteinfallsseite gegenüberliegende Seite aufweist, sowie eine Reflexionseinrichtung aufweisen, welche in den Körper eingetretenes Licht im Bereich der der Lichteinfallsseite gegenüberliegenden Seite in den Körper zurückreflektiert.
Der Transmissionskörper besteht im wesentlichen aus einem lichtdurchlässigen Material. Er kann, muß aber nicht insgesamt lichtdurchlässig sein, sondern kann ggf. auch, z.B. durch eine reflektierende Beschichtung, als Reflektor oder Spiegel ausgebildet sein.
Die Erfindung kann vorsehen, daß die der Lichteinfallsseite gegenüberliegende Seite des Transmissionskörpers zumindest in einem der besagten Reflexionsbereiche eine Grenzfläche zu einem Licht ganz oder teilweise gerichtet reflektierenden Material besitzt und vorzugsweise mit einer gerichtet reflektierenden Beschichtung, insbesondere einer vollständig gerichtet reflektierenden Beschichtung, versehen ist.
Die reflektierende Seite des Transmissionskörpers muß dabei nicht notwendigerweise beschichtet sein, sondern kann auch unmittelbar an einen volumenförmigen reflektierenden Körper angrenzen, so daß eine Grenzfläche zwischen dem lichtdurchlässigem Material des Transmissionskörpers und einem reflektierenden Körper gebildet wird. Wenn die der Lichteinfallsseite gegenüberliegende Seite des Transmissionskörpers strukturiert ist, kann beispielsweise auch vorgesehen sein, daß die Vertiefungen der Struktur mit einem reflektierenden Material ausgefüllt werden und die so gebildete nivellierte Fläche ggf. mit einer weiteren Lage aus einem reflektierenden Material versehen wird, so daß insgesamt auf der der Lichteinfallsseite gegenüberliegenden Seite eine glatte Fläche entsteht.
Die Erfindung kann vorsehen, daß die der Lichteinfallsseite gegenüberliegende Seite des Transmissionskörpers lichtdurchlässig ist und auf dieser Seite ein reflektierender Körper, vorzugsweise mit einer glatten Oberfläche, insbesondere ein gerichtet reflektierender Reflektor, an den Transmissionskörper angrenzend vorgesehen ist, welcher das aus dieser Seite austretende Licht in den Transmissionskörper zurückreflektiert.
Der reflektierende Körper kann unmittelbar an den Transmissionskörper anschließen oder auch von diesem, z.B. durch einen geringfügigen Luftspalt, getrennt sein.
Die Erfindung kann vorsehen, daß die besagte Reflexionsbereichsstruktur auf der Lichteinfallsseite des Transmissionskörpers in mindestens einem Reflexionsbereich des Reflektors ausgebildet ist.
Die Erfindung kann vorsehen, daß die Reflexionsbereichsstruktur in mindestens einem Reflexionsbereich auf der der Lichteinfallsseite gegenüberliegenden Seite ausgebildet ist.
Die Erfindung kann vorsehen, daß die Reflexionsbereichsstruktur in einer lichtdurchlässigen Fläche ausgebildet ist und lichtbrechend wirkt.
Die Erfindung kann vorsehen, daß die der Lichteinfallsseite gegenüberliegende Seite des Transmissionskörpers in mindestens einem Reflexionsbereich die besagte Reflexionsbereichsstruktur aufweist und vollständig reflektierend, insbesondere vollständig gerichtet reflektierend ist.
Die Erfindung kann vorsehen, daß die Lichteinfallsseite des Transmissionskörpers in mindestens einem Reflexionsbereich, vorzugsweise allen Reflexionsbereichen, glatt ist.
Diese Ausführungsform der Erfindung hat den besonderen Vorteil, daß die Lichteinfallsfläche des Reflektors vollständig glatt ist, was diese unempfindlich gegen Verschmutzung und mechanische Einwirkungen macht und die Reinigung erleichtert. Bei dieser Anordnung wird die für die Optik des Reflektors wichtige Reflexionsbereichsstruktur dadurch geschützt, daß sie sich auf der Innenseite des Transmissionskörpers befindet.
Die Erfindung kann insbesondere vorsehen, daß der Transmissionskörper auf einer Tragplatte angeordnet ist. Diese verleiht dem Reflektor Stabilität und schützt gleichzeitig die von der Lichteinfallsseite des Transmissionskörpers abgewandte Seite. Dies ist insbesondere dann vorteilhaft, wenn die strukturierte Seite des Transmissionskörpers von der Lichteinfallsseite abgewandt ist. Vorzugsweise liegt der lichtleitende Körper unmittelbar an der Tragplatte an. Gemäß einer Fortbildung kann der lichtleitende Körper an den Seiten von der Tragplatte oder einem Gehäuse derart umschlossen werden, daß jeder ggf. durch die Reflexionsbereichsstruktur bedingte Zwischenraum zwischen der Tragplatte und dem Transmissionskörper nach außen abgeschlossen ist.
Die Erfindung kann vorsehen, daß ein oder mehrere Reflexionsbereiche ganz oder teilweise durch den Rand oder eine Kante eines Körpers begrenzt werden, welcher auf seiner Oberfläche ein oder mehrere Reflexionsbereichsstrukturen enthält.
Die Erfindung kann vorsehen, daß ein oder mehrere Reflexionsbereiche ganz oder teilweise durch einen Bereich eines Körpers, welcher an einer Oberfläche ein oder mehrere Reflexionsbereichsstrukturen aufweist, begrenzt werden, welcher keine Erhöhungen oder Vertiefungen aufweist und quer zu den Linien der Grate bzw. der Sohlen von Erhebungen bzw. Vertiefungen der zugehörigen Reflexionsbereichsstruktur verläuft und diese Erhöhungen bzw. Vertiefungen hinsichtlich ihrer Längsrichtung begrenzt.
Die Erfindung kann vorsehen, daß die Grenze eines oder mehrerer Reflexionsbereiche gebildet wird durch:
  • den Rand oder eine Kante eines Körpers, welcher auf seiner Oberfläche ein oder mehrere Reflexionsbereichsstrukturen aufweist und/oder einen Bereich eines Körpers, welcher an seiner Oberfläche eine oder mehrere Reflexionsbereichsstrukturen aufweist, ohne Erhöhungen oder Vertiefungen und
  • eine oder mehrere linienförmige Erhöhungen oder Vertiefungen, welche an jeder ihrer beiden Endpunkte durch den Rand des Körpers oder den Bereich ohne Erhöhungen und Vertiefungen hinsichtlich ihrer Längsrichtung begrenzt wird.
Die Erfindung kann vorsehen, daß ein oder mehrere Reflexionsbereiche durch den Rand einer in sich geschlossenen Erhöhung oder Vertiefung begrenzt sind.
Die Erfindung kann auch vorsehen, daß ein oder mehrere, insbesondere auch alle Reflexionsbereiche jeweils auf der Oberfläche jeweils eines Körpers ausgebildet sind, wobei der bzw. die entsprechenden Körper jeweils nur diesen einen Reflexionsbereich aufweisen und wobei die Grenzen des Reflexionsbereichs in diesem Fall vorzugsweise mit dem Rand der Oberfläche dieses Körpers, der den Reflexionsbereich bildet, übereinstimmen.
Die Erfindung kann vorsehen, daß ein Rand mindestens zweier Erhebungen oder Vertiefungen jeweils entweder einer geschlossenen Linie folgt oder zusammen mit dem Rand des Reflexionsbereichs eine geschlossene Linie bildet, derart, daß die eine Erhebung bzw. Vertiefung die andere entweder allein oder zusammen mit dem Rand des Reflexionsbereichs vollständig umgibt. Dabei kann insbesondere vorgesehen sein, daß die umschlossene Erhebung bzw. Vertiefung zum Teil durch die besagte geschlossene Linie begrenzt wird. Zum Beispiel kann die umschlossene Erhebung bzw. Vertiefung an den Rand des Reflexionsbereichs grenzen, der, zusammen mit dem Rand der Erhebung oder Vertiefung, die geschlossene Linie bildet, welche die Erhebung bzw. Vertiefung umgibt.
Die Erfindung kann vorsehen, daß ein Rand mehrerer Erhebungen oder Vertiefungen einer oder mehrerer Reflexionsbereichsstrukturen einer Linie folgt, welche der Projektion einer Höhenlinie eines dreidimensionalen, vorzugsweise konvex oder konkav gekrümmten imaginären Körpers, dessen Grundfläche mit der Fläche des Reflexionsbereichs identisch ist, auf dessen Grundfläche entspricht.
Die Erfindung kann vorsehen, daß die Reflexionsbereiche hinsichtlich der zweidimensionalen Form ihres Rands (nicht notwendigerweise hinsichtlich der auf ihnen ausgebildeten Struktur von Erhebungen und/oder Vertiefungen) gleichförmig sind oder daß zumindest mehrere Refelxionsbereiche die gleiche zweidimensionale Form ihres Rands, insbesondere die gleiche Umrißform und die gleiche Größe haben. Beispielsweise kann vorgesehen sein, daß es zu jeder zweidimensionalen Form eines Reflexionsbereichs oder zumindest für mehrere verschiedene zweidimensionale Formen oder die Mehrzahl davon, in dem Reflektor mehrere Reflexionsbereiche gibt, welche diese Form aufweisen. Alternativ oder ergänzend können in verschiedenen Reflexionsbereichen dieselbe Struktur von Erhebungen und/oder Vertiefungen vorhanden sein. Insbesondere kann vorgesehen sein, daß es zu jeder Struktur von Erhebungen und/oder Vertiefungen, zumindest aber zu mehreren solchen Strukturen oder dem überwiegenden Teil davon, jeweils mehrere Reflexionsbereiche gibt, welche diese Struktur aufweisen, wobei diese Struktur jeweils gleich oder, gemäß einer alternativen Ausbildungsform, verschieden orientiert sein kann.
Andererseits kann erfindungsgemäß insbesondere vorgesehen sein, daß die Reflexionsbereiche verschiedene Strukturen aufweisen oder Strukturen mit der gleichen Topologie, aber verschiedener Orientierung aufweisen. Beispielsweise können bei Strukturen mit Erhebungen und/oder Vertiefungen, welche einer offenen Linie folgen, die Öffnungen, die zwischen den Endpunkten der Linie definiert werden, in einem Reflexionsbereich in eine andere Richtung als in einem anderen Reflexionsbereich weisen, obwohl die Linien selbst innerhalb des Reflexionsbereichs die gleiche Topologie haben. Beispielsweise kann das Verhältnis der beiden Reflexionsbereiche so sein, daß der eine Reflexionsbereich durch eine Rotation des anderen Reflexionsbereichs generiert werden kann.
Die Erfindung kann vorsehen, daß für mindestens zwei Erhebungen oder Vertiefungen jeweils ein Rand, der nicht mit einem Rand der anderen Vertiefung identisch ist, auf einem Teilbereich einer imaginären geschlossenen Linie verläuft, wobei die eine der beiden imaginären geschlossenen Linien die andere vollständig umschließt und wobei der Teilbereich, auf dem der Rand der jeweiligen Erhebung bzw. Vertiefung verläuft, jeweils durch benachbarte Schnittpunkte mit einer dritten imaginären geschlossenen Linie (Rahmenlinie) definiert wird, welche die erste und zweite geschlossene imaginäre Linie schneidet. Diese dritte imaginäre Linie bildet gewissermaßen eine Rahmen, mit dem derjenige Abschnitt der beiden imaginären geschlossenen Linien, welcher in der Reflexionsbereichsstruktur in Form einer Erhebung oder Vertiefung umgesetzt werden soll, herausgeschnitten wird. Die dritte imaginäre geschlossene Linie kann insbesondere mit der Grenze eines Reflexionsbereichs zusammenfallen.
Die Erfindung kann vorsehen, daß mehrere, vorzugsweise alle Erhebungen und/oder Vertiefungen einer Reflexionsbereichsstruktur in sich geschlossen sind oder an ihren Enden in den Rand des Reflexionsbereichs münden.
Die Erfindung kann auch vorsehen, daß die Reflexionsbereichsstruktur einen zentralen Abschnitt aufweist, der auf allen Seiten von einer Erhebung oder Vertiefung begrenzt wird, und die Reflexionsbereichsstruktur außerhalb dieses zentralen Bereichs vollständig aus Erhebungen und Vertiefungen besteht, die von einander getrennt sind und jeweils einer geschlossene Linie folgen oder einer Linie, die an ihren Enden in den Rand des Reflexionsbereichs mündet und zusammen mit dem Rand des Reflexionsbereichs eine geschlossene Linie bildet, wobei jede dieser Erhebungen und Vertiefungen allein oder zusammen mit dem Rand des Reflexionsbereichs den Zentralbereich umschließt und jede dieser Erhebungen oder Vertiefungen von allen Erhebungen bzw. Vertiefungen, die sich außerhalb des von ihr umschlossenen Bereichs befinden, auf allen Seiten, die nicht mit dem Rand des Reflexionsbereichs zusammenfallen, umschlossen wird.
Die Erfindung kann auch vorsehen, daß eine Reflexionsbereichsstruktur einen Randbereich aufweist, der auf denjenigen Seiten, auf denen er nicht durch den Rand des Reflexionsbereichs begrenzt ist, von einer von ihm getrennten Erhebung oder Vertiefung begrenzt wird und die Reflexionsbereichsstruktur außerhalb dieses Randbereichs vollständig aus Erhebungen und Vertiefungen besteht, die voneinander getrennt sind und die jeweils einer Linie, die an ihren Enden in den Rand des Reflexionsbereichs mündet und zusammen mit diesem eine geschlossene Linie bildet, folgen, wobei jede dieser Erhebungen oder Vertiefungen zusammen mit dem Rand des Reflexionsbereichs den besagten Randbereich umschließt und jede dieser Erhebungen oder Vertiefungen von allen Erhebungen bzw. Vertiefungen, die sich außerhalb des von ihr umschlossenen Bereichs befinden, auf allen Seiten zusammen mit dem Rand des Reflexionsbereichs umschlossen wird.
Die Erfindung kann insbesondere vorsehen, daß bei einer Reflexionsbereichsstruktur eine Erhebung bzw. Vertiefung vollständig außerhalb des von einer anderen Erhebung bzw. Vertiefung umschlossenen oder eingeschlossenen Bereichs liegt. Dabei kann insbesondere vorgesehen sein, daß diejenige Erhebung bzw. Vertiefung, die eine zweite Erhebung bzw. Vertiefung ganz oder teilweise umschließt oder zumindest konkav gegenüber dieser ist und mit dieser zweiten Erhebung nicht verbunden ist, außerhalb desjenigen Bereichs liegt, welcher durch diese Erhebung bzw. Vertiefung und eine imaginäre gerade Linie, welche die beiden Endpunkte der zweiten Erhebung bzw. Vertiefung verbindet, eingeschlossen wird. Umgekehrt kann auch vorgesehen sein, daß die zweite Erhebung bzw. Vertiefung, welche erfindungsgemäß von einer ersten Erhebung bzw. Vertiefung ganz oder teilweise umschlossen wird bzw. bezüglich derer die erste Erhebung bzw. Vertiefung konkav ist, innerhalb desjenigen Bereichs liegt, welcher durch diese erste Erhebung bzw. Vertiefung und eine imaginäre gerade Linie, welche die beiden Endpunkte der ersten Erhebung bzw. Vertiefung verbindet, eingeschlossen wird.
Die Erfindung kann vorsehen, daß die Erhebungen und/oder Vertiefungen außerhalb des Zentralbereichs oder Randbereichs zumindest teilweise konzentrisch und/oder parallel zueinander sind.
Die Erfindung kann vorsehen, daß die außerhalb des Zentralbereichs oder Randbereichs liegenden Erhebungen und/oder Vertiefungen zumindest teilweise eine Kreisform haben.
Je nach Anwendungsgebiet und Einsatzzweck können diese Erhebungen oder Vertiefungen auch eine andere geschlossene geometrische Form haben, z.B. die einer Ellipse, eines Quadrats, eines Rechtecks oder eines anderen Mehrecks oder dergleichen, bzw. die Form eines Teilabschnitts hiervon haben.
Die Erfindung kann vorsehen, daß der Zentralbereich oder Randbereich eine zur Außenseite konkav oder konvex gewölbte Fläche aufweist.
Wenn die besagte Reflexionsbereichsstruktur in einer lichtreflektierenden Fläche ausgebildet ist und diese lichtreflektierende Fläche die Lichteinfallsseite des Reflektors bildet, ist diese Fläche vorzugsweise nach außen konvex gewölbt. Wenn diese reflektierende Fläche die der Lichteinfallsfläche gegenüberliegende Fläche eines Transmissionskörpers ist, ist sie vorzugsweise zur Außenseite konkav (also zu der Lichteinfallsseite hin konvex).
Die Erfindung kann vorsehen, daß die Erhebungen und/oder Vertiefungen außerhalb des Zentralbereichs oder Randbereichs in einem Querschnitt senkrecht zu der Richtung der Linie, welcher die Erhebung bzw. Vertiefung folgt, zackenartig ausgebildet sind.
Insbesondere kann vorgesehen sein, daß die besagte Reflexionsbereichsstruktur der Struktur einer Fresnellinse entspricht.
Dabei muß die lichtbrechende Reflexionsbereichsstruktur allerdings nicht als Fresnellinse wirken, d.h. in einer lichtdurchlässigen Grenzfläche eines Körpers ausgebildet sein. Sie kann auch in einer reflektierenden Fläche ausgebildet sein, so daß sie einen Reflektor bildet, der ähnlich einer Fresnellinse strukturiert ist.
Mit der erfindungsgemäßen Reflexionsbereichsstruktur können die Dicke des Reflektors gegenüber einer konventionellen Facettenstruktur verringert werden und gleichzeitig die Reflexionseigenschaften einer Facettenstruktur im wesentlichen beibehalten werden. Konstruktiv kann man eine Facettenstruktur bekannter Art in eine erfindungsgemäße Reflektorstruktur dadurch überführen, daß man die Facette einerseits in Schichten im wesentlichen gleichförmiger Dicke und andererseits in (nicht notwendig kreiszylindrische) Zylinderabschnitte senkrecht zu der Grundseite der Facette, deren Grundfläche durch die Schnittlinie der Unter- oder Oberseite einer Schicht mit der Oberfläche der Facette definiert ist, unterteilt und in jedem dieser Zylinderabschnitte nur die oberste der Schichten beibehält und auf dem Basisniveau der Facette anordnet. Dieses Prinzip ist schematisch in Fig. 1 illustriert. Vorsorglich wird darauf hingewiesen, daß Fig. 1 lediglich den allgemeinen Grundgedanken der Konstruktion einer erfindungsgemäßen Reflexionsbereichsstruktur illustriert. Im Regelfall wird es erforderlich sein, die Kontur der einzelnen Abschnitte der Reflexionsbereichsstruktur noch zu optimieren, damit die Reflexionseigenschaften der Reflexionsbereichsstruktur im wesentlichen den Reflexionseigenschaften der ursprünglichen Facette entsprechen.
Die Erfindung kann vorsehen, daß die Höhe der Erhebungen der Reflexionsbereichsstruktur, bezogen auf eine Parallele zu einer glatten imaginären oder realen Fläche, welche eine Einhüllende der Lichteinfallsfläche in einem Reflexionsbereich bildet, zumindest überwiegend die gleiche Höhe haben.
Dies bedeutet, daß die Erhebungen (bzw. Vertiefungen) nur eine bestimme Maximalhöhe bzw. Tiefe haben können und ggf. die Zahl der Erhebungen bzw. Vertiefungen vergrößert werden muß, um eine stärkere Lichtlenkung, wie sie beispielsweise bei einer stärker gekrümmten Kugelkalotte gegeben ist, zu simulieren. Auf diese Weise ist es möglich, flache Reflexionselemente herzustellen, was die Konstruktion, Auslegung und Pflege des Reflektors vereinfacht.
Für den Einsatz für Beleuchtungsaufgaben haben sich Strukturgrößen in einem Bereich von 0,1 mm bis 10 mm als vorteilhaft erwiesen. Insbesondere liegt bei bestimmten bevorzugten Ausführungsformen die Breite der Erhebung und/oder Vertiefung, bezogen auf einen Querschnitt senkrecht zu einer Tangente an die Linie, welcher die Erhebung bzw. Vertiefung folgt, in einen Bereich von 0,1 mm bis 10 mm.
Die Abmessungen der Reflexionsbereiche können, insbesondere bei Anwendungen für Sekundärbeleuchtungssysteme, in einem Bereich von 40 mm x 40 mm bis 4000 mm x 4000 mm, insbesondere 40 mm x 40 mm bis 350 mm x 350 mm, gemäß bestimmten Ausführungsformen von 40 mm x 40 mm bis 150 mm x 150 mm, bei einer anderen Ausführungsform bei ungefähr 300 mm x 300 mm, liegen.
Während gemäß einer Ausführungsform die Reflexionsbereiche quadratisch sind und in diesem Fall die vorangehenden Maßangaben sowohl die Fläche als auch die Kantenlänge angeben, können die Reflexionsbereiche auch andere Formen, z.B. eine Rechteckform, eine Sechseckform, die Form eines Kreissegments oder die Form eines Rings oder Ringabschnitts haben, wobei in diesen Fällen die Fläche dieser Bereiche der durch die vorangehenden Maßangaben implizierten Fläche entspricht und folglich nach bestimmten Ausführungsformen in einem Bereich von 16 · 102 mm2 bis 16 · 106 mm2 liegen kann.
Der Reflektor bzw. Teilabschnitte des Reflektors können eben sein. Dies ist insbesondere bei der Verwendung bei Sekundärbeleuchtungssystemen vorteilhaft. Der Reflektor bzw. Teilabschnitte des Reflektors können jedoch bei bestimmten Ausführungsformen auch gekrümmt oder anderweitig geformt sein.
Ein erfindungsgemäßer Reflektor kann aus mehreren Reflexionsbereichen aufgebaut sein, die unmittelbar aneinander angrenzen und vorzugsweise regelmäßig, ähnlich wie bei einem Facettenreflektor, angeordnet sind. Dabei können die einzelnen Reflexionsbereiche wie Facetten wirken. Insbesondere können sie bei der Reflexion zumindest in einigen, vorzugsweise allen Betrachtungrichtungen wie individuelle Lichtquellen wirken, die jeweils auf den jeweiligen Reflexionsbereich beschränkt erscheinen.
Dabei kann insbesondere vorgesehen sein, daß sich die Reflexionsbereichsstruktur in einer oder zwei Richtungen periodisch wiederholt, wobei die Reflexionsbereichsstrukturen benachbarter Reflexionsbereiche auch unmittelbar aneinander angrenzen können.
Bei einer periodischen Ausbildung der Reflexionsbereiche oder bei einer quasiperiodischen Ausbildung, bei welcher die Struktur sich in den einzelnen Reflexionsbereichen nicht streng wiederholt, sondern nur ein oder mehrere Strukturmerkmale sich wiederholen und/oder die Wiederholung nicht in gleichen Abständen beginnt, kann die Grenze zwischen den Reflexionsbereichen durch die Linie bzw. die Linien definiert werden, bei welchen die Struktur bzw. die besagten Strukturmerkmale beginnen, sich jeweils zu wiederholen.
Die Erfindung kann vorsehen, daß zumindest ein Teil der Reflexionsbereiche jeweils durch einen Transmissionskörper festgelegt sind, der genau eine Reflexionsbereichsstruktur mit mindestens zwei nicht miteinander verbundene Erhebungen bzw. Vertiefungen aufweist, von denen die eine die andere zumindest teilweise umgibt und/oder konkav zu dieser ist. Die einzelnen Transmissionskörper können dabei untereinander verbunden sein. Sie können z.B. einteilig mit einem sie verbindenden Trageabschnitt des Reflektors ausgebildet sein.
Insgesamt kann der Reflektor dabei facettenartig strukturiert sein, wobei die Reflexionsbereiche jeweils einer Facette entsprechen, nur daß in diesem Fall die Facetten des Reflektors nicht mit einer Wölbung, sondern mit der vorangehend beschriebenen Reflexionsbereichsstruktur versehen sind.
Die Erfindung kann vorsehen, daß die Reflexionsbereiche dadurch definiert sind, daß ein Körper aus einem lichtdurchlässigen oder lichtundurchlässigen Material an einer Oberfläche mehrere Reflexionsbereichsstrukturen von Erhebungen und Vertiefungen vorgesehen sind, welche mindestens zwei voneinander getrennte Erhebungen oder Vertiefungen aufweisen, von denen die eine die andere zumindest teilweise umgibt und/oder konkav zu dieser ist, wobei jede der Reflexionsbereichsstrukturen gegenüber anderen Reflexionsbereichsstrukturen durch eine vorzugsweise in sich geschlossene Erhebung oder Vertiefung begrenzt ist, welche von anderen Erhebungen bzw. Vertiefungen getrennt ist.
Bei dieser Ausführungsform der Erfindung sind mehrere oder auch alle Reflexionsbereiche in einem einzigen Körper realisiert, der an einer seiner Oberflächen wie vorangehend beschrieben strukturiert ist. Dabei werden die Reflexionsbereiche zumindest teilweise durch die Außenlinie der jeweiligen Reflexionsbereichsstruktur begrenzt und damit definiert. Da die äußere Erhebung oder Vertiefung, welche den Reflexionsbereich begrenzt, andere Erhebungen bzw. Vertiefungen nicht kreuzt oder mit diesen zusammenmündet, sondern allenfalls ihr Rand möglicherweise mit einem Rand einer benachbarten Erhebung bzw. Vertiefung zusammenfällt, ist der entsprechende Reflexionsbereich des Reflektors klar abgegrenzt. Wenn die Reflexionsbereichsstruktur mehrere in sich geschlossene Erhebungen bzw. Vertiefungen aufweist, die einander umgeben, legt die äußerste dieser Erhebungen bzw. Vertiefungen den Rand des Reflexionsbereichs fest. Umgekehrt kann bei dieser Ausführungsform, wenn die begrenzende Erhebung bzw. Vertiefung in sich geschlossen ist, keine Erhebung oder Vertiefung eines Reflexionsbereichs eine Erhebung bzw. Vertiefung der Reflexionsbereichsstruktur eines anderen Reflexionsbereichs im Sinne einer geschlossenen Linie umschließen, diese kreuzen oder in diese münden.
Die Erfindung kann insbesondere auch vorsehen, daß an der Oberfläche eines Körpers mehrere Reflexionsbereiche mit unterschiedlichen Reflexionsbereichsstrukturen realisiert sind. Dieser Körper kann insgesamt den Reflektor bilden oder Bestandteil eines größeren, aus mehreren solchen Körpern zusammengesetzten Reflektors sein.
Die Erfindung stellt insbesondere Reflektoren zur Verfügung, welche für Beleuchtungsaufgaben eingesetzt werden, bei denen zumindest in bestimmte Richtungen Lichtströme von mehr als 1000 Lumen abgegeben werden, und stellt insbesondere auch Leuchten oder Beleuchtungssysteme für derartige Beleuchtungsaufgaben zur Verfügung, bei denen eine oder mehrere Lichtquellen mit einem erfindungsgemäßen Reflektor zusammenwirken. Erfindungsgemäße Leuchten, bei denen ein Reflektor, wie er vorangehend umschrieben wurde, zum Einsatz kommen kann, können insbesondere Tischleuchten, Anbau- und Einbauleuchten, Pendelleuchten, Stehleuchten, Wandleuchten oder Außenleuchten sein. Beleuchtungsaufgaben, die mit einem erfindungsgemäßen Reflektor bzw. einer erfindungsgemäßen Leuchte gelöst werden können, können insbesondere Platzausleuchtung, Straßenausleuchtung, Fassadenanstrahlung oder eine Kombination dieser drei Anwendungen sein, ferner Freiformausleuchtung, Kreisverkehrsausleuchtung oder eine punktförmige Ausleuchtung (Spot).
Eine besonders vorteilhafte Anwendung findet die Erfindung bei Sekundärbeleuchtungssystemen, insbesondere wenn der Reflektor des Sekundärbeleuchtungssystems eben ausgebildet wird, sowie generell Beleuchtungsanordnungen mit einer reflektierenden Komponente und einer lichtgebenden Komponente, die voneinander getrennt bzw. beabstandet sind.
Die Erfindung stellt insbesondere ein Sekundärbeleuchtungssystem mit einer Lichtquelle und einem von der Lichtquelle beabstandeten Reflektor, welcher das von der Lichtquelle abgestrahlte Licht in einen zu beleuchtenden Raumbereich reflektiert, zur Verfügung, welches dadurch gekennzeichnet ist, daß der Reflektor wie vorangehend umschrieben ausgebildet ist.
Beispielsweise kann der Sekundärreflektor des Sekundärbeleuchtungssystems an einer Decke eines Raums angeordnet oder von der Decke abgehängt sein, während eine als Werferleuchte ausgebildete Lichtquelle bodennah oder im Boden versenkt angeordnet ist oder zumindest von der Decke beabstandet angeordnet ist. Der Sekundärreflektor kann auch an einem Gestell oder an einem Mast befestigt sein, wobei in einem unteren Bereich des Mastes oder Gestells, von dem Sekundärreflektor abgesetzt, z.B. um 1 bis 15 m oder mehr, eine oder mehrere Werferleuchten als Lichtquellen angeordnet sind.
Je nach Anwendungsbereich kann der Abstand zwischen der Lichtquelle des Sekundärbeleuchtungssystems, die insbesondere eine Werferleuchte sein kann, und dem Reflektor zwischen 0,1 m und 50 m liegen, wobei Abstände von etwas 0,1 m bis 3 m vor allem im Innenleuchtenbereich zum Einsatz kommen werden, während größere Abstände, wie zum Beispiel Abstände von 3 m oder mehr vor allem im Außenbereich zur Anwendung kommen werden. Grundsätzlich können jedoch auch bei hohen Innenräumen größere Abstände als 3 m auftreten, während bei Außenleuchten, bei denen die Werferleuchte am Ende eines Masts angebracht ist, der Abstand von dem Reflektor durchaus in dem Bereich von 0,1 m bis 1 m liegen kann.
Die Erfindung ist allerdings nicht auf die Verwendung derartiger Reflektoren bei Sekundärbeleuchtungssystemen beschränkt, sondern kann insbesondere auch bei direktstrahlenden Leuchten eingesetzt werden, insbesondere als Dach- oder Seitenwandreflektor bei Leuchten mit seitlicher Lichteinkopplung, gegebenenfalls in Verbindung mit einer lichtbrechenden Struktur an oder in der Nähe der Lichtaustrittsfläche, oder bei konventionellen Leuchten, bei denen die Lichtquelle in einem Reflektor angeordnet ist. Bei letzteren Leuchten kann insbesondere vorgesehen sein, daß eine, mehrere oder alle Seiten des Reflektors ganz oder teilweise eben sind. Da die lichtlenkenden Eigenschaften des Reflektors durch die Struktur von Erhebungen und/oder Vertiefungen bestimmt werden und nicht durch eine bestimmte Krümmung der Seitenwand, ist es erfindungsgemäß nicht notwendig, gekrümmte Reflektorwände zu verwenden, wie sie ansonsten üblicherweise eingesetzt werden. Damit vergrößern sich einerseits die Gestaltungsmöglichkeiten. Beispielsweise kann man Leuchten mit einer vierekkigen, sechseckigen, achteckigen oder anderweitig mehreckigen Lichtaustrittsfläche mit erfindungsgemäßen ebenen Reflektoren herstellen, welche ähnliche Eigenschaften wie konventionelle runde Leuchten mit einem gekrümmten Reflektor besitzen.
Zum anderen wird auch die Herstellung vereinfacht, da es möglich ist, bei grundsätzlich gleichem Aufbau des Reflektors durch unterschiedliche ebene Reflektorelemente unterschiedliche Lichtabstrahleigenschaften zu erreichen. Insbesondere kann vorgesehen sein, daß in einer Tragkonstruktion mehrere erfindungsgemäß ausgebildete Reflektoren aufgenommen sind, welche zusammen einen Leuchtenreflektor bilden und gegebenenfalls auch austauschbar sind. Ebenso ist es möglich, eine Serie von Leuchten mit gleichem Grundaufbau, insbesondere mit gleichem Aufbau des Reflektors, zu realisieren, die sich lediglich durch eine unterschiedliche Strukturierung der Reflektoroberfläche unterscheiden.
Ein erfindungsgemäßer Reflektor bzw. eine erfindungsgemäße Leuchte kann insbesondere eine abgeschirmte Lichtstärkeverteilung, zum Beispiel für Bildschirmarbeitsplätze (BAP), eine tiefstrahlende oder eine breitstrahlende Lichtstärkeverteilung erzeugen.
Die Erfindung findet allgemein bei optischen reflektierenden Leuchtenbauteilen Anwendung. Beispielsweise kann erfindungsgemäß die Wirkung eines Leuchtenrasters mit reflektierenden Lamellen erzielt werden, indem ein Körper mit reflektierenden und lichtdurchlässigen Abschnitten versehen wird, die den Lamellen eines Rasters bzw. den Zwischenräumen zwischen den Lamellen entsprechen, also beispielsweise streifenförmige reflektierende Bereiche, die den Lamellen entsprechen und welche mit ebenfalls streifenförmigen lichtdurchlässigen Bereichen abwechseln, welche den Zwischenräumen zwischen den Lamellen entsprechen. Dabei kann diese Abfolge von streifenförmigen lichtdurchlässigen und reflektierenden Abschnitten durch einen rahmenförmigen, diese Abschnitte umgebenden reflektierenden Bereich ergänzt werden, welcher den Seitenreflektoren bei einer Leuchte mit einem Raster bzw. Seitenreflektoren des Rasters entspricht. Die reflektierenden Bereiche können dabei als Reflektoren mit Erhöhungen und/oder Vertiefungen in der vorangehend beschriebenen Weise ausgebildet sein, welche die Reflexionswirkung der Lamellen bzw. der Seitenreflektoren emulieren.
Die Erfindung stellt auch einen Reflektor zur Verfügung, der einen oder mehrere Reflexionsbereiche mit jeweils mindestens einer lichtbrechenden oder lichtreflektierenden Fläche aufweist, auf der eine lichtlenkende Reflexionsbereichstruktur von Erhebungen und/oder Vertiefungen ausgebildet ist, wobei zumindest ein Reflexionsbereich oder eine Kombination von mehreren Reflexionsbereichen zumindest näherungsweise die Reflexionseigenschaften einer Wand, insbesondere einer Seitenwand einer Lamelle, insbesondere einer dreidimensionalen Lamelle, aufweist.
Der Reflektor kann dabei auch zwei einander gegenüberliegende Seiten aufweisen, die jeweils mit einem oder mehreren erfindungsgemäßen Reflexionsbereichen versehen sind, welche zumindest näherungsweise die Reflexionseigenschaften von sich einander gegenüberliegenden Seitenwänden einer Lamelle aufweisen. Es kann insbesondere auch vorgesehen sein, daß der Reflektor dreidimensional ausgestaltet ist und neben den beiden Seitenwänden auch eine Dachwand aufweist, wobei die Seitenwände und gegebenenfalls die Dachwand in erfindungsgemäßer Weise derart ausgestaltet sind, daß sie die Reflexionseigenschaften einer entsprechenden Lamelle zumindest näherungsweise aufweisen.
Dabei kann insbesondere vorgesehen sein, daß der oder die Reflexionsbereiche, welche die Reflexionseigenschaften einer Wand einer Lamelle aufweisen, aus einer Fresnel-Konstruktion der Lamelle hervorgehen, wie sie in Figur 1 illustriert ist und vorangehend erläutert wurde.
Insbesondere kann vorgesehen sein, daß die Reflexionsbereichsstruktur bzw. die Reflexionsbereichsstrukturen, welche die Lamelle emulieren, parallele Erhöhungen und/oder Vertiefungen, konzentrische Kreis- oder Bogenabschnitte oder dergleichen enthält.
Es kann insbesondere vorgesehen sein, daß eine, mehrere oder alle Wände des Reflektors, abgesehen von den Erhöhungen und Vertiefungen der Struktur, eben, also insbesondere nicht gekrümmt sind. Auf diese Weise ist es möglich, die normalerweise verwendeten gekrümmten Lamellen durch ebene Reflektoren zu ersetzen, welche eine ähnliche Wirkung haben.
Erfindungsgemäß kann insbesondere vorgesehen sein, daß in einem oder mehreren Reflexionsbereichen, welche die Eigenschaften einer Wand einer Lamelle emulieren, der Reflektor aus einem lichtdurchlässigen Material besteht und an einer Oberfläche mit einer erfindungsgemäßen Struktur versehen ist, wobei an dieser strukturierten Oberfläche oder ihr benachbart oder an der gegenüberliegenden Oberfläche eine reflektierende Schicht oder ein reflektierender Körper vorhanden ist, insbesondere eine spiegelnd reflektierende Schicht. Die reflektierende Schicht kann von der strukturierten Oberfläche beabstandet und durch das lichtdurchlässige Material getrennt sein. Wenn beispielsweise nur eine Wand einer Lamelle emuliert werden soll, kann man erfindungsgemäß eine Oberfläche eines lichtdurchlässigen Körpers strukturieren und diese Oberfläche oder die gegenüberliegende Oberfläche verspiegeln. Will man zwei einander gegenüberliegende Seite einer Lamelle durch einen erfindungsgemäßen Reflektor emulieren, kann man zwei derartige Reflektoren, die auf einer Oberfläche strukturiert und auf der gegenüberliegenden Oberfläche mit einer reflektierenden Beschichtung versehen sind, Rücken an Rücken zusammenfügen. Entsprechend verfährt man, wenn man zusätzlich noch eine gebogene Dachwand einer Lamelle emulieren will oder gegebenenfalls andere, insbesondere gekrümmte Abschnitte einer Lamelle.
Weiterhin kann erfindungsgemäß vorgesehen sein, daß mehrere Reflektoren bzw. Kombinationen von Reflektoren, welche jeweils eine Lamelle emulieren, voneinander beabstandet angeordnet sind. Dabei können diese Reflektoren oder Kombinationen von Reflektoren durch lichtdurchlässige Bereiche voneinander getrennt sein, die insbesondere aus dem gleichen Basismaterial wie das Basismaterial der Reflektoren bestehen können. Es kann jedoch auch vorgesehen sein, daß, wie bei einem normalen Raster, diese Reflektoren bzw. Kombinationen von Reflektoren durch Freiräume getrennt sind. In einer weiteren Fortgestaltung ist es auch möglich, erfindungsgemäße Einzelreflektoren vorzusehen, welche jeweils optische Eigenschaften ähnlich oder identisch zu denen einer Lamelle, einem Seitenreflektor und/oder anderen Bauteilen eines Rasters haben und aus diesen Teilen eine Reflektoranordnung zusammenzusetzen, welche hinsichtlich ihrer optischen Eigenschaften einem konventionellen Raster entspricht und insbesondere Teile oder Abschnitte aufweist, die hinsichtlich ihrer optischen Eigenschaften Lamellen entsprechen, und/oder Teile oder Abschnitte, welche hinsichtlich ihrer optischen Eigenschaften Seitenreflektoren eines Rasters oder anderen Bauteilen eines Rasters entsprechen.
Die Strukturen, welche erfindungsgemäß die Reflexionsbereiche definieren, können hinsichtlich ihres Durchmessers, ihrer Form und auch hinsichtlich der Krümmung der Erhöhungen oder Vertiefungen variieren. Es sind dabei sowohl symmetrische Strukturen als auch Strukturen möglich, die auf Freiformflächen zurückgehen (vgl. Fig. 1).
Die Erfindung beruht auf der überraschenden Erkenntnis, daß die herkömmlichen Facettenelemente, die ein relativ großes Volumen und eine Ausbildung in drei Dimensionen erfordern, durch eine flachere Struktur ersetzt werden können, die im wesentlichen auf einer zweidimensionalen Grundstruktur beruht, entlang derer Erhöhungen und Vertiefungen ausgebildet werden. Damit ergibt sich ein geringeres Gewicht und, bei einem Einsatz im Außenbereich, eine geringere Windangriffsfläche. Gleichzeitig eröffnet dies auch die vorteilhafte Möglichkeit, den Reflektor so auszugestalten, daß er weniger anfällig für Verschmutzung ist und leichter gereinigt werden kann.
Weitere Merkmale und Vorteile ergeben sich aus der nachfolgenden Beschreibung eines Ausführungsbeispiels der Erfindung und den beigefügten Zeichnungen.
Fig. 1
ist eine schematische Darstellung, welche das Prinzip der Konstruktion einer erfindungsgemäßen Struktur illustriert.
Fig. 2
zeigt schematisch eine Reflektorfläche gemäß der Erfindung in einer Draufsicht.
Fig. 3
zeigt schematisch einen Querschnitt entlang der Linie III-III in Fig. 2.
Fig. 4
zeigt schematisch eine Abwandlung der Struktur der Reflexionsbereiche gemäß Fig. 2 auf einem Teilabschnitt des Reflektors.
Fig. 5
zeigt einen Querschnitt entlang der Linie V-V in Fig. 4.
Fig. 6
zeigt eine Realisierung einer erfindungsgemäßen Leuchte als Tischleuchte.
Fig. 7
zeigt schematisch die Realisierung einer erfindungsgemäßen Leuchte als Deckenleuchte,
Fig. 8
zeigt ein Anwendungsbeispiel bei einer Außenleuchte, wobei verschiedene Beleuchtungsaufgaben illustriert sind,
Fig. 9
zeigt schematisch eine Ausführungsform einer erfindungsgemäßen Leuchte mit einem Lichtleiter, die einen erfindungsgemäß ausgestalteten Reflektor aufweist,
Fig. 10
zeigt ein schematisches Anwendungsbeispiel von erfindungsgemäßen Reflektoren zur Verwendung anstelle eines Leuchtenrasters.
Fig. 11
zeigt schematisch eine weitere mögliche Ausführungsform einer erfindungsgemäßen Leuchte.
Fig. 2 zeigt schematisch einen allgemein mit 1 bezeichneten erfindungsgemäßen Reflektor, auf dem zum Zwecke der Erläuterung zwei Reihen von Reflexionsbereichen 3 ausgebildet sind. Der Reflektor besitzt eine Basisplatte 5, welche im wesentlichen als Tragplatte dient und dafür vorgesehen ist, der gesamten Struktur Stabilität zu verleihen. Bei der dargestellten Ausführungsform hat diese Tragplatte 5 keine optische Funktion. Auf der Tragplatte 5 ist ein Körper 7 aus einem lichtdurchlässigen Material, z.B. durch Verkleben oder durch eine mechanische Befestigung angebracht, der eine glatte Oberfläche 9 auf der von der Tragplatte 5 abgewandten Seite und eine strukturierte Oberfläche 11 auf der der Tragplatte 5 zugewandten Seite aufweist. In der Fläche 11 sind Vertiefungen 13a bis 13c bzw. 15a bis 15c ausgebildet (vgl. Fig. 3), welche jeweils eine im wesentlichen senkrechte nach innen weisende Wand und eine gekrümmte nach außen weisende Wand aufweisen. Diese Vertiefungen sind in Fig. 2 mit durchgezogenen Linien angedeutet. Im Bereich der Vertiefungen 13a bis 13c bzw. 15a bis 15c ist die Fläche 11 verspiegelt. In dem Bereich 17 zwischen den beiden Strukturen kann die Fläche 11 ebenfalls verspiegelt sein. Es kann jedoch erwünscht sein, in dem Bereich 11 gerade keine Reflexion herbeizuführen, um die einzelnen Bereiche 3 optisch stärker voneinander zu trennen. In diesem Fall ist die Fläche 11 oder die gegenüberliegende Fläche der Tragplatte 5 in diesem Bereich 17 mit einer lichtabsorbierenden oder lichtstreuenden Beschichtung versehen.
Die Fläche 9 bildet die Lichteinfallsfläche des Reflektors. Licht, welches auf diese Fläche einfällt, tritt in den Körper 7 ein und wird an der Grenzfläche im Bereich der Vertiefungen 13a bis 13c bzw. 15a bis 15c reflektiert, so daß es an der Fläche 9 wieder austritt. Dabei sind die Vertiefungen 13a bis 13c bzw. 15a bis 15c entsprechend dem in Fig. 1 dargestellten Konstruktionsprinzip so ausgebildet, daß sie wie eine dreidimensionale gewölbte Fläche, z.B. einer Kugelkalotte, wirken. Der Klarheit halber wird darauf hingewiesen, daß die Zeichnungen weder maßstabsgerecht sind noch die Form der Vertiefungen 13a bis 13c bzw. 15a bis 15c realitätsgetreu wiedergegeben ist. Diese wurden nur schematisch zur Illustration dargestellt. Insgesamt wirkt also der Reflektor 1 wie ein Facettenreflektor mit Kugelkalotten, wie sie in Fig. 1 dargestellt sind. Anders als ein Kalottenreflektor hat er jedoch eine glatte Oberfläche 9 und kann wesentlich flacher ausgebildet werden. Vorzugsweise hat die Platte 7 eine Dicke in einem Bereich von 0,1 mm bis 5 mm. Dies führt zu entsprechend flachen Reflektorwänden.
Fig. 4 zeigt eine Abwandlung der Reflexionsbereichsstruktur, bei welcher die äußere Vertiefungen keine geschlossene Form haben. Die hier mit 21a und 21b bezeichneten Vertiefungen, welche den Vertiefungen 13a und 13b bzw. 15a und 15b entsprechen, haben bei dieser Ausführungsform eine Hufeisenform, deren offene Seite zu einem unstrukturierten Bereich 23 weist. Man erkennt anhand des Querschnitts der Fig. 5, daß jede der Vertiefungen 21a und 21b auf der an den unstrukturierten Bereich 23 angrenzenden Seite eine senkrechte Wand 25 begrenzt ist. In der Richtung senkrecht zu der Linie V-V entspricht der Querschnitt der Struktur demjenigen der Vertiefungen 13a und 13b der Fig. 3. Der Bereich 21c kann dabei ein Maximum in seinem Inneren haben, wie dies bei der Vertiefung 13c der Fall ist, oder aber sein Maximum an dem an den unstrukturierten Bereich 23 angrenzenden Rand aufweisen.
Zahlreiche Abwandlungen der dargestellten und beschriebenen Ausführungsformen sind möglich. Beispielsweise wäre es denkbar, die an der Fläche 11 vorgesehene Struktur auf der Seite 9 auszubilden, wobei dann anstelle von Vertiefungen, wie den Vertiefungen 13a bis 13c bzw. 15a bis 15c, an der Fläche 9 entsprechende Erhebungen vorgesehen werden müßten. Wenn die Seite 9 verspiegelt ist, muß der Körper 7 nicht lichtdurchlässig sein. Bei ausreichender Stabilität kann in diesem Fall auch die Tragplatte 5 entfallen.
Gemäß einer weiteren Abwandlung der Erfindung kann der Körper 5 sowohl an der Lichteinfallsfläche 9 als auch an der der Lichteinfallsfläche gegenüberliegenden Seite mit einer Struktur versehen sein, die lichtbrechend oder lichtreflektierend wirkt.
In einer abgewandelten Ausführungsform kann auch vorgesehen sein, daß die Fläche 11 nicht verspiegelt ist und die Tragplatte 5 ganz oder im Bereich der Strukturen 13a bis 13c bzw. 15a bis 15c verspiegelt ausgebildet ist. Ebenso könnte vorgesehen sein, daß der Bereich der Vertiefungen 13a bis 13c bzw. 15a bis 15c mit einem reflektierenden Material volumenmäßig ausgefüllt ist, so daß eine glatte Grenzfläche zu der Tragplatte 5 entsteht.
Während in Fig. 2 die Reflexionsbereichsstrukturen, welche durch die Vertiefungen 13a, 13b, 13c gebildet wurden, als durch den Zwischenbereich 17 voneinander getrennt dargestellt wurden, können diese Bereiche auch unmittelbar aneinander angrenzen, etwa derart, daß ein Teil des Rands einer Vertiefung 13a eines Reflexionsbereichs 3 gleichzeitig einen Teil des Rands der Vertiefung 13a des nächsten Reflexionsbereichs bildet.
Ein erfindungsgemäßes Sekundärbeleuchtungssystem kann einen Aufbau haben, der identisch zu demjenigen Aufbau ist, der z.B. in der EP 0 735 311 A1 oder der EP 0 479 042 A2 beschrieben und dargestellt ist, auf welche hinsichtlich weiterer Einzelheiten verwiesen wird, wobei lediglich der Sekundärreflektor in der vorangehend beschriebenen erfindungsgemäßen Weise ausgebildet ist. Insbesondere weist ein solches Sekundärbeleuchtungssystem in der bevorzugten Ausführungsform eine Werferleuchte und einen von der Werferleuchte beabstandet angeordneten Sekundärreflektor, der erfindungsgemäß ausgebildet ist, auf. Insbesondere können bei einer Anordnung, wie sie in der EP 0 479 042 A2 oder der EP 0 735 311 A1 beschrieben ist, die verschiedenen Einzelreflektoren in der erfindungsgemäßen Weise ausgebildet sein oder auch jeweils Reflexionsbereichen bei einem erfindungsgemäßen Reflektor entsprechen. Dabei ist es nicht unbedingt erforderlich, daß die Einzelreflektoren oder Einheiten mit mehreren Einzelreflektoren verstellbar sind. Gemäß einer möglichen Ausführungsform können diese Einzelreflektoren bzw. solche Einheiten auch austauschbar sein, so daß sie an Ort und Stelle, je nach der gewünschten Lichtabstrahlcharakteristik, eingesetzt werden können, um eine bestimmte Beleuchtungsstärkeverteilung zu erzeugen.
Grundsätzlich kann bei Sekundärbeleuchtungssystemen durch das Ersetzen des erfindungsgemäßen Reflektors oder Teilen des erfindungsgemäßen Reflektors durch einen erfindungegemäßen Reflektor oder erfindungsgemäße Reflektorteile mit anderen Reflexionseigenschaften die Lichtabstrahleigenschaften des Sekundärbeleuchtungssystems geändert werden.
Fig. 6 bis 8 illustrieren Ausführungsbeispiele solcher Sekundärbeleuchtungssysteme.
In Fig. 6 ist ein Sekundärbeleuchtungssystem als Tischleuchte ausgestaltet, wobei das Bezugszeichen 30 einen Tisch, das Bezugszeichen 32 eine Werferleuchte, das Bezugszeichen 34 einen erfindungsgemäßen Reflektor und das Bezugszeichen 36 die ausgeleuchtete Fläche bezeichnet. Bei Anwendungen dieser Art kann der Abstand zwischen der Werferleuchte 32 und dem Reflektor 34 0,1 m bis 0,5 m betragen.
Fig. 7 zeigt ein Sekundärbeleuchtungssystem, bei dem unterhalb einer Decke 40 eine Werferleuchte 42 angebracht ist, welche Licht auf einen erfindungsgemäß ausgebildeten Reflektor 44 einstrahlt, der das Licht zu der benachbarten Wand reflektiert, wobei das Bezugszeichen 46 die ausgeleuchtete Fläche bezeichnet.
Fig. 8 zeigt ein Anwendungsbeispiel im Außenleuchtenbereich. Das Bezugszeichen 50 bezeichnet dabei einen Mast, das Bezugszeichen 52 bezeichnet eine Werferleuchte und das Bezugszeichen 54 bezeichnet einen erfindungsgemäßen Reflektor, welcher das Licht, das von der Werferleuchte 52 auf ihn eingestrahlt wird, in verschiedene Bereiche reflektiert.
In Fig. 8 sind verschiedene Beleuchtungsaufgaben illustriert, die mit dem erfindungsgemäßen Reflektor gelöst werden können. Der mit A bezeichnete Bereich bezeichnet die Ausleuchtung einer Straße, also die Beleuchtung eines streifenförmigen langgestreckten Geländeabschnitts. Der mit B bezeichnete Bereich illustriert die Ausleuchtung eines Platzes und der mit C bezeichnete Bereich illustriert die Beleuchtung einer Fassade. Grundsätzlich ist es möglich, durch geeignete reflektierende Strukturen bzw. durch die Verwendung unterschiedlicher Strukturen in verschiedenen Reflexionsbereichen mehrere Beleuchtungsaufgaben, etwa zwei oder mehrere der in Fig. 8 illustrierten Beleuchtungsaufgaben, gleichzeitig zu lösen. Ebenso ist es möglich, einzelne Geländebereiche unterschiedlich auszuleuchten. Beispielsweise kann mit der Anordnung gemäß Fig. 8 im Zusammenhang mit einer Platzausleuchtung durch eine geeignete Ausgestaltung des Reflektors erreicht werden, daß der Bereich um den Mast herum relativ dunkel ist und ein ringförmiger Abschnitt um diesen dunklen Bereich herum beleuchtet ist. Bei einer gestellten Beleuchtungsaufgabe lassen sich die entsprechenden Reflektorstrukturen durch bekannte Verfahren, beispielsweise Raytracing, berechnen. Eine andere Konstruktionsmöglichkeit wäre zum Beispiel, in der Mitte des Reflektors 54 einen Fresnel-Reflektor zu implementieren, welcher einen konvexen Kugelreflektor emuliert, wobei es in diesem Fall jedoch stärker als bei einem Kugelreflektor möglich ist, Lichtstrahlen, die mit einem geringen Neigungswinkel zu dem Mast 50 auf den Reflektor 54 einfallen, in einem relativ großen Winkel zu diesem Mast zu reflektieren.
In Fig. 9 ist in einem schematischen Querschnitt eine erfindungsgemäße Leuchte dargestellt, welche einen Lichtleiter 60 aufweist, in den von den Seiten Licht von Lichtquellen 62, insbesondere Lampen, eingekoppelt wird. Der Lichtleiter 60 weist einen Hohlraum 64, einen Reflektor 66 und gegebenenfalls Seitenreflektoren 68 auf und kann auf seiner dem Dachreflektor 66 gegenüberliegenden Seite durch eine lichtdurchlässige Abdeckung 70, beispielsweise eine lichtdurchlässige Platte, abgeschlossen sein. Den Lampen 62 sind vorzugsweise Einkoppelreflektoren 72 zugeordnet, welche die Lampen auf der von dem Lichtleiter 60 abgewandten Seite umgeben und das auf sie einfallende Licht vorzugsweise vollständig in den Lichtleiter 60, d.h. in den Hohlraum 64, zu den Reflektoren 66 oder 68 oder auch direkt zu der Abdekkung 70 reflektieren. Die Abdeckung 70 kann mit einer lichtbrechenden lichtlenkenden Struktur versehen sein, wie dies beispielsweise in EP 1 065 436 A1 (EP 99 125 646.2) oder EP 1 106 916 A2 (EP 00 126 203.9) beschrieben ist. Es können auch lichtbrechende, lichtlenkende Strukturen vorgesehen sein, wie sie in der EP 0 846 915 A1 zur Erzeugung einer Abschirmung vorgeschlagen werden, die ihrerseits auf US-PS 5 555 109 bzw. US-PS 5 396 350 für weitere Einzelheiten hinsichtlich der entsprechenden Strukturen verweist.
Bei der in Fig. 9 dargestellten Leuchte ist zumindest einer der Reflektoren 66 oder 68 in der erfindungsgemäßen Weise, wie vorangehend beschrieben, ausgestaltet. Insbesondere kann der Dachreflektor 66 so ausgestaltet sein, daß er die Abstrahlung im wesentlichen auf einen bestimmten Winkelbereich, bezogen auf eine Senkrechte zu der Lichtaustrittsfläche, beschränkt.
Fig. 10 zeigt schematisch ein Ausführungsbeispiel einer Leuchte, bei der eine Lampe 90 über einer Reflektoranordnung 92 angeordnet ist. Die Reflektoranordnung 92 umfaßt Einzelreflektoren 94, welche jeweils ebene Seitenwände aufweisen, die in der vorangehend beschriebenen Weise so strukturiert sind, daß sie die Reflexionseigenschaften der Seitenwände einer Rasterlamelle, gegebenenfalls auch der Dachwand einer Rasterlamelle, emulieren. Zwischen den Reflektoren 94 befinden sich, wie bei einem normalen Raster, lichtdurchlässige Bereiche, die beispielsweise Freiräume zwischen den Reflektoren 94 sein können. In Fig. 10 sind nur die Schmalseiten der Reflektoren 94 zu erkennen, nicht aber die erfindunsgemäße strukturierten Seitenwände.
Die Anordnung der Fig. 10 kann durch einen weiteren umlaufenden ebenen Reflektor ergänzt werden, welcher in erfindungsgemäßer Weise, beispielsweise durch eine Fresnel-Konstruktion, so strukturiert ist, daß er die Reflexionseigenschaften der Seitenreflektoren eines Rasters emuliert. Dieser Reflektor umgibt, wie bei einem normalen Raster, die Reflektoren 94, welche den Lamellen entsprechen, jedoch mit dem Unterschied, daß dieser rahmenartige Reflektor an seinen Reflexionsflächen, abgesehen von den Erhöhungen und Vertiefungen, welche die Struktur an seiner Oberfläche bilden, eben ist.
Grundsätzlich ist es möglich, die erfindungsgemäße Technologie und herkömmliche Technologien zu kombinieren. Beispielsweise wäre es möglich, ein Raster zu konstruieren, welches einen Rahmen mit konventionellen gekrümmten Reflektorabschnitten aufweist, in dem die erfindungsgemäßen Reflektoren 94, welche die Lamellen ersetzten, gehalten sind, oder umgekehrt konventionelle Lamellen mit einem erfindungsgemäßen ringsum laufenden Reflektor mit ebenen Wänden zu kombinieren, der die Funktion eines Seitenreflektors erfüllt.
Die Erfindung ist nicht auf Reflektoren für Sekundärbeleuchtungssysteme begrenzt, sondern findet vielmehr auch Anwendung in allen Bereichen, in denen facettierte Reflektoren, insbesondere mit Facetten in Kalottenform, verwendet werden. Bei der konkreten lichttechnischen Anwendung muß daher die Lichtquelle nicht notwendigerweise von dem Reflektor beabstandet sein, sondern kann auch in diesem angeordnet sein.
Dies ist schematisch in Fig. 12 illustriert. Fig. 12 stellt eine Leuchte dar, bei der eine Lampe 100 innerhalb eines Reflektors angeordnet ist, der aus drei ebenen Reflektorabschnitten 102, 104 und 106 aufgebaut ist, die jeweils in der erfindungsgemäßen Weise ausgebildet sind. Denkbar wäre auch, nur einen oder zwei dieser Reflektorabschnitte erfindungsgemäß auszugestalten und den oder die verbleibenden Reflektoren unstrukturiert zu lassen. In Fig. 12 ist schematisch eine Leuchtstofflampe skizziert. Es ist jedoch auch möglich eine andere Lampe oder auch andere Reflektorgeometrien zu verwenden.
Die in der Beschreibung, den Ansprüchen und den Zeichnungen offenbarten Merkmale der Erfindung können sowohl einzeln als auch in beliebiger Kombination für die Verwirklichung der Erfindung in ihren verschiedenen Ausführungsformen wesentlich sein.

Claims (29)

  1. Reflektor, insbesondere Reflektor für Sekundärbeleuchtungssysteme, welcher mehrere einander nicht überlappende Reflexionsbereiche (3) aufweist,
    wobei zumindest ein Teil der Reflexionsbereiche (3) mindestens eine lichtbrechende oder lichtreflektierende Fläche (11) aufweist, auf der eine lichtlenkende Reflexionsbereichsstruktur von Erhebungen und/oder Vertiefungen (13a, 13b, 15a, 15b; 21a, 21b) ausgebildet ist, wobei ein Rand mindestens zweier nicht miteinander verbundener Erhebungen oder Vertiefungen (13a, 13b, 15a, 15b; 21a, 21b) der Reflexionsbereichsstruktur jeweils einer Linie folgt, die sich in zwei Dimensionen erstreckt, derart, daß die eine Erhebung bzw. Vertiefung die andere ganz oder teilweise umschließt oder zumindest konkav gegenüber dieser ist.
  2. Reflektor nach Anspruch 1, gekennzeichnet durch einen Transmissionskörper (7) aus einem lichtdurchlässigen Material im Bereich eines oder mehrerer der Reflexionsbereiche (3), welcher eine Lichteinfallsseite (9) und eine der Lichteinfallsseite gegenüberliegende Seite (11) aufweist, sowie durch eine Reflexionseinrichtung, welche in den Körper eingetretenes Licht im Bereich der der Lichteinfallsseite gegenüberliegenden Seite in den Körper zurückreflektiert.
  3. Reflektor nach Anspruch 2, dadurch gekennzeichnet, daß die der Lichteinfallsseite gegenüberliegende Seite (11) des Transmissionskörpers (7) zumindest in einem der besagten Reflexionsbereiche (3) eine Grenzfläche zu einem Licht zumindest teilweise gerichtet reflektierenden Material besitzt.
  4. Reflektor nach Anspruch 2, dadurch gekennzeichnet, daß die der Lichteinfallsseite gegenüberliegende Seite (11) des Transmissionskörpers lichtdurchlässig ist und auf dieser Seite ein reflektierender Körper vorgesehen ist, welcher das aus dieser Seite austretende Licht in den Transmissionskörper (7) zurückreflektiert.
  5. Reflektor nach einem der Ansprüche 2 bis 4, dadurch gekennzeichnet, daß die besagte Reflexionsbereichsstruktur auf der Lichteinfallsseite (9) des Transmissionskörpers (7) in mindestens einem Reflexionsbereich (3) des Reflektors ausgebildet ist.
  6. Reflektor nach einem der Ansprüche 2 bis 4, dadurch gekennzeichnet, daß die Reflexionsbereichsstruktur in mindestens einem Reflexionsbereich (3) auf der der Lichteinfallsseite gegenüberliegenden Seite (11) ausgebildet ist.
  7. Reflektor nach einem der Ansprüche 5 oder 6, dadurch gekennzeichnet, daß die Reflexionsbereichsstruktur in einer lichtdurchlässigen Fläche ausgebildet ist und lichtbrechend wirkt.
  8. Reflektor nach Anspruch 6, dadurch gekennzeichnet, daß die der Lichteinfallsseite gegenüberliegende Seite (11) des Transmissionskörpers (7) in mindestens einem Reflexionsbereich, der die besagte Reflexionsbereichsstruktur aufweist, vollständig reflektierend ist.
  9. Reflektor nach einem der Ansprüche 6 bis 8, dadurch gekennzeichnet, daß die Lichteinfallsseite (9) des Transmissionskörpers (7) in mindestens einem Reflexionsbereich (3) glatt ist.
  10. Reflektor nach einem der Ansprüche 1 bis 9, dadurch gekennzeichnet, daß ein oder mehrere Reflexionsbereiche ganz oder teilweise durch den Rand oder eine Kante eines Körpers begrenzt werden, welcher auf einer Oberfläche ein oder mehrere Reflexionsbereichsstrukturen aufweist.
  11. Reflektor nach einem der Ansprüche 1 bis 10, dadurch gekennzeichnet, daß ein oder mehrere Reflexionsbereiche ganz oder teilweise durch einen Bereich eines Körpers, welcher an einer Oberfläche ein oder mehrere Reflexionsbereichsstrukturen aufweist, begrenzt werden, welcher keine Erhöhungen oder Vertiefungen besitzt, quer zu den Linien der Grate bzw. der Sohlen von Erhebungen bzw. Vertiefungen der zugehörigen Reflexionsbereichsstruktur verläuft und diese Erhöhungen bzw. Vertiefungen hinsichtlich ihrer Längsrichtung begrenzt.
  12. Reflektor nach einem der Ansprüche 10 oder 11, dadurch gekennzeichnet, daß die Grenze eines oder mehrerer Reflexionsbereiche gebildet wird durch:
    den Rand oder eine Kante eines Körpers, welcher auf seiner Oberfläche ein oder mehrere Reflexionsbereichsstrukturen aufweist und/oder einen Bereich eines Körpers, welcher an einer Oberfläche eine oder mehrere Reflexionsbereichsstrukturen aufweist, ohne Erhöhungen oder Vertiefungen und
    eine oder mehrere linienförmige Erhöhungen oder Vertiefungen, welche an jeder ihrer beiden Endpunkte durch den Rand des Körpers oder den Bereich ohne Erhöhungen und Vertiefungen hinsichtlich ihrer Längsrichtung begrenzt werden.
  13. Reflektor nach einem der Ansprüche 1 bis 9, dadurch gekennzeichnet, daß ein oder mehrere Reflexionsbereiche durch den Rand einer in sich geschlossenen Erhöhung oder Vertiefung begrenzt sind.
  14. Reflektor nach einem der Ansprüche 1 bis 13, dadurch gekennzeichnet, daß ein Rand mindestens zweier Erhebungen oder Vertiefungen (13a, 13b, 15a, 15b; 21a, 21b) jeweils entweder einer geschlossenen Linie folgt oder zusammen mit dem Rand des Reflexionsbereichs eine geschlossene Linie bildet, derart, daß die eine Erhebung bzw. Vertiefung die andere entweder allein oder zusammen mit dem Rand des Reflexionsbereichs vollständig umgibt.
  15. Reflektor nach einem der Ansprüche 1 bis 14, dadurch gekennzeichnet, daß ein Rand mehrerer Erhebungen oder Vertiefungen (13a, 13b, 15a, 15b; 21a, 21b) einer oder mehrerer Reflexionsbereichsstrukturen einer Linie folgt, welche der Projektion einer Höhenlinie eines dreidimensionalen imaginären Körpers, dessen Grundfläche mit der Fläche des Reflexionsbereichs identisch ist, auf dessen Grundfläche entspricht.
  16. Reflektor nach einem der Ansprüche 1 bis 14, dadurch gekennzeichnet, daß für mindestens zwei Erhebungen oder Vertiefungen (13a, 13b, 15a, 15b; 21a, 21b) jeweils ein Rand, der nicht mit einem Rand der anderen Vertiefung identisch ist, auf einem Teilbereich einer imaginären geschlossenen Linie verläuft, wobei die eine der beiden imaginären geschlossenen Linien die andere vollständig umschließt und wobei der Teilbereich, auf dem der Rand der jeweiligen Erhebung bzw. Vertiefung verläuft, jeweils durch benachbarte Schnittpunkte mit einer dritten imaginären geschlossenen Linie definiert wird, welche die erste und zweite geschlossene imaginäre Linie schneidet.
  17. Reflektor nach einem der Ansprüche 1 bis 16, dadurch gekennzeichnet, daß die Reflexionsbereichsstruktur einen zentralen Abschnitt (13c, 15c) aufweist, der auf allen Seiten von einer Erhebung oder Vertiefung (13b, 15b) begrenzt wird, und die Reflexionsbereichsstruktur außerhalb dieses zentralen Bereichs vollständig aus Erhebungen und Vertiefungen (13a, 13b, 15a, 15b) besteht, die von einander getrennt sind und jeweils einer geschlossenen Linie folgen oder einer Linie, die an ihren Enden in den Rand des Reflexionsbereichs mündet und zusammen mit dem Rand des Reflexionsbereichs eine geschlossene Linie bildet, wobei jede dieser Erhebungen und Vertiefungen allein oder zusammen mit dem Rand des Reflexionsbereichs den Zentralbereich umschließt und jede dieser Erhebungen oder Vertiefungen von allen Erhebungen bzw. Vertiefungen, die sich außerhalb des von ihr umschlossenen Bereichs befinden, allein oder zusammen mit dem Rand des Reflexionsbereichs auf allen Seiten umschlossen wird.
  18. Reflektor nach Anspruch 17, dadurch gekennzeichnet, daß die Erhebungen und/oder Vertiefungen (13a, 13b, 15a, 15b) außerhalb des Zentralbereichs (13c, 15c) zumindest teilweise konzentrisch und/oder parallel zueinander sind.
  19. Reflektor nach einem der Ansprüche 17 oder 18, dadurch gekennzeichnet, daß die außerhalb des Zentralbereichs liegenden Erhebungen und/oder Vertiefungen zumindest teilweise eine Kreisform haben.
  20. Reflektor nach einem der Ansprüche 17 bis 19, dadurch gekennzeichnet, daß der Zentralbereich (13c, 15c) eine zur Außenseite konkav oder konvex gewölbte Fläche aufweist.
  21. Reflektor nach einem der Ansprüche 17 bis 20, dadurch gekennzeichnet, daß Erhebungen und/oder Vertiefungen (13a, 13b, 15a, 15b) außerhalb des Zentralbereichs in einem Querschnitt senkrecht zu der Richtung der Linie, welcher die Erhebung bzw. Vertiefung folgt, zackenartig ausgebildet sind.
  22. Reflektor nach einem der Ansprüche 1 bis 21, dadurch gekennzeichnet, daß die besagte Reflexionsbereichsstruktur der Struktur einer Fresnellinse entspricht.
  23. Reflektor nach einem der Ansprüche 1 bis 22, dadurch gekennzeichnet, daß die Höhe der Erhebungen der Reflexionsbereichsstruktur, bezogen auf eine Parallele zu einer glatten imaginären oder realen Fläche, welche eine Einhüllende der Lichteinfallsfläche in einem Reflexionsbereich bildet, zumindest überwiegend die gleiche Höhe haben.
  24. Reflektor nach einem der Ansprüche 1 bis 23, dadurch gekennzeichnet, daß der Reflektor (1) aus mehreren Reflexionsbereichen (3) aufgebaut ist, die aneinander angrenzen.
  25. Reflektor nach einem der Ansprüche 2 bis 24, dadurch gekennzeichnet, daß zumindest ein Teil der Reflexionsbereiche (3) jeweils durch einen Transmissionskörper festgelegt sind, der genau eine Reflexionsbereichsstruktur mit mindestens zwei nicht miteinander verbundene Erhebungen bzw. Vertiefungen aufweist, von denen die eine die andere zumindest teilweise umgibt.
  26. Reflektor nach einem der Ansprüche 1 bis 25, dadurch gekennzeichnet, daß die Reflexionsbereiche (3) dadurch definiert sind, daß in einem lichtleitenden oder Licht nicht leitenden Körper an einer Oberfläche mehrere Reflexionsbereichsstrukturen von Erhebungen und Vertiefungen vorgesehen sind, welche mindestens zwei voneinander getrennte Erhebungen oder Vertiefungen (13a, 13b, 15a, 15b) aufweisen, von denen die eine die andere zumindest teilweise umgibt.
  27. Sekundärbeleuchtungssystem mit einer Lichtquelle und einem von der Lichtquelle beabstandeten Reflektor, welcher das von der Lichtquelle abgestrahlte Licht in einen zu beleuchtenden Raumbereich reflektiert, dadurch gekennzeichnet, daß der Reflektor entsprechend einem der Ansprüche 1 bis 26 ausgebildet ist.
  28. Leuchte mit einem Lichtleiter, der eine reflektierenden Seitenwand und/oder eine reflektierende Dachwand und eine Lichtaustrittsfläche aufweist, wobei die Leuchte weiterhin mindestens eine Lichtquelle aufweist, welche Licht in den Lichtleiter derart einkoppelt, daß dieses an der Lichtaustrittsfläche des Lichtleiters abgegeben wird, wobei mindestens ein Seitenreflektor und/oder Dachreflektor entsprechend einem der Ansprüche 1 bis 26 ausgebildet ist.
  29. Leuchte nach Anspruch 28, dadurch gekennzeichnet, daß die Lichtquelle an einer zu der Lichtaustrittsfläche nicht parallelen Seite des Lichtleiters angeordnet ist.
EP03023538A 2002-10-15 2003-10-15 Reflektor mit strukturierter Oberfläche, sowie Leuchte und Sekundärbeleuchtungssystem mit einem solchen Reflektor Expired - Lifetime EP1411294B1 (de)

Priority Applications (1)

Application Number Priority Date Filing Date Title
DE20320375U DE20320375U1 (de) 2002-10-15 2003-10-15 Reflektor mit strukturierter Oberfläche, sowie Leuchte und Sekundärbeleuchtungssystem mit einem solchen Reflektor

Applications Claiming Priority (2)

Application Number Priority Date Filing Date Title
DE10248051 2002-10-15
DE10248051 2002-10-15

Publications (3)

Publication Number Publication Date
EP1411294A2 true EP1411294A2 (de) 2004-04-21
EP1411294A3 EP1411294A3 (de) 2006-06-07
EP1411294B1 EP1411294B1 (de) 2011-07-13

Family

ID=32038702

Family Applications (1)

Application Number Title Priority Date Filing Date
EP03023538A Expired - Lifetime EP1411294B1 (de) 2002-10-15 2003-10-15 Reflektor mit strukturierter Oberfläche, sowie Leuchte und Sekundärbeleuchtungssystem mit einem solchen Reflektor

Country Status (2)

Country Link
EP (1) EP1411294B1 (de)
AT (1) ATE516467T1 (de)

Cited By (3)

* Cited by examiner, † Cited by third party
Publication number Priority date Publication date Assignee Title
WO2005071310A1 (de) * 2004-01-21 2005-08-04 Fresnel Optics Gmbh Anordnung zur gleichmässigen oder vorgebbaren beleuchtung von grossen flächen
EP2264362A1 (de) 2006-03-21 2010-12-22 Siteco Beleuchtungstechnik GmbH LED-Scheinwerfer und Beleuchtungssystem mit einem solchen Scheinwerfer
DE102004026160B4 (de) * 2004-05-28 2015-10-22 Siteco Beleuchtungstechnik Gmbh Beleuchtungssystem zur Erzeugung einer variablen Lichtverteilung

Citations (7)

* Cited by examiner, † Cited by third party
Publication number Priority date Publication date Assignee Title
EP0479042A2 (de) 1990-10-04 1992-04-08 Christian Bartenbach Beleuchtungsanordnung
US5296350A (en) 1990-10-31 1994-03-22 The Research Foundation Of State University Of New York Ion triggered alkylation of biological targets by silyloxy aromatic agents
US5555109A (en) 1993-11-05 1996-09-10 Alliedsignal Inc. Illumination system employing an array of microprisms
EP0735311A1 (de) 1995-03-31 1996-10-02 Siemens Aktiengesellschaft Beleuchtungssystem für einen Innenraum
EP0846915A1 (de) 1996-12-04 1998-06-10 Siemens Beleuchtungstechnik GmbH &amp; Co. KG Innenraumleuchte
EP1065436A1 (de) 1999-05-28 2001-01-03 Siteco Beleuchtungstechnik GmbH Deckenleuchte mit Lichtleiter
EP1106916A2 (de) 1999-11-30 2001-06-13 Siteco Beleuchtungstechnik GmbH Leuchte mit einer abschirmenden lichtbrechenden Struktur und einer strahlbegrenzenden Reflektoranordnung

Family Cites Families (6)

* Cited by examiner, † Cited by third party
Publication number Priority date Publication date Assignee Title
GB334891A (en) * 1929-06-10 1930-09-10 Joseph Macnab Improvements relating to light ray reflectors
US2280640A (en) * 1938-11-29 1942-04-21 Republic Steel Corp Light reflecting and distributing ceiling structure
US3671101A (en) * 1969-07-25 1972-06-20 Dan M Finch Light control material
GB8328869D0 (en) * 1983-10-28 1983-11-30 Avery B R Lighting fitting
US4989948A (en) * 1989-05-08 1991-02-05 Minnesota Mining And Manufacturing Company Reflective sheeting material
DE4406458A1 (de) * 1994-02-28 1995-08-31 Swarovski & Co Reflektor zur indirekten Raumbeleuchtung

Patent Citations (7)

* Cited by examiner, † Cited by third party
Publication number Priority date Publication date Assignee Title
EP0479042A2 (de) 1990-10-04 1992-04-08 Christian Bartenbach Beleuchtungsanordnung
US5296350A (en) 1990-10-31 1994-03-22 The Research Foundation Of State University Of New York Ion triggered alkylation of biological targets by silyloxy aromatic agents
US5555109A (en) 1993-11-05 1996-09-10 Alliedsignal Inc. Illumination system employing an array of microprisms
EP0735311A1 (de) 1995-03-31 1996-10-02 Siemens Aktiengesellschaft Beleuchtungssystem für einen Innenraum
EP0846915A1 (de) 1996-12-04 1998-06-10 Siemens Beleuchtungstechnik GmbH &amp; Co. KG Innenraumleuchte
EP1065436A1 (de) 1999-05-28 2001-01-03 Siteco Beleuchtungstechnik GmbH Deckenleuchte mit Lichtleiter
EP1106916A2 (de) 1999-11-30 2001-06-13 Siteco Beleuchtungstechnik GmbH Leuchte mit einer abschirmenden lichtbrechenden Struktur und einer strahlbegrenzenden Reflektoranordnung

Cited By (3)

* Cited by examiner, † Cited by third party
Publication number Priority date Publication date Assignee Title
WO2005071310A1 (de) * 2004-01-21 2005-08-04 Fresnel Optics Gmbh Anordnung zur gleichmässigen oder vorgebbaren beleuchtung von grossen flächen
DE102004026160B4 (de) * 2004-05-28 2015-10-22 Siteco Beleuchtungstechnik Gmbh Beleuchtungssystem zur Erzeugung einer variablen Lichtverteilung
EP2264362A1 (de) 2006-03-21 2010-12-22 Siteco Beleuchtungstechnik GmbH LED-Scheinwerfer und Beleuchtungssystem mit einem solchen Scheinwerfer

Also Published As

Publication number Publication date
EP1411294A3 (de) 2006-06-07
EP1411294B1 (de) 2011-07-13
ATE516467T1 (de) 2011-07-15

Similar Documents

Publication Publication Date Title
DE102007044963B4 (de) Leuchte
EP2344362B1 (de) Lichtleitelement für eine beleuchtungseinrichtung
EP0191264B2 (de) Einrichtung zum Entblenden von grossflächigen Leuchtmitteln
EP2924345B1 (de) Leuchten mit asymmetrischer Lichtabstrahlung
EP2184533A1 (de) Leuchte
EP1132680A1 (de) Leuchte mit inhomogener Lichtabstrahlung
EP3199869A1 (de) Beleuchtungsvorrichtung
EP1106905B1 (de) Leuchte
DE69800229T2 (de) Reflektor für Beleuchtungseinrichtung mit einer länglichen Lichtquelle
DE19737550A1 (de) Signalleuchte mit verbesserter Lampenabdeckung für Kraftfahrzeuge
DE4414742A1 (de) Leuchte mit mindestens einem ringförmigen Leuchtmittel
DE102014017295A1 (de) Leuchtvorrichtung
EP1411294B1 (de) Reflektor mit strukturierter Oberfläche, sowie Leuchte und Sekundärbeleuchtungssystem mit einem solchen Reflektor
WO2014174022A1 (de) Anordnung zur lichtabgabe mit einer led-lichtquelle und einem reflektor
EP2333402B1 (de) Leuchte mit Hohllichtleiter
DE102005047746A1 (de) Anordnung zum gezielten Entblenden von Außenleuchten in vertikaler und horizontaler Achse
EP3408587B1 (de) Optisches system zum beeinflussen der lichtabgabe einer lichtquelle
EP2924343B1 (de) Led-leuchte mit refraktiver optik zur lichtdurchmischung
DE3008773C2 (de) Nebelschlußleuchte für Kraftfahrzeuge
DE20320375U1 (de) Reflektor mit strukturierter Oberfläche, sowie Leuchte und Sekundärbeleuchtungssystem mit einem solchen Reflektor
DE69535403T2 (de) Elektronische weitwinkel-beleuchtungsvorrichtung
DE102006030646B4 (de) Innenraumleuchte zur Ausleuchtung einer Wand oder Decke
EP1209409B1 (de) Aussenleuchte mit verbesserter Abstrahlungscharakteristik
EP0836046B1 (de) Aussenleuchte mit Sekundärtechnik
EP1900998B1 (de) Reflektor mit einer lichtaufweitenden Struktur

Legal Events

Date Code Title Description
PUAI Public reference made under article 153(3) epc to a published international application that has entered the european phase

Free format text: ORIGINAL CODE: 0009012

AK Designated contracting states

Kind code of ref document: A2

Designated state(s): AT BE BG CH CY CZ DE DK EE ES FI FR GB GR HU IE IT LI LU MC NL PT RO SE SI SK TR

AX Request for extension of the european patent

Extension state: AL LT LV MK

PUAL Search report despatched

Free format text: ORIGINAL CODE: 0009013

AK Designated contracting states

Kind code of ref document: A3

Designated state(s): AT BE BG CH CY CZ DE DK EE ES FI FR GB GR HU IE IT LI LU MC NL PT RO SE SI SK TR

AX Request for extension of the european patent

Extension state: AL LT LV MK

17P Request for examination filed

Effective date: 20061024

AKX Designation fees paid

Designated state(s): AT BE BG CH CY CZ DE DK EE ES FI FR GB GR HU IE IT LI LU MC NL PT RO SE SI SK TR

17Q First examination report despatched

Effective date: 20070412

GRAP Despatch of communication of intention to grant a patent

Free format text: ORIGINAL CODE: EPIDOSNIGR1

GRAS Grant fee paid

Free format text: ORIGINAL CODE: EPIDOSNIGR3

GRAA (expected) grant

Free format text: ORIGINAL CODE: 0009210

AK Designated contracting states

Kind code of ref document: B1

Designated state(s): AT BE BG CH CY CZ DE DK EE ES FI FR GB GR HU IE IT LI LU MC NL PT RO SE SI SK TR

REG Reference to a national code

Ref country code: GB

Ref legal event code: FG4D

Free format text: NOT ENGLISH

REG Reference to a national code

Ref country code: CH

Ref legal event code: EP

REG Reference to a national code

Ref country code: IE

Ref legal event code: FG4D

Free format text: LANGUAGE OF EP DOCUMENT: GERMAN

REG Reference to a national code

Ref country code: DE

Ref legal event code: R096

Ref document number: 50313809

Country of ref document: DE

Effective date: 20110901

REG Reference to a national code

Ref country code: CH

Ref legal event code: PFA

Owner name: SITECO BELEUCHTUNGSTECHNIK GMBH

Free format text: SITECO BETEILIGUNGSVERWALTUNGS GMBH#OHMSTRASSE 50#83301 TRAUNREUT (DE) -TRANSFER TO- SITECO BELEUCHTUNGSTECHNIK GMBH#OHMSTRASSE 50#83301 TRAUNREUT (DE)

Ref country code: CH

Ref legal event code: NV

Representative=s name: ISLER & PEDRAZZINI AG

Ref country code: CH

Ref legal event code: PFUS

Owner name: SITECO BETEILIGUNGSVERWALTUNGS GMBH, DE

Free format text: FORMER OWNER: SITECO BELEUCHTUNGSTECHNIK GMBH, DE

REG Reference to a national code

Ref country code: SE

Ref legal event code: TRGR

REG Reference to a national code

Ref country code: NL

Ref legal event code: VDEP

Effective date: 20110713

REG Reference to a national code

Ref country code: DE

Ref legal event code: R082

Ref document number: 50313809

Country of ref document: DE

Representative=s name: BOEHMERT & BOEHMERT, DE

REG Reference to a national code

Ref country code: DE

Ref legal event code: R081

Ref document number: 50313809

Country of ref document: DE

Owner name: SITECO BELEUCHTUNGSTECHNIK GMBH, DE

Free format text: FORMER OWNER: SITECO BELEUCHTUNGSTECHNIK GMBH, 83301 TRAUNREUT, DE

Effective date: 20111109

Ref country code: DE

Ref legal event code: R081

Ref document number: 50313809

Country of ref document: DE

Owner name: SITECO BELEUCHTUNGSTECHNIK GMBH, DE

Free format text: FORMER OWNER: SITECO BELEUCHTUNGSTECHNIK GMBH, 83301 TRAUNREUT, DE

Effective date: 20110711

Ref country code: DE

Ref legal event code: R082

Ref document number: 50313809

Country of ref document: DE

Representative=s name: BOEHMERT & BOEHMERT ANWALTSPARTNERSCHAFT MBB -, DE

Effective date: 20111109

PG25 Lapsed in a contracting state [announced via postgrant information from national office to epo]

Ref country code: NL

Free format text: LAPSE BECAUSE OF FAILURE TO SUBMIT A TRANSLATION OF THE DESCRIPTION OR TO PAY THE FEE WITHIN THE PRESCRIBED TIME-LIMIT

Effective date: 20110713

Ref country code: PT

Free format text: LAPSE BECAUSE OF FAILURE TO SUBMIT A TRANSLATION OF THE DESCRIPTION OR TO PAY THE FEE WITHIN THE PRESCRIBED TIME-LIMIT

Effective date: 20111114

Ref country code: FI

Free format text: LAPSE BECAUSE OF FAILURE TO SUBMIT A TRANSLATION OF THE DESCRIPTION OR TO PAY THE FEE WITHIN THE PRESCRIBED TIME-LIMIT

Effective date: 20110713

REG Reference to a national code

Ref country code: IE

Ref legal event code: FD4D

PG25 Lapsed in a contracting state [announced via postgrant information from national office to epo]

Ref country code: CY

Free format text: LAPSE BECAUSE OF FAILURE TO SUBMIT A TRANSLATION OF THE DESCRIPTION OR TO PAY THE FEE WITHIN THE PRESCRIBED TIME-LIMIT

Effective date: 20110713

Ref country code: SI

Free format text: LAPSE BECAUSE OF FAILURE TO SUBMIT A TRANSLATION OF THE DESCRIPTION OR TO PAY THE FEE WITHIN THE PRESCRIBED TIME-LIMIT

Effective date: 20110713

Ref country code: GR

Free format text: LAPSE BECAUSE OF FAILURE TO SUBMIT A TRANSLATION OF THE DESCRIPTION OR TO PAY THE FEE WITHIN THE PRESCRIBED TIME-LIMIT

Effective date: 20111014

REG Reference to a national code

Ref country code: GB

Ref legal event code: 732E

Free format text: REGISTERED BETWEEN 20120315 AND 20120321

BERE Be: lapsed

Owner name: SITECO BELEUCHTUNGSTECHNIK G.M.B.H.

Effective date: 20111031

PG25 Lapsed in a contracting state [announced via postgrant information from national office to epo]

Ref country code: SK

Free format text: LAPSE BECAUSE OF FAILURE TO SUBMIT A TRANSLATION OF THE DESCRIPTION OR TO PAY THE FEE WITHIN THE PRESCRIBED TIME-LIMIT

Effective date: 20110713

Ref country code: CZ

Free format text: LAPSE BECAUSE OF FAILURE TO SUBMIT A TRANSLATION OF THE DESCRIPTION OR TO PAY THE FEE WITHIN THE PRESCRIBED TIME-LIMIT

Effective date: 20110713

Ref country code: IE

Free format text: LAPSE BECAUSE OF FAILURE TO SUBMIT A TRANSLATION OF THE DESCRIPTION OR TO PAY THE FEE WITHIN THE PRESCRIBED TIME-LIMIT

Effective date: 20110713

PLBE No opposition filed within time limit

Free format text: ORIGINAL CODE: 0009261

STAA Information on the status of an ep patent application or granted ep patent

Free format text: STATUS: NO OPPOSITION FILED WITHIN TIME LIMIT

PG25 Lapsed in a contracting state [announced via postgrant information from national office to epo]

Ref country code: EE

Free format text: LAPSE BECAUSE OF FAILURE TO SUBMIT A TRANSLATION OF THE DESCRIPTION OR TO PAY THE FEE WITHIN THE PRESCRIBED TIME-LIMIT

Effective date: 20110713

Ref country code: RO

Free format text: LAPSE BECAUSE OF FAILURE TO SUBMIT A TRANSLATION OF THE DESCRIPTION OR TO PAY THE FEE WITHIN THE PRESCRIBED TIME-LIMIT

Effective date: 20110713

Ref country code: MC

Free format text: LAPSE BECAUSE OF NON-PAYMENT OF DUE FEES

Effective date: 20111031

REG Reference to a national code

Ref country code: AT

Ref legal event code: PC

Ref document number: 516467

Country of ref document: AT

Kind code of ref document: T

Owner name: SITECO BELEUCHTUNGSTECHNIK GMBH, DE

Effective date: 20120418

26N No opposition filed

Effective date: 20120416

PG25 Lapsed in a contracting state [announced via postgrant information from national office to epo]

Ref country code: DK

Free format text: LAPSE BECAUSE OF FAILURE TO SUBMIT A TRANSLATION OF THE DESCRIPTION OR TO PAY THE FEE WITHIN THE PRESCRIBED TIME-LIMIT

Effective date: 20110713

PG25 Lapsed in a contracting state [announced via postgrant information from national office to epo]

Ref country code: BE

Free format text: LAPSE BECAUSE OF NON-PAYMENT OF DUE FEES

Effective date: 20111031

REG Reference to a national code

Ref country code: DE

Ref legal event code: R097

Ref document number: 50313809

Country of ref document: DE

Effective date: 20120416

PG25 Lapsed in a contracting state [announced via postgrant information from national office to epo]

Ref country code: ES

Free format text: LAPSE BECAUSE OF FAILURE TO SUBMIT A TRANSLATION OF THE DESCRIPTION OR TO PAY THE FEE WITHIN THE PRESCRIBED TIME-LIMIT

Effective date: 20111024

PG25 Lapsed in a contracting state [announced via postgrant information from national office to epo]

Ref country code: LU

Free format text: LAPSE BECAUSE OF NON-PAYMENT OF DUE FEES

Effective date: 20111015

PG25 Lapsed in a contracting state [announced via postgrant information from national office to epo]

Ref country code: BG

Free format text: LAPSE BECAUSE OF FAILURE TO SUBMIT A TRANSLATION OF THE DESCRIPTION OR TO PAY THE FEE WITHIN THE PRESCRIBED TIME-LIMIT

Effective date: 20111013

PG25 Lapsed in a contracting state [announced via postgrant information from national office to epo]

Ref country code: HU

Free format text: LAPSE BECAUSE OF FAILURE TO SUBMIT A TRANSLATION OF THE DESCRIPTION OR TO PAY THE FEE WITHIN THE PRESCRIBED TIME-LIMIT

Effective date: 20110713

REG Reference to a national code

Ref country code: FR

Ref legal event code: PLFP

Year of fee payment: 13

REG Reference to a national code

Ref country code: FR

Ref legal event code: PLFP

Year of fee payment: 14

PGFP Annual fee paid to national office [announced via postgrant information from national office to epo]

Ref country code: TR

Payment date: 20160926

Year of fee payment: 14

REG Reference to a national code

Ref country code: FR

Ref legal event code: PLFP

Year of fee payment: 15

PGFP Annual fee paid to national office [announced via postgrant information from national office to epo]

Ref country code: GB

Payment date: 20171019

Year of fee payment: 15

Ref country code: SE

Payment date: 20171019

Year of fee payment: 15

Ref country code: IT

Payment date: 20171023

Year of fee payment: 15

Ref country code: CH

Payment date: 20171019

Year of fee payment: 15

REG Reference to a national code

Ref country code: FR

Ref legal event code: PLFP

Year of fee payment: 16

REG Reference to a national code

Ref country code: SE

Ref legal event code: EUG

REG Reference to a national code

Ref country code: CH

Ref legal event code: PL

GBPC Gb: european patent ceased through non-payment of renewal fee

Effective date: 20181015

PG25 Lapsed in a contracting state [announced via postgrant information from national office to epo]

Ref country code: SE

Free format text: LAPSE BECAUSE OF NON-PAYMENT OF DUE FEES

Effective date: 20181016

PG25 Lapsed in a contracting state [announced via postgrant information from national office to epo]

Ref country code: LI

Free format text: LAPSE BECAUSE OF NON-PAYMENT OF DUE FEES

Effective date: 20181031

Ref country code: CH

Free format text: LAPSE BECAUSE OF NON-PAYMENT OF DUE FEES

Effective date: 20181031

PG25 Lapsed in a contracting state [announced via postgrant information from national office to epo]

Ref country code: GB

Free format text: LAPSE BECAUSE OF NON-PAYMENT OF DUE FEES

Effective date: 20181015

Ref country code: IT

Free format text: LAPSE BECAUSE OF NON-PAYMENT OF DUE FEES

Effective date: 20181015

REG Reference to a national code

Ref country code: DE

Ref legal event code: R082

Ref document number: 50313809

Country of ref document: DE

Representative=s name: BOEHMERT & BOEHMERT ANWALTSPARTNERSCHAFT MBB -, DE

Ref country code: DE

Ref legal event code: R081

Ref document number: 50313809

Country of ref document: DE

Owner name: SITECO GMBH, DE

Free format text: FORMER OWNER: SITECO BELEUCHTUNGSTECHNIK GMBH, 83301 TRAUNREUT, DE

REG Reference to a national code

Ref country code: AT

Ref legal event code: PC

Ref document number: 516467

Country of ref document: AT

Kind code of ref document: T

Owner name: SITECO GMBH, DE

Effective date: 20201028

PGFP Annual fee paid to national office [announced via postgrant information from national office to epo]

Ref country code: FR

Payment date: 20201020

Year of fee payment: 18

PGFP Annual fee paid to national office [announced via postgrant information from national office to epo]

Ref country code: DE

Payment date: 20211020

Year of fee payment: 19

Ref country code: AT

Payment date: 20211019

Year of fee payment: 19

PG25 Lapsed in a contracting state [announced via postgrant information from national office to epo]

Ref country code: TR

Free format text: LAPSE BECAUSE OF NON-PAYMENT OF DUE FEES

Effective date: 20171015

PG25 Lapsed in a contracting state [announced via postgrant information from national office to epo]

Ref country code: FR

Free format text: LAPSE BECAUSE OF NON-PAYMENT OF DUE FEES

Effective date: 20211031

REG Reference to a national code

Ref country code: DE

Ref legal event code: R119

Ref document number: 50313809

Country of ref document: DE

REG Reference to a national code

Ref country code: AT

Ref legal event code: MM01

Ref document number: 516467

Country of ref document: AT

Kind code of ref document: T

Effective date: 20221015

PG25 Lapsed in a contracting state [announced via postgrant information from national office to epo]

Ref country code: DE

Free format text: LAPSE BECAUSE OF NON-PAYMENT OF DUE FEES

Effective date: 20230503

Ref country code: AT

Free format text: LAPSE BECAUSE OF NON-PAYMENT OF DUE FEES

Effective date: 20221015