EP1236645B1 - Verfahren und Vorrichtung zum Verschliessen eines Behälters - Google Patents

Verfahren und Vorrichtung zum Verschliessen eines Behälters Download PDF

Info

Publication number
EP1236645B1
EP1236645B1 EP02004739A EP02004739A EP1236645B1 EP 1236645 B1 EP1236645 B1 EP 1236645B1 EP 02004739 A EP02004739 A EP 02004739A EP 02004739 A EP02004739 A EP 02004739A EP 1236645 B1 EP1236645 B1 EP 1236645B1
Authority
EP
European Patent Office
Prior art keywords
container
limb
clamping
roller
rim
Prior art date
Legal status (The legal status is an assumption and is not a legal conclusion. Google has not performed a legal analysis and makes no representation as to the accuracy of the status listed.)
Expired - Lifetime
Application number
EP02004739A
Other languages
English (en)
French (fr)
Other versions
EP1236645A2 (de
EP1236645A3 (de
Inventor
Roland Scheele
Current Assignee (The listed assignees may be inaccurate. Google has not performed a legal analysis and makes no representation or warranty as to the accuracy of the list.)
Muhr & Sohne Werke fur Blechverarbeitung
Original Assignee
Muhr & Sohne Werke fur Blechverarbeitung
Priority date (The priority date is an assumption and is not a legal conclusion. Google has not performed a legal analysis and makes no representation as to the accuracy of the date listed.)
Filing date
Publication date
Application filed by Muhr & Sohne Werke fur Blechverarbeitung filed Critical Muhr & Sohne Werke fur Blechverarbeitung
Publication of EP1236645A2 publication Critical patent/EP1236645A2/de
Publication of EP1236645A3 publication Critical patent/EP1236645A3/de
Application granted granted Critical
Publication of EP1236645B1 publication Critical patent/EP1236645B1/de
Anticipated expiration legal-status Critical
Expired - Lifetime legal-status Critical Current

Links

Images

Classifications

    • BPERFORMING OPERATIONS; TRANSPORTING
    • B65CONVEYING; PACKING; STORING; HANDLING THIN OR FILAMENTARY MATERIAL
    • B65BMACHINES, APPARATUS OR DEVICES FOR, OR METHODS OF, PACKAGING ARTICLES OR MATERIALS; UNPACKING
    • B65B7/00Closing containers or receptacles after filling
    • B65B7/16Closing semi-rigid or rigid containers or receptacles not deformed by, or not taking-up shape of, contents, e.g. boxes or cartons
    • B65B7/28Closing semi-rigid or rigid containers or receptacles not deformed by, or not taking-up shape of, contents, e.g. boxes or cartons by applying separate preformed closures, e.g. lids, covers
    • B65B7/2842Securing closures on containers
    • B65B7/285Securing closures on containers by deformation of the closure

Definitions

  • the present invention relates to a method for closing a a container provided with a lid by means of a clamping ring Clamping closure. Furthermore, the invention relates to a device for Performing this procedure.
  • Clamping rings are known from the prior art, which consist of an annular Element for reaching around the edge of the lid and container and one Tension lock exist with which the diameter of the tension ring is reduced can be, so that the clamping ring around the lid and the edge of the container can be excited.
  • a possible embodiment of the tension lock is from GB 705 759 known.
  • This latch includes a locking element at one end of the annular element, which has a recess at the opposite end of the annular element is assigned. To close or close the clamping ring clamp, only the locking element must be brought into the recess.
  • the clamping rings described can be manually with or without involvement of special tools attached to the lidded containers become.
  • the application of the opened ones has proven to be particularly effective Clamping rings on the lid and container rim as complicated and time consuming. For this reason, attempts have been made to apply it mechanically and to be carried out fully automatically.
  • EP 1 028 066 A2 describes an automatic method for closing bucket-shaped containers by means of lids and clamping rings disclosed, in which Clamping rings with a toggle lock are used.
  • the lid is first placed on the container in order then place the clamping ring with a U or V-shaped cross-section.
  • the tension ring is opened so that this pushed over the edge area of the lid and the container edge can be.
  • the clamping ring is exerted by applying a force tensioned or closed on the tensioning lever so that the container is secure is closed.
  • the clamping ring must be closed first open and then close, which takes a lot of time. About that In addition, a large amount of equipment is necessary to close the clamping ring exactly position.
  • DE 28 13 517 A1 proposes a method by which the hoop is already tensioned onto the container is applied.
  • the hoop has a cross-section a first leg overlapping the edge of the lid, one the edge of the Cover and the container surrounding the second leg and one over the Edge of the container on the third leg projecting downward.
  • the smallest diameter enclosed by the third leg is so large that the Ready to be placed on the container from above in a tensioned state can.
  • the third leg is under the edge of the container bent so that the container is closed.
  • the well-known process enables the container to be closed quickly and easily Automation.
  • the present invention takes up this prior art and sets itself the goal of improving it.
  • the object of the present invention is to provide a method for Closing a container by means of a tension ring with a tension lock indicate that is particularly safe to carry out and for different Clamping rings is suitable.
  • the invention is also based on the object To create device by means of which the closure of a container safely can be carried out and which is suitable for different clamping rings.
  • the containers to be closed must have a radially outward opening have protruding circumferential edge, for example under the edge a border or a radially outwardly curved edge of the opening can be understood.
  • the outward edge should Ensure accessibility through the clamping ring.
  • the container can already be provided with the lid or the lid can only in the course of the following Process steps placed on the container together with the clamping ring become.
  • a clamping ring is provided, which is in the Cross section of a first leg overlapping the edge of the lid, one the second edge enclosing the edge of the lid and the edge of the container Leg and a third projecting down over the edge of the container Has thighs.
  • the turnbuckle protrudes down over the second Thighs out. This is the case, for example, with toggle locks that are in usually arranged on the second leg of the clamping ring and wider than these are so that the latch is down over the second leg protrudes.
  • the second leg can be very small be trained, i.e. this can only be in one bend, for example exist between the first and third leg.
  • the second and third Legs can be aligned one behind the other or also over a Bending point to be connected.
  • the tension lock of the tension ring curious; excited.
  • a latch for example, the one described at the beginning Toggle lock or a snap lock can be used.
  • all turnbuckles can be used to tension and relax the Allow clamping ring.
  • the tensioned or closed Clamping ring placed on the lid in the third process step.
  • either the clamping ring can be on the lid first and the lid then together with the clamping ring on the container or the clamping ring on the already placed on the container clamping ring. by virtue of the clamping ring can already be in its final position when it is put on placed on the container.
  • the third leg which over the edge of the Container protrudes downward, deformed so that the third leg of the edge of the container.
  • the fourth method step thus final shape of the clamping ring, whereas the clamping ring in the previous process steps was only formed as a semi-finished product.
  • the method according to the invention like that from DE 28 13 517 A1 known method - the advantage that it is not when applying the clamping ring it is necessary to first open the clamping ring and then to close it. In addition, it turns out to be very easy to put on, because the tensioned or closed clamping ring can only be pushed onto the cover from above got to. In this way, a large amount of time is saved by the subsequent deformation of the third leg is only slightly reduced. The method thus makes it easy and quick to close one Container made possible by means of a tension ring with a tension lock.
  • the third leg is by means of deformed at least one rotating roller against the third leg suppressed.
  • the roller can be driven or freely rotating and the third leg orbit while being essentially radially inward Exerts pressure on the third leg, so that this continuously under the Edge of the container is pressed to reach under it.
  • a particularly stable process when deforming the third leg is achieved by achieved a preferred embodiment of the method in which two, preferably three and particularly preferably five roles are used, wherein the roles are arranged symmetrically. In this way, they can focus on the third leg and thus forces applied to the container essentially compensate so that the container only has to be slightly tightened.
  • the inventive device for closing a lid provided container has peripheral edge, by means of a tension ring with a tension lock, the clamping ring in cross-section overlapping the edge of the cover first leg, one the edge of the lid and the edge of the container enclosing second leg and one over the edge of the container has third leg protruding below and the tension lock down protrudes beyond the second leg, has a tensioning device Tighten the container with the lid and clamping ring.
  • Under one Clamping device is to be understood here as a device that holds the container in a position that tightens despite the subsequent external loads is maintained.
  • the tensioning device can for example be made up of several the container pressing jaws or similar.
  • the central axis usually the central axis of the Corresponds to the container.
  • the device according to the invention also has at least a role, which is arranged on a roller axis, the Roller axis in turn moved on a circular path around the central axis. Regardless of the rotational position of the roller axis with respect to the central axis the roller axis can also be pivoted in a plane in which the Central axis is arranged. This allows the roles depending on the Swiveling position of the roller axis a circular path with a larger or Describe a smaller radius as soon as the roller axis rotates around the central axis.
  • the roller axis is pivotable such that the roller axis from a first Position in which the container can be clamped in the clamping device in a second position can be pivoted, in which the role of the third leg deformed and the third leg engages under the edge of the container, the non-contact protruding from the second leg of the at least one role is accessible.
  • the transition from the first to the second position can be done evenly, so that the third leg of the Clamping ring can be continuously deformed.
  • the main advantage of the device according to the invention is that it when using large-width turnbuckles where the Clamp protrudes downward beyond the second leg, not to one Contact between the roller and the toggle comes, resulting in the above would lead to the disadvantages described. Due to the pivotability of the Rather, the roller axis ensures that the roller has the third leg deform and can reach under the tension lock without contact.
  • the face of the clamping ring when reaching under has the In a particularly preferred embodiment, a rotating one Deepening and / or a circular approach. Under the end faces are to understand the two sides of a role. The circumferential deepening ensures that even with a wide turnbuckle that down protruding end while rotating the roll around the central axis and during the swiveling of the roller axis does not touch the end face, because that protruding end can protrude into the recess.
  • the cross-sectional shape is included irrelevant as long as the function, namely the contactless recording of the downward end of the tension lock is guaranteed.
  • the cross section of the roller is preferably designed such that it is in radial direction tapers, so that the force transmission on the clamping ring on one small area remains limited. In addition, the risk of a Collision of the rollers with the container in other places due to Manufacturing tolerances can be reduced.
  • the cross section of the roller is nose-shaped.
  • the end face of the roller facing away from the clamping ring can be radial fall outwards, that is essentially conical, while in the the clamping ring facing the end of the roller a circumferential recess contactless recording of the downward projecting end of the Tension lock is provided.
  • the movement of the tensioning device preferably mechanically coupled with the pivoting movement of the roller axis.
  • the tensioning device has a plate that can be pressed against the lid of the container.
  • the plate should in doing so, press both on the cover and on the clamping ring to secure them to fix.
  • the plate can continue to serve the container below the Center clamping device.
  • the tensioning device designed in this way forms the bottom on which the container stands, such as an assembly line, the counter bearing.
  • FIG. 1 to 3 show the method steps of the method according to the invention in a schematic representation.
  • Fig. 1 shows the first and second Process step.
  • the clamping ring 2 which is shown in section in Fig. 1, comprises an annular Element 4 and a latch 6.
  • the container 8 to be closed is shown in the lower region of FIG. 1.
  • the container 8 has an edge 10 pointing radially outward on the opening side on, which in the present case is formed by a border.
  • a cup-shaped cover 12 used, which has a lid edge 14.
  • the lid edge 14 is also as Edge trim formed and rests on the edge 10 of the container 8.
  • the annular element 4 of the clamping ring 2 has a first in cross section Leg 16, which is able to overlap the lid edge 14. To the The first leg 16 is followed by a second leg 18, which the edge 10 of the Containers 8 and the lid rim 14 from the outside when the clamping ring 2nd is arranged on the container 8. The second leg 18 closes again a third leg 20 which extends over the edge 10 of the container 8 protrudes below when the clamping ring 2 is placed on the container 8.
  • the illustrated embodiment of the clamping ring 2 is the third leg 20 slightly angled relative to the second leg 18 and radially inward inclined, but it is also possible to use the second and third legs 18, 20 to be aligned one after the other.
  • the slight slope of the third leg 20 has the advantage that the kink between the second and third Leg 18.20 can act as a predetermined bending point in the further process.
  • the third leg 20 Despite the inclination of the third leg 20, it must be ensured that the smallest circle enclosed by the third leg 20 has a diameter a which is larger than the outer diameter b of the edge 10 of the container 8 and the lid edge 14, so that the third shown in Fig. 2 Process step can be carried out.
  • the in the second process step tensioned ring 2 on the lid 12 in Attached in the direction of arrow A.
  • the Tension ring 2 can also be placed on the separate cover 12 first then cover 12 together with clamping ring 2 onto container 8 sit up.
  • the clamping ring 2 shows in particular that the first leg 16 the Cover rim 14 overlaps after the clamping ring 2 has been placed on it, during the second leg 18 the lid edge 14 and the edge 10 of the container 8 encloses and the third leg 20 down over the edge 10 of the container 8 stands out. With the third process step, the clamping ring 2 is thus in its brought final position on the container 8.
  • the third leg 20 deformed such that it engages under the edge 10 of the container 10.
  • the third leg 20 in Bent in the direction of arrows B, with the kink between the second leg 18 and the radially inwardly inclined third leg 20 as a predetermined bending point acts. With the help of this predetermined bending point, the final shape of the Clamping ring 2 can be largely determined beforehand.
  • the third leg is deformed by means of rotating rollers, as will be the case later 4 and 5, wherein the rollers during circulating under the rim of the container can be pivoted like this is also indicated by the arrows B. Since the latch 6 is wider than the second leg 18 and thus wider than that after deforming finished clamping ring 2 is formed, part of the chip lock 6 protrudes downward over the second leg 18. By the invention Swiveling the role ensures that the role against the third Press leg 20 and deform it without touching it between the roll and the downward protruding end of the Tension lock 6 comes.
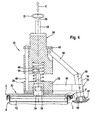
  • Fig. 4 shows the device according to the invention in a sectional view.
  • the device according to the invention comprises a tensioning device 22 and three rollers 24, of which only one is shown for reasons of clarity.
  • the Clamping device 22 is arranged on a central axis 26, which at the same time the Central axis of the container 8 represents the bottom in Fig. 4 together with the Cover 12 is shown.
  • the tensioning device 22 is along the central axis 26 movable, as shown by arrow C, and points in essentially a frame 28, a carriage 30 and a plate 32.
  • the plate 32 is on the lid 12 and the clamping ring 2 of the container 8 attachable and is rotatable via a shaft 34 in the frame 28 of the Clamping device 22 mounted, this in the present embodiment via a roller bearing 36.
  • the frame comprises a lower part 38 in which the shaft 34 is supported, a plurality of webs 40, only one of which is shown and which, starting from the lower part 38, is parallel to the central axis 26 extend upward, and an annular plate 42 which completes the forms upper ends of the webs 40.
  • the carriage 30 of the jig 22 is Slidably mounted on the webs 40 and thus between the lower part 38 and the annular plate 42 of the frame 28 slidably arranged.
  • a compression spring 44 Between the upward side of the lower part 38 and the lower part 38 facing side of the carriage 30 is also a compression spring 44, so that the carriage 30 by the compression spring 44 against the annular plate 42nd is depressed when the tensioning device 22 is relaxed.
  • a stop element 46 On the carriage 30 facing side of the lower part 38 is also a stop element 46 arranged, which is adjustable in height along the central axis 26 and as Stop for the carriage 30 is used.
  • a portion of the carriage 30 extends through the annular plate 42 and is firmly connected to a drive shaft 48, wherein the drive shaft 48 can be rotated about the central axis 26 like this is indicated by the arrow D.
  • struts 50 pointing radially outwards attached, of which in turn only one is shown and which on their Each end have a fork 52.
  • a first lever 54 in the fork 52 pivoted the end pointing in the direction of the plate 32 receives the roller 24 which is rotatable on the first by means of a roller bearing 56 Lever 54 is arranged.
  • the first lever 54 thus extends in the direction of the Roller axis 58 and can be pivoted in a plane in which the Central axis 26 lies.
  • a second lever 60 is articulated, the other end of which is connected to the slide 30 the tensioning device 22 is articulated.
  • the shaft 48 is in one direction of arrow D rotates. This rotation is transmitted via the carriage 30 and the Web 40 on the frame 28.
  • the plate 32 also takes place despite the roller bearing the rotational movement after, but this is only due to the frictional forces within the Roller bearing 36 can be attributed and is meaningless for the further process.
  • the roller axes 58 also rotate by transmitting the rotation about the struts 50 and the second lever 60 about the central axis, so that the Rollers 24 describe a circular path.
  • the tensioning device 22 is opened in the direction of arrow C. the container 8 lowered, causing the plate 32 on the clamping ring 2 and Cover 12 comes to rest, as shown in Fig. 4.
  • the plate 32 is designed such that the container 8 is below the clamping device 22nd centered. As soon as the plate 32 is placed on the container 8, its rotation prevented so that only the carriage 30 and the frame 28 of the Continue to rotate the jig. A transfer of the rotation to the Container 8 is excluded due to the roller bearing 36.
  • Fig. 5 illustrates that by pivoting the roller axis 58 of the Tension lock 6 of the tension ring 2 can be reached without contact, so that the device securely closes the container 8 without collision Rollers 24 with the latch 6 allows.
  • FIG. 6 to 8 are intended to illustrate that the safe closing of the container 8th by means of the clamping ring 2 with a latch 6 also on the special design of the cross section of the rollers 24 is based.
  • the figures show the individual phases of the deformation process of the third leg 20 of the tension ring 2.
  • the roller 24 is already against the third leg 20 pivoted. 7
  • the roller 24 is still further against the third leg 20 pivots and engages under the edge 10 of the container, so that the third Leg 20 is bent radially inwards.
  • 8 shows section II of FIG Fig. 5, d. H.
  • the third leg 20 is bent to the bottom of the edge 10, and the clamping ring 2 has thus assumed its final shape.
  • the in the 6 to 8 shown roller 24 has a cross section that is nose-like is trained.
  • the end face of the roller 24 facing away from the clamping ring 2 falls radially outwards, so it is essentially conical.
  • the one Clamping ring 2 facing end of the roller 24 has a circumferential recess 62 on that of the contactless recording of the downward projecting end the latch 6 serves. This can be seen in particular in FIG. 8. Together with the pivotability of the roller axis 58, this enables special design of the roller 24 thus a collision-free operation of the device according to the invention.

Landscapes

  • Engineering & Computer Science (AREA)
  • Mechanical Engineering (AREA)
  • Closing Of Containers (AREA)
  • Closures For Containers (AREA)
  • Sealing Of Jars (AREA)
  • Supplying Of Containers To The Packaging Station (AREA)

Description

Die vorliegende Erfindung betrifft ein Verfahren zum Verschließen eines mit einem Deckel versehenen Behälters mittels eines Spannringes mit Spannverschluß. Weiterhin betrifft die Erfindung eine Vorrichtung zur Durchführung dieses Verfahrens.
Aus dem Stand der Technik sind Spannringe bekannt, die aus einem ringförmigen Element zum Umgreifen des Randbereiches von Deckel und Behälter und einem Spannverschluß bestehen, mit dem der Durchmesser des Spannringes verringert werden kann, so daß der Spannring um den Deckel und den Rand des Behälters gespannt werden kann.
Eine mögliche Ausführungsform des Spannverschlusses ist aus der GB 705 759 bekannt. Dieser Spannverschluß umfaßt ein Rastelement am einen Ende des ringförmigen Elementes, dem eine Ausnehmung am gegenüberliegenden Ende des ringförmigen Elementes zugeordnet ist. Um den Spannring zu schließen bzw. zu verspannen, muß nur das Rastelement in die Ausnehmung gebracht werden.
Ein weiterer Spannverschluß ist aus der EP 0 471 911 A2 bekannt, wobei dieser Spannverschluß einen an dem einen Ende des ringförmigen Elementes angelenkten Spannhebel und einen Verbindungshebel umfaßt, wobei letzterer einerseits am anderen Ende des ringförmigen Elementes und andererseits an dem Spannhebel angelenkt ist. Man spricht hierbei auch von einem Kniehebelverschluß. Zum Verspannen des Spannringes muß lediglich der Spannhebel umgelegt werden, wobei das Lösen des Spannringes durch eine entgegengesetzte Bewegung erfolgt.
Die beschriebenen Spannringe können manuell mit oder ohne Hinzuziehung von speziellen Werkzeugen an den mit Deckeln versehenen Behältern angebracht werden. Hierbei erweist sich insbesondere das Aufbringen der geöffneten Spannringe auf den Deckel- und Behälterrand als kompliziert und zeitaufwendig. Aus diesem Grunde wurden Versuche unternommen, das Aufbringen maschinell und vollautomatisch durchzuführen.
In der EP 1 028 066 A2 ist ein automatisches Verfahren zum Verschließen von eimerförmigen Behältern mittels Deckeln und Spannringen offenbart, bei dem Spannringe mit einem Kniehebelverschluß zum Einsatz kommen. Bei dem bekannten Verfahren werden zuerst die Deckel auf die Behälter aufgesetzt, um danach den im Querschnitt U- oder V-förmig ausgebildeten Spannring aufzulegen. Im Zuge der Zuführung des Spannringes wird der Spannring geöffnet, so daß dieser über den Randbereich des Deckels und des Behälterrandes geschoben werden kann. Im Anschluß daran wird der Spannring durch Ausübung einer Kraft auf den Spannhebel gespannt bzw. geschlossen, so daß der Behälter sicher verschlossen ist. Wie schon beim manuellen Aufbringen des Spannringes ist es auch bei diesem automatisierten Verfahren notwendig, den Spannring zuerst zu öffnen und anschließend zu schließen, was viel Zeit in Anspruch nimmt. Darüber hinaus ist ein großer apparativer Aufwand notwendig, um den Spannring exakt zu positionieren.
Um die vorstehend genannten Probleme zu überwinden schlägt die DE 28 13 517 A1 ein Verfahren vor, mit dem der bereits gespannte Spannreif auf den Behälter aufgebracht wird. Um dies zu ermöglichen, weist der Spannreif im Querschnitt einen den Rand des Deckels übergreifenden ersten Schenkel, einen den Rand des Deckels und des Behälters umschließenden zweiten Schenkel und einen über den Rand des Behälters nach unten vorstehenden dritten Schenkel auf. Der kleinste von dem dritten Schenkel eingeschlossene Durchmesser ist derart groß, daß der Spannreif im gespannten Zustand von oben auf den Behälter aufgesetzt werden kann. Im Anschluß daran wird der dritte Schenkel unter den Rand des Behälters gebogen, so daß der Behälter verschlossen ist. Wie das Verformen des dritten Schenkels durchzuführen ist, wird nicht angegeben. Das bekannte Verfahren ermöglicht ein schnelles Verschließen des Behälters sowie eine einfache Automatisierung. Die vorliegende Erfindung greift diesen Stand der Technik auf und setzt sich das Ziel, diesen zu verbessern.
Die Aufgabe der vorliegenden Erfindung besteht darin, ein Verfahren zum Verschließen eines Behälters mittels eines Spannringes mit Spannverschluß anzugeben, das besonders sicher durchführbar ist und für unterschiedliche Spannringe geeignet ist. Der Erfindung liegt ferner die Aufgabe zugrunde, eine Vorrichtung zu schaffen, mittels derer das Verschließen eines Behälters sicher durchgeführt werden kann und die für unterschiedliche Spannringe geeignet ist.
Die Lösung dieser Aufgabe erfolgt anhand der im Patentanspruch 1 bzw. 3 angegebenen Merkmale. Vorteilhafte Ausführungsformen der Erfindung sind Gegenstand der Unteransprüche.
Die zu verschließenden Behälter müssen öffnungsseitig einen radial nach außen vorstehenden umlaufenden Rand aufweisen, wobei unter dem Rand beispielsweise eine Randbordierung oder eine radial nach außen gebogene Kante der Öffnung verstanden werden kann. Der nach außen stehende Rand soll die Hintergreifbarkeit durch den Spannring gewährleisten. Der Behälter kann bereits mit dem Deckel versehen sein oder der Deckel kann erst im Zuge der folgenden Verfahrensschritte zusammen mit dem Spannring auf den Behälter aufgesetzt werden.
In dem ersten Verfahrensschritt wird ein Spannring bereitgestellt, der im Querschnitt einen den Rand des Deckels übergreifenden ersten Schenkel, einen den Rand des Deckels und den Rand des Behälters umschließenden zweiten Schenkel und einen über den Rand des Behälters nach unten vorstehenden dritten Schenkel aufweist. Der Spannverschluß ragt nach unten über den zweiten Schenkel hinaus. Dies ist beispielsweise bei Kniehebelverschlüssen der Fall, die in der Regel auf dem zweiten Schenkel des Spannringes angeordnet und breiter als dieser sind, so daß der Spannverschluß nach unten über den zweiten Schenkel hinausragt. Indem der dritte Schenkel nach unten über den Rand des Behälters vorsteht, kann der geschlossene Spannring über den Deckel- und Behälterrand geschoben werden, ohne daß der dritte Schenkel auf dem Rand des Deckels oder des Behälters aufliegt. Dies ist dann der Fall, wenn der kleinste von dem dritten Schenkel eingeschlossene Innendurchmesser größer als der Außendurchmesser des Behälter- und des Deckelrandes ist. Der zweite Schenkel kann sehr klein ausgebildet sein, d.h. dieser kann beispielsweise lediglich in einer Biegung zwischen dem ersten und dritten Schenkel bestehen. Der zweite und dritte Schenkel können fluchtend hintereinander angeordnet oder auch über eine Biegestelle miteinander verbunden sein.
In dem zweiten Verfahrensschritt wird der Spannverschluß des Spannringes gespannt. Als Spannverschluß kann beispielsweise der eingangs beschriebene Kniehebelverschluß oder ein einrastender Verschluß verwendet werden. Darüber hinaus sind alle Spannverschlüsse einsetzbar, die ein Spannen und Entspannen des Spannringes ermöglichen.
Nach dem Spannen des Spannringes wird der gespannte bzw. geschlossene Spannring in dem dritten Verfahrensschritt auf den Deckel aufgesetzt. Wie bereits oben erwähnt, kann entweder der Spannring zuerst auf den Deckel und der Deckel dann zusammen mit dem Spannring auf den Behälter oder der Spannring auf den bereits auf den Behälter aufgesetzten Spannring aufgesetzt werden. Aufgrund seiner Form kann der Spannring beim Aufsetzten bereits in seine endgültige Lage auf dem Behälter gebracht werden.
In dem vierten Verfahrensschritt wird der dritte Schenkel, der über den Rand des Behälters nach unten vorsteht, derart verformt, daß der dritte Schenkel den Rand des Behälters untergreift. Durch den vierten Verfahrensschritt wird somit die endgültige Form des Spannringes hergestellt, wohingegen der Spannring in den vorangegangenen Verfahrensschritten lediglich als Halbzeug ausgebildet war.
Das erfindungsgemäße Verfahren hat - wie auch das aus der DE 28 13 517 A1 bekannte Verfahren - den Vorteil, daß es beim Aufbringen des Spannringes nicht notwendig ist, den Spannring zuerst zu öffnen und anschließend zu schließen. Darüber hinaus erweist sich das Aufsetzen als sehr einfach, da der gespannte bzw. geschlossene Spannring lediglich von oben auf den Deckel aufgeschoben werden muß. Auf diese Weise wird eine große Zeitersparnis erzielt, die durch das anschließende Verformen des dritten Schenkels nur geringfügig geschmälert wird. Durch das Verfahren wird somit ein einfaches und schnelles Verschließen eines Behälters mittels eines Spannringes mit Spannverschluß ermöglicht.
Bei dem erfindungsgemäßen Verfahren wird der dritte Schenkel mittels mindestens einer umlaufenden Rolle verformt, die gegen den dritten Schenkel drückt. Die Rolle kann angetrieben oder freidrehend sein und den dritten Schenkel umkreisen, während sie einen im wesentlichen radial nach innen gerichteten Druck auf den dritten Schenkel ausübt, so daß dieser kontinuierlich unter den Rand des Behälters gedrückt wird, um diesen zu untergreifen.
Um den dritten Schenkel zu verformen, werden die Rollen während des Umlaufens derart unter den Rand des Behälters verschwenkt, daß der über den zweiten Schenkel hinausragende Spannverschluß berührungslos untergriffen wird. Durch das Verschwenken der Rolle ist gewährleistet, daß die Rolle gegen den dritten Schenkel drücken und diesen verformen kann, ohne daß es zu einer Berührung zwischen der Rolle und dem nach unten vorstehenden Ende des Spannverschlusses kommt. Eine solche Berührung würde unweigerlich zu einer Beschädigung des Spannverschlusses oder zu einer Instabilität des Verfahrens während des Verformens des dritten Schenkels führen. Ohne das berührungslose Untergreifen müßte zugunsten eines stabileren Verfahrens auf die Verwendung von Spannringen mit über den zweiten Schenkel hinausragenden Spannverschlüssen verzichtet werden. Die Erfindung ermöglicht somit die Verwendung unterschiedlicher Spannringe.
Ein besonders stabiler Prozeß beim Verformen des dritten Schenkels wird durch eine bevorzugte Ausführungsform des Verfahrens erzielt, bei der zwei, vorzugsweise drei und besonders bevorzugt fünf Rollen eingesetzt werden, wobei die Rollen symmetrisch angeordnet sind. Auf diese Weise können sich die auf den dritten Schenkel und somit auf den Behälter aufgebrachten Kräfte im wesentlichen ausgleichen, so daß der Behälter nur leicht festgespannt sein muß.
Die erfindungsgemäße Vorrichtung zum Verschließen eines mit einem Deckel versehenen Behälters, der öffnungsseitig einen radial nach außen vorstehenden umlaufenden Rand aufweist, mittels eines Spannringes mit Spannverschluß, wobei der Spannring im Querschnitt einen den Rand des Deckels übergreifenden ersten Schenkel, einen den Rand des Deckels und den Rand des Behälters umschließenden zweiten Schenkel und einen über den Rand des Behälters nach unten vorstehenden dritten Schenkel aufweist und der Spannverschluß nach unten über den zweiten Schenkel hinausragt, weist eine Spannvorrichtung zum Festspannen des Behälters mit Deckel und Spannring auf. Unter einer Spannvorrichtung ist hierbei eine Vorrichtung zu verstehen, die den Behälter in einer Position festspannt, die trotz der nachfolgenden äußeren Belastungen beibehalten wird. Die Spannvorrichtung kann beispielsweise aus mehreren gegen den Behälter drückenden Spannbacken o. ä. bestehen. Durch die Spannvorrichtung wird der Behälter mit Deckel und Spannring auf einer Mittelachse fixiert, wobei die Mittelachse in der Regel der Mittelachse des Behälters entspricht. Die erfindungsgemäße Vorrichtung weist ferner mindestens eine Rolle auf, die auf einer Rollenachse angeordnet ist, wobei sich die Rollenachse wiederum auf einer Kreisbahn um die Mittelachse bewegt. Unabhängig von der Rotationsstellung der Rollenachse bezüglich der Mittelachse kann die Rollenachse zusätzlich in einer Ebene verschwenkt werden, in der die Mittelachse angeordnet ist. Dadurch können die Rollen in Abhängigkeit von der Schwenkposition der Rollenachse eine Kreisbahn mit einem größeren oder kleineren Radius beschreiben, sobald die Rollenachse um die Mittelachse rotiert.
Die Rollenachse ist derart verschwenkbar, daß die Rollenachse von einer ersten Position, in der der Behälter in der Spannvorrichtung festspannbar ist, in eine zweite Position verschwenkt werden kann, in der die Rolle den dritten Schenkel verformt und der dritte Schenkel den Rand des Behälters untergreift, wobei der über den zweiten Schenkel hinausragende Spannverschluß berührungslos von der mindestens einen Rolle untergreifbar ist. Der Übergang von der ersten in die zweite Position kann gleichmäßig erfolgen, so daß der dritte Schenkel des Spannringes stetig verformt werden kann.
Der wesentliche Vorteil der erfindungsgemäßen Vorrichtung besteht darin, daß es bei der Verwendung von Spannverschlüssen großer Breite, bei denen der Spannverschluß nach unten über den zweiten Schenkel hinausragt, nicht zu einer Berührung zwischen der Rolle und dem Spannverschluß kommt, was zu den oben geschilderten Nachteilen führen würde. Durch die Verschwenkbarkeit der Rollenachse ist vielmehr gewährleistet, daß die Rolle den dritten Schenkel verformen und gleichzeitig den Spannverschluß berührungslos untergreifen kann.
Um eine Berührung der Rolle mit dem Spannverschluß noch sicherer ausschließen zu können, weist die dem Spannring beim Untergreifen zugewandte Stirnseite der Rolle in einer besonders bevorzugten Ausführungsform eine umlaufende Vertiefung und/oder einen umlaufenden Ansatz auf. Unter den Stirnflächen sind die beiden Seiten einer Rolle zu verstehen. Die umlaufende Vertiefung gewährleistet, daß selbst bei einem breiten Spannverschluß das nach unten vorstehende Ende während des Rotierens der Rolle um die Mittelachse und während des Verschwenkens der Rollenachse die Stirnseite nicht berührt, da das vorstehende Ende in die Vertiefung ragen kann. Die Querschnittsform ist dabei unerheblich, solange die Funktion, nämlich die berührungslose Aufnahme des nach untenstehenden Endes des Spannverschlusses, gewährleistet ist. Analog hierzu kann auch ein umlaufender Ansatz auf der dem Spannring zugewandten Stirnseite vorgesehen sein. Dieser sollte im Berührungsbereich zwischen der Rolle und dem dritten Schenkel angeordnet sein. Der entsprechend tiefer angeordnete dahinterliegende Bereich dient dann wiederum der berührungslosen Aufnahme des nach untenstehenden Endes des Spannverschlusses. Die Vertiefung und der Ansatz können sowohl alternativ als auch kumulativ eingesetzt werden.
Vorzugsweise ist der Querschnitt der Rolle derart ausgebildet, daß sich dieser in radialer Richtung verjüngt, damit die Krafteinleitung am Spannring auf einen kleinen Bereich beschränkt bleibt. Darüber hinaus soll dadurch die Gefahr einer Kollision der Rollen mit dem Behälter an anderen Stellen aufgrund von Fertigungstoleranzen verringert werden.
Eine besonders vorteilhafte Ausführungsform der Erfindung ist dadurch gekennzeichnet, daß der Querschnitt der Rolle nasenartig ausgebildet ist. Beispielsweise kann die dem Spannring abgewandte Stirnfläche der Rolle radial nach außen abfallen, also im wesentlichen konisch ausgebildet ist, während in der dem Spannring zugewandten Stirnseite der Rolle eine umlaufende Vertiefung zur berührungslosen Aufnahme des nach unten vorstehenden Endes des Spannverschlusses vorgesehen ist.
Bei der erfindungsgemäße Vorrichtung ist die Bewegung der Spannvorrichtung vorzugsweise mit der Schwenkbewegung der Rollenachse mechanisch gekoppelt.
Die Spannvorrichtung weist in einer bevorzugten Ausführungsform einen Teller auf, der gegen den Deckel des Behälters gedrückt werden kann. Der Teller sollte dabei sowohl auf den Deckel als auch auf den Spannring drücken, um diese sicher zu fixieren. Der Teller kann weiterhin dazu dienen, den Behälter unterhalb der Spannvorrichtung zu zentrieren. Bei der derart ausgebildeten Spannvorrichtung bildet der Boden, auf dem der Behälter steht, wie beispielsweise ein Fließband, das Gegenlager.
Um die unter Bezugnahme auf das erfindungsgemäße Verfahren beschriebene Prozeßstabilität zu erzielen, sind bei einer bevorzugten Ausführungsform der erfindungsgemäßen mindestens zwei, vorzugsweise drei und besondes bevorzugt fünf symmetrisch um die Mittelachse angeordnete Rollen vorgesehen.
Im folgenden wird die Erfindung anhand eines Ausführungsbeispieles unter Bezugnahme auf die beigefügten Figuren eingehender erläutert.
Es zeigen:
Fig. 1
eine schematische Darstellung des ersten und zweiten Verfahrensschrittes des erfindungsgemäßen Verfahrens,
Fig. 2
eine schematische Darstellung des dritten Verfahrensschrittes des erfindungsgemäßen Verfahrens,
Fig. 3
eine schematische Darstellung des vierten Verfahrensschrittes des erfindungsgemäßen Verfahrens,
Fig. 4
die erfindungsgemäße Vorrichtung in geschnittener Darstellung mit der Rollenachse in einer ersten Position,
Fig. 5
die Vorrichtung von Fig. 4 mit der Rollenachse in einer zweiten Position,
Fig. 6
den Ausschnitt I von Fig. 4 in vergrößerter Darstellung mit gegen den dritten Schenkel verschwenkter Rolle,
Fig. 7
den Ausschnitt von Fig. 6 mit weiter verschwenkter Rolle und
Fig. 8
den Ausschnitt II von Fig. 5 in vergrößerter Darstellung.
Die Fig. 1 bis 3 zeigen die Verfahrensschritte des erfindungsgemäßen Verfahrens in schematischer Darstellung. Fig. 1 zeigt den ersten und zweiten Verfahrensschritt.
Der Spannring 2, der in Fig. 1 geschnitten dargestellt ist, umfaßt ein ringförmiges Element 4 und einen Spannverschluß 6.
Im unteren Bereich von Fig. 1 ist der zu verschließender Behälter 8 dargestellt. Der Behälter 8 weist öffnungsseitig einen radial nach außen weisenden Rand 10 auf, der im vorliegenden Fall von einer Randbordierung gebildet wird. In die nach oben weisende Öffnung des Behälters 8 ist ein tassenförmiger Deckel 12 eingesetzt, der einen Deckelrand 14 aufweist. Der Deckelrand 14 ist ebenfalls als Randbordierung ausgebildet und liegt auf dem Rand 10 des Behälters 8 auf.
Das ringförmige Element 4 des Spannringes 2 weist im Querschnitt einen ersten Schenkel 16 auf, der in der Lage ist, den Deckelrand 14 zu übergreifen. An den ersten Schenkel 16 schließt sich ein zweiter Schenkel 18 an, der den Rand 10 des Behälters 8 und den Deckelrand 14 von außen umschließt, wenn der Spannring 2 auf dem Behälter 8 angeordnet ist. An den zweiten Schenkel 18 schließt sich wiederum ein dritter Schenkel 20 an, der über den Rand 10 des Behälters 8 nach unten ragt, wenn der Spannring 2 auf den Behälter 8 aufgesetzt ist. In der dargestellten Ausführungsform des Spannringes 2 ist der dritte Schenkel 20 gegenüber dem zweiten Schenkel 18 leicht angewinkelt und radial nach innen geneigt, allerdings ist es ebenso möglich, den zweiten und dritten Schenkel 18,20 hintereinander fluchtend anzuordnen. Die leichte Neigung des dritten Schenkels 20 hat aber den Vorteil, daß der Knick zwischen dem zweiten und dritten Schenkel 18,20 als Sollbiegestelle im weiteren Verfahren fungieren kann.
Trotz der Neigung des dritten Schenkels 20 muß gewährleistet sein, daß der kleinste von dem dritten Schenkel 20 eingeschlossene Kreis einen Durchmesser a aufweist, der größer als der Außendurchmesser b des Randes 10 des Behälters 8 und des Deckelrandes 14 ist, so daß der dritte in Fig. 2 dargestellte Verfahrensschritt durchgeführt werden kann. Im dritten Verfahrensschritt wird der im zweiten Verfahrensschritt gespannte Spannring 2 auf den Deckel 12 in Richtung des Pfeiles A aufgesetzt. Es sei allerdings darauf hingewiesen, daß der Spannring 2 auch zuerst auf den separaten Deckel 12 aufgesetzt werden kann, um danach den Deckel 12 zusammen mit dem Spannring 2 auf den Behälter 8 aufzusetzen. Aus Fig. 2 geht insbesondere hervor, daß der erste Schenkel 16 den Deckelrand 14 nach dem Aufsetzen des Spannringes 2 übergreift, während der zweite Schenkel 18 den Deckelrand 14 und den Rand 10 des Behälters 8 umschließt und der dritte Schenkel 20 nach unten über den Rand 10 des Behälters 8 vorsteht. Mit dem dritten Verfahrensschritt wird der Spannring 2 somit in seine endgültige Lage auf dem Behälter 8 gebracht.
Im vierten Verfahrensschritt, der in Fig. 3 dargestellt ist, wird der dritte Schenkel 20 derart verformt, daß dieser den Rand 10 des Behälters 10 untergreift. In der dargestellten Ausführungsform des Verfahrens wird der dritte Schenkel 20 in Richtung der Pfeile B gebogen, wobei der Knick zwischen dem zweiten Schenkel 18 und dem radial nach innen geneigten dritten Schenkel 20 als Sollbiegestelle fungiert. Mit Hilfe dieser Sollbiegestelle kann die endgültige Form des Spannringes 2 schon vorher weitgehend festgelegt werden.
Der dritte Schenkel wird mittels umlaufender Rollen verformt, wie dies später unter Bezugnahme auf die Fig. 4 und 5 erläutert wird, wobei die Rollen während des Umlaufens unter den Rand des Behälters verschwenkt werden, wie dies ebenfalls durch die Pfeile B angedeutet ist. Da der Spannverschluß 6 breiter als der zweite Schenkel 18 und somit nach dem Verformen breiter als der fertiggestellte Spannring 2 ausgebildet ist, steht ein Teil des Spanverschlusses 6 über den zweiten Schenkel 18 nach unten hervor. Durch das erfindungsgemäße Verschwenken der Rolle ist gewährleistet, daß die Rolle gegen den dritten Schenkel 20 drücken und diesen verformen kann, ohne daß es zu einer Berührung zwischen der Rolle und dem nach unten vorstehenden Ende des Spannverschlusses 6 kommt.
Fig. 4 zeigt die erfindungsgemäße Vorrichtung in geschnittener Darstellung. Die erfindungsgemäße Vorrichtung umfaßt eine Spannvorrichtung 22 und drei Rollen 24, von denen aus Gründen der Übersichtlichkeit lediglich eine dargestellt ist. Die Spannvorrichtung 22 ist auf einer Mittelachse 26 angeordnet, die gleichzeitig die Mittelachse des Behälters 8 darstellt, der unten in der Fig. 4 zusammen mit dem Deckel 12 dargestellt ist. Die Spannvorrichtung 22 ist entlang der Mittelachse 26 verfahrbar, wie dies anhand des Pfeiles C dargestellt ist, und weist im wesentlichen ein Gestell 28, einen Schlitten 30 und einen Teller 32 auf.
Der Teller 32 ist auf den Deckel 12 und den Spannring 2 des Behälters 8 aufsetzbar und ist über eine Welle 34 drehbar in dem Gestell 28 der Spannvorrichtung 22 gelagert, wobei dies in der vorliegenden Ausführungsform über ein Rollenlager 36 erfolgt. Das Gestell umfaßt einen unteren Teil 38, in dem die Welle 34 gelagert ist, mehrere Stege 40, von denen lediglich einer dargestellt ist und die sich ausgehend von dem unteren Teil 38 parallel zur Mittelachse 26 nach oben erstrecken, und eine ringförmige Platte 42, die den Abschluß der oberen Enden der Stege 40 bildet. Der Schlitten 30 der Spannvorrichtung 22 ist auf den Stegen 40 gleitend gelagert und somit zwischen dem unteren Teil 38 und der ringförmigen Platte 42 des Gestells 28 verschiebbar angeordnet. Zwischen der nach oben weisenden Seite des unteren Teiles 38 und der dem unteren Teil 38 zugewandten Seite des Schlittens 30 ist ferner eine Druckfeder 44 angeordnet, so daß der Schlitten 30 von der Druckfeder 44 gegen die ringförmige Platte 42 gedrückt ist, wenn die Spannvorrichtung 22 entspannt ist. An der dem Schlitten 30 zugewandten Seite des unteren Teiles 38 ist darüber hinaus ein Anschlagelement 46 angeordnet, das entlang der Mittelachse 26 höhenverstellbar ist und als Anschlag für den Schlitten 30 dient. Ein Abschnitt des Schlittens 30 erstreckt sich durch die ringförmige Platte 42 und ist mit einer Antriebswelle 48 fest verbunden, wobei die Antriebswelle 48 um die Mittelachse 26 rotiert werden kann, wie dies durch den Pfeil D angedeutet ist.
Am unteren Teil 38 des Gestells 28 sind radial nach außen weisende Streben 50 befestigt, von denen wiederum lediglich eine dargestellt ist und die an ihren Enden jeweils eine Gabel 52 aufweisen. In der Gabel 52 ist ein erster Hebel 54 schwenkbar gelagert, der an seinem in Richtung des Tellers 32 weisenden Ende die Rolle 24 aufnimmt, die mittels eines Rollenlagers 56 drehbar an dem ersten Hebel 54 angeordnet ist. Der erste Hebel 54 erstreckt sich somit in Richtung der Rollenachse 58 und kann in einer Ebene verschwenkt werden, in der die Mittelachse 26 liegt. An dem der Rolle 24 abgewandten Ende des ersten Hebels 54 ist ein zweiter Hebel 60 angelenkt, dessen anderes Ende an dem Schlitten 30 der Spannvorrichtung 22 angelenkt ist.
Die Funktionsweise der erfindungsgemäßen Vorrichtung wird im folgenden anhand der Fig. 4 und 5 beschrieben. Zuerst wird die Welle 48 in eine Richtung des Pfeiles D rotiert. Diese Rotation überträgt sich über den Schlitten 30 und die Stege 40 auf das Gestell 28. Auch der Teller 32 vollzieht trotz der Rollenlagerung die Drehbewegung nach, was allerdings lediglich auf die Reibkräfte innerhalb des Rollenlagers 36 zurückzuführen und für das weitere Verfahren bedeutungslos ist. Darüber hinaus rotieren auch die Rollenachsen 58 durch Übertragung der Rotation über die Streben 50 und den zweiten Hebel 60 um die Mittelachse, so daß auch die Rollen 24 eine Kreisbahn beschreiben.
Im Anschluß daran wird die Spannvorrichtung 22 in Richtung des Pfeiles C auf den Behälter 8 gesenkt, wodurch der Teller 32 auf dem Spannring 2 und dem Deckel 12 zur Auflage kommt, wie dies in Fig. 4 dargestellt ist. Der Teller 32 ist dabei derart gestaltet, daß sich der Behälter 8 unterhalb der Spannvorrichtung 22 zentriert. Sobald der Teller 32 auf dem Behälter 8 aufsetzt, wird dessen Rotation unterbunden, so daß lediglich der Schlitten 30 und das Gestell 28 der Spannvorrichtung weiterhin rotieren. Eine Übertragung der Rotation auf den Behälter 8 ist aufgrund des Rollenlagers 36 ausgeschlossen.
Um den Behälter mit der notwendigen Stabilität festzuspannen, wird die Welle 26 weiter in Richtung des Behälters 8 verschoben. Da der Teller 32 aber bereits auf dem Behälter 8 aufliegt ist ein Verschieben der gesamten Spannvorrichtung 22 nicht mehr möglich, so daß durch ein weiteres Verschieben der Welle 26 lediglich der auf den Stegen 40 gleitend geführte Schlitten 30 entgegen der Kraft der Druckfeder 44 weiter verschoben werden kann. Die dadurch hervorgerufene Rückstellkraft der Druckfeder 44 wirkt auch auf den unteren Teil 38 des Gestells 28 und über die Welle 34 auf den Teller 32 ein, so daß der Behälter 8 mit einer vorgegebenen Kraft festgespannt wird. Die Verschiebung des Schlittens 30 in Richtung des unteren Teiles 38 des Gestells 28 bewirkt außerdem ein Verschwenken des ersten Hebels 54 durch den an dem Schlitten 30 angelenkten zweiten Hebel 60. Somit wird auch die Rolle 24 gegen den dritten Schenkel 20 des unter Bezugnahme auf die Fig. 1 beschriebenen Spannringes 2 verschwenkt und drückt beim weiteren Verschieben des Schlittens 30 in Richtung des unteren Teiles 38 gegen den dritten Schenkel 20, um diesen zu verformen. Die einzelnen Phasen dieses Verformungsvorganges sind in den Fig. 6 bis 8 dargestellt auf die später näher eingegangen werden soll.
Der Schlitten 30 wird so lange in Richtung des unteren Teiles 38 des Gestells 28 verschoben, bis dieser an dem Anschlagelement 46 anschlägt. Diese Position ist in Fig. 5 gezeigt, wobei die Rolle durch das Verschwenken der Rollenachse 58 unter den Rand 10 des Behälters 8 gelangt ist und den dritten Schenkel 20 dabei vollständig verformt bzw. unter den Rand 10 gebogen hat. Der Schließvorgang ist somit beendet und die Spannvorrichtung 22 kann wieder zurückgefahren werden, wodurch sich die oben beschriebenen Bewegungen der Vorrichtung umkehren. Fig. 5 verdeutlicht, daß durch das Verschwenken des Rollenachse 58 der Spannverschluß 6 des Spannringes 2 berührungslos untergriffen werden kann, so daß die Vorrichtung ein sicheres Verschließen des Behälters 8 ohne Kollision der Rollen 24 mit dem Spannverschluß 6 ermöglicht.
Die Fig. 6 bis 8 sollen verdeutlichen, daß das sichere Verschließen des Behälters 8 mittels des Spannringes 2 mit Spannverschluß 6 darüber hinaus auf der besonderen Ausbildung des Querschnittes der Rollen 24 beruht. Die Figuren zeigen die einzelnen Phasen des Verformungsprozesses des dritten Schenkels 20 des Spannringes 2. In Fig. 6 ist die Rolle 24 bereits gegen den dritten Schenkel 20 verschwenkt. In Fig. 7 ist die Rolle 24 noch weiter gegen den dritten Schenkel 20 verschwenkt und untergreift bereits den Rand 10 des Behälters, so daß der dritte Schenkel 20 radial nach innen gebogen wird. Fig. 8 zeigt den Ausschnitt II von Fig 5, d. h. der dritte Schenkel 20 ist bis an die Unterseite des Randes 10 gebogen, und der Spannring 2 hat somit seine endgültige Form angenommen. Die in den Fig. 6 bis 8 dargestellte Rolle 24 weist einen Querschnitt auf, der nasenartig ausgebildet ist. Die dem Spannring 2 abgewandte Stirnfläche der Rolle 24 fällt radial nach außen ab, ist also im wesentlichen konisch ausgebildet. Die dem Spannring 2 zugewandte Stirnseite der Rolle 24 weist eine umlaufende Vertiefung 62 auf, die der berührungslosen Aufnahme des nach unten vorstehenden Endes des Spannverschlusses 6 dient. Dies ist insbesondere in Fig. 8 zu erkennen. Zusammen mit der Verschwenkbarkeit der Rollenachse 58 ermöglicht diese spezielle Ausbildung der Rolle 24 somit eine kollisionsfreie Funktionsweise der erfindungsgemäßen Vorrichtung.

Claims (9)

  1. Verfahren zum Verschließen eines mit einem Deckel (12) versehenen Behälters (8) mittels eines Spannringes (2) mit Spannverschluß (6), wobei der Behälter (8) öffnungsseitig einen radial nach außen vorstehenden umlaufenden Rand (10) aufweist, mit den Verfahrensschritten
    Bereitstellen eines Spannringes (2), der im Querschnitt einen den Rand des Deckels (12) übergreifenden ersten Schenkel (16), einen den Rand des Deckels und den Rand des Behälters umschließenden zweiten Schenkel (18) und einen über den Rand des Behälters nach unten vorstehenden dritten Schenkel (20) aufweist, wobei der Spannverschluss nach unten über den zweiten Schenkel (18) hinausragt,
    Spannen des Spannverschlusses des Spannringes,
    Aufsetzen des gespannten Spannringes auf den Deckel und
    Verformen des dritten Schenkels (20) derart, daß der dritte Schenkel den Rand des Behälters untergreift,
    dadurch gekennzeichnet, daß der dritte Schenkel mindestens mittels einer gegen den dritten Schenkel drückenden, umlaufenden Rolle (24) verformt wird, wobei die mindestens eine Rolle (24) während des Umlaufens derart unter den Rand des Behälters verschwenkt wird, daß der über den zweiten Schenkel (18) hinausragende Spannverschluß (6) berührungslos untergriffen wird.
  2. Verfahren nach Anspruch 1, dadurch gekennzeichnet, daß der dritte Schenkel (20) mittels mindestens zwei, vorzugsweise drei und besonders bevorzugt fünf Rollen verformt wird, die symmetrisch angeordnet sind.
  3. Vorrichtung zum Verschließen eines mit einem Deckel (12) versehenen Behälters (8), der öffnungsseitig einen radial nach außen vorstehenden umlaufenden Rand aufweist, mittels eines Spannringes (2) mit Spannverschluß (6), wobei der Spannring im Querschnitt einen den Rand des Deckels übergreifenden ersten Schenkel, einen den Rand des Deckels und den Rand des Behälters umschließenden zweiten Schenkel und einen über den Rand des Behälters nach unten vorstehenden dritten Schenkel aufweist und der Spannverschluss nach unten über den zweiten Schenkel hinausragt, mit
    einer Spannvorrichtung (22) zum Festspannen des Behälters (8) mit Deckel (12) und Spannring (2) auf einer Mittelachse (26) und
    dadurch gechennzeichnet dass
    mindestens einer Rolle (24), die auf einer um die Mittelachse (26) rotierbaren Rollenachse (58) angeordnet ist, die in einer Ebene verschwenkbar ist, in der die Mittelachse (26) angeordnet ist,
    wobei die Rollenachse (58) von einer ersten Position, in der der Behälter (8) in der Spannvorrichtung (22) festspannbar ist, in eine zweite Position verschwenkbar ist, in der die Rolle (24) den dritten Schenkel verformt, so daß der dritte Schenkel den Rand des Behälters untergreift, wobei der über den zweiten Schenkel hinausragende Spannverschluß berührungslos von der mindestens einen Rolle untergreifbar ist.
  4. Vorrichtung nach Anspruch 3, dadurch gekennzeichnet, daß die dem Spannring (2) beim Untergreifen zugewandte Stirnseite der Rolle (24) eine umlaufende Vertiefung (62) und/oder einen umlaufenden Ansatz aufweist.
  5. Vorrichtung nach einem der Ansprüche 3 oder 4, dadurch gekennzeichnet, daß sich der Querschnitt der Rolle (24) in radialer Richtung verjüngt.
  6. Vorrichtung nach einem der Ansprüche 4 oder 5, dadurch gekennzeichnet, daß der Querschnitt der Rolle (24) nasenartig ausgebildet ist.
  7. Vorrichtung nach einem der Ansprüche 3 bis 6, dadurch gekennzeichnet, daß die Bewegung der Spannvorrichtung (22) mit der Schwenkbewegung der Rollenachsen (58) mechanisch gekoppelt ist.
  8. Vorrichtung nach einem der Ansprüche 3 bis 7, dadurch gekennzeichnet, daß die Spannvorrichtung (22) einen Teller (32) aufweist, der gegen den Deckel (32) des Behälters (8) drückbar ist.
  9. Vorrichtung nach einem der Ansprüche 3 bis 8, dadurch gekennzeichnet, daß mindestens zwei, vorzugsweise drei und besonders bevorzugt fünf symmetrisch um die Mittelachse (26) angeordnete Rollen (24) vorgesehen sind.
EP02004739A 2001-03-01 2002-03-01 Verfahren und Vorrichtung zum Verschliessen eines Behälters Expired - Lifetime EP1236645B1 (de)

Applications Claiming Priority (2)

Application Number Priority Date Filing Date Title
DE10109632A DE10109632B4 (de) 2001-03-01 2001-03-01 Verfahren und Vorrichtung zum Verschließen eines Behälters
DE10109632 2001-03-01

Publications (3)

Publication Number Publication Date
EP1236645A2 EP1236645A2 (de) 2002-09-04
EP1236645A3 EP1236645A3 (de) 2004-02-04
EP1236645B1 true EP1236645B1 (de) 2004-11-03

Family

ID=7675796

Family Applications (1)

Application Number Title Priority Date Filing Date
EP02004739A Expired - Lifetime EP1236645B1 (de) 2001-03-01 2002-03-01 Verfahren und Vorrichtung zum Verschliessen eines Behälters

Country Status (6)

Country Link
EP (1) EP1236645B1 (de)
AT (1) ATE281350T1 (de)
DE (2) DE10109632B4 (de)
DK (1) DK1236645T3 (de)
ES (1) ES2227337T3 (de)
PT (1) PT1236645E (de)

Families Citing this family (2)

* Cited by examiner, † Cited by third party
Publication number Priority date Publication date Assignee Title
DE102008053299A1 (de) 2008-10-27 2010-04-29 Muhr & Söhne GmbH + Co. KG Verschließbarer Behälter für chemische Füllgüter
CH710684A1 (de) * 2015-01-30 2016-08-15 Stebler Blech Ag Vorrichtung zum Verschliessen von Metallbehältern mit einem Einsteckdeckel.

Family Cites Families (9)

* Cited by examiner, † Cited by third party
Publication number Priority date Publication date Assignee Title
GB705759A (en) * 1951-10-06 1954-03-17 Reads Ltd Improvements relating to closures for sheet metal drums, kegs and like containers
GB750790A (en) * 1954-12-23 1956-06-20 John Feaver Ltd Improvements relating to machines for closing and sealing sheet metal containers
US3076300A (en) * 1960-11-07 1963-02-05 Grotnes Machine Works Inc Capping head for tamper-proof cap
DE1933670C3 (de) * 1969-07-02 1974-01-24 Maschinenfabrik Rissen Gmbh, 2000 Hamburg Vorrichtung zum Verbinden des Randes eines Verpackungsbehälters mit dem benachbarten Rand eines Deckels
US3674605A (en) * 1969-11-28 1972-07-04 Aluminium Francais Process for the assembly of sheets and apparatus for same
CH614416A5 (de) * 1977-05-23 1979-11-30 Mueller Ernst Ag
DE9012138U1 (de) * 1990-07-24 1990-10-18 Stebler & Co AG, Nunningen Spannring zum Festhalten eines Deckels in einem Eimer und Vorrichtung zum Schliessen dieses Spannringes
EP1028066A3 (de) * 1999-02-07 2004-11-24 Impress GmbH & Co. oHG Verschliessen von eimerförmigen Behältern
DE29909398U1 (de) * 1999-05-31 1999-11-25 Horn, Klaus, 21409 Embsen Schließvorrichtung zum Schließen eines Behälters mit einem Deckel durch einen radial gespaltenen Spannring

Also Published As

Publication number Publication date
PT1236645E (pt) 2005-01-31
DE50201423D1 (de) 2004-12-09
DK1236645T3 (da) 2005-01-24
DE10109632B4 (de) 2005-07-28
ATE281350T1 (de) 2004-11-15
DE10109632A1 (de) 2002-09-19
EP1236645A2 (de) 2002-09-04
ES2227337T3 (es) 2005-04-01
EP1236645A3 (de) 2004-02-04

Similar Documents

Publication Publication Date Title
DE4234115C2 (de) Typenwechselvorrichtung bei einer Dosenverschließmaschine
DE69828209T2 (de) Flanschreformierung
EP1853408B1 (de) Vorrichtung und verfahren zum herstellen einer schraubverbindung zwischen einem ersten bauteil und mindestens einem weiteren bauteil
WO1994012296A1 (de) Presswerkzeug
EP2025471A2 (de) Niederzugspanner
WO1994012297A1 (de) Presswerkzeug
DE1928490A1 (de) Schlossmutteranordnung
DE69303122T2 (de) Verbesserungen an Vorrichtungen zum Formen von Flanschen an Dosen
DE2114004A1 (de) Klemmvorrichtung
DE19503682C1 (de) Schnellwechselvorrichtung für Walzscheiben
DE2510543B2 (de) Vorrichtung zum gleichzeitigen Aushalsen und Bördeln von Metalldosen
DE69514982T2 (de) Verfahren und Vorrichtung zum Verlängern und zum Entspannen eines Zapfens oder dergleichen
EP1236645B1 (de) Verfahren und Vorrichtung zum Verschliessen eines Behälters
WO2016062515A1 (de) Presswerkzeug
DE2132642A1 (de) Einwickelwalzenanordnung fuer eine Muenzverpackungsmaschine
EP1167222B1 (de) Behälter mit Randbordierung und Verfahren zur Herstellung der Randbordierung
EP2998258B1 (de) Folienaufwickelvorrichtung für eine Verpackungsmaschine
EP0882650A1 (de) Verfahren zum Verbinden eines Unterteils eines Verpackungsbehälters mit einem Verschlusselement
DE2611175C3 (de) Schlauchbefestigungsvorrichtung
DE2503664A1 (de) Anrollkopf fuer flaschenstopfen- schutzkapseln
DE3210448A1 (de) Schnellspannmutter
DE102017128474B3 (de) Rohrschneidemaschine mit Schneiddorn
DE812488C (de) Kegelrollenlager und Verfahren zu seinem Zusammenbau
DE2553556B2 (de) Verstellvorrichtung an fotografischen VergröBerungs- oder Reprogeräten
EP3828015B1 (de) Vorrichtung zum spannen einer felge eines fahrzeugrades

Legal Events

Date Code Title Description
PUAI Public reference made under article 153(3) epc to a published international application that has entered the european phase

Free format text: ORIGINAL CODE: 0009012

AK Designated contracting states

Kind code of ref document: A2

Designated state(s): AT BE CH CY DE DK ES FI FR GB GR IE IT LI LU MC NL PT SE TR

AX Request for extension of the european patent

Free format text: AL;LT;LV;MK;RO;SI

PUAL Search report despatched

Free format text: ORIGINAL CODE: 0009013

AK Designated contracting states

Kind code of ref document: A3

Designated state(s): AT BE CH CY DE DK ES FI FR GB GR IE IT LI LU MC NL PT SE TR

AX Request for extension of the european patent

Extension state: AL LT LV MK RO SI

17P Request for examination filed

Effective date: 20040302

GRAP Despatch of communication of intention to grant a patent

Free format text: ORIGINAL CODE: EPIDOSNIGR1

GRAS Grant fee paid

Free format text: ORIGINAL CODE: EPIDOSNIGR3

GRAA (expected) grant

Free format text: ORIGINAL CODE: 0009210

AKX Designation fees paid

Designated state(s): AT BE CH CY DE DK ES FI FR GB GR IE IT LI LU MC NL PT SE TR

AK Designated contracting states

Kind code of ref document: B1

Designated state(s): AT BE CH CY DE DK ES FI FR GB GR IE IT LI LU MC NL PT SE TR

PG25 Lapsed in a contracting state [announced via postgrant information from national office to epo]

Ref country code: FI

Free format text: LAPSE BECAUSE OF FAILURE TO SUBMIT A TRANSLATION OF THE DESCRIPTION OR TO PAY THE FEE WITHIN THE PRESCRIBED TIME-LIMIT

Effective date: 20041103

Ref country code: IE

Free format text: LAPSE BECAUSE OF FAILURE TO SUBMIT A TRANSLATION OF THE DESCRIPTION OR TO PAY THE FEE WITHIN THE PRESCRIBED TIME-LIMIT

Effective date: 20041103

REG Reference to a national code

Ref country code: GB

Ref legal event code: FG4D

Free format text: NOT ENGLISH

REG Reference to a national code

Ref country code: CH

Ref legal event code: EP

REF Corresponds to:

Ref document number: 50201423

Country of ref document: DE

Date of ref document: 20041209

Kind code of ref document: P

REG Reference to a national code

Ref country code: IE

Ref legal event code: FG4D

Free format text: GERMAN

REG Reference to a national code

Ref country code: SE

Ref legal event code: TRGR

REG Reference to a national code

Ref country code: DK

Ref legal event code: T3

REG Reference to a national code

Ref country code: PT

Ref legal event code: SC4A

Effective date: 20041117

GBT Gb: translation of ep patent filed (gb section 77(6)(a)/1977)

Effective date: 20050106

PG25 Lapsed in a contracting state [announced via postgrant information from national office to epo]

Ref country code: GR

Free format text: LAPSE BECAUSE OF FAILURE TO SUBMIT A TRANSLATION OF THE DESCRIPTION OR TO PAY THE FEE WITHIN THE PRESCRIBED TIME-LIMIT

Effective date: 20050203

PG25 Lapsed in a contracting state [announced via postgrant information from national office to epo]

Ref country code: CY

Free format text: LAPSE BECAUSE OF FAILURE TO SUBMIT A TRANSLATION OF THE DESCRIPTION OR TO PAY THE FEE WITHIN THE PRESCRIBED TIME-LIMIT

Effective date: 20050301

Ref country code: LU

Free format text: LAPSE BECAUSE OF NON-PAYMENT OF DUE FEES

Effective date: 20050301

PG25 Lapsed in a contracting state [announced via postgrant information from national office to epo]

Ref country code: MC

Free format text: LAPSE BECAUSE OF NON-PAYMENT OF DUE FEES

Effective date: 20050331

REG Reference to a national code

Ref country code: ES

Ref legal event code: FG2A

Ref document number: 2227337

Country of ref document: ES

Kind code of ref document: T3

REG Reference to a national code

Ref country code: IE

Ref legal event code: FD4D

PLBE No opposition filed within time limit

Free format text: ORIGINAL CODE: 0009261

STAA Information on the status of an ep patent application or granted ep patent

Free format text: STATUS: NO OPPOSITION FILED WITHIN TIME LIMIT

ET Fr: translation filed
26N No opposition filed

Effective date: 20050804

REG Reference to a national code

Ref country code: DE

Ref legal event code: R082

Ref document number: 50201423

Country of ref document: DE

Representative=s name: FRANK OPPERMANN, DE

Ref country code: DE

Ref legal event code: R082

Ref document number: 50201423

Country of ref document: DE

Representative=s name: OPPERMANN, FRANK, DIPL.-ING., DE

REG Reference to a national code

Ref country code: DE

Ref legal event code: R082

Ref document number: 50201423

Country of ref document: DE

Representative=s name: FRANK OPPERMANN, DE

Ref country code: DE

Ref legal event code: R082

Ref document number: 50201423

Country of ref document: DE

Representative=s name: OPPERMANN, FRANK, DIPL.-ING., DE

REG Reference to a national code

Ref country code: DE

Ref legal event code: R082

Ref document number: 50201423

Country of ref document: DE

Representative=s name: FRANK OPPERMANN, DE

Ref country code: DE

Ref legal event code: R082

Ref document number: 50201423

Country of ref document: DE

Representative=s name: OPPERMANN, FRANK, DIPL.-ING., DE

REG Reference to a national code

Ref country code: FR

Ref legal event code: PLFP

Year of fee payment: 15

REG Reference to a national code

Ref country code: FR

Ref legal event code: PLFP

Year of fee payment: 16

REG Reference to a national code

Ref country code: FR

Ref legal event code: PLFP

Year of fee payment: 17

PGFP Annual fee paid to national office [announced via postgrant information from national office to epo]

Ref country code: CH

Payment date: 20210324

Year of fee payment: 20

Ref country code: FR

Payment date: 20210322

Year of fee payment: 20

Ref country code: PT

Payment date: 20210222

Year of fee payment: 20

Ref country code: NL

Payment date: 20210319

Year of fee payment: 20

PGFP Annual fee paid to national office [announced via postgrant information from national office to epo]

Ref country code: AT

Payment date: 20210318

Year of fee payment: 20

Ref country code: DE

Payment date: 20210225

Year of fee payment: 20

Ref country code: BE

Payment date: 20210322

Year of fee payment: 20

Ref country code: TR

Payment date: 20210301

Year of fee payment: 20

Ref country code: SE

Payment date: 20210323

Year of fee payment: 20

Ref country code: GB

Payment date: 20210324

Year of fee payment: 20

Ref country code: DK

Payment date: 20210323

Year of fee payment: 20

PGFP Annual fee paid to national office [announced via postgrant information from national office to epo]

Ref country code: IT

Payment date: 20210331

Year of fee payment: 20

PGFP Annual fee paid to national office [announced via postgrant information from national office to epo]

Ref country code: ES

Payment date: 20210421

Year of fee payment: 20

REG Reference to a national code

Ref country code: DE

Ref legal event code: R071

Ref document number: 50201423

Country of ref document: DE

REG Reference to a national code

Ref country code: NL

Ref legal event code: MK

Effective date: 20220228

REG Reference to a national code

Ref country code: DK

Ref legal event code: EUP

Expiry date: 20220301

REG Reference to a national code

Ref country code: CH

Ref legal event code: PL

REG Reference to a national code

Ref country code: GB

Ref legal event code: PE20

Expiry date: 20220228

REG Reference to a national code

Ref country code: BE

Ref legal event code: MK

Effective date: 20220301

REG Reference to a national code

Ref country code: AT

Ref legal event code: MK07

Ref document number: 281350

Country of ref document: AT

Kind code of ref document: T

Effective date: 20220301

PG25 Lapsed in a contracting state [announced via postgrant information from national office to epo]

Ref country code: GB

Free format text: LAPSE BECAUSE OF EXPIRATION OF PROTECTION

Effective date: 20220228

REG Reference to a national code

Ref country code: SE

Ref legal event code: EUG

PG25 Lapsed in a contracting state [announced via postgrant information from national office to epo]

Ref country code: PT

Free format text: LAPSE BECAUSE OF EXPIRATION OF PROTECTION

Effective date: 20220310

REG Reference to a national code

Ref country code: ES

Ref legal event code: FD2A

Effective date: 20220624

PG25 Lapsed in a contracting state [announced via postgrant information from national office to epo]

Ref country code: ES

Free format text: LAPSE BECAUSE OF EXPIRATION OF PROTECTION

Effective date: 20220302