EP1109675B1 - Procede et produit de protection d'un objet par une impression de securite a liant soluble - Google Patents
Procede et produit de protection d'un objet par une impression de securite a liant soluble Download PDFInfo
- Publication number
- EP1109675B1 EP1109675B1 EP00927347A EP00927347A EP1109675B1 EP 1109675 B1 EP1109675 B1 EP 1109675B1 EP 00927347 A EP00927347 A EP 00927347A EP 00927347 A EP00927347 A EP 00927347A EP 1109675 B1 EP1109675 B1 EP 1109675B1
- Authority
- EP
- European Patent Office
- Prior art keywords
- film
- adhesive
- agent
- security
- imprint
- Prior art date
- Legal status (The legal status is an assumption and is not a legal conclusion. Google has not performed a legal analysis and makes no representation as to the accuracy of the status listed.)
- Expired - Lifetime
Links
- 238000000034 method Methods 0.000 title claims description 29
- 239000011230 binding agent Substances 0.000 title description 46
- 239000000853 adhesive Substances 0.000 claims abstract description 81
- 230000001070 adhesive effect Effects 0.000 claims abstract description 77
- 239000003795 chemical substances by application Substances 0.000 claims abstract description 75
- 239000000049 pigment Substances 0.000 claims abstract description 60
- 239000002904 solvent Substances 0.000 claims abstract description 59
- 239000000203 mixture Substances 0.000 claims abstract description 52
- 230000001681 protective effect Effects 0.000 claims abstract description 25
- 229920002994 synthetic fiber Polymers 0.000 claims abstract description 15
- 239000007767 bonding agent Substances 0.000 claims abstract 14
- 239000010410 layer Substances 0.000 claims description 53
- 238000007650 screen-printing Methods 0.000 claims description 19
- 239000007788 liquid Substances 0.000 claims description 18
- 238000001035 drying Methods 0.000 claims description 17
- -1 polypropylene Polymers 0.000 claims description 14
- 239000007787 solid Substances 0.000 claims description 12
- 125000000217 alkyl group Chemical group 0.000 claims description 10
- 239000004793 Polystyrene Substances 0.000 claims description 8
- 229920000642 polymer Polymers 0.000 claims description 8
- 229920002223 polystyrene Polymers 0.000 claims description 8
- 239000002966 varnish Substances 0.000 claims description 8
- 150000001875 compounds Chemical class 0.000 claims description 7
- 229920001577 copolymer Polymers 0.000 claims description 7
- 125000000959 isobutyl group Chemical group [H]C([H])([H])C([H])(C([H])([H])[H])C([H])([H])* 0.000 claims description 7
- 229920000728 polyester Polymers 0.000 claims description 7
- 239000002356 single layer Substances 0.000 claims description 7
- XLYOFNOQVPJJNP-UHFFFAOYSA-N water Substances O XLYOFNOQVPJJNP-UHFFFAOYSA-N 0.000 claims description 7
- 229920000193 polymethacrylate Polymers 0.000 claims description 6
- 238000004026 adhesive bonding Methods 0.000 claims description 5
- 239000004698 Polyethylene Substances 0.000 claims description 4
- 239000004743 Polypropylene Substances 0.000 claims description 4
- 150000001252 acrylic acid derivatives Chemical class 0.000 claims description 4
- 229920000573 polyethylene Polymers 0.000 claims description 4
- 229920001155 polypropylene Polymers 0.000 claims description 4
- 229920002635 polyurethane Polymers 0.000 claims description 4
- 239000004814 polyurethane Substances 0.000 claims description 4
- 239000006193 liquid solution Substances 0.000 claims description 3
- RUOJZAUFBMNUDX-UHFFFAOYSA-N propylene carbonate Chemical compound CC1COC(=O)O1 RUOJZAUFBMNUDX-UHFFFAOYSA-N 0.000 claims description 2
- 239000000976 ink Substances 0.000 claims 4
- 150000002734 metacrylic acid derivatives Chemical class 0.000 claims 3
- 238000007865 diluting Methods 0.000 claims 1
- 238000007639 printing Methods 0.000 description 73
- 239000012790 adhesive layer Substances 0.000 description 34
- 239000002798 polar solvent Substances 0.000 description 15
- 239000012454 non-polar solvent Substances 0.000 description 12
- 239000000243 solution Substances 0.000 description 11
- 238000004519 manufacturing process Methods 0.000 description 8
- 239000004972 Polyurethane varnish Substances 0.000 description 7
- 239000003153 chemical reaction reagent Substances 0.000 description 7
- 238000006116 polymerization reaction Methods 0.000 description 7
- 239000003570 air Substances 0.000 description 4
- 238000007605 air drying Methods 0.000 description 4
- 238000006243 chemical reaction Methods 0.000 description 4
- 230000000694 effects Effects 0.000 description 4
- 125000000391 vinyl group Chemical group [H]C([*])=C([H])[H] 0.000 description 4
- 239000004820 Pressure-sensitive adhesive Substances 0.000 description 3
- 239000003086 colorant Substances 0.000 description 3
- 239000005098 photoluminescent agent Substances 0.000 description 3
- CSCPPACGZOOCGX-UHFFFAOYSA-N Acetone Chemical compound CC(C)=O CSCPPACGZOOCGX-UHFFFAOYSA-N 0.000 description 2
- 239000004925 Acrylic resin Substances 0.000 description 2
- 241000282461 Canis lupus Species 0.000 description 2
- BVKZGUZCCUSVTD-UHFFFAOYSA-L Carbonate Chemical compound [O-]C([O-])=O BVKZGUZCCUSVTD-UHFFFAOYSA-L 0.000 description 2
- RTZKZFJDLAIYFH-UHFFFAOYSA-N Diethyl ether Chemical compound CCOCC RTZKZFJDLAIYFH-UHFFFAOYSA-N 0.000 description 2
- QQONPFPTGQHPMA-UHFFFAOYSA-N Propene Chemical compound CC=C QQONPFPTGQHPMA-UHFFFAOYSA-N 0.000 description 2
- 230000001464 adherent effect Effects 0.000 description 2
- 150000001338 aliphatic hydrocarbons Chemical class 0.000 description 2
- 125000005250 alkyl acrylate group Chemical group 0.000 description 2
- 150000007942 carboxylates Chemical group 0.000 description 2
- 239000003292 glue Substances 0.000 description 2
- 229930195733 hydrocarbon Natural products 0.000 description 2
- 150000002430 hydrocarbons Chemical class 0.000 description 2
- 238000005286 illumination Methods 0.000 description 2
- 239000000463 material Substances 0.000 description 2
- 229920001296 polysiloxane Polymers 0.000 description 2
- 239000011241 protective layer Substances 0.000 description 2
- 230000009257 reactivity Effects 0.000 description 2
- 230000007928 solubilization Effects 0.000 description 2
- 238000005063 solubilization Methods 0.000 description 2
- 229920002554 vinyl polymer Polymers 0.000 description 2
- 239000000080 wetting agent Substances 0.000 description 2
- 229920000178 Acrylic resin Polymers 0.000 description 1
- OKTJSMMVPCPJKN-UHFFFAOYSA-N Carbon Chemical group [C] OKTJSMMVPCPJKN-UHFFFAOYSA-N 0.000 description 1
- 241000518994 Conta Species 0.000 description 1
- 229920000742 Cotton Polymers 0.000 description 1
- LFQSCWFLJHTTHZ-UHFFFAOYSA-N Ethanol Chemical compound CCO LFQSCWFLJHTTHZ-UHFFFAOYSA-N 0.000 description 1
- 239000005057 Hexamethylene diisocyanate Substances 0.000 description 1
- 239000004831 Hot glue Substances 0.000 description 1
- 239000004823 Reactive adhesive Substances 0.000 description 1
- 240000008042 Zea mays Species 0.000 description 1
- NIXOWILDQLNWCW-UHFFFAOYSA-N acrylic acid group Chemical group C(C=C)(=O)O NIXOWILDQLNWCW-UHFFFAOYSA-N 0.000 description 1
- 239000003522 acrylic cement Substances 0.000 description 1
- 230000001476 alcoholic effect Effects 0.000 description 1
- 150000001298 alcohols Chemical class 0.000 description 1
- 125000005599 alkyl carboxylate group Chemical group 0.000 description 1
- 239000012080 ambient air Substances 0.000 description 1
- 239000002518 antifoaming agent Substances 0.000 description 1
- 239000012298 atmosphere Substances 0.000 description 1
- 229910052799 carbon Inorganic materials 0.000 description 1
- 125000004432 carbon atom Chemical group C* 0.000 description 1
- 150000001733 carboxylic acid esters Chemical group 0.000 description 1
- 230000008859 change Effects 0.000 description 1
- 238000001311 chemical methods and process Methods 0.000 description 1
- 238000004040 coloring Methods 0.000 description 1
- 230000007423 decrease Effects 0.000 description 1
- 238000001514 detection method Methods 0.000 description 1
- 239000003599 detergent Substances 0.000 description 1
- 239000006185 dispersion Substances 0.000 description 1
- 238000005530 etching Methods 0.000 description 1
- RRAMGCGOFNQTLD-UHFFFAOYSA-N hexamethylene diisocyanate Chemical compound O=C=NCCCCCCN=C=O RRAMGCGOFNQTLD-UHFFFAOYSA-N 0.000 description 1
- 238000010348 incorporation Methods 0.000 description 1
- 238000007641 inkjet printing Methods 0.000 description 1
- 229910052500 inorganic mineral Inorganic materials 0.000 description 1
- 230000003993 interaction Effects 0.000 description 1
- 239000012948 isocyanate Chemical class 0.000 description 1
- 150000002513 isocyanates Chemical class 0.000 description 1
- 238000007648 laser printing Methods 0.000 description 1
- 230000007774 longterm Effects 0.000 description 1
- 239000011707 mineral Substances 0.000 description 1
- 239000000178 monomer Substances 0.000 description 1
- 238000004806 packaging method and process Methods 0.000 description 1
- 239000004014 plasticizer Substances 0.000 description 1
- 229920005862 polyol Polymers 0.000 description 1
- 150000003077 polyols Chemical class 0.000 description 1
- 229920006264 polyurethane film Polymers 0.000 description 1
- 230000008569 process Effects 0.000 description 1
- 239000000376 reactant Substances 0.000 description 1
- 239000012088 reference solution Substances 0.000 description 1
- 238000009877 rendering Methods 0.000 description 1
- 239000003340 retarding agent Substances 0.000 description 1
- 238000005096 rolling process Methods 0.000 description 1
- 238000010008 shearing Methods 0.000 description 1
- 239000000126 substance Substances 0.000 description 1
- 238000012360 testing method Methods 0.000 description 1
- 229920005992 thermoplastic resin Polymers 0.000 description 1
- 238000013519 translation Methods 0.000 description 1
- 230000001960 triggered effect Effects 0.000 description 1
- 230000000007 visual effect Effects 0.000 description 1
- 238000012800 visualization Methods 0.000 description 1
- 239000002023 wood Substances 0.000 description 1
Images
Classifications
-
- B—PERFORMING OPERATIONS; TRANSPORTING
- B41—PRINTING; LINING MACHINES; TYPEWRITERS; STAMPS
- B41M—PRINTING, DUPLICATING, MARKING, OR COPYING PROCESSES; COLOUR PRINTING
- B41M3/00—Printing processes to produce particular kinds of printed work, e.g. patterns
- B41M3/14—Security printing
-
- B—PERFORMING OPERATIONS; TRANSPORTING
- B42—BOOKBINDING; ALBUMS; FILES; SPECIAL PRINTED MATTER
- B42D—BOOKS; BOOK COVERS; LOOSE LEAVES; PRINTED MATTER CHARACTERISED BY IDENTIFICATION OR SECURITY FEATURES; PRINTED MATTER OF SPECIAL FORMAT OR STYLE NOT OTHERWISE PROVIDED FOR; DEVICES FOR USE THEREWITH AND NOT OTHERWISE PROVIDED FOR; MOVABLE-STRIP WRITING OR READING APPARATUS
- B42D25/00—Information-bearing cards or sheet-like structures characterised by identification or security features; Manufacture thereof
-
- B—PERFORMING OPERATIONS; TRANSPORTING
- B42—BOOKBINDING; ALBUMS; FILES; SPECIAL PRINTED MATTER
- B42D—BOOKS; BOOK COVERS; LOOSE LEAVES; PRINTED MATTER CHARACTERISED BY IDENTIFICATION OR SECURITY FEATURES; PRINTED MATTER OF SPECIAL FORMAT OR STYLE NOT OTHERWISE PROVIDED FOR; DEVICES FOR USE THEREWITH AND NOT OTHERWISE PROVIDED FOR; MOVABLE-STRIP WRITING OR READING APPARATUS
- B42D25/00—Information-bearing cards or sheet-like structures characterised by identification or security features; Manufacture thereof
- B42D25/30—Identification or security features, e.g. for preventing forgery
- B42D25/36—Identification or security features, e.g. for preventing forgery comprising special materials
- B42D25/378—Special inks
-
- B—PERFORMING OPERATIONS; TRANSPORTING
- B42—BOOKBINDING; ALBUMS; FILES; SPECIAL PRINTED MATTER
- B42D—BOOKS; BOOK COVERS; LOOSE LEAVES; PRINTED MATTER CHARACTERISED BY IDENTIFICATION OR SECURITY FEATURES; PRINTED MATTER OF SPECIAL FORMAT OR STYLE NOT OTHERWISE PROVIDED FOR; DEVICES FOR USE THEREWITH AND NOT OTHERWISE PROVIDED FOR; MOVABLE-STRIP WRITING OR READING APPARATUS
- B42D25/00—Information-bearing cards or sheet-like structures characterised by identification or security features; Manufacture thereof
- B42D25/40—Manufacture
- B42D25/45—Associating two or more layers
- B42D25/46—Associating two or more layers using pressure
-
- B—PERFORMING OPERATIONS; TRANSPORTING
- B42—BOOKBINDING; ALBUMS; FILES; SPECIAL PRINTED MATTER
- B42D—BOOKS; BOOK COVERS; LOOSE LEAVES; PRINTED MATTER CHARACTERISED BY IDENTIFICATION OR SECURITY FEATURES; PRINTED MATTER OF SPECIAL FORMAT OR STYLE NOT OTHERWISE PROVIDED FOR; DEVICES FOR USE THEREWITH AND NOT OTHERWISE PROVIDED FOR; MOVABLE-STRIP WRITING OR READING APPARATUS
- B42D25/00—Information-bearing cards or sheet-like structures characterised by identification or security features; Manufacture thereof
- B42D25/40—Manufacture
- B42D25/45—Associating two or more layers
- B42D25/465—Associating two or more layers using chemicals or adhesives
- B42D25/47—Associating two or more layers using chemicals or adhesives using adhesives
-
- Y—GENERAL TAGGING OF NEW TECHNOLOGICAL DEVELOPMENTS; GENERAL TAGGING OF CROSS-SECTIONAL TECHNOLOGIES SPANNING OVER SEVERAL SECTIONS OF THE IPC; TECHNICAL SUBJECTS COVERED BY FORMER USPC CROSS-REFERENCE ART COLLECTIONS [XRACs] AND DIGESTS
- Y10—TECHNICAL SUBJECTS COVERED BY FORMER USPC
- Y10T—TECHNICAL SUBJECTS COVERED BY FORMER US CLASSIFICATION
- Y10T428/00—Stock material or miscellaneous articles
- Y10T428/24—Structurally defined web or sheet [e.g., overall dimension, etc.]
- Y10T428/24802—Discontinuous or differential coating, impregnation or bond [e.g., artwork, printing, retouched photograph, etc.]
-
- Y—GENERAL TAGGING OF NEW TECHNOLOGICAL DEVELOPMENTS; GENERAL TAGGING OF CROSS-SECTIONAL TECHNOLOGIES SPANNING OVER SEVERAL SECTIONS OF THE IPC; TECHNICAL SUBJECTS COVERED BY FORMER USPC CROSS-REFERENCE ART COLLECTIONS [XRACs] AND DIGESTS
- Y10—TECHNICAL SUBJECTS COVERED BY FORMER USPC
- Y10T—TECHNICAL SUBJECTS COVERED BY FORMER US CLASSIFICATION
- Y10T428/00—Stock material or miscellaneous articles
- Y10T428/24—Structurally defined web or sheet [e.g., overall dimension, etc.]
- Y10T428/24802—Discontinuous or differential coating, impregnation or bond [e.g., artwork, printing, retouched photograph, etc.]
- Y10T428/24826—Spot bonds connect components
-
- Y—GENERAL TAGGING OF NEW TECHNOLOGICAL DEVELOPMENTS; GENERAL TAGGING OF CROSS-SECTIONAL TECHNOLOGIES SPANNING OVER SEVERAL SECTIONS OF THE IPC; TECHNICAL SUBJECTS COVERED BY FORMER USPC CROSS-REFERENCE ART COLLECTIONS [XRACs] AND DIGESTS
- Y10—TECHNICAL SUBJECTS COVERED BY FORMER USPC
- Y10T—TECHNICAL SUBJECTS COVERED BY FORMER US CLASSIFICATION
- Y10T428/00—Stock material or miscellaneous articles
- Y10T428/24—Structurally defined web or sheet [e.g., overall dimension, etc.]
- Y10T428/24802—Discontinuous or differential coating, impregnation or bond [e.g., artwork, printing, retouched photograph, etc.]
- Y10T428/24835—Discontinuous or differential coating, impregnation or bond [e.g., artwork, printing, retouched photograph, etc.] including developable image or soluble portion in coating or impregnation [e.g., safety paper, etc.]
-
- Y—GENERAL TAGGING OF NEW TECHNOLOGICAL DEVELOPMENTS; GENERAL TAGGING OF CROSS-SECTIONAL TECHNOLOGIES SPANNING OVER SEVERAL SECTIONS OF THE IPC; TECHNICAL SUBJECTS COVERED BY FORMER USPC CROSS-REFERENCE ART COLLECTIONS [XRACs] AND DIGESTS
- Y10—TECHNICAL SUBJECTS COVERED BY FORMER USPC
- Y10T—TECHNICAL SUBJECTS COVERED BY FORMER US CLASSIFICATION
- Y10T428/00—Stock material or miscellaneous articles
- Y10T428/24—Structurally defined web or sheet [e.g., overall dimension, etc.]
- Y10T428/24802—Discontinuous or differential coating, impregnation or bond [e.g., artwork, printing, retouched photograph, etc.]
- Y10T428/24851—Intermediate layer is discontinuous or differential
-
- Y—GENERAL TAGGING OF NEW TECHNOLOGICAL DEVELOPMENTS; GENERAL TAGGING OF CROSS-SECTIONAL TECHNOLOGIES SPANNING OVER SEVERAL SECTIONS OF THE IPC; TECHNICAL SUBJECTS COVERED BY FORMER USPC CROSS-REFERENCE ART COLLECTIONS [XRACs] AND DIGESTS
- Y10—TECHNICAL SUBJECTS COVERED BY FORMER USPC
- Y10T—TECHNICAL SUBJECTS COVERED BY FORMER US CLASSIFICATION
- Y10T428/00—Stock material or miscellaneous articles
- Y10T428/24—Structurally defined web or sheet [e.g., overall dimension, etc.]
- Y10T428/24802—Discontinuous or differential coating, impregnation or bond [e.g., artwork, printing, retouched photograph, etc.]
- Y10T428/24893—Discontinuous or differential coating, impregnation or bond [e.g., artwork, printing, retouched photograph, etc.] including particulate material
- Y10T428/24901—Discontinuous or differential coating, impregnation or bond [e.g., artwork, printing, retouched photograph, etc.] including particulate material including coloring matter
-
- Y—GENERAL TAGGING OF NEW TECHNOLOGICAL DEVELOPMENTS; GENERAL TAGGING OF CROSS-SECTIONAL TECHNOLOGIES SPANNING OVER SEVERAL SECTIONS OF THE IPC; TECHNICAL SUBJECTS COVERED BY FORMER USPC CROSS-REFERENCE ART COLLECTIONS [XRACs] AND DIGESTS
- Y10—TECHNICAL SUBJECTS COVERED BY FORMER USPC
- Y10T—TECHNICAL SUBJECTS COVERED BY FORMER US CLASSIFICATION
- Y10T428/00—Stock material or miscellaneous articles
- Y10T428/24—Structurally defined web or sheet [e.g., overall dimension, etc.]
- Y10T428/24942—Structurally defined web or sheet [e.g., overall dimension, etc.] including components having same physical characteristic in differing degree
- Y10T428/2495—Thickness [relative or absolute]
-
- Y—GENERAL TAGGING OF NEW TECHNOLOGICAL DEVELOPMENTS; GENERAL TAGGING OF CROSS-SECTIONAL TECHNOLOGIES SPANNING OVER SEVERAL SECTIONS OF THE IPC; TECHNICAL SUBJECTS COVERED BY FORMER USPC CROSS-REFERENCE ART COLLECTIONS [XRACs] AND DIGESTS
- Y10—TECHNICAL SUBJECTS COVERED BY FORMER USPC
- Y10T—TECHNICAL SUBJECTS COVERED BY FORMER US CLASSIFICATION
- Y10T428/00—Stock material or miscellaneous articles
- Y10T428/24—Structurally defined web or sheet [e.g., overall dimension, etc.]
- Y10T428/24942—Structurally defined web or sheet [e.g., overall dimension, etc.] including components having same physical characteristic in differing degree
- Y10T428/2495—Thickness [relative or absolute]
- Y10T428/24967—Absolute thicknesses specified
- Y10T428/24975—No layer or component greater than 5 mils thick
-
- Y—GENERAL TAGGING OF NEW TECHNOLOGICAL DEVELOPMENTS; GENERAL TAGGING OF CROSS-SECTIONAL TECHNOLOGIES SPANNING OVER SEVERAL SECTIONS OF THE IPC; TECHNICAL SUBJECTS COVERED BY FORMER USPC CROSS-REFERENCE ART COLLECTIONS [XRACs] AND DIGESTS
- Y10—TECHNICAL SUBJECTS COVERED BY FORMER USPC
- Y10T—TECHNICAL SUBJECTS COVERED BY FORMER US CLASSIFICATION
- Y10T428/00—Stock material or miscellaneous articles
- Y10T428/26—Web or sheet containing structurally defined element or component, the element or component having a specified physical dimension
- Y10T428/269—Web or sheet containing structurally defined element or component, the element or component having a specified physical dimension including synthetic resin or polymer layer or component
-
- Y—GENERAL TAGGING OF NEW TECHNOLOGICAL DEVELOPMENTS; GENERAL TAGGING OF CROSS-SECTIONAL TECHNOLOGIES SPANNING OVER SEVERAL SECTIONS OF THE IPC; TECHNICAL SUBJECTS COVERED BY FORMER USPC CROSS-REFERENCE ART COLLECTIONS [XRACs] AND DIGESTS
- Y10—TECHNICAL SUBJECTS COVERED BY FORMER USPC
- Y10T—TECHNICAL SUBJECTS COVERED BY FORMER US CLASSIFICATION
- Y10T428/00—Stock material or miscellaneous articles
- Y10T428/28—Web or sheet containing structurally defined element or component and having an adhesive outermost layer
- Y10T428/2813—Heat or solvent activated or sealable
-
- Y—GENERAL TAGGING OF NEW TECHNOLOGICAL DEVELOPMENTS; GENERAL TAGGING OF CROSS-SECTIONAL TECHNOLOGIES SPANNING OVER SEVERAL SECTIONS OF THE IPC; TECHNICAL SUBJECTS COVERED BY FORMER USPC CROSS-REFERENCE ART COLLECTIONS [XRACs] AND DIGESTS
- Y10—TECHNICAL SUBJECTS COVERED BY FORMER USPC
- Y10T—TECHNICAL SUBJECTS COVERED BY FORMER US CLASSIFICATION
- Y10T428/00—Stock material or miscellaneous articles
- Y10T428/31504—Composite [nonstructural laminate]
- Y10T428/31551—Of polyamidoester [polyurethane, polyisocyanate, polycarbamate, etc.]
-
- Y—GENERAL TAGGING OF NEW TECHNOLOGICAL DEVELOPMENTS; GENERAL TAGGING OF CROSS-SECTIONAL TECHNOLOGIES SPANNING OVER SEVERAL SECTIONS OF THE IPC; TECHNICAL SUBJECTS COVERED BY FORMER USPC CROSS-REFERENCE ART COLLECTIONS [XRACs] AND DIGESTS
- Y10—TECHNICAL SUBJECTS COVERED BY FORMER USPC
- Y10T—TECHNICAL SUBJECTS COVERED BY FORMER US CLASSIFICATION
- Y10T428/00—Stock material or miscellaneous articles
- Y10T428/31504—Composite [nonstructural laminate]
- Y10T428/31786—Of polyester [e.g., alkyd, etc.]
Definitions
- Attempts to falsify, counterfeit, or tamper with film-protected objects usually consist of peeling off the film from the object using a solvent used to dissolve the adhesive that keeps the film stuck on. the object, without damaging the object, or the inscriptions it carries, nor, preferably, the protective film.
- the invention also aims at providing a method of manufacturing a protection product according to the invention and an object protected by a protection method according to the invention.
- the invention also aims to achieve these goals simply and economically, especially by screen printing.
- This interleaving 6 can be made either from a traditional ink composition or even from an ink composition according to the invention incorporating a binder comprising at least one less a soluble agent with polar liquid solvents and / or apolar solvents as described below.
- the binder comprises a volatile solvent that can be used as a volatile solvent for the ink composition for performing security printing.
- the ink composition is then formed of the mixture of one or more binder (s) such (s) as mentioned above and one or more pigments.
- the security printing can be carried out in one or more passes, in particular to obtain colored patterns.
- the security printing may be of discontinuous type and have the form of a frame (formed of distinct points more or less tight, deposited in a uniform density or no), or patterns (images, signs, letters Vietnamese). It can also be a uniform continuous type printing, extending opposite the entire surface of the film 2.
- FIG. 8 represents another variant embodiment in which the security printing 4 is carried by the film 2, while the adhesive layer 3 is made on the face 8 of the object 9.
- the object is obtained. 9 protected as shown in Figure 9 which incorporates the security printing 4.
- a visible pigment in visible light, but photoluminescent in invisible light, for example a photoluminescent pigment under ultraviolet. It is also possible to use one or more visible pigments.
- the intermediate film 17 is hot-rolled on the face 8 of the support 9 to be protected, then the support 18 is removed, and then the film 22 is hot-rolled on this intermediate film 17. then, the support 21 is removed.
- the security prints 15, 16 are interposed between the film 22 and the object 9.
- Each protective product is glued on a security paper of 80g / m 2 comprising 50% cotton and 50% wood, ref. PIC-TEST provided by ARJOWIGGINS APPLETOWN (FRANCE).
- the invention can be the subject of numerous variants with respect to the embodiments and variants described above which can be combined with one another.
Landscapes
- Engineering & Computer Science (AREA)
- Manufacturing & Machinery (AREA)
- General Chemical & Material Sciences (AREA)
- Health & Medical Sciences (AREA)
- General Health & Medical Sciences (AREA)
- Toxicology (AREA)
- Chemical Kinetics & Catalysis (AREA)
- Chemical & Material Sciences (AREA)
- Laminated Bodies (AREA)
- Printing Methods (AREA)
- Inks, Pencil-Leads, Or Crayons (AREA)
- Holo Graphy (AREA)
- Manufacture Of Macromolecular Shaped Articles (AREA)
- Paper (AREA)
Description
- L'invention concerne la protection d'un objet contre les falsifications et/ou à des fins d'authentification et/ou pour garantir son intégrité, à l'aide d'un mince film protecteur -notamment transparent- en matière synthétique destiné à être collé sur une face d'un objet.
- L'objet peut être par exemple un document officiel (passeport, carte d'identité, permis de conduire...) portant des mentions variables (nom, prénom, adresse, .... du titulaire) à protéger contre les tentatives de falsification. Dans ce cas, le film est transparent. Il peut s'agir aussi d'un document officiel, d'un emballage ou d'un produit ou article quelconque sur lequel la présence du film garantit l'authenticité de l'objet et/ou son intégrité (c'est-à-dire le fait qu'il n'a pas été antérieurement utilisé, ou consommé, ou violé). Le film n'est alors pas nécessairement transparent, mais incorpore des motifs de sécurité impossibles ou difficiles à reproduire (hologramme, impression anti-photocopie, pigments invisibles en lumière visible mais visibles en lumière non visible...).
- Les tentatives de falsification, de contrefaçon, ou de violation d'objets protégés par un film consistent le plus souvent à décoller le film de l'objet à l'aide d'un solvant utilisé pour dissoudre l'adhésif qui maintient le film collé sur l'objet, sans détériorer l'objet, ni les inscriptions qu'il porte, ni, de préférence, le film protecteur.
- Dans tout le texte, le terme "adhésif" désigne de façon générale toute composition ayant la propriété d'adhérer dans certaines conditions, et englobe donc non seulement les auto-adhésifs (ou adhésifs sensibles à la pression), mais également les adhésifs thermoréactivables ou thermoscellables (ou colles à chaud), et les colles en général (mono ou multicomposants).
- Les solvants utilisés par les fraudeurs peuvent être des solvants polaires aqueux (eau, solution aqueuse détergente, ou alcoolique ...), ou des solvants polaires non aqueux (acétone, alcool, ...), ou des solvants apolaires (hydrocarbures tels qu'essence, éther, white-spirit ...).
- On connaît déjà (FR 2.675.742) un film de protection comprenant des motifs imprimés avec une composition d'encre incorporant au moins un pigment soluble dans les hydrocarbures.
- Néanmoins, de tels pigments sont rares et ne permettent pas d'obtenir tous les motifs de sécurité souhaités. En particulier ils offrent une faible variété de couleurs et d'effets. De ce fait, leur présence peut être décelée à l'observation par les fraudeurs avertis.
- On connaît également des compositions de réactifs pouvant être intégrées dans des papiers, qui sont normalement incolores, mais réagissent au contact d'un solvant pour se colorer.
- En général, les réactifs aux solvants polaires se colorent en noir et les réactifs aux solvants apolaires se colorent en bleu. Ces réactifs permettent donc de révéler une tentative d'attaque du papier par un solvant. Ils présentent néanmoins plusieurs inconvénients. En premier lieu, leur réactivité diminue dans le temps jusqu'à disparaître, de sorte qu'ils ne peuvent pas procurer une protection de longue durée. En deuxième lieu, la réaction de coloration au contact des solvants met en oeuvre des processus chimiques mal maîtrisés, et la réactivité des réactifs n'est pas constante selon les fabrications, de sorte que l'on n'est jamais sûr que la quantité de réactifs intégrée au papier lors de sa fabrication permet effectivement de déclencher la réaction. Autrement dit, ces réactifs colorés ne peuvent pas être utilisés avec une grande fiabilité. En troisième lieu, ces réactifs réagissent en général avec les compositions d'adhésif, qui, elles-mêmes, renferment des solvants, plastifiants et agents mouillants, de sorte qu'ils ne sont pas compatibles avec une protection par collage d'un film sur le papier puisqu'une réaction se déclenche lors de l'application et de la prise de l'adhésif, et même après la prise.
- On connaît également des compositions d'encres incorporant des pigments réactifs qui changent de couleur au contact d'un solvant. Néanmoins, là encore, ces pigments réactifs réagissent aux compositions d'adhésif. De plus, ces pigments sont aussi limités en nombre et en nuances de sorte qu'ils offrent une faible variété de couleurs et d'effets, et peuvent être décelés par un observateur averti.
- L'invention vise donc à pallier ces inconvénients en proposant un procédé et un produit de protection d'un objet à l'aide d'un film collé sur une face de l'objet grâce auxquels les tentatives de décollement du film par attaque aux solvants peuvent être révélées de façon fiable, irréversible, sur une longue période de temps (sans diminution substantielle de l'efficacité de la détection dans le temps), et ce de façon compatible avec le collage du film sur l'objet.
- L'invention vise aussi à éviter que cette fonction de protection (par révélation des tentatives de décollement du film) ne puisse être décelée à l'avance dans l'objet protégé, notamment par simple observation visuelle par les fraudeurs avertis.
- L'invention vise aussi à permettre la réalisation d'impressions de sécurité à l'aide d'une composition d'encre incorporant cette fonction de protection par révélation des tentatives d'attaque aux solvants polaires et/ou aux solvants apolaires, et qui permette d'obtenir tous les motifs, couleurs et effets souhaités, comme dans le cas d'une encre traditionnelle.
- L'invention vise aussi à proposer un procédé de fabrication d'un produit de protection selon l'invention et un objet protégé par un procédé de protection selon l'invention.
- L'invention vise en outre à permettre d'atteindre ces buts de façon simple et économique, notamment par impression sérigraphique.
- Pour ce faire, l'invention concerne un procédé de protection d'un objet dans lequel on colle un mince film protecteur en matière synthétique sur une face de l'objet à l'aide d'une couche d'adhésif interposée entre ladite face et l'objet, en vue de le protéger contre les falsifications et/ou pour l'authentifier et/ou pour garantir son intégrité, caractérisé en ce qu'on interpose, entre le film et ladite face de l'objet, au moins une impression, dite impression de sécurité réalisée avec une composition d'encre comprenant au moins un pigment et un liant durcissable par séchage à l'air, adapté pour former une couche d'impression solide après séchage, et incorporant au moins un agent, dit agent soluble, adapté à se dissoudre, au moins dans les conditions standards de température et de pression, après séchage du liant, dans tout solvant liquide polaire et/ou apolaire apte à permettre le décollement de l'adhésif lorsqu'il est placé au contact de cet adhésif après le collage, la quantité d'agent(s) soluble(s) dans le liant étant adaptée pour que l'impression de sécurité puisse former au moins une tâche visible révélant toute tentative de décollement à l'aide d'au moins un tel solvant.
- L'invention s'étend également à un procédé de fabrication d'un produit de protection d'un objet comprenant un mince film protecteur en matière synthétique destiné à être collé sur une face de l'objet à l'aide d'une couche d'adhésif interposée entre ladite face et l'objet, en vue de le protéger contre les falsifications et/ou pour l'authentifier et/ou pour garantir son intégrité, caractérisé en ce qu'on réalise, sur un support d'impression, au moins une impression, dite impression de sécurité, avec une composition d'encre comprenant au moins un pigment et un liant durcissable par séchage à l'air, adapté pour former une couche d'impression dure après séchage, ce liant incorporant au moins un agent, dit agent soluble, adapté à se dissoudre, au moins dans les conditions standards de température et de pression, après séchage du liant, dans tout solvant liquide polaire et/ou apolaire apte à permettre le décollement de l'adhésif lorsqu'il est placé au contact de cet adhésif après le collage, la quantité d'agent(s) soluble(s) dans le liant étant adaptée pour que l'impression de sécurité puisse former au moins une tâche visible révélant toute tentative de décollement à l'aide d'au moins un tel solvant, le support d'impression étant adapté pour permettre d'interposer l'impression de sécurité entre le film et ladite face de l'objet.
- L'invention s'étend également au produit obtenu par le procédé de fabrication selon l'invention. Elle concerne donc aussi un produit pour la protection d'un objet comprenant un mince film protecteur en matière synthétique comprenant une couche d'adhésif en vue de son collage sur une face de l'objet en vue de le protéger contre les falsifications et/ou pour l'authentifier et/ou pour garantir son intégrité, et une impression de sécurité réalisée au moyen d'une composition d'impression solide renfermant au moins un pigment dans un liant, caractérisé en ce qu'il comprend au moins une impression de sécurité réalisée avec une composition d'impression solide comprenant au moins un pigment et un liant durci incorporant au moins un agent, dit agent soluble, adapté à se dissoudre au moins dans les conditions standards de température et de pression, après séchage du liant, dans tout solvant liquide polaire et/ou apolaire apte à permettre le décollement de l'adhésif lorsqu'il est placé au contact de l'adhésif après le collage, la quantité d'agent(s) soluble(s) dans le liant étant adaptée pour que l'impression de sécurité puisse former au moins une tâche visible révélant toute tentative de décollement à l'aide d'au moins un tel solvant.
- L'invention s'étend également à l'objet protégé par un procédé de protection selon l'invention. Elle concerne donc aussi un objet comprenant un mince film protecteur en matière synthétique collé sur une de ses faces à l'aide d'une couche d'adhésif interposée entre ladite face et l'objet, en vue de le protéger contre les falsifications et/ou pour l'authentifier et/ou pour garantir son intégrité, caractérisé en ce qu'il comprend, interposée entre le film et ladite face de l'objet, au moins une impression, dite impression de sécurité réalisée avec une composition d'impression solide comprenant au moins un pigment et un liant durci incorporant au moins un agent, dit agent soluble, adapté à se dissoudre, au moins dans les conditions standards de température et de pression, après séchage du liant, dans tout solvant liquide polaire et/ou apolaire apte à permettre le décollement de l'adhésif lorsqu'il est placé au contact de cet adhésif après le collage, la quantité d'agent(s) soluble(s) dans le liant étant adaptée pour que l'impression de sécurité puisse former au moins une tâche visible révélant toute tentative de décollement à l'aide d'au moins un tel solvant.
- Par ailleurs, avantageusement et selon l'invention, un procédé de protection, un procédé de fabrication, un produit, et un objet selon l'invention sont caractérisés par tout ou partie des caractéristiques suivantes :
- au moins un agent soluble est choisi parmi les acrylates d'alkyles, les méthacrylates d'alkyles, leurs polymères et leurs copolymères,
- le liant incorpore un polyméthacrylate d'isobutyle à titre d'agent soluble,
- on utilise une composition d'encre dans laquelle au moins un agent soluble est formé d'un composé chimique ayant une faible masse moléculaire -notamment inférieure à 5000- de façon à pouvoir être soluble dans les solvants polaires et/ou apolaires ;
- pour réaliser une impression de sécurité, on utilise un liant comprenant une solution liquide comprenant un solvant volatile séchant à l'air, et au moins un agent soluble ;
- pour réaliser une impression de sécurité, on utilise une base d'encre sérigraphique comprenant au moins un agent soluble en solution dans un solvant contenant au moins 10% en volume -notamment majoritairement- du carbonate de propylène ;
- pour réaliser une impression de sécurité, on utilise un liant comprenant un blanc de coupage fugitif à l'eau ;
- on réalise une impression de sécurité sur une face de film que l'on colle ensuite sur l'objet ;
- on colle le film grâce à une couche d'adhésif préalablement imprimée sur le film ;
- on réalise, sur une même face du film, une impression de sécurité et une impression d'une couche d'adhésif ;
- on réalise l'impression d'une couche d'adhésif et une impression de sécurité de façon à ce quelles ne se chevauchent pas mutuellement ;
- on imprime sur le film une couche d'adhésif par sérigraphie en recouvrant une impression de sécurité préalablement réalisée sur le film ;
- on imprime une impression de sécurité sur une couche d'adhésif sans adhésion instantanée initiale préalablement réalisée sur le film ;
- une impression de sécurité est discontinue et présente la forme d'une trame ou de motifs ;
- une impression de sécurité est continue et s'étend en regard de toute la surface du film ;
- le film est choisi parmi un film monocouche, un film multicouche comprenant une superposition de couches imprimées par sérigraphie, de vernis et/ou d'encres, et un complexe multicouche de matières synthétiques superposées ;
- le film est formé d'au moins une matière synthétique choisie parmi un polyuréthane, un polyester, un polystyrène, un polypropylène et un polyéthylène ;
- le film présente une épaisseur globale comprise entre 5 et 500 microns ;
- on réalise une impression de sécurité par sérigraphie ;
- on utilise au moins un pigment choisi parmi les pigments visibles en lumière visible, et les pigments invisibles sous éclairage en lumière visible et photoluminescents sous éclairage par au moins une source de lumière non visible ; le pigment peut être ou non lui-même soluble comme le(les) agent(s) soluble(s) du liant, dans lesdits solvants aptes à décoller l'adhésif ;
- une impression de sécurité est interposée entre le film et une couche d'adhésif associée à ladite face de l'objet ;
- une impression de sécurité est interposée entre une couche d'adhésif associée au film et ladite face de l'objet ;
- une impression de sécurité est intégrée dans une couche d'adhésif sans chevauchement mutuel de l'impression de sécurité et de la couche d'adhésif.
- L'invention concerne aussi un procédé de protection, un procédé de fabrication, un produit et un objet caractérisés en combinaison par tout ou partie des caractéristiques mentionnées ci-dessus ou ci-après.
- D'autres buts, caractéristiques et avantages de l'invention apparaissent de la description suivante qui se réfère aux figures annexées dans lesquelles :
- la figure 1 est une coupe transversale schématique d'un produit de protection selon un premier mode de réalisation de l'invention,
- la figure 2 est une coupe transversale schématique d'une première étape d'un procédé de protection d'un objet avec le produit de protection de la figure 1,
- la figure 3 est une coupe transversale schématique de l'objet protégé par le produit de protection de la figure 1 selon l'invention,
- les figures 4 et 5 sont des coupes transversales schématiques représentant, respectivement, un deuxième mode de réalisation et un troisième mode de réalisation d'un produit de protection selon l'invention,
- la figure 6 est une coupe transversale schématique représentant une variante de réalisation d'un procédé de protection selon l'invention,
- la figure 7 est une coupe transversale schématique représentant l'objet protégé obtenu selon la variante de la figure 6,
- les figures 8 et 9 sont des figures semblables aux figures 6 et 7 représentant une autre variante de réalisation d'un procédé de protection selon l'invention,
- les figures 10 et 11 sont des coupes transversales schématiques représentant, respectivement, un quatrième mode de réalisation et un cinquième mode de réalisation d'un produit de protection selon l'invention,
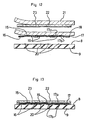
- la figure 12 est une coupe transversale schématique d'une autre variante de réalisation d'un procédé de protection selon l'invention dans laquelle on utilise un support d'impression intermédiaire,
- la figure 13 est une coupe transversale schématique représentant un objet protégé par le procédé de la figure 12,
- les figures 14 et 15 sont des vues semblables aux figures 12 et 13 représentant une autre variante de réalisation de l'invention.
- Sur les figures, les épaisseurs sont exagérément agrandies à des fins d'illustration.
- Le produit de protection représenté figure 1 comprend un support 1 de matière synthétique, par exemple en polystyrène, portant un mince film 2 protecteur en matière synthétique, de préférence transparent, une couche d'adhésif 3, une impression de sécurité 4 incorporée dans des réserves ménagées dans l'épaisseur de la couche d'adhésif 3, et un papier anti-adhérent protecteur 5 recouvrant la couche d'adhésif 3.
- Le film 2 est, dans l'exemple représenté, un film multicouche comprenant deux couches de polyuréthane 2a, 2b, avec, interposée entre elles, une impression intercalaire 6 de motifs de sécurité qui peuvent être des motifs d'authentification et/ou anti-photocopie et/ou anti-contrefaçon et/ou anti-falsification ou autres. Ce film 2 peut être fabriqué par impressions sérigraphiques successives comme décrit par exemple dans EP-0.271.941 ou US-5.232.527, directement réalisées sur le support 1 de polystyrène. Le support 1 est un support de type dit non adhérent, c'est-à-dire propre à ne développer que de faibles forces de liaison avec la plupart des polymères. Par exemple, il s'agit d'une feuille de polystyrène d'un grammage de l'ordre de 120 g/m2. Ce support 1 est choisi de format dépassant celui de la surface 8 de l'objet 9 à protéger. Le film 2 peut être fabriqué par impressions sérigraphiques successives sur ce support 1 grâce à des machines d'impression sérigraphique traditionnelles du type à claquoir (écran articulé) ou du type à écran à soulèvement intégral (écran mobile en translation). Le support 1 est placé sur le plateau de la machine sérigraphique et l'écran de celle-ci est garni d'un mélange liquide préalablement préparé à partir d'un polyol hydroxylé et d'un isocyanate. (par exemple, résine polyacrylique "référence U 8560" et héxaméthylène diisocyanate trimérisé "référence U 8580" commercialisés par les Laboratoires CHIMITEC (FRANCE)).
- La quantité de mélange étalée sur l'écran sérigraphique est ajustée selon l'épaisseur que l'on souhaite obtenir à chaque couche. On imprime ainsi la première couche 2a de vernis polyuréthane continue selon un format correspondant à celui de la face 8 de l'objet 9 à protéger, par exemple rectangulaire dans le cas où l'objet est un document officiel tel qu'un passeport ou une carte d'identité présentant une face 8 rectangulaire à protéger.
- Le support 1 et la première couche 2a sont ensuite laissés à l'air libre pour permettre la polymérisation. Avant la fin de cette polymérisation, on réalise une impression intercalaire 6 discontinue formant des motifs ou trames sur la première impression. Cette impression intercalaire 6 peut être réalisée soit à partir d'une composition d'encre traditionnelle, soit même à partir d'une composition d'encre selon l'invention incorporant un liant comprenant au moins un agent soluble aux solvants liquides polaires et/ou aux solvants apolaires comme décrit ci-après.
- Avant la polymérisation complète de cette impression intercalaire 6 et de la première couche 2a de vernis polyuréthane, on réalise une impression subséquente identique à l'impression de la première couche 2a pour obtenir une deuxième couche transparente de polyuréthane 2b.
- On réalise ensuite une impression de sécurité 4 discontinue sur la deuxième couche de vernis polyuréthane 2b, après un temps de polymérisation compris entre 12h et 24h dans les conditions standards de température et d'hygrométrie. Ce temps est déterminé de façon que la couche de vernis polyuréthane 2b soit à la fois suffisamment partiellement polymérisée pour éviter toute interaction chimique entre ce vernis 2b et le liant de l'impression de sécurité 4, et pour permettre néanmoins la réalisation correcte de l'impression de sécurité 4 sur la couche de vernis 2b (en évitant notamment les phénomènes de maculage d'écran). Il est aussi à noter que l'impression de sécurité 4 est réalisée avant la polymérisation complète de la couche de vernis 2b.
- On réalise ensuite une impression de matière adhésive transparente pour obtenir la couche d'adhésif 3 en ménageant des réserves dans l'épaisseur de cette couche d'adhésif 3 autour des motifs de l'impression de sécurité 4. De préférence, on réalise aussi cette impression de matière adhésive 3 avant la polymérisation complète de la dernière couche 2b du film 2.
- Pour réaliser l'impression de sécurité 4, on utilise une composition d'encre adaptée pour réaliser une impression sérigraphique, c'est-à-dire formée d'une solution liquide de viscosité comprise entre 0,1 Pa. s et 100 Pa. s -notamment entre 0,5 et 2,5 Pa. s-. Cette composition d'encre comprend au moins un pigment, et un liant qui est adapté pour véhiculer le(les) pigment(s), et pour former une couche d'impression solide et dure après séchage.
- Dans tout le texte, par "liant" on désigne toute composition liquide adaptée pour pouvoir véhiculer au moins un pigment lors d'une étape d'impression, et pour durcir dans des conditions de durcissement. Selon l'invention, le liant est de type durcissable par séchage à l'air.
- Ce liant incorpore au moins un agent, dit agent soluble, qui est distinct d'un pigment, et qui est adapté à se dissoudre au moins dans des conditions standards de température de pression, c'est-à-dire sous une pression de l'ordre de une atmosphère (105 Pa) et une température de l'ordre de 23° C, dans tout solvant liquide polaire et/ou apolaire apte à permettre le décollement de l'adhésif lorsqu'il est placé au contact de l'adhésif après le collage. La quantité d'agent(s) soluble(s) dans le liant est adaptée pour que l'impression de sécurité, solide et dure après séchage, puisse former au moins une tâche visible, révélant toute tentative de décollement à l'aide d'au moins un tel solvant, lorsque ce solvant vient au contact de cette impression de sécurité solide. De préférence, l'agent soluble est aussi soluble dans lesdits solvants dans une gamme de pression et de température suffisamment étendue autour des conditions standards, notamment entre 0,9 et 1,1 atmosphère (0,9. 105 Pa à 1, 1.105 Pa) et entre 10° C et 30° C.
- L'(les) agent(s) soluble(s) est(sont) choisi(s) en particulier en fonction de la nature de l'adhésif utilisé pour coller le film 2 sur la face 8 de l'objet 9, qui, lui-même, détermine les familles de solvants liquides susceptibles d'être utilisés par les fraudeurs en vue de réaliser un décollement après collage du film 2 sur l'objet 9.
- Il est à noter à cet égard que de façon générale les compositions d'encres, assimilables à des vernis, sont, après durcissement beaucoup moins solubles dans les solvants liquides polaires et/ou apolaires que les adhésifs. En conséquence, il existe un très grand nombre de solvants qui sont aptes à dissoudre les adhésifs après séchage, sans être aptes à dissoudre les compositions d'encre traditionnelles après séchage. L'incorporation d'au moins un agent soluble dans le liant d'une composition d'encre selon l'invention permet donc de rendre l'impression de sécurité 4 au moins aussi soluble, après séchage, que l'adhésif utilisé pour coller le film 2 sur la face 8 de l'objet 9. Il suffit donc en général d'incorporer un agent soluble qui (i) a une grande solubilité dans la majorité des solvants polaires et/ou apolaires, (ii) est compatible avec la composition d'encre et avec sa mise en oeuvre pour réaliser l'impression de sécurité 4, et (iii) ne se dissoud pas dans les couches adjacentes (film 2 et/ou adhésif 3 et/ou face 8 de l'objet 9) lors de la fabrication du produit de protection ou lors de son application sur un objet 9 à protéger.
- En général, les adhésifs utilisés dans les produits de protection sont des résines acryliques ou des polyacétates de vinyle (EVA) qui ont un pouvoir de solubilité relativement important. Dans ce cas notamment, avantageusement, on utilise au moins un agent soluble choisi dans le groupe des acrylates d'alkyles, des méthacrylates d'alkyles, de leurs polymères et copolymères. Ce groupe correspond ainsi à celui des composés vinyliques, -notamment les résines thermoplastiques vinyliques- incorporant des fonctions esters carboxyliques, c'est-à-dire carboxylates d'alkyles. De préférence, le groupement alkyle des fonctions carboxylates est un alkyle aliphatique comprenant au moins deux atomes de carbones. En effet, la solubilité de ces composés vinyliques dans de nombreux solvants, notamment les solvants à base d'hydrocarbures aliphatiques, augmente avec la longueur de chaîne de l'alkyle, avec le nombre de fonctions carboxylates, et, dans le cas d'un polymère ou d'un copolymère, avec le degré d'association entre elles des molécules de monomère(s).
- Avantageusement, on utilise un polyméthacrylate d'isobutyle à titre d'agent soluble. Un tel composé réalise un compromis avantageux en résistant aux solvants des adhésifs à bases acryliques ou EVA mais en restant soluble avec une solubilité semblable à celle de ces adhésifs dans les solvants susceptibles de décoller ces adhésifs, notamment les solvants à base d'hydrocarbures aliphatiques.
- Plus généralement, il est avantageux d'utiliser, à titre d'agent soluble, au moins un composé chimique ayant une faible masse moléculaire -notamment inférieure à 5000-, qui sera soluble dans la majorité des solvants polaires et/ou apolaires.
- Dans la composition d'encre liquide utilisée pour former une impression de sécurité, cet agent soluble peut être solubilisé dans un solvant qui est un solvant volatile (séchant à l'air ambiant ou à l'air chaud), par exemple le carbonate de propylène. Ledit solvant est de type séchant à l'air dans la mesure où un solvant multicomposant ou photopolymère ou séchant par réaction chimique serait susceptible d'engendrer des composés à longues chaînes carbonées qui ne seront ultérieurement pas solubles dans les solvants polaires et/ou dans les solvants apolaires.
- Le liant de la composition d'encre liquide utilisée pour réaliser une impression de sécurité peut être formé de plusieurs agents solubles différents qui sont en solution dans le même solvant, ou même d'un mélange de plusieurs compositions liquides renfermant chacune au moins un agent soluble, qui est en solution dans un solvant particulier (à condition que les différents solvants des différentes compositions liquides soient compatibles en mélange entre eux). On peut ainsi par exemple utiliser un liant comprenant un agent soluble aux solvants polaires aqueux (notamment à l'eau), un agent soluble aux solvants polaires non aqueux (notamment aux alcools), et un agent soluble aux solvants apolaires (notamment aux hydrocarbures).
- De nombreuses compositions de liant incorporant un ou plusieurs tels agents solubles peuvent être utilisées. A titre d'exemple, on peut utiliser un liant formé d'un mélange d'une solution référence "solubilis" commercialisée par les Laboratoires CHIMITEC (FRANCE), qui incorpore un polyméthacrylate d'isobutyle et s'avère être soluble aux solvants apolaires et aux solvants polaires non aqueux, et une solution liquide dite blanc de coupage fugitif à l'eau, référence "889202" commercialisée par la société SICPA (SUISSE), qui s'avère être soluble à l'eau et aux solvants polaires aqueux. Le liant peut être formé également de l'une seulement de ces deux solutions. On peut ainsi utiliser chacune de ces solutions dans une proponion de 0 % à 100 % en volume.
- Le liant comprend un solvant volatile qui peut être utilisé à titre de solvant volatile pour la composition d'encre servant à réaliser l'impression de sécurité. La composition d'encre est alors formée du mélange d'un ou plusieurs liant(s) tel(s) que mentionné(s) ci-dessus et d'un ou plusieurs pigments.
- Un exemple de composition d'encre selon l'invention est le suivant (les propositions étant données en volume) :
- 60 à 65% de solvant volatile contenant au moins 10%
- notamment majoritairement- de carbonate de propylène,
- 5 à 25% de pigment(s) choisi(s) parmi les pigments visibles organiques, les pigments visibles minéraux, les pigments invisibles photoluminescents organiques, les pigments invisibles photoluminescents minéraux,
- 10 à 35% d'extrait sec de liant selon l'invention.
- Le liant peut également comprendre une proportion non nulle d'autres agents que les agents solubles et leurs solvants, par exemple des agents retardateurs, des agents mouillants, des agents anti-mousse....
- La quantité d'agent(s) soluble(s) dans le liant doit être suffisante pour que l'impression de sécurité 4 se dissolve et forme une tâche visible à l'oeil lorsqu'elle est placée au contact d'un solvant susceptible de dissoudre l'adhésif. Elle doit être par ailleurs suffisamment faible pour permettre la mise en oeuvre de la composition d'encre pour réaliser l'impression de sécurité 4.
- De préférence, l'extrait sec du liant comprend une proportion d'agent(s) soluble(s), en général comprise entre 90% et 95% (volumes) telle, qu'après séchage, la couche d'impression formée par l'impression de sécurité 4 comprend au moins 25% -notamment entre 25 % et 90 %- d'agent(s) soluble(s).
- Le liant doit être également adapté pour être compatible avec le pigment ou les différents pigments (distinct(s) du liant et donc du(des) agent(s) soluble(s)) incorporé(s) dans la composition d'encre. A titre de pigment, on peut utiliser un ou plusieurs pigment(s) visible(s) en lumière visible et/ou un ou plusieurs pigment(s) invisible(s) sous éclairage en lumière visible et photoluminescent(s) sous éclairage par au moins une source de lumière non visible, par exemple une source de rayons ultraviolets.
- L'impression de sécurité peut être réalisée en une ou plusieurs passes, notamment pour obtenir des motifs colorés. L'impression de sécurité peut être de type discontinue et présenter la forme d'une trame (formée de points distincts plus ou moins serrés, déposés en une densité uniforme ou non), ou de motifs (images, signes, lettres.....). Il peut s'agir également d'une impression de type continue uniforme, s'étendant en regard de toute la surface du film 2.
- Au terme de la polymérisation et du séchage des différentes couches 2a, 6, 2b, 3, 4, du film 2 on obtient un produit complexe multicouche apte à être appliqué sur un objet 9 à protéger. La couche d'adhésif 3 et l'impression de sécurité 4 sont recouvertes d'une feuille protectrice anti-adhérente, par exemple en papier siliconé 5 amovible. L'ensemble du produit ainsi obtenu peut être stocké et distribué sans précaution particulière.
- Il est à noter que dans ce mode de réalisation, la couche d'adhésif 3 peut être formée à partir de toute composition adhésive. Il peut s'agir en particulier d'un adhésif sensible à la pression (auto-adhésif) telle qu'une composition adhésive acrylique, notamment du type vendue par les Laboratoires CHIMITEC (FRANCE) sous la référence "AD73EPSR" ou un adhésif réactivable à chaud imprimé à température ambiante compatible avec la couche de vernis de polyuréthane 2b, notamment une colle thermoactivée formée d'un copolymère en dispersion aqueuse tel qu'un adhésif référence "ADTH50" ou "ADTH21" commercialisé par les Laboratoires CHIMITEC (FRANCE).
- Dans le cas d'un auto-adhésif, il suffit de décoller le papier siliconé 5, d'appliquer le film 2 au contact de la face 8 de l'objet 9 à protéger (figure 2) en exerçant une pression de façon à faire coller la couche d'adhésif 3 sur la face 8, puis de décoller le support 1 pour obtenir l'objet protégé tel que représenté figure 3. Dans le cas d'un adhésif 3 thermoactivé, on lamine à chaud le support 1 avec le film 2 sur la face 8 de l'objet 9.
- Comme on le voit figure 3, lors d'une tentative de fraude visant à décoller le film 2 de l'objet 9, si l'on injecte un solvant S, à la périphérie du film 2 entre ce film 2 et la face 8 de l'objet 9, en vue d'affaiblir le pouvoir adhésif de l'adhésif 3 pour décoller le film 2 de l'objet 9, les agents solubles du liant de l'impression de sécurité 4 se dissolvent, et cette impression de sécurité se répand et forme des tâches visibles qui permettent de révéler immédiatement la tentative de fraude. En outre, l'impression de sécurité 4 se transfère sur l'objet 9 qui reste définitivement marqué révélant ainsi la tentative de fraude et la rendant inutile, puisque l'objet 9 lui-même est détérioré. Néanmoins, la présence de l'impression de sécurité 4 n'est pas décelable à l'avance par observation de l'objet 9. En effet, rien ne distingue a priori cette impression de sécurité des autres impressions traditionnellement utilisées.
- De préférence, on réalise une impression de sécurité 4 en périphérie du film 2 et notamment au niveau de ses coins dans le cas d'un film rectangulaire. C'est en effet par les coins que les tentatives de fraude sont en général initiées.
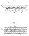
- La figure 4 représente un deuxième mode de réalisation du produit selon l'invention, semblable à celui de la figure 1, à l'exception du fait que la couche d'adhésif 3 est une couche continue s'étendant sur toute la surface du film 2, et une impression de sécurité 4 est réalisée ultérieurement directement sur cette couche d'adhésif 3. Pour ce faire, il est nécessaire que cette couche d'adhésif 3 soit une couche d'adhésif thermoscellable sans "tac", c'est-à-dire sans adhésion instantanée initiale.
- Le troisième mode de réalisation représenté figure 5 diffère du précédent en ce que l'impression de sécurité 4 est réalisée en premier lieu sur la deuxième couche 2b de vernis polyuréthane, puis la couche d'adhésif 3 est imprimée au-dessus de l'impression de sécurité 4. Dans ce mode de réalisation, on peut utiliser une couche d'adhésif 3 quelconque, comme dans le cas du premier mode de réalisation.
- Il est à noter que bien que les compositions d'adhésif qui peuvent être imprimées par sérigraphie incorporent des solvants, on constate en pratique qu'il est possible d'imprimer par sérigraphie une couche d'adhésif 3 sur une impression de sécurité 4 incorporant un agent soluble -notamment un polyméthacrylate d'isobutyle- ou, réciproquement, une impression de sécurité 4 sur une telle couche d'adhésif 3, sans que le liant de la composition d'encre selon l'invention (incorporant au moins un agent soluble) utilisée pour l'impression de sécurité 4 ne se dissolve au contact du solvant de la couche d'adhésif, alors même que le liant de l'impression de sécurité se dissout lorsqu'il est ultérieurement mis au contact d'un solvant comme représenté figure 3.
- Aucune explication claire de ce résultat surprenant ne peut être donnée. Il est estimé néanmoins que cette possibilité d'impression résulte du procédé d'impression par sérigraphie qui n'engendre pas d'efforts de cisaillement entre la couche en cours d'impression et celle sur laquelle on réalise cette impression. De la sorte, même si une solubilisation partielle intervient entre les deux couches, celle-ci reste limitée en épaisseur et, surtout, n'engendre aucune bavure ni aucune tâche visible.
- Le mode de réalisation de la figure 6 permet d'éviter, dans les cas où cela est jugé nécessaire, toute mise en contact de l'impression de sécurité 4 avec un adhésif avant la pose du film 2 sur l'objet 9. Dans cette variante de réalisation, on utilise un film de protection 2 semblable à celui représenté figure 1 et comprenant une couche d'adhésif 3 continue, ce film 2 étant porté par un support 1 en polystyrène et la couche 3 d'adhésif étant revêtue d'un papier siliconé protecteur 5. Ce produit constitue donc un produit traditionnel tel que décrit dans EP-0.271.941 ou US-5.232.527.
- On réalise une impression de sécurité 4 avec une composition d'encre telle que décrite ci-dessus (incorporant au moins un pigment et un liant comprenant au moins un agent soluble dans les solvants polaires et/ou dans les solvants apolaires) non pas sur le film lui-même, mais sur l'objet 9, c'est-à-dire sur la face 8 de l'objet 9 à protéger. On applique ensuite le film 2 sur la face 8 en recouvrant l'impression de sécurité 4 pour obtenir l'objet 9 protégé tel que représenté figure 7.
- La figure 8 représente une autre variante de réalisation dans laquelle l'impression de sécurité 4 est portée par le film 2, alors que la couche adhésive 3 est réalisée sur la face 8 de l'objet 9. Là encore, on obtient l'objet 9 protégé tel que représenté figure 9 qui incorpore l'impression de sécurité 4.
- Dans ces deux dernières variantes, on constate là encore de façon surprenante que le liant de l'impression de sécurité ne se dissout pas lors de l'application de l'adhésif 3 sur l'impression de sécurité 4, lorsque les impressions sont réalisées par sérigraphie.
- La figure 10 représente un quatrième mode de réalisation de l'invention dans lequel le film protecteur est constitué d'un film 10 monocouche, par exemple en polyester transparent portant une couche de polyéthylène 11 formant un adhésif thermoscellable. Sur cette couche 11 d'adhésif thermoscellable, on a réalisé une impression de sécurité 4 discontinue par impression sérigraphique comme décrit ci-dessus.
- La figure 11 représente un cinquième mode de réalisation dans lequel on réalise directement une impression de sécurité 12 continue sur un film 10 monocouche de matière synthétique tel qu'un polyester ou un polypropylène, puis on recouvre cette impression de sécurité 12 d'une couche d'adhésif 13 qui peut être un auto-adhésif ou un adhésif thermoscellable. Cette couche d'adhésif 13 est posée par impression sérigraphique, comme l'impression de sécurité 12. L'impression de sécurité 12 s'étend sur toute la surface de la couche d'adhésif 13, au moins sensiblement au même format que le film 10. Cette impression de sécurité 12 est réalisée avec une composition d'encre comprenant au moins un pigment et un liant comportant au moins un agent soluble dans les solvants polaires et/ou dans les solvants apolaires, comme décrit ci-dessus.
- Dans ce cinquième mode de réalisation, on peut utiliser avantageusement un pigment visible en lumière visible, mais photoluminescent en lumière invisible, par exemple un pigment photoluminescent sous ultraviolets. On peut également utiliser un ou plusieurs pigments visibles.
- Le complexe multicouche formé du film 10, de la couche d'adhésif 13 et de l'impression de sécurité 12 peut être complètement transparent (cas d'un pigment photoluminescent sous ultraviolets par exemple) ou translucide (cas d'un pigment visible faiblement dosé) ou opaque (cas d'un pigment visible fortement dosé), selon les applications envisagées. Dans le cas de l'application à titre de protection contre les falsifications d'inscriptions variables sur des documents officiels, l'ensemble doit être transparent pour permettre normalement la vision desdites inscriptions variables. Dans le cas d'une application à titre d'authentification ou de garantie d'intégrité d'un document ou d'un emballage, le complexe peut être translucide ou opaque.
- On comprend néanmoins qu'il est préférable que le film 2, 10 soit lui-même transparent de façon à permettre la visualisation des tâches résultant de la solubilisation de l'impression de sécurité 4, 12 en cas de tentative de fraude. Néanmoins cela n'est pas strictement nécessaire dans certaines applications où l'on peut se contenter d'une détection des tentatives de fraude uniquement après décollement du film.
- Il est à noter que dans le cinquième mode de réalisation, la couche d'adhésif 13 et l'impression de sécurité 12 continue peuvent être associées non pas par impression sérigraphique, mais par d'autres modes d'impression, par exemple par laminage en continu.
- Dans les deux modes de réalisation des figures 10 et 11, un papier protecteur anti-adhérent 14 est également prévu sur la dernière couche du produit de protection.
- La figure 12 représente une autre variante de réalisation dans laquelle on réalise des impressions de sécurité 15, 16 non pas sur un film protecteur ni sur l'objet 9 à protéger, mais sur une pellicule 17 intermédiaire formée d'une ou plusieurs couches d'adhésif ou de vernis portées par un support 18. Une telle pellicule intermédiaire 17 portée par son support 18 forme une fiche intermédiaire qui peut notamment servir à la réalisation d'inscriptions variables, comme décrit par exemple dans FR-2.763-889. Pour réaliser cette fiche intermédiaire, on réalise tout d'abord une impression de sécurité 15 semblable à celle décrite ci-dessus (incorporant au moins un agent soluble dans les solvants polaires et/ou des solvants apolaires) sur le support 18, puis on imprime une première couche de vernis 17a recouvrant la première impression de sécurité 15, puis on imprime une couche continue d'adhésif thermoréactivable 17b, puis on imprime une deuxième impression de sécurité 16 sur ladite couche d'adhésif thermoréactivable 17b. Dans l'exemple représenté, on a également imprimé des inscriptions 19 variables par tout moyen d'impression souhaité (manuelle, impression laser, impression par jet d'encre, ....).
- Le support 18 lui-même, peut être un papier et/ou un film synthétique monocouche ou multicouche non adhérent sur la plupart des polymères, et notamment un support polystyrène.
- L'objet 9 à protéger porte initialement, sur sa face 8 à protéger, des inscriptions 20. Le film protecteur utilisé dans cette variante peut être un film polyuréthane monocouche 22 réalisé par impression sérigraphique sur un support polystyrène 21 avec une couche continue adhésive 23 tel que décrit dans EP-0.271.941 ou US-5.232.527. La couche d'adhésif 23 est néanmoins de préférence formée d'un adhésif thermoréactivable.
- Pour obtenir l'objet 9 protégé représenté figure 13, on lamine à chaud la pellicule intermédiaire 17 sur la face 8 du support 9 à protéger, puis on enlève le support 18, puis on lamine à chaud le film 22 sur cette pellicule 17 intermédiaire, puis on enlève le support 21. Comme on le voit, les impressions de sécurité 15, 16 sont interposées entre le film 22 et l'objet 9.
- La figure 14 représente une variante de réalisation semblable à la figure 12, mais dans laquelle la pellicule intermédiaire 24 est formée d'une seule couche 24 de vernis polyuréthane réalisée par impression sérigraphique sur le support 18. Une impression de sécurité 25 est ensuite réalisée sur cette pellicule intermédiaire 24. Une deuxième impression de sécurité 26 est aussi réalisée sur la couche d'adhésif 23 du film 22. En outre, l'objet 9 à protéger porte une couche d'adhésif 27 préalablement réalisée sur sa face 8 en recouvrement des inscriptions 20. Les couches d'adhésif 23, 27 dans cette variante de réalisation peuvent être des auto-adhésifs sensibles à la pression ou des adhésifs thermoréactivables. Pour obtenir l'objet 9 protégé de la figure 15, on applique la pellicule intermédiaire 24 sur la couche d'adhésif 27 de l'objet 9, on enlève le support 18, puis on applique le film 22 sur la pellicule intermédiaire 24, puis on enlève le support 21. Là encore, les impressions de sécurité 25, 26 sont interposées entre le film 22 et l'objet 9.
- Dans les modes de réalisation des figures 12 à 15, le produit de protection selon l'invention est formé en deux parties : le film 22 sur son support 21 et la pellicule intermédiaire 17, 24 sur son support 18. Les impressions de sécurité 15, 16, 25, 26 ne sont pas toutes réalisées sur le film lui-même, mais aussi sur le support 18 de la pellicule intermédiaire et/ou sur cette pellicule intermédiaire elle-même, qui font ainsi office de supports d'impression pour ces impressions de sécurité. Mais, dans tous les cas, on imprime les impressions de sécurité sur des supports d'impression (film et/ou pellicule intermédiaire et/ou support du film ou d'une pellicule intermédiaire) qui sont adaptés pour permettre d'interposer chaque impression de sécurité 15, 16, 25, 26 entre le film 22 et l'objet 9.
- On réalise quatre produits de protection selon l'invention ayant les caractéristiques suivantes :
- produit 1 : conforme à la figure 1, de format rectangulaire de 80mm x 120mm, avec un film 2 d'épaisseur d'environ 45 µm,
- produit 2 : conforme à la figure 10 avec un support 10 en polyester de 50µm d'épaisseur et une couche d'adhésif thermoscellable en polyéthylène de 76µm d'épaisseur, de même format rectangulaire que le produit 1,
- produit 3 : conforme à la figure 11, le support 10 étant un polypropylène de 35µm d'épaisseur, et l'adhésif 13 étant un adhésif à base non aqueuse réf. L4002 de la société KISSEL ET WOLF (ALLEMAGNE) de même format rectangulaire que le produit 1,
- produit 4 : semblable au produit 3 mais avec un adhésif à base aqueuse réf AD73EPSR des Laboratoires CHIMITEC.
- Des impressions de sécurité sont réalisées par sérigraphie sous forme de motifs guillochés et de lettres sur ces produits à l'aide d'une composition d'encre ayant la formule suivante :
- solution "solubilis" commercialisée par les Laboratoires CHIMITEC (FRANCE) : 85%,
- pigment invisible fluorescent jaune ref. CD704 commercialisé par la société RIEDEL DE HAN (ALLEMAGNE) : 10 %,
- retardateur concentré commercialisé par les Laboratoires CHIMITEC : 5 %.
- On colle chaque produit de protection sur un papier de sécurité de 80g/m2 comprenant 50 % de coton et 50 % de bois, réf. PIC-TEST fourni par la Société ARJOWIGGINS APPLETOWN (FRANCE).
-
- L'invention peut faire l'objet de nombreuses variantes de réalisation par rapport aux modes de réalisation et variantes décrits ci-dessus qui peuvent être combinés entre eux.
Claims (32)
- - Procédé de protection d'un objet dans lequel on colle un mince film protecteur (2, 10, 22) en matière synthétique sur une face (8) de l'objet (9) à l'aide d'une couche d'adhésif (3, 11, 13, 17b, 23, 27) interposée entre ladite face (8) et l'objet (9), en vue de le protéger contre les falsifications et/ou pour l'authentifier et/ou pour garantir son intégrité, caractérisé en ce qu'on interpose, entre le film (2, 10, 22) et ladite face (8) de l'objet (9), au moins une impression, dite impression de sécurité (4, 12, 15, 16, 25, 26) réalisée avec une composition d'encre comprenant au moins un pigment et un liant durcissable par séchage à l'air, adapté pour former une couche d'impression solide après séchage, et incorporant au moins un agent, dit agent soluble, adapté à se dissoudre, au moins dans les conditions standards de température et de pression, après séchage du liant, dans tout solvant liquide polaire et/ou apolaire apte à permettre le décollement de l'adhésif lorsqu'il est placé au contact de cet adhésif (3, 11, 13, 17b, 23, 27) après le collage, la quantité d'agent(s) soluble(s) dans le liant étant adaptée pour que l'impression de sécurité puisse former au moins une tâche visible révélant toute tentative de décollement à l'aide d'au moins un tel solvant.
- - Procédé selon la revendication 1, caractérisé en ce qu'au moins un agent soluble est choisi parmi les acrylates d'alkyles, les méthacrylates d'alkyles, leurs polymères et leurs copolymères.
- - Procédé selon la revendication 2, caractérisé en ce qu'on utilise un polyméthacrylate d'isobutyle à titre d'agent soluble.
- - Procédé selon l'une des revendications 1 à 3, caractérisé en ce qu'on utilise une composition d'encre dans laquelle au moins un agent soluble est formé d'un composé chimique ayant une faible masse moléculaire -notamment inférieure à 5000-.
- - Procédé selon l'une des revendications 1 à 4, caractérisé en ce que, pour réaliser une impression de sécurité (4, 12, 15, 16, 25, 26), on utilise un liant comprenant une solution liquide comprenant un solvant volatile séchant à l'air, et au moins un agent soluble.
- - Procédé selon l'une des revendications 1 à 5, caractérisé en ce que, pour réaliser une impression de sécurité (4, 12, 15, 16, 25, 26), on utilise une base d'encre sérigraphique comprenant au moins un agent soluble en solution dans un solvant contenant au moins 10% en volume de carbonate de propylène.
- - Procédé selon l'une des revendications 1 à 6, caractérisé en ce que, pour réaliser une impression de sécurité (4, 12, 15, 16, 25, 26), on utilise un liant comprenant un blanc de coupage fugitif à l'eau.
- - Procédé selon l'une des revendications 1 à 7, caractérisé en ce qu'on réalise une impression de sécurité (4, 12, 15, 16, 25, 26) sur une face du film (2, 12, 22) que l'on colle ensuite sur l'objet (9).
- - Procédé selon la revendication 8, caractérisé en ce que l'on colle le film (2, 10, 22) grâce à une couche d'adhésif (3, 11, 12, 17b, 23) préalablement imprimée sur le film (2, 10, 22).
- - Procédé selon la revendication 9, caractérisé en ce qu'on réalise, sur une même face du film (2), une impression de sécurité (4, 16) et une impression d'une couche d'adhésif (3, 17b).
- - Procédé selon la revendication 10, caractérisé en ce qu'on réalise l'impression de la couche d'adhésif (3, 17b) et l'impression de sécurité (4, 16) de façon à ce quelles ne se chevauchent pas mutuellement.
- - Procédé selon la revendication 10, caractérisé en ce qu'on imprime la couche d'adhésif (3) par sérigraphie en recouvrant une impression de sécurité (4) préalablement réalisée.
- - Procédé selon la revendication 9, caractérisé en ce qu'on imprime une impression de sécurité (4) sur une couche d'adhésif (3) sans adhésion instantanée initiale préalablement réalisée sur le film (2).
- - Procédé selon l'une des revendications 1 à 13, caractérisé en ce qu'on réalise une impression de sécurité (4, 12, 15, 16, 25, 26) par sérigraphie.
- - Procédé selon l'une des revendications 1 à 14, caractérisé en ce que pour réaliser une impression de sécurité (4, 12, 15, 16, 25, 26), on utilise au moins un pigment choisi parmi les pigments visibles en lumière visible, et les pigments invisibles sous éclairage en lumière visible et photoluminescents sous éclairage par au moins une source de lumière non visible.
- - Produit pour la protection d'un objet comprenant un mince film protecteur (2, 10, 22) en matière synthétique comprenant une couche d'adhésif (3, 11, 13, 17b, 23, 27) en vue de son collage sur une face (8) de l'objet (9) en vue de le protéger contre les falsifications et/ou pour l'authentifier et/ou pour garantir son intégrité, et une impression de sécurité (4, 12, 15, 16, 25, 26) réalisée au moyen d'une composition d'impression solide renfermant au moins un pigment dans un liant, caractérisé en ce qu'il comprend au moins une impression de sécurité (4, 12, 15, 16, 25, 26) réalisée avec une composition d'impression solide comprenant au moins un pigment et un liant durci incorporant au moins un agent, dit agent soluble, adapté à se dissoudre au moins dans les conditions standards de température et de pression, dans tout solvant liquide polaire et/ou apolaire apte à permettre le décollement de l'adhésif lorsqu'il est placé au contact de l'adhésif (3, 11, 13, 17b, 23, 27) après le collage, la quantité d'agent(s) soluble(s) dans le liant étant adaptée pour que l'impression de sécurité puisse former au moins une tâche visible révélant toute tentative de décollement à l'aide d'au moins un tel solvant.
- - Produit selon la revendication 16, caractérisé en ce qu'au moins un agent soluble est choisi parmi les acrylates d'alkyles, les méthacrylates d'alkyles, leurs polymères et leurs copolymères.
- - Produit selon la revendication 17, caractérisé en ce que le liant incorpore un polyméthacrylate d'isobutyle à titre d'agent soluble.
- - Produit selon l'une des revendications 16 à 18, caractérisé en ce qu'au moins un agent soluble est formé d'un composé chimique ayant une faible masse moléculaire -notamment inférieure à 5000-.
- - Produit selon l'une des revendications 16 à 19, caractérisé en ce qu'il comprend une impression de sécurité (4, 15, 16, 25, 26) discontinue présentant la forme d'une trame ou de motifs.
- - Produit selon l'une des revendications 16 à 20, caractérisé en ce qu' il comprend une impression de sécurité (12) continue qui s'étend en regard de toute la surface du film (10).
- - Produit selon l'une des revendications 16 à 21, caractérisé en ce que le film (2, 10, 22) est choisi parmi un film monocouche, un film multicouche comprenant une superposition de couches imprimées par sérigraphie, de vernis et/ou d'encres, et un complexe multicouche de matières synthétiques superposées.
- - Produit selon l'une des revendications 16 à 22, caractérisé en ce que le film (2, 10, 22) est formé d'au moins une matière synthétique choisie parmi un polyuréthane, un polyester, un polystyrène, un polypropylène et un polyéthylène.
- - Produit selon l'une des revendications 16 à 23, caractérisé en ce que le film (2, 10, 22) présente une épaisseur globale comprise entre 5 et 500 microns.
- - Objet comprenant un mince film protecteur (2, 10,22) en matière synthétique collé sur une (8) de ses faces, à l'aide d'une couche d'adhésif (3, 11, 13, 17b, 23, 27) interposée entre ladite face (8) et l'objet (9), en vue de le protéger contre les falsifications et/ou pour l'authentifier et/ou pour garantir son intégrité, caractérisé en ce qu'il comprend, interposée entre le film (2, 10, 22) et ladite face (8) de l'objet (9), au moins une impression, dite impression de sécurité (4, 12, 15, 16, 25, 26) réalisée avec une composition d'impression solide comprenant au moins un pigment et un liant durci incorporant au moins un agent, dit agent soluble, adapté à se dissoudre au moins dans les conditions standards de température et de pression, après séchage du liant, dans tout solvant liquide polaire et/ou apolaire apte à permettre le décollement de l'adhésif lorsqu'il est placé au contact de cet adhésif (3, 11, 13, 17b, 23, 27) après le collage, la quantité d'agent(s) soluble(s) dans le liant étant adaptée pour que l'impression de sécurité puisse former au moins une tâche visible révélant toute tentative de décollement à l'aide d'au moins un tel solvant.
- - Objet selon la revendication 25, caractérisé en ce qu'au moins un agent soluble est choisi parmi les acrylates d'alkyles, les méthacrylates d'alkyles, leurs polymères et leurs copolymères.
- - Objet selon la revendication 26, caractérisé en ce que le liant incorpore un polyméthacrylate d'isobutyle à titre d'agent soluble.
- - Objet selon l'une des revendications 25 à 27, caractérisé en ce qu'au moins un agent soluble est formé d'un composé chimique ayant une faible masse moléculaire -notamment inférieure à 5000-.
- - Objet selon l'une des revendications 26 à 28, caractérisé en ce qu'une impression de sécurité (4, 15, 16, 25, 26) est discontinue et présente la forme d'une trame ou de motifs.
- - Objet selon l'une des revendications 26 à 29, caractérisé en ce qu'une impression de sécurité (12) est continue et s'étend en regard de toute la surface du film (10).
- - Objet selon l'une des revendications 26 à 30, caractérisé en ce que le film (2, 10, 22) présente une épaisseur globale comprise entre 5 et 500 microns.
- - Objet selon l'une des revendications 26 à 31, caractérisé en ce qu'une impression de sécurité (4, 12, 15, 16, 25, 26) comprend au moins un pigment choisi parmi les pigments visibles en lumière visible, et les pigments invisibles sous éclairage en lumière visible et photoluminescents sous éclairage par au moins une source de lumière non visible.
Applications Claiming Priority (3)
| Application Number | Priority Date | Filing Date | Title |
|---|---|---|---|
| FR9906500A FR2793726B1 (fr) | 1999-05-21 | 1999-05-21 | Procede et produit de protection d'un objet par une impression de securite a liant soluble, procede de fabrication de ce produit et objet obtenu |
| FR9906500 | 1999-05-21 | ||
| PCT/FR2000/001312 WO2000071361A1 (fr) | 1999-05-21 | 2000-05-17 | Procede et produit de protection d'un objet par une impression de securite a liant soluble |
Publications (4)
| Publication Number | Publication Date |
|---|---|
| EP1109675A1 EP1109675A1 (fr) | 2001-06-27 |
| EP1109675B1 true EP1109675B1 (fr) | 2006-03-01 |
| EP1109675B8 EP1109675B8 (fr) | 2006-06-28 |
| EP1109675B2 EP1109675B2 (fr) | 2010-04-14 |
Family
ID=9545888
Family Applications (1)
| Application Number | Title | Priority Date | Filing Date |
|---|---|---|---|
| EP00927347A Expired - Lifetime EP1109675B2 (fr) | 1999-05-21 | 2000-05-17 | Procede et produit de protection d'un objet par une impression de securite a liant soluble |
Country Status (8)
| Country | Link |
|---|---|
| US (1) | US6592972B1 (fr) |
| EP (1) | EP1109675B2 (fr) |
| AT (1) | ATE318717T1 (fr) |
| CA (1) | CA2337330C (fr) |
| DE (1) | DE60026289T3 (fr) |
| ES (1) | ES2258454T5 (fr) |
| FR (1) | FR2793726B1 (fr) |
| WO (1) | WO2000071361A1 (fr) |
Cited By (3)
| Publication number | Priority date | Publication date | Assignee | Title |
|---|---|---|---|---|
| DE102007044482A1 (de) | 2007-09-18 | 2009-03-19 | Giesecke & Devrient Gmbh | Sicherheitselement mit Tamper Evident-Effekt |
| US9744789B2 (en) | 2013-05-13 | 2017-08-29 | Fasver | Thermochromic ink composition |
| US10325527B2 (en) | 2015-04-13 | 2019-06-18 | Schreiner Group Gmbh & Co. Kg | Label for forgery-proof identification of an object, and method |
Families Citing this family (21)
| Publication number | Priority date | Publication date | Assignee | Title |
|---|---|---|---|---|
| FR2830115B1 (fr) | 2001-09-21 | 2003-11-28 | Francois Trantoul | Vignette antifalsification pour l'apposition d'inscriptions variables sur un support a marquer, procede et support marque obtenus |
| FR2838228B1 (fr) * | 2002-04-03 | 2005-03-25 | Arjo Wiggins | Document de securite avec marqueur |
| FR2840431B1 (fr) * | 2002-05-29 | 2004-09-03 | Francois Trantoul | Procede et dispositif de protection d'inscriptions a lire |
| DE10226386A1 (de) * | 2002-06-13 | 2003-12-24 | Datacard Corp | Dokument |
| DE10327083A1 (de) * | 2003-02-11 | 2004-08-19 | Giesecke & Devrient Gmbh | Sicherheitspapier und Verfahren zur Herstellung desselben |
| US7075583B2 (en) * | 2003-10-20 | 2006-07-11 | Koplar Interactive Systems International, L.L.C. | Methods for improved modulation of video signals |
| EP1550703A1 (fr) * | 2004-01-05 | 2005-07-06 | Sika Technology AG | Film protecteur en adhésif thermofusible, procédé et appareil pour son application |
| FR2897556B1 (fr) | 2006-02-23 | 2008-05-23 | Fasver Soc Par Actions Simplif | Film de transfert d'au moins une marque sur au moins un substrat a securiser, procede de fabrication et de transfert d'un tel film de transfert. |
| FR2916558B1 (fr) * | 2007-05-21 | 2010-03-12 | Fasver | Vignette adhesive souple de securite dotee d'au moins un microcircuit sans contact pour document officiel |
| FR2945131B1 (fr) | 2009-04-30 | 2014-05-16 | Fasver | Film holographique metallise et son procede de fabrication |
| AU2010357157B2 (en) | 2010-07-07 | 2015-11-19 | Orell Fussli Sicherheitsdruck Ag | Security document with holographic foil and printed machine-readable markings |
| DE102010050823A1 (de) * | 2010-11-09 | 2012-05-10 | Giesecke & Devrient Gmbh | Sicherheitspapier, Verfahren zur Herstellung desselben und Sicherheitselement |
| US8750557B2 (en) | 2011-02-15 | 2014-06-10 | Ebay Inc. | Identifying product metadata from an item image |
| WO2012135085A1 (fr) * | 2011-03-25 | 2012-10-04 | Avery Dennison Corporation | Étiquette d'identification |
| FR2978461A1 (fr) * | 2011-07-29 | 2013-02-01 | Arjowiggins Security | Substrat de securite et methode d'authentification et de mise en evidence des tentatives de falsification |
| FR2980139B1 (fr) * | 2011-09-21 | 2013-09-27 | Hologram Ind | Document securise et methode de fabrication dudit document securise |
| US10275969B2 (en) | 2012-03-09 | 2019-04-30 | United States Postal Service | Method and system for item authentication and customization |
| WO2013134654A1 (fr) | 2012-03-09 | 2013-09-12 | United States Postal Service | Procédé et système pour authentification et personnalisation d'article |
| AU2015271934B2 (en) * | 2012-03-09 | 2017-03-02 | United States Postal Service | Method and system for item authentication and customization |
| FR2993819A1 (fr) | 2012-07-24 | 2014-01-31 | Arjowiggins Security | Structure multicouche. |
| AR100871A1 (es) * | 2014-06-20 | 2016-11-09 | Nomacorc Llc | Cierre sintético multicomponente y método de fabricación de este |
Family Cites Families (12)
| Publication number | Priority date | Publication date | Assignee | Title |
|---|---|---|---|---|
| GB2128581B (en) † | 1982-09-28 | 1985-11-06 | Bdk Ind Prod Ltd | Self-adhesive transparent film |
| DE3371896D1 (en) † | 1982-10-04 | 1987-07-09 | Decoflex Ltd | Improvements in or relating to bags |
| US4726608A (en) † | 1986-08-05 | 1988-02-23 | Scientific Games Of California, Inc. | Information bearing article with tamper resistant scratch-off opaque coating |
| FR2607435B1 (fr) * | 1986-11-27 | 1989-04-07 | Vernhet Louis | Procede de realisation d'un produit a film protecteur transferable et produit obtenu pour la protection de documents ou autres elements |
| ES2164799T3 (es) * | 1989-01-31 | 2002-03-01 | Dainippon Printing Co Ltd | Metodo para hacer grabaciones por transferencia de calor y hojas receptoras de la imagen transferida termicamente. |
| FR2675742B1 (fr) * | 1991-04-29 | 1994-05-27 | Louis Vernhet | Produit pour la protection d'un document contre les falsifications. |
| US5477249A (en) * | 1991-10-17 | 1995-12-19 | Minolta Camera Kabushiki Kaisha | Apparatus and method for forming images by jetting recording liquid onto an image carrier by applying both vibrational energy and electrostatic energy |
| DE4220344C2 (de) † | 1992-06-24 | 1994-06-23 | Trautwein Gmbh & Co | Gegen Vervielfältigung und/oder mißbräuchliche Entfernung und Wiederverwendung geschützte Plakette |
| US5660925A (en) † | 1995-12-07 | 1997-08-26 | Minnesota Mining And Manufacturing Company | Tamper-indicating and authenticating label |
| JPH11510548A (ja) † | 1996-04-29 | 1999-09-14 | シクパ・ホールディング・ソシエテ・アノニム | 機密保護書類を印刷するための滲出性インク |
| FR2763889B1 (fr) | 1997-05-30 | 1999-08-06 | Francois Trantoul | Fiche intermediaire, procede et dispositif pour la preparation d'un document portant des inscriptions variables |
| US5891520A (en) * | 1997-06-30 | 1999-04-06 | Avery Dennison Corporation | Method for screen printing glass articles |
-
1999
- 1999-05-21 FR FR9906500A patent/FR2793726B1/fr not_active Expired - Lifetime
-
2000
- 2000-05-17 AT AT00927347T patent/ATE318717T1/de not_active IP Right Cessation
- 2000-05-17 CA CA002337330A patent/CA2337330C/fr not_active Expired - Lifetime
- 2000-05-17 EP EP00927347A patent/EP1109675B2/fr not_active Expired - Lifetime
- 2000-05-17 US US09/743,911 patent/US6592972B1/en not_active Expired - Lifetime
- 2000-05-17 DE DE60026289T patent/DE60026289T3/de not_active Expired - Lifetime
- 2000-05-17 ES ES00927347T patent/ES2258454T5/es not_active Expired - Lifetime
- 2000-05-17 WO PCT/FR2000/001312 patent/WO2000071361A1/fr not_active Ceased
Cited By (3)
| Publication number | Priority date | Publication date | Assignee | Title |
|---|---|---|---|---|
| DE102007044482A1 (de) | 2007-09-18 | 2009-03-19 | Giesecke & Devrient Gmbh | Sicherheitselement mit Tamper Evident-Effekt |
| US9744789B2 (en) | 2013-05-13 | 2017-08-29 | Fasver | Thermochromic ink composition |
| US10325527B2 (en) | 2015-04-13 | 2019-06-18 | Schreiner Group Gmbh & Co. Kg | Label for forgery-proof identification of an object, and method |
Also Published As
| Publication number | Publication date |
|---|---|
| FR2793726B1 (fr) | 2001-08-03 |
| US6592972B1 (en) | 2003-07-15 |
| EP1109675B8 (fr) | 2006-06-28 |
| WO2000071361A1 (fr) | 2000-11-30 |
| EP1109675B2 (fr) | 2010-04-14 |
| DE60026289D1 (de) | 2006-04-27 |
| DE60026289T3 (de) | 2010-11-25 |
| ES2258454T5 (es) | 2010-08-25 |
| CA2337330C (fr) | 2009-07-28 |
| ATE318717T1 (de) | 2006-03-15 |
| CA2337330A1 (fr) | 2000-11-30 |
| ES2258454T3 (es) | 2006-09-01 |
| DE60026289T2 (de) | 2006-09-14 |
| EP1109675A1 (fr) | 2001-06-27 |
| FR2793726A1 (fr) | 2000-11-24 |
Similar Documents
| Publication | Publication Date | Title |
|---|---|---|
| EP1109675B1 (fr) | Procede et produit de protection d'un objet par une impression de securite a liant soluble | |
| EP0271941B1 (fr) | Procédé de réalisation d'un produit à film protecteur transférable et produit obtenu pour la protection de documents ou autres éléments | |
| EP2225102B1 (fr) | Feuille de securite comportant un support coextrude | |
| EP1492680B1 (fr) | Document de securite avec marqueur | |
| RU2221702C2 (ru) | Переводная пленка для нанесения последовательности декоративных слоев на подложку | |
| CA2672752A1 (fr) | Feuille de securite comprenant un substrat fibreux | |
| CA2934631C (fr) | Procede de traitement de surface d'un document de securite et document de securite associe | |
| EP2598324A1 (fr) | Carte multicouche comportant une couche externe fibreuse | |
| EP2406084A1 (fr) | Substrat marquable au laser et procede de fabrication associe | |
| EP0977669B1 (fr) | Procede de fabrication d'un film a motif non reproductible par lecture optique pour la protection de documents | |
| KR20050062097A (ko) | 위변조 방지용 기능성 스티커 라벨 및 이의 제조방법 | |
| WO2009112766A1 (fr) | Feuille de securite comportant un ruban pelable permettant de reveler une information masquee, et son procede de fabrication | |
| EP0345130B1 (fr) | Support d'information autoadhésif de sécurité et son application à l'infalsification de documents | |
| FR2491968A1 (fr) | Papier de surete premuni contre les falsifications par grattage | |
| FR2862906A1 (fr) | Dispositif et procede de protection securitaire d'une surface d'objet par un film adhesif delaminable et procede de fabrication | |
| WO2013017996A1 (fr) | Substrat de securite et methode d'authentification et de mise en evidence des tentatives de falsification | |
| JP2017202638A (ja) | 貼付シート貼り替え防止体 | |
| WO2013030784A1 (fr) | Support d'information destine a l'impression sur presses a toner liquide | |
| WO2014016782A1 (fr) | Structure multicouche | |
| KR20020033374A (ko) | 형광색사를 함유하는 보안필름 및 이의 제조방법 | |
| FR2980139A1 (fr) | Document securise et methode de fabrication dudit document securise |
Legal Events
| Date | Code | Title | Description |
|---|---|---|---|
| PUAI | Public reference made under article 153(3) epc to a published international application that has entered the european phase |
Free format text: ORIGINAL CODE: 0009012 |
|
| 17P | Request for examination filed |
Effective date: 20001215 |
|
| AK | Designated contracting states |
Kind code of ref document: A1 Designated state(s): AT BE CH CY DE DK ES FI FR GB GR IE IT LI LU MC NL PT SE |
|
| RAP1 | Party data changed (applicant data changed or rights of an application transferred) |
Owner name: FASVER SA, |
|
| RIN1 | Information on inventor provided before grant (corrected) |
Inventor name: FASVER SA, |
|
| GRAP | Despatch of communication of intention to grant a patent |
Free format text: ORIGINAL CODE: EPIDOSNIGR1 |
|
| GRAS | Grant fee paid |
Free format text: ORIGINAL CODE: EPIDOSNIGR3 |
|
| DIN1 | Information on inventor provided before grant (deleted) | ||
| GRAA | (expected) grant |
Free format text: ORIGINAL CODE: 0009210 |
|
| RIN1 | Information on inventor provided before grant (corrected) |
Inventor name: TRANTOUL, FRANCOIS |
|
| AK | Designated contracting states |
Kind code of ref document: B1 Designated state(s): AT BE CH CY DE DK ES FI FR GB GR IE IT LI LU MC NL PT SE |
|
| PG25 | Lapsed in a contracting state [announced via postgrant information from national office to epo] |
Ref country code: FI Free format text: LAPSE BECAUSE OF FAILURE TO SUBMIT A TRANSLATION OF THE DESCRIPTION OR TO PAY THE FEE WITHIN THE PRESCRIBED TIME-LIMIT Effective date: 20060301 Ref country code: AT Free format text: LAPSE BECAUSE OF FAILURE TO SUBMIT A TRANSLATION OF THE DESCRIPTION OR TO PAY THE FEE WITHIN THE PRESCRIBED TIME-LIMIT Effective date: 20060301 |
|
| REG | Reference to a national code |
Ref country code: GB Ref legal event code: FG4D Free format text: NOT ENGLISH |
|
| REG | Reference to a national code |
Ref country code: CH Ref legal event code: EP |
|
| REG | Reference to a national code |
Ref country code: IE Ref legal event code: FG4D Free format text: LANGUAGE OF EP DOCUMENT: FRENCH |
|
| RAP2 | Party data changed (patent owner data changed or rights of a patent transferred) |
Owner name: FASVER |
|
| REG | Reference to a national code |
Ref country code: CH Ref legal event code: NV Representative=s name: BOVARD AG PATENTANWAELTE |
|
| REF | Corresponds to: |
Ref document number: 60026289 Country of ref document: DE Date of ref document: 20060427 Kind code of ref document: P |
|
| GBT | Gb: translation of ep patent filed (gb section 77(6)(a)/1977) |
Effective date: 20060502 |
|
| PG25 | Lapsed in a contracting state [announced via postgrant information from national office to epo] |
Ref country code: MC Free format text: LAPSE BECAUSE OF NON-PAYMENT OF DUE FEES Effective date: 20060531 |
|
| NLT2 | Nl: modifications (of names), taken from the european patent patent bulletin |
Owner name: FASVER Effective date: 20060412 |
|
| PG25 | Lapsed in a contracting state [announced via postgrant information from national office to epo] |
Ref country code: DK Free format text: LAPSE BECAUSE OF FAILURE TO SUBMIT A TRANSLATION OF THE DESCRIPTION OR TO PAY THE FEE WITHIN THE PRESCRIBED TIME-LIMIT Effective date: 20060601 Ref country code: SE Free format text: LAPSE BECAUSE OF FAILURE TO SUBMIT A TRANSLATION OF THE DESCRIPTION OR TO PAY THE FEE WITHIN THE PRESCRIBED TIME-LIMIT Effective date: 20060601 |
|
| PG25 | Lapsed in a contracting state [announced via postgrant information from national office to epo] |
Ref country code: PT Free format text: LAPSE BECAUSE OF FAILURE TO SUBMIT A TRANSLATION OF THE DESCRIPTION OR TO PAY THE FEE WITHIN THE PRESCRIBED TIME-LIMIT Effective date: 20060801 |
|
| REG | Reference to a national code |
Ref country code: ES Ref legal event code: FG2A Ref document number: 2258454 Country of ref document: ES Kind code of ref document: T3 |
|
| PLBI | Opposition filed |
Free format text: ORIGINAL CODE: 0009260 |
|
| PLAX | Notice of opposition and request to file observation + time limit sent |
Free format text: ORIGINAL CODE: EPIDOSNOBS2 |
|
| 26 | Opposition filed |
Opponent name: LEONHARD KURZ GMBH & CO.KG Effective date: 20061130 |
|
| NLR1 | Nl: opposition has been filed with the epo |
Opponent name: LEONHARD KURZ GMBH & CO.KG |
|
| PLAF | Information modified related to communication of a notice of opposition and request to file observations + time limit |
Free format text: ORIGINAL CODE: EPIDOSCOBS2 |
|
| PLBB | Reply of patent proprietor to notice(s) of opposition received |
Free format text: ORIGINAL CODE: EPIDOSNOBS3 |
|
| PLAB | Opposition data, opponent's data or that of the opponent's representative modified |
Free format text: ORIGINAL CODE: 0009299OPPO |
|
| R26 | Opposition filed (corrected) |
Opponent name: LEONHARD KURZ STIFTUNG & CO. KG Effective date: 20061130 |
|
| PG25 | Lapsed in a contracting state [announced via postgrant information from national office to epo] |
Ref country code: GR Free format text: LAPSE BECAUSE OF FAILURE TO SUBMIT A TRANSLATION OF THE DESCRIPTION OR TO PAY THE FEE WITHIN THE PRESCRIBED TIME-LIMIT Effective date: 20060602 |
|
| NLR1 | Nl: opposition has been filed with the epo |
Opponent name: LEONHARD KURZ STIFTUNG & CO. KG |
|
| PG25 | Lapsed in a contracting state [announced via postgrant information from national office to epo] |
Ref country code: LU Free format text: LAPSE BECAUSE OF NON-PAYMENT OF DUE FEES Effective date: 20060517 |
|
| PG25 | Lapsed in a contracting state [announced via postgrant information from national office to epo] |
Ref country code: CY Free format text: LAPSE BECAUSE OF FAILURE TO SUBMIT A TRANSLATION OF THE DESCRIPTION OR TO PAY THE FEE WITHIN THE PRESCRIBED TIME-LIMIT Effective date: 20060301 |
|
| PUAH | Patent maintained in amended form |
Free format text: ORIGINAL CODE: 0009272 |
|
| STAA | Information on the status of an ep patent application or granted ep patent |
Free format text: STATUS: PATENT MAINTAINED AS AMENDED |
|
| 27A | Patent maintained in amended form |
Effective date: 20100414 |
|
| AK | Designated contracting states |
Kind code of ref document: B2 Designated state(s): AT BE CH CY DE DK ES FI FR GB GR IE IT LI LU MC NL PT SE |
|
| REG | Reference to a national code |
Ref country code: CH Ref legal event code: AEN Free format text: BREVET MAINTENU DANS UNE FORME MODIFIEE |
|
| REG | Reference to a national code |
Ref country code: NL Ref legal event code: T3 |
|
| REG | Reference to a national code |
Ref country code: ES Ref legal event code: DC2A Date of ref document: 20100708 Kind code of ref document: T5 |
|
| REG | Reference to a national code |
Ref country code: CH Ref legal event code: PFA Owner name: FASVER SOCIETE PAR ACTIONS SIMPLIFIEE Free format text: FASVER SOCIETE PAR ACTIONS SIMPLIFIEE#ZAE LA BISTE II 286 RUE CHARLES GIDE#34670 BAILLARGUES (FR) -TRANSFER TO- FASVER SOCIETE PAR ACTIONS SIMPLIFIEE#ZAE LA BISTE II 286 RUE CHARLES GIDE#34670 BAILLARGUES (FR) |
|
| REG | Reference to a national code |
Ref country code: FR Ref legal event code: PLFP Year of fee payment: 17 |
|
| REG | Reference to a national code |
Ref country code: FR Ref legal event code: PLFP Year of fee payment: 18 |
|
| REG | Reference to a national code |
Ref country code: FR Ref legal event code: PLFP Year of fee payment: 19 |
|
| PGFP | Annual fee paid to national office [announced via postgrant information from national office to epo] |
Ref country code: DE Payment date: 20180529 Year of fee payment: 19 Ref country code: ES Payment date: 20180601 Year of fee payment: 19 Ref country code: CH Payment date: 20180601 Year of fee payment: 19 |
|
| PGFP | Annual fee paid to national office [announced via postgrant information from national office to epo] |
Ref country code: FR Payment date: 20180525 Year of fee payment: 19 Ref country code: IT Payment date: 20180522 Year of fee payment: 19 Ref country code: NL Payment date: 20180526 Year of fee payment: 19 Ref country code: BE Payment date: 20180528 Year of fee payment: 19 |
|
| PGFP | Annual fee paid to national office [announced via postgrant information from national office to epo] |
Ref country code: GB Payment date: 20180529 Year of fee payment: 19 |
|
| REG | Reference to a national code |
Ref country code: IE Ref legal event code: MM4A |
|
| PG25 | Lapsed in a contracting state [announced via postgrant information from national office to epo] |
Ref country code: IE Free format text: LAPSE BECAUSE OF NON-PAYMENT OF DUE FEES Effective date: 20180517 |
|
| REG | Reference to a national code |
Ref country code: DE Ref legal event code: R119 Ref document number: 60026289 Country of ref document: DE |
|
| REG | Reference to a national code |
Ref country code: CH Ref legal event code: PL |
|
| REG | Reference to a national code |
Ref country code: NL Ref legal event code: MM Effective date: 20190601 |
|
| GBPC | Gb: european patent ceased through non-payment of renewal fee |
Effective date: 20190517 |
|
| PG25 | Lapsed in a contracting state [announced via postgrant information from national office to epo] |
Ref country code: CH Free format text: LAPSE BECAUSE OF NON-PAYMENT OF DUE FEES Effective date: 20190531 Ref country code: LI Free format text: LAPSE BECAUSE OF NON-PAYMENT OF DUE FEES Effective date: 20190531 |
|
| REG | Reference to a national code |
Ref country code: BE Ref legal event code: MM Effective date: 20190531 |
|
| PG25 | Lapsed in a contracting state [announced via postgrant information from national office to epo] |
Ref country code: DE Free format text: LAPSE BECAUSE OF NON-PAYMENT OF DUE FEES Effective date: 20191203 Ref country code: NL Free format text: LAPSE BECAUSE OF NON-PAYMENT OF DUE FEES Effective date: 20190601 Ref country code: GB Free format text: LAPSE BECAUSE OF NON-PAYMENT OF DUE FEES Effective date: 20190517 Ref country code: IT Free format text: LAPSE BECAUSE OF NON-PAYMENT OF DUE FEES Effective date: 20190517 |
|
| PG25 | Lapsed in a contracting state [announced via postgrant information from national office to epo] |
Ref country code: BE Free format text: LAPSE BECAUSE OF NON-PAYMENT OF DUE FEES Effective date: 20190531 |
|
| PG25 | Lapsed in a contracting state [announced via postgrant information from national office to epo] |
Ref country code: FR Free format text: LAPSE BECAUSE OF NON-PAYMENT OF DUE FEES Effective date: 20190531 |
|
| REG | Reference to a national code |
Ref country code: ES Ref legal event code: FD2A Effective date: 20200925 |
|
| PG25 | Lapsed in a contracting state [announced via postgrant information from national office to epo] |
Ref country code: ES Free format text: LAPSE BECAUSE OF NON-PAYMENT OF DUE FEES Effective date: 20190518 |
