EP1069285A3 - Electromagnetic actuating device for operating a gas exchange valve with stacking springs - Google Patents
Electromagnetic actuating device for operating a gas exchange valve with stacking springs Download PDFInfo
- Publication number
- EP1069285A3 EP1069285A3 EP00123025A EP00123025A EP1069285A3 EP 1069285 A3 EP1069285 A3 EP 1069285A3 EP 00123025 A EP00123025 A EP 00123025A EP 00123025 A EP00123025 A EP 00123025A EP 1069285 A3 EP1069285 A3 EP 1069285A3
- Authority
- EP
- European Patent Office
- Prior art keywords
- gas exchange
- exchange valve
- actuating device
- electromagnets
- push rod
- Prior art date
- Legal status (The legal status is an assumption and is not a legal conclusion. Google has not performed a legal analysis and makes no representation as to the accuracy of the status listed.)
- Granted
Links
Classifications
-
- F—MECHANICAL ENGINEERING; LIGHTING; HEATING; WEAPONS; BLASTING
- F01—MACHINES OR ENGINES IN GENERAL; ENGINE PLANTS IN GENERAL; STEAM ENGINES
- F01L—CYCLICALLY OPERATING VALVES FOR MACHINES OR ENGINES
- F01L9/00—Valve-gear or valve arrangements actuated non-mechanically
- F01L9/20—Valve-gear or valve arrangements actuated non-mechanically by electric means
Landscapes
- Engineering & Computer Science (AREA)
- Mechanical Engineering (AREA)
- General Engineering & Computer Science (AREA)
- Valve Device For Special Equipments (AREA)
- Switches With Compound Operations (AREA)
Abstract
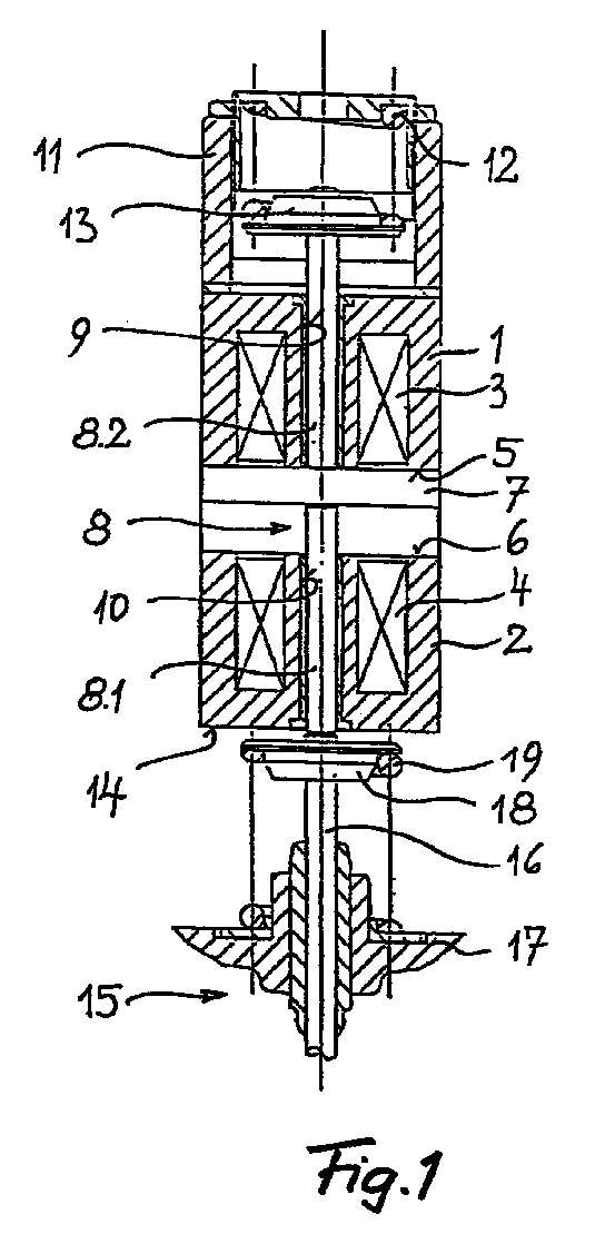
Die Erfindung betrifft eine elektromagnetische Stellvorrichtung zur Betätigung eines Gaswechselventils an einer Brennkraftmaschine, die eine Schubstange (8) aufweist, die auf das zu betätigende Gaswechselventil (15) einwirkt und die mit einem Anker (7) verbunden ist, der zwischen den Polflächen (5, 6) von zwei in axialem Abstand zueinander angeordneten Elektromagneten (1, 2) hin und her bewegbar geführt ist und der bei stromlos gesetzten Elektromagneten (1, 2) durch wenigstens zwei gegeneinander wirkende Federelemente (12, 19) in einer Zwischenstellung zwischen den Polflächen (5, 6) gehalten wird, und wobei die beiden gegeneinander wirkenden Federelemente (12, 19) außerhalb der Elektromagneten (1, 2) auf der dem Gaswechselventil (15) zugekehrten Stirnseite des Elektromagneten (2) angeordnet sind, wobei ein erstes Federelement (19) auf einen Ansatz (18) am Gaswechselventil (15) in Schließrichtung einwirkt und wobei ein zweites Federelement (15) auf die Schubstange (8) in Öffnungsrichtung einwirkt und die Schubstange (8) und der Ansatz (18) kraftschlüssig miteinander verbunden sind. The invention relates to an electromagnetic actuating device for actuating a gas exchange valve on an internal combustion engine, which has a push rod (8) which acts on the gas exchange valve (15) to be actuated and which is connected to an armature (7) which is connected between the pole faces (5, 6) is guided to move back and forth by two electromagnets (1, 2) which are arranged at an axial distance from one another and which, when the electromagnets (1, 2) are de-energized, by means of at least two spring elements (12, 19) acting in opposite directions in an intermediate position between the pole faces ( 5, 6), and the two spring elements (12, 19) acting against each other are arranged outside the electromagnets (1, 2) on the front side of the electromagnet (2) facing the gas exchange valve (15), a first spring element (19 ) acts on a shoulder (18) on the gas exchange valve (15) in the closing direction and a second spring element (15) on the push rod (8) in the opening direction acts and the push rod (8) and the approach (18) are non-positively connected.
Applications Claiming Priority (3)
| Application Number | Priority Date | Filing Date | Title |
|---|---|---|---|
| DE9420463U DE9420463U1 (en) | 1994-12-21 | 1994-12-21 | Electromagnetically actuated control device |
| DE9420463U | 1994-12-21 | ||
| EP95942673A EP0748416B1 (en) | 1994-12-21 | 1995-12-15 | Electromagnetically actuated valve in an internal combustion engine |
Related Parent Applications (1)
| Application Number | Title | Priority Date | Filing Date |
|---|---|---|---|
| EP95942673A Division EP0748416B1 (en) | 1994-12-21 | 1995-12-15 | Electromagnetically actuated valve in an internal combustion engine |
Publications (3)
| Publication Number | Publication Date |
|---|---|
| EP1069285A2 EP1069285A2 (en) | 2001-01-17 |
| EP1069285A3 true EP1069285A3 (en) | 2001-05-02 |
| EP1069285B1 EP1069285B1 (en) | 2003-02-19 |
Family
ID=6917724
Family Applications (2)
| Application Number | Title | Priority Date | Filing Date |
|---|---|---|---|
| EP00123025A Expired - Lifetime EP1069285B1 (en) | 1994-12-21 | 1995-12-15 | Electromagnetic actuating device for operating a gas exchange valve with stacking springs |
| EP95942673A Expired - Lifetime EP0748416B1 (en) | 1994-12-21 | 1995-12-15 | Electromagnetically actuated valve in an internal combustion engine |
Family Applications After (1)
| Application Number | Title | Priority Date | Filing Date |
|---|---|---|---|
| EP95942673A Expired - Lifetime EP0748416B1 (en) | 1994-12-21 | 1995-12-15 | Electromagnetically actuated valve in an internal combustion engine |
Country Status (4)
| Country | Link |
|---|---|
| US (1) | US5813653A (en) |
| EP (2) | EP1069285B1 (en) |
| DE (4) | DE9420463U1 (en) |
| WO (1) | WO1996019643A1 (en) |
Families Citing this family (14)
| Publication number | Priority date | Publication date | Assignee | Title |
|---|---|---|---|---|
| DE19518056B4 (en) * | 1995-05-17 | 2005-04-07 | Fev Motorentechnik Gmbh | Device for controlling the armature movement of an electromagnetic switching device and method for driving |
| DE19747009C2 (en) * | 1997-10-24 | 2000-11-16 | Daimler Chrysler Ag | Electromagnetic actuator for actuating a gas exchange valve |
| DE19822907B4 (en) * | 1998-05-22 | 2006-07-27 | Fev Motorentechnik Gmbh | Electromagnetic actuator with articulated return spring |
| US6091314A (en) * | 1998-06-05 | 2000-07-18 | Siemens Automotive Corporation | Piezoelectric booster for an electromagnetic actuator |
| FR2783033B1 (en) | 1998-09-04 | 2006-06-02 | Renault | ARRANGEMENT FOR THE ELECTROMAGNETIC CONTROL OF A VALVE |
| FR2790137B1 (en) * | 1999-02-19 | 2001-07-27 | Sagem | ELASTIC RECALL MODULE AND METHOD FOR MANUFACTURING SUCH A MODULE |
| DE19919734A1 (en) * | 1999-04-30 | 2000-11-02 | Mahle Ventiltrieb Gmbh | Method and device for opening and closing a valve of an internal combustion engine |
| FR2817292B1 (en) | 2000-11-24 | 2003-01-24 | Renault | METHOD FOR CONTROLLING A COMBUSTION ENGINE TO OPTIMIZE STARTING |
| JP2002188417A (en) * | 2000-12-21 | 2002-07-05 | Honda Motor Co Ltd | Electromagnetic valve train for internal combustion engines |
| RU2205312C2 (en) * | 2001-05-04 | 2003-05-27 | Государственное унитарное предприятие "Конструкторское бюро приборостроения" | Electropneumatic valve |
| FR2838864B1 (en) | 2002-04-18 | 2004-06-11 | Renault Sa | ELECTROMAGNETIC LINEAR VALVE ACTUATOR HAVING A VARIABLE STRAIGHTENING RETURN DEVICE |
| US20040079306A1 (en) * | 2002-10-23 | 2004-04-29 | Norton John D. | Variable lift electromechanical valve actuator |
| GB202005894D0 (en) * | 2020-04-22 | 2020-06-03 | Wastling Michael | Fast-acting toggling armature uses centring spring |
| CN115823289A (en) * | 2022-12-08 | 2023-03-21 | 中国航发长春控制科技有限公司 | A Structure of Easy-to-Start Solenoid Valve with Buffer Function |
Citations (2)
| Publication number | Priority date | Publication date | Assignee | Title |
|---|---|---|---|---|
| DE2630512A1 (en) * | 1976-07-07 | 1978-01-12 | Daimler Benz Ag | Valve control gear for IC engine - has two electromagnets and one armature acting as stops operating at either end position of valve |
| US4831973A (en) * | 1988-02-08 | 1989-05-23 | Magnavox Government And Industrial Electronics Company | Repulsion actuated potential energy driven valve mechanism |
Family Cites Families (10)
| Publication number | Priority date | Publication date | Assignee | Title |
|---|---|---|---|---|
| US1471861A (en) * | 1921-09-07 | 1923-10-23 | Perrault Oscar Louis | Valve-actuating mechanism for internal-combustion engines |
| GB1391955A (en) * | 1972-07-12 | 1975-04-23 | British Leyland Austin Morris | Actuating internal combustion engine poppet valves |
| DE3024109A1 (en) | 1980-06-27 | 1982-01-21 | Pischinger, Franz, Prof. Dipl.-Ing. Dr.Techn., 5100 Aachen | ELECTROMAGNETIC OPERATING DEVICE |
| DE3025537A1 (en) * | 1980-07-05 | 1982-06-03 | Arthur Böhm Kunststoffverarbeitung, 8676 Schwarzenbach, Saale | DEVICE, IN PARTICULAR FOR HOLDING PIPES OF PIPE POSITIONING SYSTEMS IN PROTECTIVE PIPES |
| US4649803A (en) * | 1984-08-15 | 1987-03-17 | The Garrett Corporation | Servo system method and apparatus, servo valve apparatus therefor and method of making same |
| DE3513107A1 (en) * | 1985-04-12 | 1986-10-16 | Fleck, Andreas, 2000 Hamburg | ELECTROMAGNETIC OPERATING DEVICE |
| DE3708373C1 (en) * | 1987-03-14 | 1988-07-14 | Fleck Andreas | Method for operating an intake valve of an internal combustion engine |
| DE3920976A1 (en) * | 1989-06-27 | 1991-01-03 | Fev Motorentech Gmbh & Co Kg | ELECTROMAGNETIC OPERATING DEVICE |
| DE4004876A1 (en) * | 1990-02-16 | 1991-09-26 | Ulrich Karrer | Electrically operated valve gear for IC engine - opens and closes valve by multiplication of stroke of hydraulic piston with alternate energisation of two electromagnets |
| US5548263A (en) * | 1992-10-05 | 1996-08-20 | Aura Systems, Inc. | Electromagnetically actuated valve |
-
1994
- 1994-12-21 DE DE9420463U patent/DE9420463U1/en not_active Expired - Lifetime
-
1995
- 1995-12-15 US US08/696,979 patent/US5813653A/en not_active Expired - Fee Related
- 1995-12-15 WO PCT/EP1995/004970 patent/WO1996019643A1/en not_active Ceased
- 1995-12-15 DE DE59510563T patent/DE59510563D1/en not_active Expired - Fee Related
- 1995-12-15 EP EP00123025A patent/EP1069285B1/en not_active Expired - Lifetime
- 1995-12-15 DE DE19581518T patent/DE19581518D2/en not_active Expired - Lifetime
- 1995-12-15 DE DE59510173T patent/DE59510173D1/en not_active Expired - Fee Related
- 1995-12-15 EP EP95942673A patent/EP0748416B1/en not_active Expired - Lifetime
Patent Citations (2)
| Publication number | Priority date | Publication date | Assignee | Title |
|---|---|---|---|---|
| DE2630512A1 (en) * | 1976-07-07 | 1978-01-12 | Daimler Benz Ag | Valve control gear for IC engine - has two electromagnets and one armature acting as stops operating at either end position of valve |
| US4831973A (en) * | 1988-02-08 | 1989-05-23 | Magnavox Government And Industrial Electronics Company | Repulsion actuated potential energy driven valve mechanism |
Also Published As
| Publication number | Publication date |
|---|---|
| EP1069285A2 (en) | 2001-01-17 |
| WO1996019643A1 (en) | 1996-06-27 |
| EP0748416B1 (en) | 2002-04-17 |
| DE9420463U1 (en) | 1996-04-25 |
| DE59510563D1 (en) | 2003-03-27 |
| EP1069285B1 (en) | 2003-02-19 |
| EP0748416A1 (en) | 1996-12-18 |
| US5813653A (en) | 1998-09-29 |
| DE59510173D1 (en) | 2002-05-23 |
| DE19581518D2 (en) | 1997-02-27 |
Similar Documents
| Publication | Publication Date | Title |
|---|---|---|
| EP1069285A3 (en) | Electromagnetic actuating device for operating a gas exchange valve with stacking springs | |
| EP0203453B1 (en) | Solenoid valve | |
| DE3024042C2 (en) | Device for damping the impact of a gas exchange valve on a valve seat | |
| EP0197356B1 (en) | Electromagnetically operating adjustment system | |
| DE3917195C2 (en) | ||
| EP0757200A3 (en) | Double safety magnetic valve | |
| DE19825728A1 (en) | Electromagnetic actuator for automobile IC engine gas exchange valve control | |
| EP0740064A1 (en) | Exhaust gas recirculation control valve | |
| EP0244878B1 (en) | Electromagnetic-hydraulic valve drive for an internal-combustion engine | |
| EP0537175A1 (en) | Magnetic valve. | |
| EP1179121A1 (en) | Electromagnetic multiple actuator | |
| EP1041252A3 (en) | Valve with electromagnetic actuator | |
| DE112017003727T5 (en) | Fuel injection valve | |
| DE3520238C2 (en) | ||
| DE19526144B4 (en) | Arrangement of a throttle valve | |
| DE69624240T2 (en) | FUEL PUMP | |
| DE102005051937A1 (en) | Recirculation valve device for an internal combustion engine | |
| DE2647072A1 (en) | Hydraulic system control solenoid valve - has armature with flat end for linearising magnetic force | |
| DE10141431A1 (en) | Piston engine with pressure relief gas outlet valves | |
| EP1001199A2 (en) | Double valve device | |
| DE3444452A1 (en) | ELECTROMAGNETICALLY ACTUABLE FUEL INJECTION VALVE | |
| DE102019111141A1 (en) | Valve control for valve deactivation and valve lift switching | |
| DE10248070A1 (en) | Electromagnetic valve actuation with a soft stop on the valve seat | |
| EP1105626B1 (en) | Device for actuating a gas exchange valve | |
| EP0970299B1 (en) | Internal combustion engine |
Legal Events
| Date | Code | Title | Description |
|---|---|---|---|
| PUAI | Public reference made under article 153(3) epc to a published international application that has entered the european phase |
Free format text: ORIGINAL CODE: 0009012 |
|
| AC | Divisional application: reference to earlier application |
Ref document number: 748416 Country of ref document: EP |
|
| AK | Designated contracting states |
Kind code of ref document: A2 Designated state(s): DE FR IT |
|
| PUAL | Search report despatched |
Free format text: ORIGINAL CODE: 0009013 |
|
| AK | Designated contracting states |
Kind code of ref document: A3 Designated state(s): DE FR IT |
|
| 17P | Request for examination filed |
Effective date: 20010515 |
|
| AKX | Designation fees paid |
Free format text: DE FR IT |
|
| GRAG | Despatch of communication of intention to grant |
Free format text: ORIGINAL CODE: EPIDOS AGRA |
|
| 17Q | First examination report despatched |
Effective date: 20020502 |
|
| GRAG | Despatch of communication of intention to grant |
Free format text: ORIGINAL CODE: EPIDOS AGRA |
|
| GRAH | Despatch of communication of intention to grant a patent |
Free format text: ORIGINAL CODE: EPIDOS IGRA |
|
| GRAH | Despatch of communication of intention to grant a patent |
Free format text: ORIGINAL CODE: EPIDOS IGRA |
|
| GRAA | (expected) grant |
Free format text: ORIGINAL CODE: 0009210 |
|
| AC | Divisional application: reference to earlier application |
Ref document number: 0748416 Country of ref document: EP Kind code of ref document: P |
|
| AK | Designated contracting states |
Designated state(s): DE FR IT |
|
| PG25 | Lapsed in a contracting state [announced via postgrant information from national office to epo] |
Ref country code: IT Free format text: LAPSE BECAUSE OF FAILURE TO SUBMIT A TRANSLATION OF THE DESCRIPTION OR TO PAY THE FEE WITHIN THE PRESCRIBED TIME-LIMIT;WARNING: LAPSES OF ITALIAN PATENTS WITH EFFECTIVE DATE BEFORE 2007 MAY HAVE OCCURRED AT ANY TIME BEFORE 2007. THE CORRECT EFFECTIVE DATE MAY BE DIFFERENT FROM THE ONE RECORDED. Effective date: 20030219 Ref country code: FR Free format text: LAPSE BECAUSE OF FAILURE TO SUBMIT A TRANSLATION OF THE DESCRIPTION OR TO PAY THE FEE WITHIN THE PRESCRIBED TIME-LIMIT Effective date: 20030219 |
|
| REF | Corresponds to: |
Ref document number: 59510563 Country of ref document: DE Date of ref document: 20030327 Kind code of ref document: P |
|
| PLBE | No opposition filed within time limit |
Free format text: ORIGINAL CODE: 0009261 |
|
| STAA | Information on the status of an ep patent application or granted ep patent |
Free format text: STATUS: NO OPPOSITION FILED WITHIN TIME LIMIT |
|
| EN | Fr: translation not filed | ||
| 26N | No opposition filed |
Effective date: 20031120 |
|
| PGFP | Annual fee paid to national office [announced via postgrant information from national office to epo] |
Ref country code: DE Payment date: 20090127 Year of fee payment: 14 |
|
| PG25 | Lapsed in a contracting state [announced via postgrant information from national office to epo] |
Ref country code: DE Free format text: LAPSE BECAUSE OF NON-PAYMENT OF DUE FEES Effective date: 20100701 |
