EP1069043A3 - Ship propulsion with two-motor drive - Google Patents
Ship propulsion with two-motor drive Download PDFInfo
- Publication number
- EP1069043A3 EP1069043A3 EP00113617A EP00113617A EP1069043A3 EP 1069043 A3 EP1069043 A3 EP 1069043A3 EP 00113617 A EP00113617 A EP 00113617A EP 00113617 A EP00113617 A EP 00113617A EP 1069043 A3 EP1069043 A3 EP 1069043A3
- Authority
- EP
- European Patent Office
- Prior art keywords
- drives
- propeller
- elastic
- ship propulsion
- motor drive
- Prior art date
- Legal status (The legal status is an assumption and is not a legal conclusion. Google has not performed a legal analysis and makes no representation as to the accuracy of the status listed.)
- Granted
Links
Classifications
-
- B—PERFORMING OPERATIONS; TRANSPORTING
- B63—SHIPS OR OTHER WATERBORNE VESSELS; RELATED EQUIPMENT
- B63H—MARINE PROPULSION OR STEERING
- B63H23/00—Transmitting power from propulsion power plant to propulsive elements
- B63H23/02—Transmitting power from propulsion power plant to propulsive elements with mechanical gearing
- B63H23/10—Transmitting power from propulsion power plant to propulsive elements with mechanical gearing for transmitting drive from more than one propulsion power unit
- B63H23/12—Transmitting power from propulsion power plant to propulsive elements with mechanical gearing for transmitting drive from more than one propulsion power unit allowing combined use of the propulsion power units
- B63H23/14—Transmitting power from propulsion power plant to propulsive elements with mechanical gearing for transmitting drive from more than one propulsion power unit allowing combined use of the propulsion power units with unidirectional drive or where reversal is immaterial
-
- B—PERFORMING OPERATIONS; TRANSPORTING
- B63—SHIPS OR OTHER WATERBORNE VESSELS; RELATED EQUIPMENT
- B63H—MARINE PROPULSION OR STEERING
- B63H21/00—Use of propulsion power plant or units on vessels
- B63H21/30—Mounting of propulsion plant or unit, e.g. for anti-vibration purposes
- B63H21/305—Mounting of propulsion plant or unit, e.g. for anti-vibration purposes with passive vibration damping
Landscapes
- Chemical & Material Sciences (AREA)
- Engineering & Computer Science (AREA)
- Combustion & Propulsion (AREA)
- Mechanical Engineering (AREA)
- Ocean & Marine Engineering (AREA)
- Vibration Prevention Devices (AREA)
- Motor Power Transmission Devices (AREA)
- Structure Of Transmissions (AREA)
- General Details Of Gearings (AREA)
Abstract
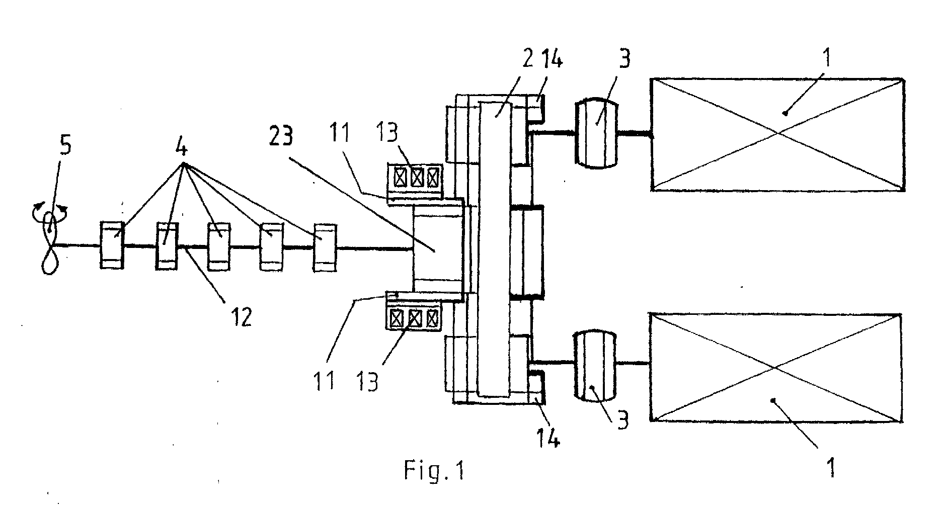
Ein Schiffsantrieb ist mit einem Zweimotoren-Sammelgetriebe zum Antreiben einer mit einem Propeller (5) versehenen Propellerwellenleitung (12) ausgerüstet, die durch Traglager (4) positioniert ist. Das Getriebe (2) ist starr mit den Antrieben (1) verbunden, weist ein eingebautes Drucklager (23) zur Aufnahme und Übertragung des vom Propeller (5) über die Propellerwellenleitung (12) ausgeübten Schubes auf und ist mit einer Schaltkupplung (3) zum Zu- oder Abschalten der Antriebe (1) verbunden. Die Antriebe (1) sind über elastische Elemente (9), und das Getriebe (2) ist über elastische Auflager (14) und elastische Lagerungen (13) jeweils separat elastisch gelagert. Dabei sind die elastische Lagerungen (13) in einem mit dem Schiffsfundament (6) fest verbundenen separaten Lagerbock (19) integriert und mit an dem Getriebe (2) ausgebildeten Seitenwänden (11) verbunden. A ship propulsion system is equipped with a two-motor collective gearbox for driving a propeller shaft line (12) which is provided with a propeller (5) and which is positioned by support bearings (4). The gearbox (2) is rigidly connected to the drives (1), has a built-in thrust bearing (23) for receiving and transmitting the thrust exerted by the propeller (5) via the propeller shaft line (12) and is connected to a clutch (3) Activation or deactivation of the drives (1) connected. The drives (1) are elastically supported by elastic elements (9), and the gear (2) is separately elastically supported by elastic supports (14) and elastic supports (13). The elastic bearings (13) are integrated in a separate bearing block (19) firmly connected to the ship's foundation (6) and connected to side walls (11) formed on the gear (2).
Applications Claiming Priority (4)
| Application Number | Priority Date | Filing Date | Title |
|---|---|---|---|
| DE19932873 | 1999-07-16 | ||
| DE1999132873 DE19932873A1 (en) | 1999-07-16 | 1999-07-16 | Ship's propulsion drive has parallel engines coupled to common drive transmission for driving propeller shaft with separate elastic mountings and bearings for reducing emitted operating noise |
| DE1999154692 DE19954692A1 (en) | 1999-11-13 | 1999-11-13 | Ship's propulsion drive has parallel engines coupled to common drive transmission for driving propeller shaft with separate elastic mountings and bearings for reducing emitted operating noise |
| DE19954692 | 1999-11-13 |
Publications (3)
| Publication Number | Publication Date |
|---|---|
| EP1069043A2 EP1069043A2 (en) | 2001-01-17 |
| EP1069043A3 true EP1069043A3 (en) | 2002-10-16 |
| EP1069043B1 EP1069043B1 (en) | 2004-01-02 |
Family
ID=26054179
Family Applications (1)
| Application Number | Title | Priority Date | Filing Date |
|---|---|---|---|
| EP00113617A Expired - Lifetime EP1069043B1 (en) | 1999-07-16 | 2000-06-28 | Ship propulsion with two-motor drive |
Country Status (4)
| Country | Link |
|---|---|
| US (1) | US6305998B1 (en) |
| EP (1) | EP1069043B1 (en) |
| JP (1) | JP4689012B2 (en) |
| DE (1) | DE50004907D1 (en) |
Families Citing this family (8)
| Publication number | Priority date | Publication date | Assignee | Title |
|---|---|---|---|---|
| DE10011939A1 (en) * | 2000-03-11 | 2001-09-13 | Flender A F & Co | Ship propulsion with diesel or electric motors |
| FR2880327B1 (en) * | 2005-01-06 | 2009-12-04 | Felix Andre Marc Raymo Bertuit | SUBMERSIBLE PROPULSE BY ELECTROLYTE ELECTRICITY GENERATOR |
| DE102008005351B4 (en) * | 2008-01-21 | 2018-08-23 | Renk Ag | Torque transmission device for a ship |
| US8875681B2 (en) * | 2011-10-28 | 2014-11-04 | Robert Bosch Gmbh | Fuel rail mounting arrangement |
| CN105667751A (en) * | 2016-03-23 | 2016-06-15 | 杭州前进齿轮箱集团股份有限公司 | Double-speed twin-engine incoporation marine gearbox with reverse |
| CN105836092A (en) * | 2016-05-22 | 2016-08-10 | 王立新 | Interlinked power box for acceleration speeding up of naval aircraft carrier |
| CN110608103B (en) * | 2019-09-26 | 2021-12-21 | 潍柴重机股份有限公司 | Engine control system and control method matched with double-engine single-propeller engine |
| CN115180110B (en) * | 2022-07-07 | 2024-06-07 | 中国船舶重工集团公司第七一九研究所 | Ship propulsion system and ship |
Citations (6)
| Publication number | Priority date | Publication date | Assignee | Title |
|---|---|---|---|---|
| US3145779A (en) * | 1961-07-12 | 1964-08-25 | Wilhelm G Stoeckicht | Multi-engine main propulsion gearing arrangements |
| EP0132220A1 (en) * | 1983-07-18 | 1985-01-23 | Mitsubishi Jukogyo Kabushiki Kaisha | Marine contra-rotating propeller apparatus |
| DE3516903A1 (en) * | 1985-05-10 | 1986-11-13 | Zahnräderfabrik Renk AG, 8900 Augsburg | Ship transmission |
| US4678439A (en) * | 1984-07-17 | 1987-07-07 | Blohm & Voss Ag | Engine installation for use in a ship |
| DE3904141A1 (en) * | 1989-02-11 | 1990-03-15 | Renk Tacke Gmbh | Elastically mounted drive unit |
| US5554059A (en) * | 1994-02-01 | 1996-09-10 | Yamasaki; Ichiro | Method of damping vibrations of hull of small watercraft |
Family Cites Families (12)
| Publication number | Priority date | Publication date | Assignee | Title |
|---|---|---|---|---|
| US3929089A (en) * | 1974-11-18 | 1975-12-30 | Outboard Marine Corp | Stern drive hydraulic trim control system including a tilt position indicator |
| NZ207500A (en) * | 1983-03-16 | 1986-10-08 | H B Carr | Bevel gearing for marine propulsion unit |
| JPS6018095A (en) * | 1983-07-11 | 1985-01-30 | Nippon Telegr & Teleph Corp <Ntt> | Branch and insertion circuit |
| JPS6080997A (en) * | 1983-10-11 | 1985-05-08 | Mitsubishi Heavy Ind Ltd | Double-reverse propeller device for ship |
| JPS6018095U (en) * | 1983-07-18 | 1985-02-07 | 三菱重工業株式会社 | Contra-rotating propeller device for ships |
| JPS624688A (en) * | 1985-06-28 | 1987-01-10 | Mitsui Eng & Shipbuild Co Ltd | Method for installing main engine |
| JP2566914B2 (en) * | 1985-12-28 | 1996-12-25 | キヤノン株式会社 | Thin film semiconductor device and method of forming the same |
| JPS62156811U (en) * | 1986-03-26 | 1987-10-05 | ||
| US4978320A (en) * | 1987-03-28 | 1990-12-18 | Textron Inc. | Surface effect ship engine mount system |
| GB8816188D0 (en) * | 1988-07-07 | 1988-11-16 | Marconi Gec Ltd | Mounting for machinery |
| JP2504545B2 (en) * | 1988-11-15 | 1996-06-05 | 三菱化学株式会社 | Manufacturing method of terephthalic acid |
| JPH02134344U (en) * | 1989-04-13 | 1990-11-07 |
-
2000
- 2000-06-28 EP EP00113617A patent/EP1069043B1/en not_active Expired - Lifetime
- 2000-06-28 DE DE50004907T patent/DE50004907D1/en not_active Expired - Lifetime
- 2000-07-11 US US09/613,780 patent/US6305998B1/en not_active Expired - Lifetime
- 2000-07-14 JP JP2000215240A patent/JP4689012B2/en not_active Expired - Fee Related
Patent Citations (6)
| Publication number | Priority date | Publication date | Assignee | Title |
|---|---|---|---|---|
| US3145779A (en) * | 1961-07-12 | 1964-08-25 | Wilhelm G Stoeckicht | Multi-engine main propulsion gearing arrangements |
| EP0132220A1 (en) * | 1983-07-18 | 1985-01-23 | Mitsubishi Jukogyo Kabushiki Kaisha | Marine contra-rotating propeller apparatus |
| US4678439A (en) * | 1984-07-17 | 1987-07-07 | Blohm & Voss Ag | Engine installation for use in a ship |
| DE3516903A1 (en) * | 1985-05-10 | 1986-11-13 | Zahnräderfabrik Renk AG, 8900 Augsburg | Ship transmission |
| DE3904141A1 (en) * | 1989-02-11 | 1990-03-15 | Renk Tacke Gmbh | Elastically mounted drive unit |
| US5554059A (en) * | 1994-02-01 | 1996-09-10 | Yamasaki; Ichiro | Method of damping vibrations of hull of small watercraft |
Also Published As
| Publication number | Publication date |
|---|---|
| JP4689012B2 (en) | 2011-05-25 |
| EP1069043A2 (en) | 2001-01-17 |
| EP1069043B1 (en) | 2004-01-02 |
| DE50004907D1 (en) | 2004-02-05 |
| US6305998B1 (en) | 2001-10-23 |
| JP2001055195A (en) | 2001-02-27 |
Similar Documents
| Publication | Publication Date | Title |
|---|---|---|
| EP1069043A3 (en) | Ship propulsion with two-motor drive | |
| EP1967448A3 (en) | Hydraulic saildrive apparatus | |
| EP1329354A3 (en) | Working vehicle | |
| US8808042B1 (en) | Amphibious vehicle drive system | |
| EP1405749A3 (en) | Vehicle driving system | |
| EP2444693A3 (en) | Multi-speed drive for a motor vehicle | |
| EP1683704A3 (en) | Additional steering system | |
| EP0398080A3 (en) | Motor driven wheelchair | |
| EP1279544A3 (en) | Hybrid drivetrain for a vehicle | |
| PL325906A1 (en) | Shipborne propulsion with driving machine and and directly driven propeller shaft | |
| WO2004085877A3 (en) | Hydrodynamic converter comprising a primary clutch | |
| CN103786854A (en) | Ship propulsion unit | |
| EP1106476A3 (en) | Tracked vehicle steering control system with non-centered steering wheel | |
| EP1160113A3 (en) | Driving assembly for swingable parts of soft tops | |
| US6540570B1 (en) | Counter-rotating transmission | |
| WO2010037742A3 (en) | Lubricating system for a propeller drive arrangement for steering and driving a ship | |
| EP1672246A3 (en) | Split drive apparatus for a vertical mixer | |
| GB2106848A (en) | Outboard motor arrangement | |
| GB2173463A (en) | Marine propulsion device bellows assembly | |
| SE9601793D0 (en) | Counter-rotating propellers with hub reduction for boats | |
| SE461782B (en) | CARDING ARRANGEMENTS FOR ACCOMMODATED DRIVES | |
| US4389198A (en) | Outboard motor system | |
| DE50006135D1 (en) | Marine propulsion with a single-motor gear | |
| BRPI0400065A (en) | Planetary gear transmission | |
| US9731804B1 (en) | Directly mounted shaft actuator |
Legal Events
| Date | Code | Title | Description |
|---|---|---|---|
| PUAI | Public reference made under article 153(3) epc to a published international application that has entered the european phase |
Free format text: ORIGINAL CODE: 0009012 |
|
| AK | Designated contracting states |
Kind code of ref document: A2 Designated state(s): AT BE CH CY DE DK ES FI FR GB GR IE IT LI LU MC NL PT SE |
|
| AX | Request for extension of the european patent |
Free format text: AL;LT;LV;MK;RO;SI |
|
| RAP1 | Party data changed (applicant data changed or rights of an application transferred) |
Owner name: A. FRIEDR. FLENDER GMBH |
|
| PUAL | Search report despatched |
Free format text: ORIGINAL CODE: 0009013 |
|
| AK | Designated contracting states |
Kind code of ref document: A3 Designated state(s): AT BE CH CY DE DK ES FI FR GB GR IE IT LI LU MC NL PT SE |
|
| AX | Request for extension of the european patent |
Free format text: AL;LT;LV;MK;RO;SI |
|
| 17P | Request for examination filed |
Effective date: 20030404 |
|
| GRAP | Despatch of communication of intention to grant a patent |
Free format text: ORIGINAL CODE: EPIDOSNIGR1 |
|
| AKX | Designation fees paid |
Designated state(s): CH DE GB LI NL |
|
| GRAP | Despatch of communication of intention to grant a patent |
Free format text: ORIGINAL CODE: EPIDOSNIGR1 |
|
| GRAS | Grant fee paid |
Free format text: ORIGINAL CODE: EPIDOSNIGR3 |
|
| GRAA | (expected) grant |
Free format text: ORIGINAL CODE: 0009210 |
|
| AK | Designated contracting states |
Kind code of ref document: B1 Designated state(s): CH DE GB LI NL |
|
| REG | Reference to a national code |
Ref country code: GB Ref legal event code: FG4D Free format text: NOT ENGLISH |
|
| REG | Reference to a national code |
Ref country code: CH Ref legal event code: EP |
|
| RAP2 | Party data changed (patent owner data changed or rights of a patent transferred) |
Owner name: A. FRIEDR. FLENDER AG |
|
| REG | Reference to a national code |
Ref country code: IE Ref legal event code: FG4D Free format text: GERMAN |
|
| REF | Corresponds to: |
Ref document number: 50004907 Country of ref document: DE Date of ref document: 20040205 Kind code of ref document: P |
|
| NLT2 | Nl: modifications (of names), taken from the european patent patent bulletin |
Owner name: A. FRIEDR. FLENDER AG |
|
| GBT | Gb: translation of ep patent filed (gb section 77(6)(a)/1977) |
Effective date: 20040303 |
|
| REG | Reference to a national code |
Ref country code: IE Ref legal event code: FD4D |
|
| PLBE | No opposition filed within time limit |
Free format text: ORIGINAL CODE: 0009261 |
|
| STAA | Information on the status of an ep patent application or granted ep patent |
Free format text: STATUS: NO OPPOSITION FILED WITHIN TIME LIMIT |
|
| 26N | No opposition filed |
Effective date: 20041005 |
|
| REG | Reference to a national code |
Ref country code: NL Ref legal event code: SD Effective date: 20110826 |
|
| REG | Reference to a national code |
Ref country code: CH Ref legal event code: PUE Owner name: SIEMENS AKTIENGESELLSCHAFT Free format text: A. FRIEDR. FLENDER AG#ALFRED-FLENDER-STRASSE 77#46395 BOCHOLT (DE) -TRANSFER TO- SIEMENS AKTIENGESELLSCHAFT#WITTERLSBACHERPLATZ 2#80333 MUENCHEN (DE) Ref country code: CH Ref legal event code: NV Representative=s name: SIEMENS SCHWEIZ AG |
|
| REG | Reference to a national code |
Ref country code: GB Ref legal event code: 732E Free format text: REGISTERED BETWEEN 20111230 AND 20120104 |
|
| PGFP | Annual fee paid to national office [announced via postgrant information from national office to epo] |
Ref country code: CH Payment date: 20150902 Year of fee payment: 16 |
|
| PGFP | Annual fee paid to national office [announced via postgrant information from national office to epo] |
Ref country code: DE Payment date: 20160819 Year of fee payment: 17 |
|
| REG | Reference to a national code |
Ref country code: CH Ref legal event code: PL |
|
| PG25 | Lapsed in a contracting state [announced via postgrant information from national office to epo] |
Ref country code: CH Free format text: LAPSE BECAUSE OF NON-PAYMENT OF DUE FEES Effective date: 20160630 Ref country code: LI Free format text: LAPSE BECAUSE OF NON-PAYMENT OF DUE FEES Effective date: 20160630 |
|
| PGFP | Annual fee paid to national office [announced via postgrant information from national office to epo] |
Ref country code: GB Payment date: 20170619 Year of fee payment: 18 |
|
| PGFP | Annual fee paid to national office [announced via postgrant information from national office to epo] |
Ref country code: NL Payment date: 20170619 Year of fee payment: 18 |
|
| REG | Reference to a national code |
Ref country code: DE Ref legal event code: R119 Ref document number: 50004907 Country of ref document: DE |
|
| PG25 | Lapsed in a contracting state [announced via postgrant information from national office to epo] |
Ref country code: DE Free format text: LAPSE BECAUSE OF NON-PAYMENT OF DUE FEES Effective date: 20180103 |
|
| REG | Reference to a national code |
Ref country code: NL Ref legal event code: MM Effective date: 20180701 |
|
| GBPC | Gb: european patent ceased through non-payment of renewal fee |
Effective date: 20180628 |
|
| PG25 | Lapsed in a contracting state [announced via postgrant information from national office to epo] |
Ref country code: NL Free format text: LAPSE BECAUSE OF NON-PAYMENT OF DUE FEES Effective date: 20180701 |
|
| PG25 | Lapsed in a contracting state [announced via postgrant information from national office to epo] |
Ref country code: GB Free format text: LAPSE BECAUSE OF NON-PAYMENT OF DUE FEES Effective date: 20180628 |
