EP0907031A2 - Dispositif de commande d'un vérin hydraulique d'une moissonneuse automotrice - Google Patents

Dispositif de commande d'un vérin hydraulique d'une moissonneuse automotrice Download PDF

Info

Publication number
EP0907031A2
EP0907031A2 EP98115143A EP98115143A EP0907031A2 EP 0907031 A2 EP0907031 A2 EP 0907031A2 EP 98115143 A EP98115143 A EP 98115143A EP 98115143 A EP98115143 A EP 98115143A EP 0907031 A2 EP0907031 A2 EP 0907031A2
Authority
EP
European Patent Office
Prior art keywords
pump
hydraulic cylinder
valve
variable displacement
control unit
Prior art date
Legal status (The legal status is an assumption and is not a legal conclusion. Google has not performed a legal analysis and makes no representation as to the accuracy of the status listed.)
Granted
Application number
EP98115143A
Other languages
German (de)
English (en)
Other versions
EP0907031A3 (fr
EP0907031B1 (fr
Inventor
Günter Eis
Current Assignee (The listed assignees may be inaccurate. Google has not performed a legal analysis and makes no representation or warranty as to the accuracy of the list.)
Claas Selbstfahrende Erntemaschinen GmbH
Original Assignee
Claas Selbstfahrende Erntemaschinen GmbH
Priority date (The priority date is an assumption and is not a legal conclusion. Google has not performed a legal analysis and makes no representation as to the accuracy of the date listed.)
Filing date
Publication date
Application filed by Claas Selbstfahrende Erntemaschinen GmbH filed Critical Claas Selbstfahrende Erntemaschinen GmbH
Publication of EP0907031A2 publication Critical patent/EP0907031A2/fr
Publication of EP0907031A3 publication Critical patent/EP0907031A3/fr
Application granted granted Critical
Publication of EP0907031B1 publication Critical patent/EP0907031B1/fr
Anticipated expiration legal-status Critical
Expired - Lifetime legal-status Critical Current

Links

Images

Classifications

    • FMECHANICAL ENGINEERING; LIGHTING; HEATING; WEAPONS; BLASTING
    • F15FLUID-PRESSURE ACTUATORS; HYDRAULICS OR PNEUMATICS IN GENERAL
    • F15BSYSTEMS ACTING BY MEANS OF FLUIDS IN GENERAL; FLUID-PRESSURE ACTUATORS, e.g. SERVOMOTORS; DETAILS OF FLUID-PRESSURE SYSTEMS, NOT OTHERWISE PROVIDED FOR
    • F15B11/00Servomotor systems without provision for follow-up action; Circuits therefor
    • F15B11/16Servomotor systems without provision for follow-up action; Circuits therefor with two or more servomotors
    • FMECHANICAL ENGINEERING; LIGHTING; HEATING; WEAPONS; BLASTING
    • F15FLUID-PRESSURE ACTUATORS; HYDRAULICS OR PNEUMATICS IN GENERAL
    • F15BSYSTEMS ACTING BY MEANS OF FLUIDS IN GENERAL; FLUID-PRESSURE ACTUATORS, e.g. SERVOMOTORS; DETAILS OF FLUID-PRESSURE SYSTEMS, NOT OTHERWISE PROVIDED FOR
    • F15B21/00Common features of fluid actuator systems; Fluid-pressure actuator systems or details thereof, not covered by any other group of this subclass
    • F15B21/08Servomotor systems incorporating electrically operated control means
    • F15B21/087Control strategy, e.g. with block diagram
    • FMECHANICAL ENGINEERING; LIGHTING; HEATING; WEAPONS; BLASTING
    • F15FLUID-PRESSURE ACTUATORS; HYDRAULICS OR PNEUMATICS IN GENERAL
    • F15BSYSTEMS ACTING BY MEANS OF FLUIDS IN GENERAL; FLUID-PRESSURE ACTUATORS, e.g. SERVOMOTORS; DETAILS OF FLUID-PRESSURE SYSTEMS, NOT OTHERWISE PROVIDED FOR
    • F15B2211/00Circuits for servomotor systems
    • F15B2211/20Fluid pressure source, e.g. accumulator or variable axial piston pump
    • F15B2211/205Systems with pumps
    • F15B2211/2053Type of pump
    • F15B2211/20546Type of pump variable capacity
    • FMECHANICAL ENGINEERING; LIGHTING; HEATING; WEAPONS; BLASTING
    • F15FLUID-PRESSURE ACTUATORS; HYDRAULICS OR PNEUMATICS IN GENERAL
    • F15BSYSTEMS ACTING BY MEANS OF FLUIDS IN GENERAL; FLUID-PRESSURE ACTUATORS, e.g. SERVOMOTORS; DETAILS OF FLUID-PRESSURE SYSTEMS, NOT OTHERWISE PROVIDED FOR
    • F15B2211/00Circuits for servomotor systems
    • F15B2211/40Flow control
    • F15B2211/405Flow control characterised by the type of flow control means or valve
    • F15B2211/40507Flow control characterised by the type of flow control means or valve with constant throttles or orifices
    • FMECHANICAL ENGINEERING; LIGHTING; HEATING; WEAPONS; BLASTING
    • F15FLUID-PRESSURE ACTUATORS; HYDRAULICS OR PNEUMATICS IN GENERAL
    • F15BSYSTEMS ACTING BY MEANS OF FLUIDS IN GENERAL; FLUID-PRESSURE ACTUATORS, e.g. SERVOMOTORS; DETAILS OF FLUID-PRESSURE SYSTEMS, NOT OTHERWISE PROVIDED FOR
    • F15B2211/00Circuits for servomotor systems
    • F15B2211/40Flow control
    • F15B2211/415Flow control characterised by the connections of the flow control means in the circuit
    • F15B2211/41509Flow control characterised by the connections of the flow control means in the circuit being connected to a pressure source and a directional control valve
    • FMECHANICAL ENGINEERING; LIGHTING; HEATING; WEAPONS; BLASTING
    • F15FLUID-PRESSURE ACTUATORS; HYDRAULICS OR PNEUMATICS IN GENERAL
    • F15BSYSTEMS ACTING BY MEANS OF FLUIDS IN GENERAL; FLUID-PRESSURE ACTUATORS, e.g. SERVOMOTORS; DETAILS OF FLUID-PRESSURE SYSTEMS, NOT OTHERWISE PROVIDED FOR
    • F15B2211/00Circuits for servomotor systems
    • F15B2211/40Flow control
    • F15B2211/45Control of bleed-off flow, e.g. control of bypass flow to the return line
    • FMECHANICAL ENGINEERING; LIGHTING; HEATING; WEAPONS; BLASTING
    • F15FLUID-PRESSURE ACTUATORS; HYDRAULICS OR PNEUMATICS IN GENERAL
    • F15BSYSTEMS ACTING BY MEANS OF FLUIDS IN GENERAL; FLUID-PRESSURE ACTUATORS, e.g. SERVOMOTORS; DETAILS OF FLUID-PRESSURE SYSTEMS, NOT OTHERWISE PROVIDED FOR
    • F15B2211/00Circuits for servomotor systems
    • F15B2211/40Flow control
    • F15B2211/455Control of flow in the feed line, i.e. meter-in control
    • FMECHANICAL ENGINEERING; LIGHTING; HEATING; WEAPONS; BLASTING
    • F15FLUID-PRESSURE ACTUATORS; HYDRAULICS OR PNEUMATICS IN GENERAL
    • F15BSYSTEMS ACTING BY MEANS OF FLUIDS IN GENERAL; FLUID-PRESSURE ACTUATORS, e.g. SERVOMOTORS; DETAILS OF FLUID-PRESSURE SYSTEMS, NOT OTHERWISE PROVIDED FOR
    • F15B2211/00Circuits for servomotor systems
    • F15B2211/60Circuit components or control therefor
    • F15B2211/63Electronic controllers
    • F15B2211/6303Electronic controllers using input signals
    • FMECHANICAL ENGINEERING; LIGHTING; HEATING; WEAPONS; BLASTING
    • F15FLUID-PRESSURE ACTUATORS; HYDRAULICS OR PNEUMATICS IN GENERAL
    • F15BSYSTEMS ACTING BY MEANS OF FLUIDS IN GENERAL; FLUID-PRESSURE ACTUATORS, e.g. SERVOMOTORS; DETAILS OF FLUID-PRESSURE SYSTEMS, NOT OTHERWISE PROVIDED FOR
    • F15B2211/00Circuits for servomotor systems
    • F15B2211/60Circuit components or control therefor
    • F15B2211/665Methods of control using electronic components
    • F15B2211/6652Control of the pressure source, e.g. control of the swash plate angle
    • FMECHANICAL ENGINEERING; LIGHTING; HEATING; WEAPONS; BLASTING
    • F15FLUID-PRESSURE ACTUATORS; HYDRAULICS OR PNEUMATICS IN GENERAL
    • F15BSYSTEMS ACTING BY MEANS OF FLUIDS IN GENERAL; FLUID-PRESSURE ACTUATORS, e.g. SERVOMOTORS; DETAILS OF FLUID-PRESSURE SYSTEMS, NOT OTHERWISE PROVIDED FOR
    • F15B2211/00Circuits for servomotor systems
    • F15B2211/70Output members, e.g. hydraulic motors or cylinders or control therefor
    • F15B2211/71Multiple output members, e.g. multiple hydraulic motors or cylinders
    • F15B2211/7142Multiple output members, e.g. multiple hydraulic motors or cylinders the output members being arranged in multiple groups
    • FMECHANICAL ENGINEERING; LIGHTING; HEATING; WEAPONS; BLASTING
    • F15FLUID-PRESSURE ACTUATORS; HYDRAULICS OR PNEUMATICS IN GENERAL
    • F15BSYSTEMS ACTING BY MEANS OF FLUIDS IN GENERAL; FLUID-PRESSURE ACTUATORS, e.g. SERVOMOTORS; DETAILS OF FLUID-PRESSURE SYSTEMS, NOT OTHERWISE PROVIDED FOR
    • F15B2211/00Circuits for servomotor systems
    • F15B2211/70Output members, e.g. hydraulic motors or cylinders or control therefor
    • F15B2211/78Control of multiple output members

Definitions

  • the invention relates to a device for controlling a Hydraulic cylinders in a self-propelled harvester with a variable displacement pump for pumping a hydraulic fluid and with at least one associated with the hydraulic cylinder Valve.
  • a hydraulic control circuit For actuating hydraulic cylinders, for example a header of a harvester or a conveyor of the same a hydraulic control circuit is known, which has variable pumps and proportional directional valves and depending on the particular need one with the Hydraulic cylinder connected consumer a corresponding Funding volume.
  • the object of the invention is therefore to provide a device for Control of a hydraulic cylinder in a self-propelled Harvester specify which is a simple, inexpensive and effective control of hydraulic cylinders guaranteed.
  • the invention is characterized in that that the valve is designed as a switching valve and that the switching valve and the variable displacement pump are so electric can be controlled that that supplied by the variable displacement pump Delivery volume to the requirements of the hydraulic cylinder is adjusted.
  • the particular advantage of the invention is that the required quickly and to a sufficient extent on request Delivery volume for actuating the hydraulic cylinder can be provided. This is made possible through the combination of a fast-switching switching valve and a variable displacement pump, each of which can be operated electrically are.
  • variable displacement pump on the one hand and the switching valve on the other hand with a electrical control unit connected, the means for Generation of control signals depending on a predetermined Has actuation signal.
  • the electrical control unit enables the need-based control of the Variable pump, so that a consumer-dependent control of the correspondingly assigned hydraulic cylinder is effected.
  • the electrical Control unit a pump control signal, which is a stepless Setting the delivery volume supplied by the variable pump enables. This can make the different Speed and length requirements of the stroke are taken into account.
  • the electrical Control unit means for storing control curves for several hydraulic cylinders so that hydraulic cylinders are automatically operated in the specified order can.
  • the switching valves upstream of each a current valve by means of which the flow to the respective hydraulic cylinders can be adjusted.
  • a flow valve is preferred designed as a 3-way flow control valve that one is assigned to the first hydraulic cylinder, with a constant Volume flow branched off to further hydraulic cylinders becomes.
  • the device according to the invention can be used to actuate Used by self-propelled harvesters become. For example, a header in moved vertically or around a horizontal axis be pivoted. Furthermore, the device for actuation a swiveling grain tank outlet pipe, conveyor or feeder for the crop or for the Swiveling a cultivator used as a consumer become.
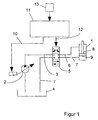
  • a variable displacement pump 2 is intended to convey a hydraulic fluid in a Delivery line 3 from a tank 4 to a switching valve 5.
  • the switching valve 5 is by means of another delivery line 6 connected to a connection of the hydraulic cylinder 1.
  • One on the opposite side of the hydraulic cylinder 1 connected drain line 7 carries the hydraulic fluid pressureless back via the switching valve 5 the tank 4.
  • the hydraulic cylinder 1 has a piston rod 8 with a on the same piston 9 connected at the end, which is movable are stored in the hydraulic cylinder 1.
  • a free one The end of the piston rod 8 extends outside the hydraulic cylinder 1 and is with a not shown Connected consumers.
  • the variable displacement pump 2 is designed as an axial piston pump and is electrically operated.
  • the variable displacement pump is for this purpose 2 through an electrical line 10 with a electrical control unit 11 electrically connected.
  • the Switch valve 5 is designed as a 4/3-way valve and is electromagnetic actuatable.
  • the switching valve 5 an electrical connecting line 12 to the electrical control unit 11.
  • the control unit 11 is electrically connected on the input side to a key element 13, preferably in a cab of the harvester is arranged.
  • a consumer connected to the hydraulic cylinder 1 in a predetermined position By pressing the button element 13, for example a consumer connected to the hydraulic cylinder 1 in a predetermined position can be pivoted.
  • the key element 13 gives an actuation signal to the control unit 11, the means for generating a pump control signal on the one hand and for generating a valve control signal on the other hand.
  • the pump control signal is via the electrical line 10 to the variable displacement pump 2 transmitted, the size of the pump control signal to one consumer-dependent volume flow corresponds.
  • the the switching valve via the electrical connecting line 12 5 Actuating valve control signal switches valve 5 such that the piston 9 moves in a predetermined direction becomes.
  • control unit 11 can also be used for control purposes serve several variable pumps 2 or switching valves 5, wherein consumer-dependent data of the respective variable pumps 2 and valves 5 are assigned.
  • electrical control unit 11 an integrated circuit on.
  • an electrical control unit 15 is provided for the control a variable displacement pump 16 and several switching valves 17, 17 ', 17' 'is used.
  • the control unit 15 via a control line 18 with the variable displacement pump 16 and Control lines 19, 19 ', 19' 'with the switching valves 17, 17 ', 17' 'connected.
  • the variable displacement pump 16 is on the pressure side connected to a 3-way flow control valve 20, the first Output via the switching valve 17 with a first hydraulic cylinder 21 is connected.
  • a second exit of the 3-way flow control valve 20 is each via a 2-way flow control valve 22, 22 'and corresponding switching valves 17 ', 17' 'with a second hydraulic cylinder 21' or a third hydraulic cylinder 21 ''.
  • the 3-way flow control valve 20 is designed such that a constant Volume flow in the direction of the two hydraulic cylinders 21 ', 21' 'is branched, the 2-way flow control valves 22, 22 'have an even distribution Hydraulic cylinder 21 ', 21' 'effect.
  • the control unit 15 is in each case with a Key element 23, a lever element 24 and a multi-function handle 25 connected as input elements.
  • These input elements 23, 24, 25 are each a hydraulic cylinder 21, 21 ', 21' 'assigned.
  • Pump control signal such a level that a needs-based Volume flow is generated by means of a valve control signal the control unit 15 addressed Switching valve 17 to the hydraulic cylinder 21 is promoted.
  • all input elements 23, 24, 25 is a correspondingly higher pump control signal to the Variable pump 16 delivered.
  • the 3-way flow control valve 20 guaranteed in connection with the 2-way flow control valves 22, 22 ' an even distribution of the volume flow to the hydraulic cylinders 21, 21 ', 21' '.
  • a sensor 26 with the electrical control unit 15 be electrically connected, so that depending a specific hydraulic cylinder from a sensor signal 21, 21 ', 21' 'is addressed.
  • the contour of the ground is detected by means of the sensor 26 be, a corresponding in the control unit 15 long pump control signal of a certain height and a corresponding one Valve assigned control signal generated is, so that the assigned according to the cutting unit Hydraulic cylinders ensure a certain cutting height can.
  • the control unit 15 has a microcontroller 28 on, in which the arithmetic operations for generation of the control signals are carried out. Farther can in a memory of the microcontroller 28 consumer-dependent Control data must be stored when there is a change or extension of the consumers to be operated can be.
  • the senor 26 can be used together with the multifunction handle 25 to a first hydraulic cylinder 21 Act.
  • the sensor signal causes a presetting the cutting unit if there is an uneven floor.
  • the sensor 26 is used in cooperation with the control unit 15 as an actuator, while later or at the same time an exact setting of the consumer is done manually. That way, faster to be reacted to external interference, the operator is relieved in its concentration.
  • the multi-function handle 25 with the control unit 15 be connected such that by pressing one Button 30 of the multi-function handle 25 a the hydraulic cylinder 21 controlling pump control signal is given, meanwhile by additionally pivoting the handle 29 the speed of movement of the piston 9 of the Hydraulic cylinder 21 is affected. For example by moving the handle 29 from a zero position forward an increased speed of the piston in a first direction and by moving the handle 29 after rear increased piston speed into one opposite direction. To this end becomes dependent on the control signal of the multifunction handle 25 a corresponding pump control signal to the Pump that is continuously adjustable and a correspondingly adjusted volume flow generated.
  • circuitry linking the Variable pump 2 on the one hand with the Sachlt valve 5 on the other is that noises due to movements of the Hydraulic lines 3, 6, 7 or more in the case of strong pressure fluctuations largely avoided in the hydraulic circuit become.
  • the invention is not based on the specified number of hydraulic cylinders limited. Of course it can other consumers connected to the hydraulic circuit be, with appropriate flow control valves upstream are.
  • variable displacement pump 2 can be replaced by a ramp-shaped one Pump control signal can be controlled, with a predetermined The piston stroke of the variable displacement pump 2 is fixed becomes.
  • the piston of the variable displacement pump 2 is here after a certain characteristic in one direction and then again moved in the opposite direction. After that you can the corresponding switching valve can be switched off.

Landscapes

  • Engineering & Computer Science (AREA)
  • Physics & Mathematics (AREA)
  • Fluid Mechanics (AREA)
  • Mechanical Engineering (AREA)
  • General Engineering & Computer Science (AREA)
  • Chemical & Material Sciences (AREA)
  • Analytical Chemistry (AREA)
  • Fluid-Pressure Circuits (AREA)
  • Control Of Positive-Displacement Pumps (AREA)
  • Lifting Devices For Agricultural Implements (AREA)
EP19980115143 1997-10-02 1998-08-12 Dispositif de commande d'un vérin hydraulique d'une moissonneuse automotrice Expired - Lifetime EP0907031B1 (fr)

Applications Claiming Priority (2)

Application Number Priority Date Filing Date Title
DE1997143801 DE19743801A1 (de) 1997-10-02 1997-10-02 Vorrichtung zur Steuerung eines Hydraulikzylinders in einer selbstfahrenden Erntemaschine
DE19743801 1997-10-02

Publications (3)

Publication Number Publication Date
EP0907031A2 true EP0907031A2 (fr) 1999-04-07
EP0907031A3 EP0907031A3 (fr) 2001-01-10
EP0907031B1 EP0907031B1 (fr) 2011-01-05

Family

ID=7844534

Family Applications (1)

Application Number Title Priority Date Filing Date
EP19980115143 Expired - Lifetime EP0907031B1 (fr) 1997-10-02 1998-08-12 Dispositif de commande d'un vérin hydraulique d'une moissonneuse automotrice

Country Status (2)

Country Link
EP (1) EP0907031B1 (fr)
DE (2) DE19743801A1 (fr)

Cited By (1)

* Cited by examiner, † Cited by third party
Publication number Priority date Publication date Assignee Title
EP2255945A1 (fr) * 2009-05-05 2010-12-01 KraussMaffei Technologies GmbH Dispositif d'entraînement hydroélectrique comme agrégat auxiliaire pour une machine de moulage par injection

Citations (1)

* Cited by examiner, † Cited by third party
Publication number Priority date Publication date Assignee Title
WO1997002432A1 (fr) 1995-07-05 1997-01-23 Caterpillar Inc. Systeme de commande d'un verin hydraulique et procede

Family Cites Families (10)

* Cited by examiner, † Cited by third party
Publication number Priority date Publication date Assignee Title
DE2902264A1 (de) * 1979-01-22 1980-07-24 Bosch Gmbh Robert Steuereinrichtung fuer eine hydraulikanlage
DE2904293A1 (de) * 1979-02-05 1980-08-07 Claas Ohg Hydraulisches steuerventil
DE3546336A1 (de) * 1985-12-30 1987-07-02 Rexroth Mannesmann Gmbh Steueranordnung fuer mindestens zwei von mindestens einer pumpe gespeiste hydraulische verbraucher
KR950007624B1 (ko) * 1990-09-28 1995-07-13 히다찌 겐끼 가부시기가이샤 유압펌프의 제어장치
DE59105057D1 (de) * 1990-12-15 1995-05-04 Barmag Barmer Maschf Hydrauliksystem.
US5261234A (en) * 1992-01-07 1993-11-16 Caterpillar Inc. Hydraulic control apparatus
US5249421A (en) * 1992-01-13 1993-10-05 Caterpillar Inc. Hydraulic control apparatus with mode selection
JPH05256303A (ja) * 1992-01-15 1993-10-05 Caterpillar Inc 油圧回路制御装置
DE4235380C2 (de) * 1992-06-19 1995-05-11 Weimar Werk Maschinenbau Gmbh Anordnung zur Steuerung von Erntemaschinen
US5383390A (en) * 1993-06-28 1995-01-24 Caterpillar Inc. Multi-variable control of multi-degree of freedom linkages

Patent Citations (1)

* Cited by examiner, † Cited by third party
Publication number Priority date Publication date Assignee Title
WO1997002432A1 (fr) 1995-07-05 1997-01-23 Caterpillar Inc. Systeme de commande d'un verin hydraulique et procede

Cited By (1)

* Cited by examiner, † Cited by third party
Publication number Priority date Publication date Assignee Title
EP2255945A1 (fr) * 2009-05-05 2010-12-01 KraussMaffei Technologies GmbH Dispositif d'entraînement hydroélectrique comme agrégat auxiliaire pour une machine de moulage par injection

Also Published As

Publication number Publication date
EP0907031A3 (fr) 2001-01-10
DE59814480D1 (de) 2011-02-17
EP0907031B1 (fr) 2011-01-05
DE19743801A1 (de) 1999-04-08

Similar Documents

Publication Publication Date Title
DE69808889T2 (de) Düsenanordnung
DE2508620A1 (de) Regelsystem fuer einen traktor
DE19539143A1 (de) Einzugsvorrichtung für Feldhäcksler
EP0628236B1 (fr) Dispositif réglable en hauteur
DE10000110B4 (de) Hydrostatischer Fahrzeugantrieb mit Steuerungseinrichtung und Steuerungseinrichtung für hydrostatische Antriebe
DE19718579B4 (de) Steuerung zur Regelung der Preßkraft einer Großballenpresse
DE3910120A1 (de) Steuerungsanordnung fuer eine zweizylinder-dickstoffpumpe
DE2025040A1 (de) Laengenveraenderlicher Oberlenker fuer eine Dreipunkt-Anhaengevorrichtung
EP0070015B1 (fr) Commande automatique de position pour le réglage de l'angle relatif entre le tuyau de décharge d'une moissonneuse et la remorque attelée recevant le produit récolté
DE3225076A1 (de) Vorrichtung zum zumischen von desinfektionsmittel zu wasser
EP0907031B1 (fr) Dispositif de commande d'un vérin hydraulique d'une moissonneuse automotrice
DE102005025966A1 (de) Lenksystem für landwirtschaftliche Fahrzeuge
DE3438353A1 (de) Hydraulische einrichtung fuer ein landwirtschaftliches arbeitsfahrzeug, insbesondere traktor
DE2751449B1 (de) Vorrichtung zur Lage- und/oder Arbeitstiefenregelung an landwirtschaftlichen Maschinen,insbesondere fuer mit Ackerschleppern gekuppelte Anbaugeraete
DE3214206A1 (de) Ackerschlepper mit einer heck- und frontseitigen geraeteanbauvorrichtung
EP3485728B1 (fr) Machine d'épandage agricole
EP0223224B1 (fr) Pulvérisateur agricole pour cultures de plein champ
DE69222843T2 (de) Eingangsglied
DE1757614A1 (de) Bodenbearbeitungsgeraet mit hydraulisch einschwenkbarem Werkzeug
DE69928593T2 (de) Elektronisches Steuersystem
DE19542371A1 (de) Wegeventilblock
DE2025114A1 (de) Strömungsmittelgerät, insbesondere zum Betätigen von Ventilen, Schaltern, Motoren und ähnlichem
DE1780079C2 (de) Lenkvorrichtung für Landmaschinen, insbesondere selbstfahrende Mähdrescher
EP4420500A1 (fr) Agencement hydraulique pour alimenter un outil avec puissance hydraulique
DE9400234U1 (de) Straßenmarkierungsmaschine mit Drosselvorrichtung zur Beeinflussung des Markierungsstoffauftrages

Legal Events

Date Code Title Description
PUAI Public reference made under article 153(3) epc to a published international application that has entered the european phase

Free format text: ORIGINAL CODE: 0009012

AK Designated contracting states

Kind code of ref document: A2

Designated state(s): BE DE DK FR GB IT

AX Request for extension of the european patent

Free format text: AL;LT;LV;MK;RO;SI

PUAL Search report despatched

Free format text: ORIGINAL CODE: 0009013

AK Designated contracting states

Kind code of ref document: A3

Designated state(s): AT BE CH CY DE DK ES FI FR GB GR IE IT LI LU MC NL PT SE

AX Request for extension of the european patent

Free format text: AL;LT;LV;MK;RO;SI

RIC1 Information provided on ipc code assigned before grant

Free format text: 7F 15B 21/08 A, 7F 15B 11/16 B

17P Request for examination filed

Effective date: 20010710

AKX Designation fees paid

Free format text: BE DE DK FR GB IT

17Q First examination report despatched

Effective date: 20040924

GRAP Despatch of communication of intention to grant a patent

Free format text: ORIGINAL CODE: EPIDOSNIGR1

GRAS Grant fee paid

Free format text: ORIGINAL CODE: EPIDOSNIGR3

GRAA (expected) grant

Free format text: ORIGINAL CODE: 0009210

AK Designated contracting states

Kind code of ref document: B1

Designated state(s): BE DE DK FR GB IT

REG Reference to a national code

Ref country code: GB

Ref legal event code: FG4D

Free format text: NOT ENGLISH

REF Corresponds to:

Ref document number: 59814480

Country of ref document: DE

Date of ref document: 20110217

Kind code of ref document: P

REG Reference to a national code

Ref country code: DE

Ref legal event code: R096

Ref document number: 59814480

Country of ref document: DE

Effective date: 20110217

PG25 Lapsed in a contracting state [announced via postgrant information from national office to epo]

Ref country code: DK

Free format text: LAPSE BECAUSE OF FAILURE TO SUBMIT A TRANSLATION OF THE DESCRIPTION OR TO PAY THE FEE WITHIN THE PRESCRIBED TIME-LIMIT

Effective date: 20110105

PLBE No opposition filed within time limit

Free format text: ORIGINAL CODE: 0009261

STAA Information on the status of an ep patent application or granted ep patent

Free format text: STATUS: NO OPPOSITION FILED WITHIN TIME LIMIT

26N No opposition filed

Effective date: 20111006

REG Reference to a national code

Ref country code: DE

Ref legal event code: R097

Ref document number: 59814480

Country of ref document: DE

Effective date: 20111006

GBPC Gb: european patent ceased through non-payment of renewal fee

Effective date: 20110812

REG Reference to a national code

Ref country code: FR

Ref legal event code: ST

Effective date: 20120430

PG25 Lapsed in a contracting state [announced via postgrant information from national office to epo]

Ref country code: IT

Free format text: LAPSE BECAUSE OF NON-PAYMENT OF DUE FEES

Effective date: 20110812

REG Reference to a national code

Ref country code: DE

Ref legal event code: R084

Ref document number: 59814480

Country of ref document: DE

Effective date: 20120623

PG25 Lapsed in a contracting state [announced via postgrant information from national office to epo]

Ref country code: GB

Free format text: LAPSE BECAUSE OF NON-PAYMENT OF DUE FEES

Effective date: 20110812

Ref country code: FR

Free format text: LAPSE BECAUSE OF NON-PAYMENT OF DUE FEES

Effective date: 20110831

PGFP Annual fee paid to national office [announced via postgrant information from national office to epo]

Ref country code: DE

Payment date: 20130703

Year of fee payment: 16

PGFP Annual fee paid to national office [announced via postgrant information from national office to epo]

Ref country code: BE

Payment date: 20130823

Year of fee payment: 16

REG Reference to a national code

Ref country code: DE

Ref legal event code: R119

Ref document number: 59814480

Country of ref document: DE

PG25 Lapsed in a contracting state [announced via postgrant information from national office to epo]

Ref country code: BE

Free format text: LAPSE BECAUSE OF NON-PAYMENT OF DUE FEES

Effective date: 20140831

REG Reference to a national code

Ref country code: DE

Ref legal event code: R119

Ref document number: 59814480

Country of ref document: DE

Effective date: 20150303

PG25 Lapsed in a contracting state [announced via postgrant information from national office to epo]

Ref country code: DE

Free format text: LAPSE BECAUSE OF NON-PAYMENT OF DUE FEES

Effective date: 20150303