EP0903542A3 - Damper device, in particular for gas cooker ignition system - Google Patents
Damper device, in particular for gas cooker ignition system Download PDFInfo
- Publication number
- EP0903542A3 EP0903542A3 EP98111376A EP98111376A EP0903542A3 EP 0903542 A3 EP0903542 A3 EP 0903542A3 EP 98111376 A EP98111376 A EP 98111376A EP 98111376 A EP98111376 A EP 98111376A EP 0903542 A3 EP0903542 A3 EP 0903542A3
- Authority
- EP
- European Patent Office
- Prior art keywords
- slide
- ignition system
- damper device
- recess
- gas cooker
- Prior art date
- Legal status (The legal status is an assumption and is not a legal conclusion. Google has not performed a legal analysis and makes no representation as to the accuracy of the status listed.)
- Withdrawn
Links
- 238000013016 damping Methods 0.000 abstract 2
- 230000007704 transition Effects 0.000 abstract 1
Classifications
-
- F—MECHANICAL ENGINEERING; LIGHTING; HEATING; WEAPONS; BLASTING
- F24—HEATING; RANGES; VENTILATING
- F24C—DOMESTIC STOVES OR RANGES ; DETAILS OF DOMESTIC STOVES OR RANGES, OF GENERAL APPLICATION
- F24C3/00—Stoves or ranges for gaseous fuels
- F24C3/10—Arrangement or mounting of ignition devices
- F24C3/103—Arrangement or mounting of ignition devices of electric ignition devices
Landscapes
- Engineering & Computer Science (AREA)
- Chemical & Material Sciences (AREA)
- Combustion & Propulsion (AREA)
- Mechanical Engineering (AREA)
- General Engineering & Computer Science (AREA)
- Cookers (AREA)
- Control Of Combustion (AREA)
- Feeding And Controlling Fuel (AREA)
- Vibration Dampers (AREA)
Abstract
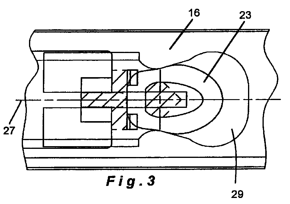
Zur gedämpften Abfangung des Rücklaufs eines unter Federwirkung stehenden Schiebers, weist der Schieber einen Mitnahmezapfen auf, der mit Spiel einen elastischen O-Ring trägt, der in einer Ausnehmung eines den Schieber führenden Teils läuft. Die Ausnehmung ist so bemessen, daß eine auf die Charakteristik der Rückholfeder abgestimmte seitliche Deformationskraft auf den O-Ring und damit den ihn tragenden Schieber ausgeübt wird, derart daß der Bewegungsverlauf entsprechend einer willkürlich festlegbaren Funktion erfolgt. Insbesondere ist die Anordnung derart getroffen, daß ein allmählicher Übergang in den Stillstand ohne Rückprallen gewährleistet wird. Die Erfindung kann sowohl zur Dämpfung linearer Bewegungen als auch zur Dämpfung von rotierenden Bewegungen Anwendung finden. For damped interception of the return of a spring-loaded slide, the slide has a driving pin, which carries an elastic O-ring with play, which runs in a recess of a part guiding the slide. The recess is dimensioned such that a lateral deformation force which is matched to the characteristic of the return spring is exerted on the O-ring and thus on the slide which carries it, so that the course of movement takes place in accordance with an arbitrarily definable function. In particular, the arrangement is such that a gradual transition to a standstill without rebound is ensured. The invention can be used both for damping linear movements and for damping rotating movements.
Applications Claiming Priority (2)
| Application Number | Priority Date | Filing Date | Title |
|---|---|---|---|
| DE29717015U | 1997-09-23 | ||
| DE29717015U DE29717015U1 (en) | 1997-09-23 | 1997-09-23 | Damping device, in particular for an ignition switching device for gas stoves |
Publications (2)
| Publication Number | Publication Date |
|---|---|
| EP0903542A2 EP0903542A2 (en) | 1999-03-24 |
| EP0903542A3 true EP0903542A3 (en) | 2000-03-01 |
Family
ID=8046354
Family Applications (1)
| Application Number | Title | Priority Date | Filing Date |
|---|---|---|---|
| EP98111376A Withdrawn EP0903542A3 (en) | 1997-09-23 | 1998-06-19 | Damper device, in particular for gas cooker ignition system |
Country Status (2)
| Country | Link |
|---|---|
| EP (1) | EP0903542A3 (en) |
| DE (1) | DE29717015U1 (en) |
Citations (2)
| Publication number | Priority date | Publication date | Assignee | Title |
|---|---|---|---|---|
| FR2033953A5 (en) * | 1969-02-06 | 1970-12-04 | Junkers & Co | |
| DE19610522A1 (en) * | 1996-03-18 | 1997-09-25 | Haschkamp Joachim | Igniter controller for gas cooker burner |
Family Cites Families (1)
| Publication number | Priority date | Publication date | Assignee | Title |
|---|---|---|---|---|
| DE1429108C3 (en) * | 1963-02-06 | 1978-04-06 | Imperial-Werke Gmbh, 4980 Buende | High-voltage ignition device for gas burners on gas stoves and the like |
-
1997
- 1997-09-23 DE DE29717015U patent/DE29717015U1/en not_active Expired - Lifetime
-
1998
- 1998-06-19 EP EP98111376A patent/EP0903542A3/en not_active Withdrawn
Patent Citations (2)
| Publication number | Priority date | Publication date | Assignee | Title |
|---|---|---|---|---|
| FR2033953A5 (en) * | 1969-02-06 | 1970-12-04 | Junkers & Co | |
| DE19610522A1 (en) * | 1996-03-18 | 1997-09-25 | Haschkamp Joachim | Igniter controller for gas cooker burner |
Also Published As
| Publication number | Publication date |
|---|---|
| EP0903542A2 (en) | 1999-03-24 |
| DE29717015U1 (en) | 1997-11-20 |
Similar Documents
| Publication | Publication Date | Title |
|---|---|---|
| EP0948936A3 (en) | Guide for use with intramedullary nail | |
| EP0822376A3 (en) | Safety device for a burner | |
| EP0343147A3 (en) | Injection valve for air-compressing fuel injection engines | |
| EP0903542A3 (en) | Damper device, in particular for gas cooker ignition system | |
| EP0234310A3 (en) | Viscous damper for a vibration isolation device | |
| SE8300723D0 (en) | RAMP VALVE | |
| EP1109998B1 (en) | Fuel injection valve | |
| EP0846874A3 (en) | Cylinder switch | |
| EP0994003A3 (en) | Valve device | |
| DE4204632A1 (en) | Centring unit for mechanical scanning head with follower and scanner - has two resetting elements reacting to follower in contrasting manner and one only multipart stop is provided for one reset element. | |
| EP1876363A3 (en) | Adjusting device for a Bowden cable arrangement | |
| EP0926388A3 (en) | Torsional vibration damper | |
| EP1364828A3 (en) | Element for a trailer with walking-floor | |
| DE59002457D1 (en) | Fuel injection nozzle for internal combustion engines. | |
| CH687684A5 (en) | Portable pneumatic impact tool | |
| DE870080C (en) | Jackhammer | |
| EP0804968A3 (en) | Device for producing an adjustable fluid jet | |
| DE377285C (en) | Transfer device for compressed air tools | |
| EP0394540A1 (en) | Holding support for the piezoelectric tube of a pressure sensor | |
| DE546233C (en) | Electromagnetic vibrator | |
| DE806300C (en) | Valve construction, especially for steam engines | |
| DE19531334B4 (en) | Internal combustion engine with integrated cooling | |
| DE69605574T2 (en) | HYDRAULIC PRESSURE GENERATOR WITH VIBRATION DAMPING | |
| EP0880881A3 (en) | Cap especially deflector and use of such a cap | |
| DE241936C (en) |
Legal Events
| Date | Code | Title | Description |
|---|---|---|---|
| PUAI | Public reference made under article 153(3) epc to a published international application that has entered the european phase |
Free format text: ORIGINAL CODE: 0009012 |
|
| AK | Designated contracting states |
Kind code of ref document: A2 Designated state(s): DE ES FR GB IT |
|
| AX | Request for extension of the european patent |
Free format text: AL;LT;LV;MK;RO;SI |
|
| PUAL | Search report despatched |
Free format text: ORIGINAL CODE: 0009013 |
|
| AK | Designated contracting states |
Kind code of ref document: A3 Designated state(s): AT BE CH CY DE DK ES FI FR GB GR IE IT LI LU MC NL PT SE |
|
| AX | Request for extension of the european patent |
Free format text: AL;LT;LV;MK;RO;SI |
|
| 17P | Request for examination filed |
Effective date: 20000129 |
|
| AKX | Designation fees paid |
Free format text: DE ES FR GB IT |
|
| RAP1 | Party data changed (applicant data changed or rights of an application transferred) |
Owner name: BSPARKS S.P.A. |
|
| 17Q | First examination report despatched |
Effective date: 20020712 |
|
| STAA | Information on the status of an ep patent application or granted ep patent |
Free format text: STATUS: THE APPLICATION IS DEEMED TO BE WITHDRAWN |
|
| 18D | Application deemed to be withdrawn |
Effective date: 20030123 |
