EP0809945A3 - Ladies underwear, especially brassière - Google Patents
Ladies underwear, especially brassière Download PDFInfo
- Publication number
- EP0809945A3 EP0809945A3 EP97108357A EP97108357A EP0809945A3 EP 0809945 A3 EP0809945 A3 EP 0809945A3 EP 97108357 A EP97108357 A EP 97108357A EP 97108357 A EP97108357 A EP 97108357A EP 0809945 A3 EP0809945 A3 EP 0809945A3
- Authority
- EP
- European Patent Office
- Prior art keywords
- side parts
- parts
- cups
- textile
- middle region
- Prior art date
- Legal status (The legal status is an assumption and is not a legal conclusion. Google has not performed a legal analysis and makes no representation as to the accuracy of the status listed.)
- Granted
Links
Classifications
-
- A—HUMAN NECESSITIES
- A41—WEARING APPAREL
- A41C—CORSETS; BRASSIERES
- A41C3/00—Brassieres
- A41C3/0014—Brassieres made from one piece with one or several layers
-
- A—HUMAN NECESSITIES
- A41—WEARING APPAREL
- A41D—OUTERWEAR; PROTECTIVE GARMENTS; ACCESSORIES
- A41D27/00—Details of garments or of their making
- A41D27/24—Hems; Seams
- A41D27/245—Hems; Seams made by welding or gluing
Landscapes
- Engineering & Computer Science (AREA)
- Textile Engineering (AREA)
- Corsets Or Brassieres (AREA)
- Pharmaceuticals Containing Other Organic And Inorganic Compounds (AREA)
- Undergarments, Swaddling Clothes, Handkerchiefs Or Underwear Materials (AREA)
- Transition And Organic Metals Composition Catalysts For Addition Polymerization (AREA)
- Polymers With Sulfur, Phosphorus Or Metals In The Main Chain (AREA)
- Acyclic And Carbocyclic Compounds In Medicinal Compositions (AREA)
- Artificial Filaments (AREA)
- Professional, Industrial, Or Sporting Protective Garments (AREA)
- Coloring Foods And Improving Nutritive Qualities (AREA)
- Sorption Type Refrigeration Machines (AREA)
Abstract
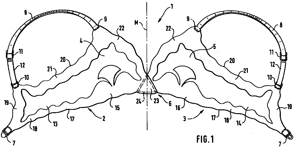
Die Erfindung betrifft ein Damenunterbekleidungsstück, insbesondere einen Büstenhalter (1), aus zwei die Büstenkörbchen (4, 5) enthaltenden Seitenteilen (2, 3), die im vorderen mittleren Bereich (6) zwischen den Büstenkörbchen (4, 5) miteinander verbunden sind, die an den rückwärtigen Enden einen Rückenverschluß (7) aufweisen und mit Trägerbändern (8) versehen sind. Die Seitenteile (2, 3) bestehen jeweils aus einem vollflächigen Zuschnitt (13, 14) aus einem textilen, thermoplastisch verschmelzbare Fasern enthaltenden Material, auf die entlang ihrer Außenränder Verstärkungsteile (15, 16) aufkaschiert sind, die ebenfalls aus einem textilen, thermoplastisch verschmelzbare Fasern enthaltenden Material bestehen. Die Seitenteile (2, 3) sind im vorderen mittleren Bereich (6) durch eine auf thermischem Wege erzeugte Schweißnaht (24) miteinander verbunden. Die Teile (7a, 7b) des Rückenverschlusses (7) sowie die Trägerbänder (8) sind mittelbar oder unmittelbar zumindest mittels auf thermischem Wege erzeugter Schweißnähte mit den Seitenteilen (2, 3) verbunden. Dadurch kann auf jegliche Nähte als Verbindungsmittel verzichtet und können eine bessere Reproduktion der Paßform und eine wirtschaftlichere Herstellung erreicht werden. The invention relates to a piece of underwear for women, in particular a brassiere (1), comprising two side parts (2, 3) containing the cups (4, 5), which are connected to one another in the front middle region (6) between the cups (4, 5), which have a back closure (7) at the rear ends and are provided with carrier tapes (8). The side parts (2, 3) each consist of a full-size blank (13, 14) made of a textile containing thermoplastic fusible material onto which reinforcing parts (15, 16) are laminated along their outer edges, which are also made of a textile, thermoplastic fusible Material containing fibers exist. The side parts (2, 3) are connected to one another in the front middle region (6) by a weld seam (24) produced by thermal means. The parts (7a, 7b) of the back fastener (7) as well as the carrier tapes (8) are connected directly or indirectly to the side parts (2, 3) at least by means of weld seams produced by thermal means. This means that there is no need for any seams as a connecting means, and a better reproduction of the fit and a more economical production can be achieved.
Priority Applications (1)
| Application Number | Priority Date | Filing Date | Title |
|---|---|---|---|
| SI9730016T SI0809945T1 (en) | 1996-05-31 | 1997-05-23 | Ladies underwear, especially brassiÞre |
Applications Claiming Priority (2)
| Application Number | Priority Date | Filing Date | Title |
|---|---|---|---|
| DE29609672U | 1996-05-31 | ||
| DE29609672U DE29609672U1 (en) | 1996-05-31 | 1996-05-31 | Bra |
Publications (3)
| Publication Number | Publication Date |
|---|---|
| EP0809945A2 EP0809945A2 (en) | 1997-12-03 |
| EP0809945A3 true EP0809945A3 (en) | 1998-09-23 |
| EP0809945B1 EP0809945B1 (en) | 1999-09-01 |
Family
ID=8024621
Family Applications (1)
| Application Number | Title | Priority Date | Filing Date |
|---|---|---|---|
| EP97108357A Expired - Lifetime EP0809945B1 (en) | 1996-05-31 | 1997-05-23 | Ladies underwear, especially brassière |
Country Status (22)
| Country | Link |
|---|---|
| US (1) | US5820443A (en) |
| EP (1) | EP0809945B1 (en) |
| JP (1) | JP3057027B2 (en) |
| CN (1) | CN1106164C (en) |
| AT (1) | ATE183895T1 (en) |
| BR (1) | BR9703413A (en) |
| CZ (1) | CZ284559B6 (en) |
| DE (2) | DE29609672U1 (en) |
| DK (1) | DK0809945T3 (en) |
| EE (1) | EE9700120A (en) |
| ES (1) | ES2138414T3 (en) |
| GR (1) | GR3031946T3 (en) |
| HR (1) | HRP970300B1 (en) |
| HU (1) | HU216817B (en) |
| IS (1) | IS4489A (en) |
| NO (1) | NO309355B1 (en) |
| PL (1) | PL183760B1 (en) |
| RU (1) | RU2127535C1 (en) |
| SI (1) | SI0809945T1 (en) |
| SK (1) | SK68497A3 (en) |
| UA (1) | UA42031C2 (en) |
| YU (1) | YU22297A (en) |
Families Citing this family (55)
| Publication number | Priority date | Publication date | Assignee | Title |
|---|---|---|---|---|
| DE29920469U1 (en) * | 1999-06-06 | 2000-10-19 | Triumph International AG, 80335 München | Underwear, in particular women's underwear |
| EP1033084B1 (en) * | 1999-02-26 | 2003-04-23 | Triumph International Aktiengesellschaft | Ladies' undergarment |
| DE29909775U1 (en) * | 1999-06-06 | 2000-10-12 | Triumph International AG, 80335 München | Brassieres with stiffening straps |
| IT1311535B1 (en) * | 1999-08-02 | 2002-03-13 | Benetton Spa | STRUCTURE OF A CLOTHING, IN PARTICULAR A BRA. |
| DE19944700C1 (en) * | 1999-09-18 | 2001-05-10 | Hans Bauer | Process for the production of undergarments by means of an adhesive connection |
| IT1317820B1 (en) * | 2000-02-09 | 2003-07-15 | Erreci Spa | PERFECTED BRA. |
| FR2806267B1 (en) * | 2000-05-29 | 2002-08-09 | Georges Lucien Altounian | METHOD FOR FINISHING AN EDGE OF A GARMENT PIECE OR A GARMENT |
| FR2809932B1 (en) | 2000-06-09 | 2002-09-27 | Playtex Apparel Inc | LINGERIE ARTICLE MADE FROM A CYLINDRICAL KNITTING COMPRISING HOLDING CHARACTERISTICS |
| PT1309254E (en) * | 2000-07-20 | 2007-05-31 | Branded Apparel Italia S R L | Stiffened brassiere |
| US6296728B1 (en) * | 2000-08-07 | 2001-10-02 | Shirley Mao | Brassiere and manufacturing process thereof |
| DE60115678D1 (en) * | 2000-10-05 | 2006-01-12 | Alba Waldensian | SEAMLESS CLOTHES |
| IT1320082B1 (en) * | 2000-11-10 | 2003-11-18 | Fashion Lab S R L | PROCEDURE FOR THE CREATION OF BRA, AS WELL AS BRA 'OBTAINED. |
| US6517651B2 (en) | 2000-12-21 | 2003-02-11 | Tefron Ltd. | Apparatus and method for joining fabrics without sewing |
| TW526714U (en) * | 2001-01-19 | 2003-04-01 | Strong Castle Ind Co Ltd | Seamless bra |
| US7690965B2 (en) * | 2001-02-06 | 2010-04-06 | Hbi Branded Apparel Enterprises, Llc | Methods of making cotton blend glue brassieres |
| US6837771B2 (en) * | 2001-02-06 | 2005-01-04 | Playtex Apparel, Inc. | Undergarments made from multi-layered fabric laminate material |
| FR2823075B1 (en) * | 2001-04-05 | 2003-08-15 | Desseilles Textiles Sa | PROCESS FOR PRODUCING A TEXTILE ARTICLE, PARTICULARLY FOR A BRA |
| ITBO20010423A1 (en) * | 2001-07-03 | 2003-01-03 | Liberti Spa | METHOD TO CREATE AN UNDERWEAR OR SWIMSUIT |
| EP1275312A1 (en) * | 2001-07-11 | 2003-01-15 | Hui-Na Mao | Brassiere and manufacturing process thereof |
| DE10133644C2 (en) * | 2001-07-11 | 2003-07-10 | Mayser Gmbh & Co Kg | Process for the manufacture of an undergarment or sportswear item and item of clothing produced thereafter |
| DE10151643C1 (en) * | 2001-10-11 | 2003-07-10 | Naturana Doelker Gmbh & Co Kg | bra |
| JP3939965B2 (en) * | 2001-11-19 | 2007-07-04 | グンゼ株式会社 | Bra fasteners, method for producing the same, and bras using the same |
| ES2197824B1 (en) * | 2002-06-21 | 2005-05-01 | Manufacturas Teleno, S.L. | PROCEDURE OF UNION OF TEXTILE PARTS AND PRODUCT. |
| ITCO20020013U1 (en) * | 2002-08-08 | 2004-02-09 | Airily Srl | SUPPORT THAT REPLACES THE FERRETTO IN THE BRA |
| ATE397873T1 (en) | 2002-12-05 | 2008-07-15 | Dba Lux 1 Sarl | BRA |
| US7179150B2 (en) * | 2003-01-21 | 2007-02-20 | Regina Miracle International Limited | Brassiere |
| US6805610B2 (en) * | 2003-01-21 | 2004-10-19 | Regina Miracle International Limited | Brassiere |
| US20070004315A1 (en) * | 2003-01-21 | 2007-01-04 | Theone Luk | Brassiere |
| FR2850536B1 (en) | 2003-02-03 | 2005-03-25 | Lee Sara Corp | TEXTILE ARTICLE OF LINGERIE MOLD, ESPECIALLY BRASS, WITH SILICONE SUPPORT REGION |
| WO2004073431A2 (en) * | 2003-02-19 | 2004-09-02 | Sara Lee Corporation | Fusion undergarment |
| USD531386S1 (en) | 2003-02-19 | 2006-11-07 | Sara Lee Corporation | Brassiere |
| CA2519637C (en) * | 2003-02-19 | 2010-10-12 | Sara Lee Corporation | A brassiere having a spacer fabric and a method of making same |
| US6837772B1 (en) * | 2003-07-18 | 2005-01-04 | Regina Miracle International Limited | Breast cup construction |
| US7131888B2 (en) * | 2004-08-31 | 2006-11-07 | Chi-Shang Enterprise Ltd. | Bra cups without sewing seams |
| US7192332B2 (en) * | 2004-11-12 | 2007-03-20 | Regina Miracle International Limited | Brassiere |
| US20060281389A1 (en) * | 2004-11-12 | 2006-12-14 | Zhen Qiang Liu | Brassiere |
| US7854022B2 (en) | 2005-01-10 | 2010-12-21 | Hbi Branded Apparel Enterprises, Llc | Garments having seamless edge bands and processes for making same |
| JP2006200084A (en) * | 2005-01-21 | 2006-08-03 | Utax:Kk | Clothing with a back such as a brassiere |
| US7128635B1 (en) * | 2005-11-04 | 2006-10-31 | Regina Miracle International Ltd. | Molded seamless brassiere incorporating fasteners |
| US20070251636A1 (en) * | 2006-05-01 | 2007-11-01 | Anthony Herbert | Bonding elastic to fabric of a garment |
| US7927441B2 (en) * | 2006-06-08 | 2011-04-19 | Clover Group International Limited | Method for joining fabric panels and manufacturing brassieres |
| CN101084804B (en) * | 2006-06-08 | 2011-02-02 | 高华集团国际有限公司 | Method for joining fabric panels and manufacturing brassieres |
| US20080096465A1 (en) * | 2006-10-18 | 2008-04-24 | Zhen Qiang Liu | Brassiere |
| US7758401B2 (en) * | 2006-12-06 | 2010-07-20 | Hbi Branded Apparel Enterprises, Llc | Upper support garment having an improved back |
| RU2368511C1 (en) * | 2008-03-26 | 2009-09-27 | Игорь Олегович Макаревич | Method of producing decorative product |
| DE102009005010B3 (en) | 2009-01-17 | 2010-06-17 | Mayser Gmbh & Co. Kg | Flock film, process for its preparation and its use |
| US8251772B2 (en) * | 2010-05-10 | 2012-08-28 | Mei Hui Lin | Method for forming a brassiere cup |
| US10441003B2 (en) * | 2011-03-02 | 2019-10-15 | Clover Mystique Co. Limited | X-shaped brassiere support and brassiere incorporating such support |
| CN104248048B (en) * | 2013-06-28 | 2017-04-26 | 维珍妮国际(集团)有限公司 | Method of attaching fastener pads of a bra to wings and bra and components thereof |
| US9427030B2 (en) | 2014-01-28 | 2016-08-30 | Tracy Buescher | Brassiere accessory |
| US9351524B2 (en) | 2014-01-28 | 2016-05-31 | Tracy Buescher | Brassiere accessory |
| CN110996698A (en) * | 2017-07-31 | 2020-04-10 | 旭化成株式会社 | Underwear and bra |
| US10721974B2 (en) * | 2017-11-27 | 2020-07-28 | Gelmart Industries, Inc. | Light weight supportive bra |
| US10231492B1 (en) * | 2017-11-27 | 2019-03-19 | Gelmart Industries, Inc. | Supportive light weight bra |
| WO2019202652A1 (en) * | 2018-04-17 | 2019-10-24 | 株式会社ユタックス | Garment having cup portions and method of manufacturing same |
Citations (5)
| Publication number | Priority date | Publication date | Assignee | Title |
|---|---|---|---|---|
| FR1362777A (en) * | 1962-06-12 | 1964-06-05 | Bayer Ag | Multi-layered corsetry, thermoplastically shaped |
| US3225768A (en) * | 1961-07-17 | 1965-12-28 | Jantzen Inc | Fabric laminated brassiere |
| EP0255101A2 (en) * | 1986-07-29 | 1988-02-03 | Playtex Apparel, Inc. | Method and apparatus for providing additional support to selected portions of a garment and garment produced thereby |
| US5154659A (en) * | 1990-12-14 | 1992-10-13 | Gerald Gluckin | Method of making molded brassiere cup and side panel |
| WO1994023601A1 (en) * | 1993-04-13 | 1994-10-27 | Playtex Apparel, Inc. | Fabric laminate and garments incorporating same |
Family Cites Families (10)
| Publication number | Priority date | Publication date | Assignee | Title |
|---|---|---|---|---|
| US2659085A (en) * | 1951-08-09 | 1953-11-17 | Hilda M Ericson | Brassiere |
| US2721323A (en) * | 1952-08-09 | 1955-10-25 | Int Latex Corp | Preformed deposited brassiere |
| US2797415A (en) * | 1952-08-09 | 1957-07-02 | Int Latex Corp | Preformed latex brassiere |
| US2772418A (en) * | 1954-01-11 | 1956-12-04 | Int Latex Corp | Rubber latex brasseiere |
| US2824563A (en) * | 1955-11-17 | 1958-02-25 | Iver F Hill | Plastic brassiere |
| GB1245398A (en) * | 1967-12-04 | 1971-09-08 | Mary Quant Ltd | Improvements in or relating to brassieres |
| DE2438089A1 (en) * | 1974-08-08 | 1976-02-19 | Triumph International Ag | Brassiere with cup surrounds of multi-way stretch material - without radial cup seams, for improved comfort without loss of shaping |
| US4557267A (en) * | 1983-05-20 | 1985-12-10 | International Playtex, Inc. | Brassiere and method of making same |
| FR2562768B3 (en) * | 1984-04-11 | 1986-06-27 | Dim Sa | BRA |
| DE8705929U1 (en) * | 1987-04-24 | 1987-08-20 | Naturana Dölker GmbH & Co KG, 7413 Gomaringen | Bra |
-
1996
- 1996-05-31 DE DE29609672U patent/DE29609672U1/en not_active Expired - Lifetime
-
1997
- 1997-05-23 DK DK97108357T patent/DK0809945T3/en active
- 1997-05-23 DE DE59700380T patent/DE59700380D1/en not_active Expired - Fee Related
- 1997-05-23 EP EP97108357A patent/EP0809945B1/en not_active Expired - Lifetime
- 1997-05-23 ES ES97108357T patent/ES2138414T3/en not_active Expired - Lifetime
- 1997-05-23 SI SI9730016T patent/SI0809945T1/en unknown
- 1997-05-23 AT AT97108357T patent/ATE183895T1/en active
- 1997-05-26 IS IS4489A patent/IS4489A/en unknown
- 1997-05-27 JP JP9136861A patent/JP3057027B2/en not_active Expired - Fee Related
- 1997-05-28 PL PL97320245A patent/PL183760B1/en not_active IP Right Cessation
- 1997-05-28 YU YU22297A patent/YU22297A/en unknown
- 1997-05-28 NO NO972431A patent/NO309355B1/en not_active IP Right Cessation
- 1997-05-29 HR HR970300A patent/HRP970300B1/en not_active IP Right Cessation
- 1997-05-29 HU HU9700969A patent/HU216817B/en not_active IP Right Cessation
- 1997-05-29 CZ CZ971669A patent/CZ284559B6/en not_active IP Right Cessation
- 1997-05-29 US US08/865,000 patent/US5820443A/en not_active Expired - Fee Related
- 1997-05-30 EE EE9700120A patent/EE9700120A/en unknown
- 1997-05-30 UA UA97052544A patent/UA42031C2/en unknown
- 1997-05-30 RU RU97109095A patent/RU2127535C1/en active
- 1997-05-30 SK SK684-97A patent/SK68497A3/en unknown
- 1997-05-31 CN CN97113560A patent/CN1106164C/en not_active Expired - Fee Related
- 1997-06-02 BR BR9703413A patent/BR9703413A/en not_active IP Right Cessation
-
1999
- 1999-11-25 GR GR990403039T patent/GR3031946T3/en unknown
Patent Citations (5)
| Publication number | Priority date | Publication date | Assignee | Title |
|---|---|---|---|---|
| US3225768A (en) * | 1961-07-17 | 1965-12-28 | Jantzen Inc | Fabric laminated brassiere |
| FR1362777A (en) * | 1962-06-12 | 1964-06-05 | Bayer Ag | Multi-layered corsetry, thermoplastically shaped |
| EP0255101A2 (en) * | 1986-07-29 | 1988-02-03 | Playtex Apparel, Inc. | Method and apparatus for providing additional support to selected portions of a garment and garment produced thereby |
| US5154659A (en) * | 1990-12-14 | 1992-10-13 | Gerald Gluckin | Method of making molded brassiere cup and side panel |
| WO1994023601A1 (en) * | 1993-04-13 | 1994-10-27 | Playtex Apparel, Inc. | Fabric laminate and garments incorporating same |
Also Published As
| Publication number | Publication date |
|---|---|
| CZ284559B6 (en) | 1999-01-13 |
| BR9703413A (en) | 1998-09-15 |
| SI0809945T1 (en) | 1999-12-31 |
| US5820443A (en) | 1998-10-13 |
| UA42031C2 (en) | 2001-10-15 |
| HRP970300B1 (en) | 2000-10-31 |
| IS4489A (en) | 1997-12-01 |
| CZ166997A3 (en) | 1997-12-17 |
| ES2138414T3 (en) | 2000-01-01 |
| RU2127535C1 (en) | 1999-03-20 |
| YU22297A (en) | 1999-11-22 |
| EE9700120A (en) | 1998-02-16 |
| HUP9700969A3 (en) | 1998-10-28 |
| HRP970300A2 (en) | 1998-04-30 |
| SK68497A3 (en) | 1997-12-10 |
| HU9700969D0 (en) | 1997-07-28 |
| GR3031946T3 (en) | 2000-03-31 |
| HUP9700969A2 (en) | 1997-11-28 |
| DE29609672U1 (en) | 1997-10-02 |
| EP0809945B1 (en) | 1999-09-01 |
| CN1106164C (en) | 2003-04-23 |
| PL183760B1 (en) | 2002-07-31 |
| EP0809945A2 (en) | 1997-12-03 |
| PL320245A1 (en) | 1997-12-08 |
| DK0809945T3 (en) | 2000-03-27 |
| NO309355B1 (en) | 2001-01-22 |
| NO972431L (en) | 1997-12-01 |
| ATE183895T1 (en) | 1999-09-15 |
| JP3057027B2 (en) | 2000-06-26 |
| JPH1088405A (en) | 1998-04-07 |
| NO972431D0 (en) | 1997-05-28 |
| DE59700380D1 (en) | 1999-10-07 |
| HK1008970A1 (en) | 1999-05-21 |
| HU216817B (en) | 1999-09-28 |
| CN1174686A (en) | 1998-03-04 |
Similar Documents
| Publication | Publication Date | Title |
|---|---|---|
| EP0809945A3 (en) | Ladies underwear, especially brassière | |
| EP1211956B1 (en) | Method for producing undergarment by using glued joints | |
| DE3244598A1 (en) | DISPOSABLE PANTIES | |
| DE202007006693U1 (en) | bra | |
| DE69800367T2 (en) | Ripple-proof saddle seam with the front and back of a garment and method of manufacture | |
| DE202007006705U1 (en) | bra | |
| DE2826339A1 (en) | BAG AND METHOD OF MANUFACTURING A BAG FOR CLOTHES | |
| DE7822531U1 (en) | SWIMMING TRUNKS | |
| DE202007006706U1 (en) | Brassiere with information carrier | |
| DE69613172T2 (en) | Reinforcement straps for zipper | |
| EP1837285B1 (en) | Method for producing a double-chamber paper bag | |
| EP1060678A2 (en) | Brassiere with shaping inserts | |
| DE19906853A1 (en) | Pair of running shorts for long distance track and road running | |
| DE2915702A1 (en) | EYE AND CLOTHING WITH AN EYE AND METHOD FOR PRODUCING THE EYE | |
| DE3326009A1 (en) | Sporting trousers or underpants with leg parts | |
| DE202018103338U1 (en) | Variable clothing combination | |
| DE1805008A1 (en) | Stiffening lining for garments | |
| DE258054C (en) | ||
| DE19647680C2 (en) | Fastening arrangement for a removable top window | |
| AT382769B (en) | Elongate object, in particular a belt | |
| DE7327420U (en) | TROUSERS | |
| DE1435823C (en) | Method for attaching a zip fastener to a carrier material | |
| DE102011114187A1 (en) | Multi-layer breast prosthesis and foil pouches for their production | |
| EP0896799A2 (en) | Underwear for women | |
| DE7304791U (en) | Garment for short-term use |
Legal Events
| Date | Code | Title | Description |
|---|---|---|---|
| PUAI | Public reference made under article 153(3) epc to a published international application that has entered the european phase |
Free format text: ORIGINAL CODE: 0009012 |
|
| AK | Designated contracting states |
Kind code of ref document: A2 Designated state(s): AT BE CH DE DK ES FI FR GB GR IE IT LI LU MC NL PT SE |
|
| AX | Request for extension of the european patent |
Free format text: LT PAYMENT 970612;LV PAYMENT 970612;SI PAYMENT 970612 |
|
| PUAL | Search report despatched |
Free format text: ORIGINAL CODE: 0009013 |
|
| AK | Designated contracting states |
Kind code of ref document: A3 Designated state(s): AT BE CH DE DK ES FI FR GB GR IE IT LI LU MC NL PT SE |
|
| AX | Request for extension of the european patent |
Free format text: LT PAYMENT 970612;LV PAYMENT 970612;SI PAYMENT 970612 |
|
| 17P | Request for examination filed |
Effective date: 19980827 |
|
| GRAG | Despatch of communication of intention to grant |
Free format text: ORIGINAL CODE: EPIDOS AGRA |
|
| GRAG | Despatch of communication of intention to grant |
Free format text: ORIGINAL CODE: EPIDOS AGRA |
|
| GRAH | Despatch of communication of intention to grant a patent |
Free format text: ORIGINAL CODE: EPIDOS IGRA |
|
| 17Q | First examination report despatched |
Effective date: 19990126 |
|
| GRAH | Despatch of communication of intention to grant a patent |
Free format text: ORIGINAL CODE: EPIDOS IGRA |
|
| GRAA | (expected) grant |
Free format text: ORIGINAL CODE: 0009210 |
|
| AK | Designated contracting states |
Kind code of ref document: B1 Designated state(s): AT BE CH DE DK ES FI FR GB GR IE IT LI LU MC NL PT SE |
|
| AX | Request for extension of the european patent |
Free format text: LT PAYMENT 19970612;LV PAYMENT 19970612;SI PAYMENT 19970612 |
|
| REF | Corresponds to: |
Ref document number: 183895 Country of ref document: AT Date of ref document: 19990915 Kind code of ref document: T |
|
| REG | Reference to a national code |
Ref country code: CH Ref legal event code: EP |
|
| REF | Corresponds to: |
Ref document number: 59700380 Country of ref document: DE Date of ref document: 19991007 |
|
| REG | Reference to a national code |
Ref country code: CH Ref legal event code: NV Representative=s name: PATENTANWAELTE SCHAAD, BALASS, MENZL & PARTNER AG |
|
| REG | Reference to a national code |
Ref country code: IE Ref legal event code: FG4D Free format text: GERMAN |
|
| ITF | It: translation for a ep patent filed | ||
| ET | Fr: translation filed | ||
| GBT | Gb: translation of ep patent filed (gb section 77(6)(a)/1977) |
Effective date: 19991202 |
|
| REG | Reference to a national code |
Ref country code: ES Ref legal event code: FG2A Ref document number: 2138414 Country of ref document: ES Kind code of ref document: T3 |
|
| REG | Reference to a national code |
Ref country code: PT Ref legal event code: SC4A Free format text: AVAILABILITY OF NATIONAL TRANSLATION Effective date: 19991130 |
|
| REG | Reference to a national code |
Ref country code: DK Ref legal event code: T3 |
|
| LTIE | Lt: invalidation of european patent or patent extension | ||
| PGFP | Annual fee paid to national office [announced via postgrant information from national office to epo] |
Ref country code: SE Payment date: 20000523 Year of fee payment: 4 Ref country code: MC Payment date: 20000523 Year of fee payment: 4 Ref country code: LU Payment date: 20000523 Year of fee payment: 4 Ref country code: FI Payment date: 20000523 Year of fee payment: 4 Ref country code: BE Payment date: 20000523 Year of fee payment: 4 Ref country code: AT Payment date: 20000523 Year of fee payment: 4 |
|
| PGFP | Annual fee paid to national office [announced via postgrant information from national office to epo] |
Ref country code: PT Payment date: 20000524 Year of fee payment: 4 |
|
| PGFP | Annual fee paid to national office [announced via postgrant information from national office to epo] |
Ref country code: DK Payment date: 20000525 Year of fee payment: 4 |
|
| PGFP | Annual fee paid to national office [announced via postgrant information from national office to epo] |
Ref country code: IE Payment date: 20000529 Year of fee payment: 4 |
|
| PLBE | No opposition filed within time limit |
Free format text: ORIGINAL CODE: 0009261 |
|
| STAA | Information on the status of an ep patent application or granted ep patent |
Free format text: STATUS: NO OPPOSITION FILED WITHIN TIME LIMIT |
|
| 26N | No opposition filed | ||
| PG25 | Lapsed in a contracting state [announced via postgrant information from national office to epo] |
Ref country code: LU Free format text: LAPSE BECAUSE OF NON-PAYMENT OF DUE FEES Effective date: 20010523 Ref country code: IE Free format text: LAPSE BECAUSE OF NON-PAYMENT OF DUE FEES Effective date: 20010523 Ref country code: FI Free format text: LAPSE BECAUSE OF NON-PAYMENT OF DUE FEES Effective date: 20010523 Ref country code: DK Free format text: LAPSE BECAUSE OF NON-PAYMENT OF DUE FEES Effective date: 20010523 Ref country code: AT Free format text: LAPSE BECAUSE OF NON-PAYMENT OF DUE FEES Effective date: 20010523 |
|
| PG25 | Lapsed in a contracting state [announced via postgrant information from national office to epo] |
Ref country code: SE Free format text: LAPSE BECAUSE OF NON-PAYMENT OF DUE FEES Effective date: 20010524 |
|
| PG25 | Lapsed in a contracting state [announced via postgrant information from national office to epo] |
Ref country code: MC Free format text: LAPSE BECAUSE OF NON-PAYMENT OF DUE FEES Effective date: 20010531 Ref country code: BE Free format text: LAPSE BECAUSE OF NON-PAYMENT OF DUE FEES Effective date: 20010531 |
|
| PG25 | Lapsed in a contracting state [announced via postgrant information from national office to epo] |
Ref country code: LI Free format text: LAPSE BECAUSE OF NON-PAYMENT OF DUE FEES Effective date: 20010622 Ref country code: CH Free format text: LAPSE BECAUSE OF NON-PAYMENT OF DUE FEES Effective date: 20010622 |
|
| BERE | Be: lapsed |
Owner name: TRIUMPH INTERNATIONAL A.G. Effective date: 20010531 |
|
| PG25 | Lapsed in a contracting state [announced via postgrant information from national office to epo] |
Ref country code: PT Free format text: LAPSE BECAUSE OF NON-PAYMENT OF DUE FEES Effective date: 20011130 |
|
| PG25 | Lapsed in a contracting state [announced via postgrant information from national office to epo] |
Ref country code: NL Free format text: LAPSE BECAUSE OF NON-PAYMENT OF DUE FEES Effective date: 20011201 |
|
| REG | Reference to a national code |
Ref country code: GB Ref legal event code: IF02 |
|
| REG | Reference to a national code |
Ref country code: CH Ref legal event code: PL |
|
| REG | Reference to a national code |
Ref country code: DK Ref legal event code: EBP |
|
| NLV4 | Nl: lapsed or anulled due to non-payment of the annual fee |
Effective date: 20011201 |
|
| REG | Reference to a national code |
Ref country code: IE Ref legal event code: MM4A |
|
| REG | Reference to a national code |
Ref country code: PT Ref legal event code: MM4A Free format text: LAPSE DUE TO NON-PAYMENT OF FEES Effective date: 20011130 |
|
| PGFP | Annual fee paid to national office [announced via postgrant information from national office to epo] |
Ref country code: ES Payment date: 20080523 Year of fee payment: 12 Ref country code: DE Payment date: 20080426 Year of fee payment: 12 |
|
| PGFP | Annual fee paid to national office [announced via postgrant information from national office to epo] |
Ref country code: IT Payment date: 20080524 Year of fee payment: 12 |
|
| PGFP | Annual fee paid to national office [announced via postgrant information from national office to epo] |
Ref country code: GB Payment date: 20080522 Year of fee payment: 12 |
|
| PGFP | Annual fee paid to national office [announced via postgrant information from national office to epo] |
Ref country code: GR Payment date: 20080527 Year of fee payment: 12 |
|
| GBPC | Gb: european patent ceased through non-payment of renewal fee |
Effective date: 20090523 |
|
| REG | Reference to a national code |
Ref country code: FR Ref legal event code: ST Effective date: 20100129 |
|
| PG25 | Lapsed in a contracting state [announced via postgrant information from national office to epo] |
Ref country code: FR Free format text: LAPSE BECAUSE OF NON-PAYMENT OF DUE FEES Effective date: 20090602 |
|
| PGFP | Annual fee paid to national office [announced via postgrant information from national office to epo] |
Ref country code: FR Payment date: 20080519 Year of fee payment: 12 |
|
| PG25 | Lapsed in a contracting state [announced via postgrant information from national office to epo] |
Ref country code: GB Free format text: LAPSE BECAUSE OF NON-PAYMENT OF DUE FEES Effective date: 20090523 |
|
| PG25 | Lapsed in a contracting state [announced via postgrant information from national office to epo] |
Ref country code: GR Free format text: LAPSE BECAUSE OF NON-PAYMENT OF DUE FEES Effective date: 20091202 Ref country code: DE Free format text: LAPSE BECAUSE OF NON-PAYMENT OF DUE FEES Effective date: 20091201 |
|
| REG | Reference to a national code |
Ref country code: ES Ref legal event code: FD2A Effective date: 20090525 |
|
| PG25 | Lapsed in a contracting state [announced via postgrant information from national office to epo] |
Ref country code: ES Free format text: LAPSE BECAUSE OF NON-PAYMENT OF DUE FEES Effective date: 20090525 |
|
| PG25 | Lapsed in a contracting state [announced via postgrant information from national office to epo] |
Ref country code: IT Free format text: LAPSE BECAUSE OF NON-PAYMENT OF DUE FEES Effective date: 20090523 |
