EP0807698A2 - Process and apparatus for the preparation of fibrets from cellulose derivatives - Google Patents
Process and apparatus for the preparation of fibrets from cellulose derivatives Download PDFInfo
- Publication number
- EP0807698A2 EP0807698A2 EP97106492A EP97106492A EP0807698A2 EP 0807698 A2 EP0807698 A2 EP 0807698A2 EP 97106492 A EP97106492 A EP 97106492A EP 97106492 A EP97106492 A EP 97106492A EP 0807698 A2 EP0807698 A2 EP 0807698A2
- Authority
- EP
- European Patent Office
- Prior art keywords
- dope
- solvent
- fibrets
- precipitation
- cellulose
- Prior art date
- Legal status (The legal status is an assumption and is not a legal conclusion. Google has not performed a legal analysis and makes no representation as to the accuracy of the status listed.)
- Granted
Links
Images
Classifications
-
- D—TEXTILES; PAPER
- D01—NATURAL OR MAN-MADE THREADS OR FIBRES; SPINNING
- D01D—MECHANICAL METHODS OR APPARATUS IN THE MANUFACTURE OF ARTIFICIAL FILAMENTS, THREADS, FIBRES, BRISTLES OR RIBBONS
- D01D5/00—Formation of filaments, threads, or the like
- D01D5/40—Formation of filaments, threads, or the like by applying a shearing force to a dispersion or solution of filament formable polymers, e.g. by stirring
-
- D—TEXTILES; PAPER
- D01—NATURAL OR MAN-MADE THREADS OR FIBRES; SPINNING
- D01D—MECHANICAL METHODS OR APPARATUS IN THE MANUFACTURE OF ARTIFICIAL FILAMENTS, THREADS, FIBRES, BRISTLES OR RIBBONS
- D01D5/00—Formation of filaments, threads, or the like
- D01D5/18—Formation of filaments, threads, or the like by means of rotating spinnerets
-
- D—TEXTILES; PAPER
- D01—NATURAL OR MAN-MADE THREADS OR FIBRES; SPINNING
- D01F—CHEMICAL FEATURES IN THE MANUFACTURE OF ARTIFICIAL FILAMENTS, THREADS, FIBRES, BRISTLES OR RIBBONS; APPARATUS SPECIALLY ADAPTED FOR THE MANUFACTURE OF CARBON FILAMENTS
- D01F2/00—Monocomponent artificial filaments or the like of cellulose or cellulose derivatives; Manufacture thereof
- D01F2/24—Monocomponent artificial filaments or the like of cellulose or cellulose derivatives; Manufacture thereof from cellulose derivatives
Definitions
- the invention relates to a method for producing fibrets according to the preamble of claim 1 and a device according to the preamble of claim 21.
- Fibrets are understood in the following as very fine fibers, which are characterized by very fine fiber diameters and thus by a very high mass-specific surface. Fibrets are typically produced by means of a precipitation process or by extrusion, in which case precipitation is usually integrated as a sub-process. Fibrets are partly present in the fiber composite or fiber network as a result of the production.
- the diameters of the individual fibers are generally less than 5 ⁇ m, mostly less than 1 ⁇ m.
- the dimensions of the fiber networks which are referred to as agglomerates and which can be varied over a wide range by the conditions during production and by further processing steps, are up to 1 mm. However, agglomerate sizes of less than 200 ⁇ m are aimed for. With the dimensions mentioned, mass-specific surfaces of over 20 m 2 / g are achieved.
- the fibrets are mainly used in depth filters for liquid filtration, whereby these filters are also used to prove the quality of the fibrets.
- depth filters For optimal operation of depth filters, it is crucial to realize small pore sizes with high porosity. In terms of filtration technology, this results in high separation achieved low differential pressures.
- Embedding the fibrets in fiber networks also has the advantage over particulate material and shortened staple fibers that the fibers are very tightly integrated in the filter and detachments during the filtration can be largely excluded.
- the fiber structure in the agglomerate composite gives the filters high strength and flexibility, which is advantageous for pleating.
- fibrets are not limited to depth filters for liquid filtration.
- nonwovens for air filtration for example, fibrets can replace the glass fibers, the harmful effects of which are known when they enter the lungs.
- fibrets can be used as optical brighteners in the paper industry. Small amounts of remaining solvent can cause the fibers to fuse during drying, so that e.g. in nonwovens the strength can be increased significantly.
- Fibrets can generally be made from a variety of materials. The only limits are set by the solvent and the viscosity of the solution. As a result of their advantages in the choice of the solvent, fibrets made of cellulose esters, in particular cellulose acetate, with mass-specific surfaces over 20 m 2 / g have mainly been presented in the literature. For use in depth filters for liquid filtration, fibrets made from cellulose acetate also have the advantage that, together with the pulp used as matrix material largely achieved material homogeneity is achieved. This ensures problem-free disposal. Compared to the currently preferred diatomaceous earth, perlites and / or metal oxides, the advantages of the very low ion emission and the complete biodegradability must be emphasized.
- a solution (dope) is usually prepared from a cellulose ester and a suitable solvent.
- the non-solvent for the cellulose ester which is completely miscible with the solvent, can be present in proportions which do not significantly affect the dissolving behavior of the cellulose ester in the solvent.
- This solution is usually precipitated under the action of shear forces in a non-solvent or precipitant for the cellulose ester, which is completely miscible with the solvent.
- the resulting fibrets dampen the turbulence to a great extent, since the distance between the extrusion opening and the wall of 1.6 mm is only insignificantly larger than the maximum agglomerate size of 1 mm, so that solids contents exceeding 1% by mass ( % By weight) cannot therefore be exceeded after the precipitation. Since the turbulence is increasingly dependent on the solids content, the stirring arrangement has poor part-load behavior. Furthermore, the exit velocity of the dope is influenced by the centrifugal forces because the extrusion nozzles are arranged in the rotating disk. This also affects the precipitation conditions.
- Two-component nozzle systems as are described in US Pat. No. 4,192,838, US Pat. No. 5,071,599 and US Pat. No. 5,175,276, and the T-pipe systems which are explained, for example, in US Pat. No. 3,961,007, implement a similar principle.
- the precipitation is carried out in two-stream nozzles in cocurrent, in the case of T-pipe systems in countercurrent.
- the nozzle diameter - usually> 2.5 mm - must be designed to be large enough to prevent the solution from failing at the nozzle opening.
- the nozzle diameter is therefore 20,000 times larger than the required one Fiber diameter.
- the countercurrent process in the T-pipe systems is the more effective variant with regard to vortex formation and thus shear field formation.
- the precipitation bath flow is braked very strongly, so that the precipitation conditions vary to a large extent.
- the formation of coarser fibers especially in the case of solids contents after the precipitation of approximately 1% by mass, cannot be avoided.
- these dimensions can only be influenced to a minor extent by workup steps after the precipitation.
- the partial load and clogging behavior of the counterflow variant is also to be assessed negatively.
- a disadvantage of the known production process is that large amounts of solvent have to be circulated.
- US Pat. No. 5,071,599 and US Pat. No. 5,175,276 mention 8 kg of solvent, for example acetone, for the production of 1 kg of fibrets.
- US Pat. No. 3,842,007 and US Pat. No. 3,961,007 for example, require between 20 and 80 kg or 33 kg of solvents, such as acetone, 1,4-dioxane or methyl acetate, for 1 kg of fibrets.
- the amount of solvent remaining in the fibrets is too high for further processing in most applications.
- the fibret surface is not fully hardened due to the solvent contained in the solution.
- the network structure is partially lost when pressure is applied, which leads to clumping at high pressures. For this reason, it is usually filtered under the action of shear forces, with solids contents of at most 4% by mass being achieved with specific surfaces of over 20 m 2 / g.
- fibrets to solvent are in a ratio of approx. 1: 1, otherwise the solvent predominates.
- the object of the invention is to provide a method and a device which allows a more economical production of the fibrets with better quality.
- the invention is based on the finding that working up the constituents of the coagulation bath separated from the fibrets is only sensible and economical if the coagulant used for the coagulation bath may have as high a proportion of solvent as possible and if at the same time it is permitted that the separated solvent proportion , which is reused for the preparation of the dope, may still have a non-solvent content.
- Contamination of the Solvent due to the non-solvent and vice versa has its limit where the dope prepared with the prepared solvent can no longer be processed. Too high a proportion of non-solvent can lead to premature precipitation on the one hand and to an excessive viscosity of the dope on the other.
- dispersing devices are e.g. distributed by the company Ystral under the name “dispersing machine” and by the company IKA Maschinenbau under the name “Dispax-Reaktor". These devices usually contain two to six shear rings, which are preferably designed alternately as stators and rotors. The rotors reach speeds of up to 12,000 revolutions per minute, so that basic flow velocities of up to preferably 100 m / sec can be achieved in the precipitation bath. These known dispersing devices with their high peripheral speeds are usually used for emulsifying, suspending, homogenizing and dissolving dispersions. Although the use of discontinuous dispersion systems is also possible within the scope of the invention, the advantages of continuous dispersion systems lie in the reliable guarantee of a uniform product quality.
- the suspension formed from dope and precipitant is accelerated and decelerated alternately at least once, preferably at least twice, a high degree of turbulence is maintained over a long distance, so that a dope with high viscosity can be processed.
- the suspension is alternately preferably subjected to a radial and a transverse flow.
- the dope is preferably introduced into the precipitant through stationary nozzles, means for generating a flow being moved past their outlet openings.
- the dope emerging from the nozzles is detected and deducted very quickly, so that nozzle clogging cannot occur even at higher viscosities.
- the fibrets are already largely homogenized by the alternating acceleration and deceleration, so that under certain circumstances. a subsequent homogenization treatment can be dispensed with. This is obviously due to the fact that a high mean turbulence can be maintained over a long distance, and that during the entire residence time in the dispersing device, which is usually between 0.03 and 0.5 sec.
- the turbulence itself is only slightly dampened by the fibrets that form, since the turbulence is generated by rotating machine parts and not by a turbulent flowing medium.
- This has the further advantage that the partial load behavior of the entire arrangement is very good. This means that in large areas the fibret quality is independent of the total throughput of the precipitation bath and the dope and of their relationship to one another.
- the dope is preferably prepared with cellulose esters or cellulose ethers.
- Cellulose diacetate, cellulose triacetate, cellulose acetate butyrate, cellulose acetate propionate, benzyl cellulose or ethyl cellulose and other suitable cellulose derivatives or mixtures of these materials are preferred.
- a cellulose diacetate with an acetyl value between 54 and 56% is preferably used.
- the proportion of cellulose derivatives in the dope is preferably 3-20% by mass. Lower concentrations are usually not economically attractive, larger proportions require too high a viscosity.
- the proportion of solvent must also be adjusted. Acetone can be used as the solvent.
- Acetic acid methyl acetate, methyl ethyl ketone, 1,4-dioxane, acetaldehyde, ethyl acetate, tetrahydrofuran or methyl isopropyl ketone or mixtures of the solvents mentioned can be used.
- the solvent acetone is particularly preferred.
- Preferred non-solvents for the cellulose ester are water, ethanol or methanol, the proportion of which in the dope can be up to 40% by mass.
- the maximum content of non-solvents based on the ratio of solvent to cellulose derivative depends on the precipitation point. The higher the non-solvent content in the dope, the faster the precipitation point is reached.
- the maximum salary is determined by the precipitation point, which i.a. is temperature-dependent.
- a non-solvent content of 2-20% by mass below the concentration of the non-solvent at the respective precipitation point is preferred.
- US 5,071,599 and US 5,175,276, which describe two-component nozzle systems only up to 20% by weight of non-solvent are permitted in the dope, so that this proportion in the system cellulose acetate, acetone and water is between 8.5% and 21% below Precipitation point.
- the ratio of solvent to cellulose derivative should also be minimized.
- the ratio can be a minimum of 4.4.
- Lower ratios usually cause the viscosity of the dope to be too high, which has a negative effect on the fibret fineness in the known processes. Solves for example, cellulose diacetate in acetone in a mass ratio of 1: 3, a gel-like consistency is obtained.
- the viscosity can be reduced by adding water as the non-solvent. In this regard, it is desirable to add water to just below the precipitation point.
- the prior art processes are unable to produce fibrets with an acetone: water mass ratio of, for example, 2.8 and a non-solvent content of up to 2% by mass below the precipitation point in the dope.
- the viscosity is still too high despite the addition of water.
- the main advantage is that higher viscosities of the dope can be processed with satisfactory results.
- solvent: cellulose derivative ratios between 4.4: 1 and 2.8: 1 can be achieved without the quality of the fibrets deteriorating. Particularly good results could be achieved if the solvent acetone, cellulose ester cellulose diacetate and non-solvent water were used.
- a reduction in the ratio of acetone: cellulose diacetate from 4.4: 1 to 2.8: 1 means that 36% by mass less solvent has to be used to produce a predetermined amount of fibrets, which considerably reduces the production costs of the fibrets.
- the temperature of the dope is largely uncritical for the process. Good results have been obtained at room temperature. To reduce the A higher temperature can be selected for the viscosity of the solution, up to precipitation at overpressure and temperatures above 100 ° C. however, the ambient temperature is preferred as the most economical variant.
- the two or three components of the dope are mixed in a suitable manner until a homogeneous solution is obtained. This solution is then optionally fed to the dispersing device via a filter.
- the volume flow of the precipitant in the precipitation bath is preferably adjusted so that the fibret content in the precipitation bath is between 0.1 and 2.5% by mass. Differences in the fibret quality could not be determined even with a high fibret content. At concentrations between 2.5 and 3.5% by mass, precipitation is still carried out without clogging of the extrusion nozzles, but there are drawbacks to the fibret fineness and fibrethomogeneity. A range of 1-2.5% by mass is preferred for economic reasons.
- the process according to the invention is thus significantly better than the processes according to the prior art, according to which the precipitation is only possible at concentrations between 0.1 and 1% by mass.
- the methods according to the prior art must work with a large excess of the precipitation medium compared to the dope, in particular at higher viscosities of the dope, in order to generate sufficient turbulence.
- a minimum ratio of precipitation bath: dope of 11: 1 has been achieved with the two-component nozzle systems according to US Pat. No. 4,192,838 and US Pat. No. 5,071,599 and US Pat. No. 5,175,276.
- the process according to the invention permits the production of fibrets at a precipitation bath: dope ratio of 10: 1 to 2.5: 1. This has the following advantages:
- the concentration of the cellulose derivative in the dope can be chosen to be low.
- acetone content for the acetone-cellulose diacetate-water system in the coagulation bath may not exceed 15% by mass.
- the acetone present in the suspension causes the solidification of the fibers to extend over a longer period.
- the surfaces of the fibrets that have not yet completely solidified can stick together and form lumps without a porous fibret structure.
- the shear effect is high enough to separate such lumps until the fibers have completely solidified.
- the longer solidification time of the fibrets also contributes to finer fibrillation and associated with a higher surface area, because shear forces act on the entire solidification time, intensifying the fibrillation.
- acetone contents in the precipitation bath of up to 25% by mass are possible.
- the device for producing the fibrets provides that the at least one nozzle, through which the dope is introduced into the precipitant, is arranged in a dispersing device having a rotor and stator, which has at least two toothed rings, of which at least one toothed ring is part of the rotor of the Is dispersing device and that the dispersing device has a feed line for the precipitant.
- Precipitation bath and dope are combined in the dispersing device to achieve the precipitation.
- the precipitation bath flows through the dispersing machine, as is known from homogenizing and dispersing tasks.
- the feed line for the precipitant preferably encloses the feed line for the dope.
- the nozzle is preferably arranged in the interior of the dispersing device and aligned radially outward on the innermost ring gear.
- the first is in the flow direction of the precipitation bath Sprocket part of the rotor, followed by a sprocket of a stator, etc.
- the distance between sprocket and nozzle is small to allow the actual precipitation in the zone of the shear field, which is generated by the teeth moving in front of the nozzle opening.
- the distance can be between 0.01 and 5 mm, preferably 0.01-0.1 mm. It is also possible to equip the first ring gear in the direction of flow of the precipitation bath with nozzles for adding the dope.
- the nozzle diameter can be selected in large areas because this parameter has only a minor influence on the quality of the fibrets in the intended area.
- a nozzle diameter between 5 and 10 mm is preferred. However, smaller nozzle diameters are possible. Since no blockages of the nozzles occur during the use of the dispersing device, the use of larger nozzles, although possible from the point of view of the fibret quality, is also not necessary. If the volume flow from precipitant to dope is low or the total volume flow is high, it is advisable to divide the dope flow over several nozzles.
- These nozzles are preferably arranged symmetrically within the innermost ring gear. If, for example, three nozzles are provided, they are arranged in a star shape.
- the feed line to the nozzles is preferably located in the center of the dispersing device.
- the precipitation agent is also introduced centrally into the dispersing device. This is ensured by the fact that the feed line of the precipitant preferably encloses the feed line of the dope.
- fibrets develop very quickly after the dope has been introduced into the precipitation bath.
- the development time is of the order of 0.001 - 0.5 seconds.
- the fibret morphology should then be determined.
- an outer shell first forms, since the concentration bales in the Scherfeld first reaches the concentration of non-solvent required for the precipitation.
- the solvent must diffuse outwards and / or the non-solvent inwards through this shell. A time which is greater than the specified precipitation time therefore passes again until the core has hardened.
- the fibers Since the outer morphology has already developed in this time period, the fibers, despite the soft inner core, have a turbulence-inhibiting effect to such an extent that the fibers can no longer be divided.
- a dispersing device it is possible to cut fibers with a soft inner core by means of the high shear effect applied by the rotors and therefore to increase the fineness of the fibrets.
- the dispersing device also has a positive effect on the agglomerate size of the fibrets.
- agglomerate sizes of up to 1 mm can also be achieved.
- FIG. 1 shows the plant for the production of fibrets.
- the raw material for example cellulose diacetate
- the dope is fed via the feed line 1 to a dope preparation tank 2, to which solvent 31 is fed from the treatment plant 26 via the line 31.
- the dope is fed to a dispersing device 40 via a double line 3, where the precipitation is carried out.
- the precipitant is prepared in a precipitation bath 8 into which non-solvent, preferably water, is fed via line 27 from the processing plant 26.
- the precipitant used is introduced into the dispersing device 40 via a precipitation bath feed line 9, where the precipitant is combined with the dope. This will be explained in connection with FIG. 2.
- the precipitation bath suspension with the fibrets produced is fed to the distillation plant 12 via the precipitation bath discharge line 13.
- Steam is fed to the distillation plant 12 via a steam feed line 15, and the separated solvent is first fed via a heat exchanger 16 to the treatment plant 26 via the solvent return line 17, where the treatment of the solvent takes place in such a way that it then returns to the dope preparation tank 2 or the precipitation bath preparation tank 8 can be used.
- the fibrets are fed to a high-pressure homogenizer 20 via the discharge line 19. From there, the fibrets go into a stacking tank 22 and further into a drum filter 24, where the fibrets are concentrated to the desired final concentration, the precipitation bath also being fed to the treatment plant 26 via the return line 25.
- the fibrets prepared in this way are fed via the fibret derivation 23 for further processing.
- the treated solvent which can contain a certain proportion of non-solvent and the non-solvent, which in turn can contain a portion of solvent, is introduced into tanks 2 and 8 via lines 27 and 31, respectively.
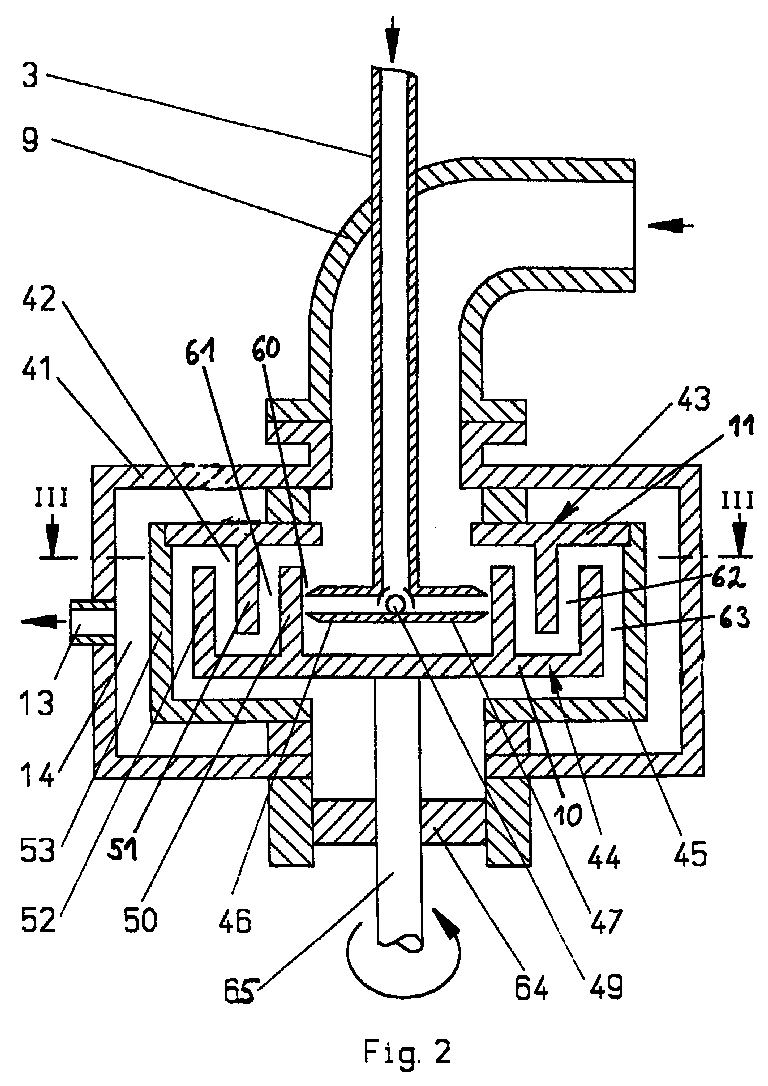
- the dispersing device 40 is shown in vertical section.
- the precipitant is fed into the interior of the dispersing device 40 via the curved feed line 9.
- the dope feed line 3 is located within the feed line 9 and is enclosed by it, so that both the dope and the precipitant can be introduced centrally into the dispersing device 40.
- the double line 3 branches inside the housing 41 and merges into the nozzles 46 and 47, which are arranged in a star shape together with the nozzles 48 and 49, which is shown in FIG.
- the nozzles extend outward in the radial direction and end at a short distance in front of the innermost ring gear 50, which is part of the rotor 44.
- This rotor 44 is driven by a drive shaft 65 which extends downward from the housing 41 and is driven by a motor (not shown). Sealing to the housing 41 takes place via a mechanical seal 64.
- the rotor 44 which has a base plate 10, comprises, in addition to the first ring gear 50, a further ring gear (third ring gear) 52 spaced apart therefrom. Between the two ring gears 50 and 52 there is the second ring gear 51, which belongs to the stator 43.
- the stator 43 which has an annular base plate 11, is arranged above the nozzles 46-49, so that the second ring gear 51 extends downward and is fastened to the housing 41.
- a further stator 45 which has the outer or fourth ring gear 53, is arranged below the rotor.
- the precipitation bath feed line 9 Since the precipitation bath feed line 9 is sealed against the stator 43, the precipitant is fed centrally and flows around the nozzles 46 to 49.
- the dope which is fed through the double line 3 exits the nozzles 46 to 49 in the radial direction and into the shear field one, which extends through the ring gears 50-53 into the outer region 14.
- Dope and precipitant will be first gripped by the ring gear 50 and accelerated. Due to the radial direction of flow of dope and precipitant, which is superimposed on the cross-flow, the dope or the fibrets being formed leave the zone 60 in the radial direction through the gaps 54 between the teeth 55 of the first ring gear 50, whereby dope and precipitant are delayed .
- the liquid then passes into a further zone 61 between the ring gear 50 and the ring gear 51, where the liquid is accelerated again.
- This ring gear 51 since it belongs to the stator, is stationary.
- the fibrets successively reach the further zones 62 and 63 between the ring gears 51 and 52 or 52 and 53, where accelerations and decelerations alternate.
- the fibrets are discharged together with the precipitation bath in the form of a suspension via the discharge pipe 13. Fibrets were produced with this device and are described in the examples below.
- FIG. 4 shows schematically the course of the average degree of turbulence of the dope / precipitant mixture as a function of the distance from the nozzle according to the prior art (US 4,047,862 - curve I) and according to the invention (curve II).
- a minimum degree of turbulence which is characterized by straight line III, must be exceeded for the production of fibrets. Below curve III, the turbulence is too low for the precipitation, so that the desired fineness of the fibrets is not achieved.
- the degree of turbulence required for fibrin production is only reached shortly behind the nozzles, and then drops exponentially, so that only a relatively short distance is available for fibrin production.
- the shear field according to the invention extends in a dispersing device according to FIGS. 2 and 3 over approximately 14 mm (distance from ring gear 50 to ring gear 53), the minimum degree of turbulence required for fibrin production being exceeded and remaining constant after exiting the nozzle.
- the curve II drops steeply only when the outer region (see FIG. 2) 14 is reached. While working according to US 4,047,863 with circumferential speeds of about 30 m / sec, the rotational speed of the rotor of the dispersing device is 41 m / sec in this example.
- 480 g of a cellulose diacetate (CA) from Eastman Chemical Company (type CA 398-3) are dissolved in 3840 g of acetone and 480 g of water.
- the resulting dope thus contains 10 Ma% CA, 10 Ma% water and 80 Ma% acetone.
- the ratio of acetone to water is 8.
- the dope is passed into the precipitation bath at ambient temperature with a mass flow of 3 kg / min through a four-jet nozzle, each with a diameter of 5 mm and the ends of which are 0.10 mm from the inner rotor headed. Water is also used as the precipitation medium at ambient temperature and enters the precipitation chamber with a mass flow of 34.5 kg / min.
- the mass flows of precipitation bath and dope are in a ratio of 11.5 to 1.
- the dispersing machine is equipped with four sprockets of the "fine" specification (see Table 1).
- the precipitation takes place at a speed of 12,000 min -1 .
- CA fibrets are present at a concentration of 0.8% by mass.
- Acetone is 6.5% by weight.
- the values mentioned and the values for the following tests are compared in Table 2.
- the acetone is removed by open distillation at ambient pressure. After the acetone has been removed, the fibrets are homogenized in one stage using a high-pressure homogenizer from APV GAULIN, type LAB 60, at a pressure of 150 bar.
- the fibrets are concentrated for storage with a nutsche.
- a filter cake with a solids concentration of 8.6% by mass is formed.
- the experiment was carried out analogously to experiment 1, except that the precipitation bath mass flow was reduced to 15.75 kg / min. There was a ratio of the mass flows of precipitation bath to dope of 5.25 and a concentration of the fibrets after precipitation of 1.6 Ma% (at 12.8 Ma% acetone). High-pressure homogenization was dispensed with.
- the experiment was carried out analogously to experiment 1, except that the precipitation bath mass flow was reduced to 12 kg / min. There was a ratio of the mass flows of precipitation bath to dope of 4.0 and a concentration of the fibrets after precipitation of 2.0 mass% (at 16.0 mass% acetone). High-pressure homogenization was dispensed with.
- the experiment was carried out analogously to experiment 1, except that a mass ratio of acetone to CA of 5 was set. With a mass flow ratio of precipitation bath to dope of 7.2 there are 1.7 Ma% fibrets with 8.5 Ma% acetone after the precipitation.
- the experiment was carried out analogously to experiment 1, except that a mass ratio of acetone to CA of 3.5 was set. With a mass flow ratio of precipitation bath to dope of 9.9, 1.65% by mass of fibrets with 5.80% by weight of acetone are present after the precipitation.
- Experiment 10 was carried out analogously to experiment 6, except that water of up to 28% by mass was additionally added to the dope. 5% by mass of acetone were present in the precipitation bath. After precipitation, the fibrets had a concentration of 1.5% by mass with an acetone concentration of 9.8% by mass.
- Each of the samples had specific surfaces above 20 m 2 / g and individual fiber dimensions, preferably below 1 ⁇ m. However, further parameters such as homogeneity, accessibility of the fiber networks for the flow etc. are decisive for the filtration.
- the layers had a basis weight of 1350 g / m 2 .
- the layers were tested with a test suspension of 0.5% by weight of raw raw cane sugar in water.
- the test area was 100 cm 2 .
- the throughput was determined after 30 min at a differential pressure of 1 bar. After a filtration period of 15 minutes, the turbidity measurement was sampled to determine the separation effect.
- the initial turbidity for all layers in the test series carried out in parallel was approximately 2.40 TE / F.
- Each of the filter layers produced with the described fibrets was tested in three runs. Table 3 shows the mean values.
- the fibrets of sample 9 are positive.
- the addition of acetone to the precipitation medium results in better fibrillation.
- the geometry of the sprockets used in the examined area has no significant influence on the quality of the fibrets.
- FIG. 5 shows the dependence of the maximum possible water content on the concentration of the cellulose acetate in the dope (both in% by mass) at a temperature of 20 ° C.
- the acetone content is obtained by subtracting the respective CA and water concentrations from 100% by mass.
- the diagram shows that the greatest difference to the prior art is at 5% by mass of cellulose acetate and the smallest at 15% by mass of cellulose acetate.
- Maximum water content according to the invention 5.0 Ma% cellulose acetate 37.7 mass% water 57.3 mass% acetone State-of-the-art maximum water content 5.0 Ma% cellulose acetate 19.0 mass% water 76.0 mass% acetone Difference in water content compared to the prior art 18.7 Ma% (based on dope) 15% by mass of cellulose acetate: Falling point concentration: 15.0% by mass of cellulose acetate 25.5 mass% water 59.5 mass% acetone Maximum water content according to the invention 15.0% by mass of cellulose acetate 23.5 mass% water 61.5 mass% acetone State-of-the-art maximum water content 15.0% by mass of cellulose acetate 17.0% water 68.0 mass% ace
- Figure 5 clearly shows the advantages of the invention, which consist in the fact that the cellulose acetate portion can be chosen much larger (see expanded area according to the invention) and that the water portion can be significantly higher, which, as described above, has decisive advantages in the Process management (elimination of the filtration stage) and the process costs (preparation with less effort).
Landscapes
- Engineering & Computer Science (AREA)
- Textile Engineering (AREA)
- Chemical & Material Sciences (AREA)
- Mechanical Engineering (AREA)
- Dispersion Chemistry (AREA)
- Chemical Kinetics & Catalysis (AREA)
- General Chemical & Material Sciences (AREA)
- Artificial Filaments (AREA)
- Spinning Methods And Devices For Manufacturing Artificial Fibers (AREA)
Abstract
Um eine wirtschaftlichere Herstellung von Fibrets bei besserer Qualität zu gewährleisten, wird ein Verfahren beschrieben, bei dem ein Dope, der ein Zellulosederivat und ein dafür geeignetes Lösungsmittel enthält, in ein Fällungsmittel eingeleitet und dort einem Scherfeld ausgesetzt, wobei der Dope gefällt und die Fibrets gebildet werden. Anschließend werden die Fibrets, das Lösungsmittel und das Fällungsmittel absepariert. Die aus dem Dope und dem Fällungsmittel gebildete Suspension wird hierbei im Scherfeld mindestens einmal abwechselnd beschleunigt und verzögert. Vorzugsweise wird die Suspension mindestens zweimal abwechselnd beschleunigt und verzögert. Dadurch wird über eine lange Strecke ein hoher mittlerer Turbulenzgrad aufrechterhalten, so daß ein Dope mit hoher Viskosität verarbeitet werden kann. Die Vorrichtung zur Herstellung von Fibrets sieht eine mindestens eine Düse (46-49) in einer Rotor (44) und Stator (43,45) aufweisenden Dispergiereinrichtung (40) vor, die mindestens zwei Zahnkränze (50-53) aufweist, von denen mindestens ein Zahnkranz (50) Bestandteil des Rotors (44) der Dispergiereinrichtung (40) ist. In order to ensure a more economical production of fibrets with better quality, a method is described in which a dope containing a cellulose derivative and a suitable solvent is introduced into a precipitant and exposed there to a shear field, the dope being precipitated and the fibrets being formed will. The fibrets, the solvent and the precipitant are then separated. The suspension formed from the dope and the precipitant is alternately accelerated and decelerated at least once in the shear field. The suspension is preferably accelerated and decelerated alternately at least twice. As a result, a high degree of turbulence is maintained over a long distance, so that a dope with high viscosity can be processed. The device for producing fibrets provides a dispersing device (40) having at least one nozzle (46-49) in a rotor (44) and stator (43, 45), which has at least two toothed rings (50-53), at least of which a ring gear (50) is part of the rotor (44) of the dispersing device (40).
Description
Die Erfindung betrifft ein Verfahren zur Herstellung von Fibrets gemäß dem Oberbegriff von Patentanspruch 1 sowie eine Vorrichtung gemäß dem Oberbegriff von Patentanspruch 21.The invention relates to a method for producing fibrets according to the preamble of
Unter Fibrets werden im folgenden Feinstfasern verstanden, die sich durch sehr feine Faserdurchmesser und somit durch eine sehr hohe massenspezifische Oberfläche auszeichnen. Fibrets werden typischerweise mittels eines Fällprozesses oder durch Extrusion hergestellt, wobei im letzten Fall meist eine Fällung als Teilprozeß integriert ist. Fibrets liegen infolge der Herstellung teilweise im Faserverbund oder Fasernetzwerk vor. Die Durchmesser der Einzelfasern liegen im allgemeinen unter 5 µm, meist unter 1 µm. Die Abmessungen der Fasernetzwerke, die als Agglomerate bezeichnet werden und die durch die Bedingungen bei der Herstellung und durch weitere Aufarbeitungsschritte in großen Bereichen variiert werden können, betragen bis zu 1 mm. Angestrebt werden jedoch Agglomeratgrößen von unter 200 µm. Mit den genannten Abmessungen werden massenspezifische Oberflächen über 20 m2/g erreicht.Fibrets are understood in the following as very fine fibers, which are characterized by very fine fiber diameters and thus by a very high mass-specific surface. Fibrets are typically produced by means of a precipitation process or by extrusion, in which case precipitation is usually integrated as a sub-process. Fibrets are partly present in the fiber composite or fiber network as a result of the production. The diameters of the individual fibers are generally less than 5 µm, mostly less than 1 µm. The dimensions of the fiber networks, which are referred to as agglomerates and which can be varied over a wide range by the conditions during production and by further processing steps, are up to 1 mm. However, agglomerate sizes of less than 200 µm are aimed for. With the dimensions mentioned, mass-specific surfaces of over 20 m 2 / g are achieved.
Der Einsatz der Fibrets ist hauptsächlich in Tiefenfiltern zur Flüssigkeitsfiltration vorgesehen, wobei diese Filter auch zum Nachweis der erreichten Qualität der Fibrets genutzt werden. Für den optimalen Betrieb von Tiefenfiltern ist es entscheidend, geringe Porengrößen bei einer hohen Porosität zu realisieren. Damit wird filtrationstechnisch eine hohe Abscheidung bei geringen Differenzdrücken erzielt. Die Einbettung der Fibrets in Fasernetzwerke hat gegenüber partikulärem Material und gekürzten Stapelfasern außerdem den Vorteil, daß die Fasern im Filter sehr fest eingebunden sind und somit Ablösungen während der Filtration weitestgehend ausgeschlossen werden können. Die Faserstruktur im Agglomeratverbund verleiht den Filtern eine hohe Festigkeit bei gleichzeitiger Flexibilität, was für eine Plissierung von Vorteil ist.The fibrets are mainly used in depth filters for liquid filtration, whereby these filters are also used to prove the quality of the fibrets. For optimal operation of depth filters, it is crucial to realize small pore sizes with high porosity. In terms of filtration technology, this results in high separation achieved low differential pressures. Embedding the fibrets in fiber networks also has the advantage over particulate material and shortened staple fibers that the fibers are very tightly integrated in the filter and detachments during the filtration can be largely excluded. The fiber structure in the agglomerate composite gives the filters high strength and flexibility, which is advantageous for pleating.
Der Einsatz von Fibrets ist nicht auf Tiefenfilter zur Flüssigkeitsfiltration beschränkt. In Vliesen zur Luftfiltration können Fibrets beispielsweise die Glasfasern ersetzen, deren gesundheitsschädliche Wirkung beim Eintritt in die Lunge bekannt ist. Da die sehr große Oberfläche bei den meisten Polymeren eine intensive Weißfärbung bedingt, können Fibrets als optische Aufheller in der Papierindustrie genutzt werden. Geringe Mengen verbliebenen Lösungsmittels können zu einem Verschmelzen der Fasern während der Trocknung führen, so daß z.B. in Vliesstoffen die Festigkeit wesentlich gesteigert werden kann. Durch die große spezifische Oberfläche, die weitestgehend einem durchströmenden Medium zugänglich ist, können Fibrets vorteilhaft für Adsorptionsprozesse, einschließlich der Chromatographieprozesse, eingesetzt werden. Diese Wirkung kann durch die Einbringung von oberflächenaktiven Substanzen oder durch eine chemische Modifikation des Ausgangsmaterials vor der Fibretherstellung oder im nachfolgenden Produktionsprozeß unterstützt werden.The use of fibrets is not limited to depth filters for liquid filtration. In nonwovens for air filtration, for example, fibrets can replace the glass fibers, the harmful effects of which are known when they enter the lungs. Since the very large surface area of most polymers requires intensive white coloring, fibrets can be used as optical brighteners in the paper industry. Small amounts of remaining solvent can cause the fibers to fuse during drying, so that e.g. in nonwovens the strength can be increased significantly. Due to the large specific surface, which is largely accessible to a medium flowing through, fibrets can be used advantageously for adsorption processes, including the chromatography processes. This effect can be supported by the introduction of surface-active substances or by a chemical modification of the starting material before the fibrin production or in the subsequent production process.
Fibrets sind grundsätzlich aus einer Vielzahl von Materialien herstellbar. Die Grenzen werden lediglich durch das Lösungsmittel und die Viskosität der Lösung gesetzt. Infolge ihrer Vorteile bei der Wahl des Lösungsmittels wurden bisher vorwiegend Fibrets aus Zelluloseestern, insbesondere Zelluloseacetat, mit massenspezifischen Oberflächen über 20 m2/g in der Literatur vorgestellt. Für die Anwendung in Tiefenfiltern zur Flüssigkeitsfiltration besitzen Fibrets aus Zelluloseacetat außerdem den Vorteil, daß gemeinsam mit dem ohnehin verwendeten Zellstoffpulp als Matrixmaterial weitgehende Materialhomogenität erreicht wird. Eine problemlose Entsorgung ist damit gegeben. Gegenüber den zur Zeit bevorzugt eingesetzten Kieselguren, Perliten und/oder Metalloxiden sind weiterhin die Vorteile der sehr geringen Ionenabgabe und der vollständigen biologischen Abbaubarkeit hervorzuheben.Fibrets can generally be made from a variety of materials. The only limits are set by the solvent and the viscosity of the solution. As a result of their advantages in the choice of the solvent, fibrets made of cellulose esters, in particular cellulose acetate, with mass-specific surfaces over 20 m 2 / g have mainly been presented in the literature. For use in depth filters for liquid filtration, fibrets made from cellulose acetate also have the advantage that, together with the pulp used as matrix material largely achieved material homogeneity is achieved. This ensures problem-free disposal. Compared to the currently preferred diatomaceous earth, perlites and / or metal oxides, the advantages of the very low ion emission and the complete biodegradability must be emphasized.
Die Herstellung von Fibrets aus Zelluloseestern mit Lösungsmitteln ist grundsätzlich z.B. aus US 3,342,921, US 3,441,473, US 3,785,918, US 3,842,007, US 3,961,007, US 4,040,856, US 4,047,862, US 4,192,838, US 5,071,599 und US 5,175,276 bekannt. Üblicherweise wird eine Lösung (Dope) aus einem Zelluloseester und einem dafür geeigneten Lösungsmittel hergestellt. Das Nicht-Lösungsmittel für den Zelluloseester, das mit dem Lösungsmittel vollständig mischbar ist, kann in solchen Anteilen vorhanden sein, die das Löseverhalten des Zelluloseesters im Lösungsmittel nicht wesentlich beeinflussen. Diese Lösung wird meist unter Einwirkung von Scherkräften in einem Nicht-Losungsmittel oder Fällungsmittel für den Zelluloseester ausgefällt, der mit dem Lösungsmittel vollständig mischbar ist.The production of fibrets from cellulose esters with solvents is basically e.g. known from US 3,342,921, US 3,441,473, US 3,785,918, US 3,842,007, US 3,961,007, US 4,040,856, US 4,047,862, US 4,192,838, US 5,071,599 and US 5,175,276. A solution (dope) is usually prepared from a cellulose ester and a suitable solvent. The non-solvent for the cellulose ester, which is completely miscible with the solvent, can be present in proportions which do not significantly affect the dissolving behavior of the cellulose ester in the solvent. This solution is usually precipitated under the action of shear forces in a non-solvent or precipitant for the cellulose ester, which is completely miscible with the solvent.
Für den Fällprozeß werden Einstoffdüsensysteme, Rührsysteme, Zweistoffdüsensysteme und T-Rohrsysteme verwendet.Single-substance nozzle systems, stirring systems, two-substance nozzle systems and T-pipe systems are used for the precipitation process.
In Einstoffdüsensystemen, wie sie beispielsweise in der US 3,441,473 und US 4,040,856 beschrieben werden, wird der Dope oberhalb des Fällbades versprüht, so daß eine zumindest teilweise Spontanverdampfüng des Lösungsmittels einsetzt. Die zur Erzeugung von Fibrets erforderliche Scherwirkung wird bei der spontanen Zustandsänderung, wie Volumenexpansion, Verdampfen des Lösungsmittels und Temperaturabfall, am Düsenaustritt erzielt. Es zeigte sich jedoch, daß mit dieser Prozeßvariante nicht die geforderte Faserfeinheit und Homogenität erreicht werden konnte. Die Faserdurchmesser liegen überwiegend oberhalb von 1 µm.In single-component nozzle systems, as are described, for example, in US Pat. Nos. 3,441,473 and 4,040,856, the dope is sprayed above the coagulation bath, so that an at least partial spontaneous evaporation of the solvent begins. The shear required to produce fibrets is achieved at the spontaneous change in state, such as volume expansion, evaporation of the solvent and temperature drop, at the nozzle outlet. However, it was shown that the required fiber fineness and homogeneity could not be achieved with this process variant. The fiber diameters are predominantly above 1 µm.
Rührsysteme, wie sie in der US 4,047,862 beschrieben werden, weisen eine rotierende Scheibe mit radialen Extrusionsöffnungen auf, durch die der Dope gegen eine beabstandete, ortsfeste Umfangswand in das Fällbad eingeleitet wird. Der Dope tritt aus den Düsen mit einer bestimmten Geschwindigkeit aus und wird auf seinem weiteren Weg nur noch abgebremst. Derartige Systeme haben den Nachteil, daß die Einstellung eines definierten Scherfeldes Schwierigkeiten bereitet. Der Scherspalt muß einerseits gering gewählt werden, um ein intensives Scherfeld zu gewährleisten. Andererseits besteht bei geringeren Abständen die Gefahr der Verstopfung der Extrusionsdüsen, was nur durch eine größere Strömungsgeschwindigkeit des Fällungsmittels senkrecht zum Scherfeld verhindert werden kann. Größere Abstände bewirken wiederum einen zu geringen Schergradienten. Ferner dämpfen die entstehenden Fibrets im starken Maße die Turbulenz, da der Abstand der Extrusionsöffnung - Wand von 1,6 mm nur unwesentlich größer ist als die maximale Agglomeratgröße von 1 mm, so daß Feststoffgehalte über 1 Ma% ( Gew.-%) nach der Fällung daher nicht überschritten werden können. Da die Turbulenzen in steigendem Maße vom Feststoffgehalt abhängig sind, besitzt die Rühranordnung ein schlechtes Teillastverhalten. Ferner wird die Austrittsgeschwindigkeit des Dope aufgrund der Zentrifugalkräfte beeinflußt, weil die Extrusionsdüsen in der rotierenden Scheibe angeordnet sind. Die Fällbedingungen werden dadurch ebenfalls beeinträchtigt.Stirring systems, as described in US Pat. No. 4,047,862, have a rotating disk with radial extrusion openings through which the dope is introduced into the precipitation bath against a spaced, stationary peripheral wall. The dope emerges from the nozzles at a certain speed and is only slowed down on its way. Such systems have the disadvantage that the setting of a defined shear field is difficult. On the one hand, the shear gap must be chosen to be small in order to ensure an intensive shear field. On the other hand, at shorter distances there is a risk of the extrusion nozzles becoming blocked, which can only be prevented by a higher flow rate of the precipitant perpendicular to the shear field. Larger distances in turn cause the shear gradient to be too low. In addition, the resulting fibrets dampen the turbulence to a great extent, since the distance between the extrusion opening and the wall of 1.6 mm is only insignificantly larger than the maximum agglomerate size of 1 mm, so that solids contents exceeding 1% by mass ( % By weight) cannot therefore be exceeded after the precipitation. Since the turbulence is increasingly dependent on the solids content, the stirring arrangement has poor part-load behavior. Furthermore, the exit velocity of the dope is influenced by the centrifugal forces because the extrusion nozzles are arranged in the rotating disk. This also affects the precipitation conditions.
Zweistoffdüsensysteme, wie sie in der US 4,192,838, US 5,071,599 und US 5,175,276 beschrieben werden, sowie die T-Rohrsysteme, die z.B. in der US 3,961,007 erläutert werden, verwirklichen ein ähnliches Prinzip. Die Fällung wird bezüglich der Strömungsrichtungen von Dope und Fällmedium bei Zweistoffdüsen im Gleichstrom, bei T-Rohrsystemen dagegen im Gegenstrom verwirklicht. Bei den Zweistoffdüsen muß der Düsendurchmesser - meist > 2.5 mm - so groß ausgelegt werden, um ein Ausfällen der Lösung an der Düsenöffnung zu vermeiden. Der Düsendurchmesser ist damit 20000 mal größer als der geforderte Faserdurchmesser. Auch bei einer turbulenten Strömung des Fällmediums in der Verengung der Ventildüse entstehen Turbulenz- und Konzentrationsgradienten, die neben feinen Fasern die Entstehung größerer Fasern bedingen. Dies ist um so eher zu beobachten, je höher der Feststoffgehalt nach der Fällung liegt. Feststoffgehalte über 1 Ma% können bei Gewährleistung der geforderten Faserfeinheit nicht überschritten werden.Two-component nozzle systems, as are described in US Pat. No. 4,192,838, US Pat. No. 5,071,599 and US Pat. No. 5,175,276, and the T-pipe systems which are explained, for example, in US Pat. No. 3,961,007, implement a similar principle. With regard to the flow directions of dope and precipitation medium, the precipitation is carried out in two-stream nozzles in cocurrent, in the case of T-pipe systems in countercurrent. In the case of the two-component nozzles, the nozzle diameter - usually> 2.5 mm - must be designed to be large enough to prevent the solution from failing at the nozzle opening. The nozzle diameter is therefore 20,000 times larger than the required one Fiber diameter. Even with a turbulent flow of the precipitating medium in the constriction of the valve nozzle, turbulence and concentration gradients occur, which in addition to fine fibers cause the formation of larger fibers. This can be observed the more the higher the solids content after the precipitation. Solids contents above 1% by mass cannot be exceeded if the required fiber fineness is guaranteed.
Das Gegenstromverfahren bei den T-Rohrsystemen ist bezüglich der Wirbelbildung und damit der Scherfeldausbildung die effektivere Variante. Allerdings wird der Fällbadfluß hierbei sehr stark abgebremst, so daß die Fällungsbedingungen im großen Maße variieren. Neben sehr feinen Fasern, die den vorgenannten Anforderungen genügen, ist die Entstehung gröberer Fasern, insbesondere bei Feststoffgehalten nach der Fällung von ca. 1 Ma%, nicht zu vermeiden. Diese Abmessungen können durch Aufarbeitungsschritte nach der Fällung im Gegensatz zur Agglomeratgröße nur noch geringfügig beeinflußt werden. Das Teillast- und Verstopfungsverhalten der Gegenstromvariante ist ebenfalls negativ zu bewerten.The countercurrent process in the T-pipe systems is the more effective variant with regard to vortex formation and thus shear field formation. However, the precipitation bath flow is braked very strongly, so that the precipitation conditions vary to a large extent. In addition to very fine fibers that meet the above-mentioned requirements, the formation of coarser fibers, especially in the case of solids contents after the precipitation of approximately 1% by mass, cannot be avoided. In contrast to the agglomerate size, these dimensions can only be influenced to a minor extent by workup steps after the precipitation. The partial load and clogging behavior of the counterflow variant is also to be assessed negatively.
Nachteilig bei dem bekannten Herstellungsverfahren ist, daß große Mengen Lösungsmittel im Kreislauf gefahren werden müssen. So werden beispielsweise in der US 5,071,599 und der US 5,175,276 für die Herstellung von 1 kg Fibrets 8 kg Lösungsmittel, beispielsweise Aceton, genannt. In der US 3,842,007 und der US 3,961,007 werden beispielsweise für 1 kg Fibrets zwischen 20 und 80 kg bzw. 33 kg Lösungsmittel, wie Aceton, 1,4-Dioxan oder Methylacetat benötigt.A disadvantage of the known production process is that large amounts of solvent have to be circulated. For example, US Pat. No. 5,071,599 and US Pat. No. 5,175,276
Da die Fibrets für die meisten Anwendungsfälle lösungsmittelfrei oder lösungsmittelarm zur Verfügung gestellt werden müssen, ist ein Prozeß zur Abtrennung des Lösungsmittels von den Fibrets erforderlich. Zunächst bietet sich dafür eine Filtration an, bei der eine Lösung aus Lösungsmittel und Nicht-Lösungsmittel für das Zelluloseester von den Fibrets abgetrennt wird. Wegen der sehr großen Oberfläche der Fibrets entsteht ein sehr poröser Filterkuchen mit geringem Feststoffgehalt. Üblicherweise wird für Fibrets mit einer spezifischen Oberfläche > 20 m2/g bei einem Filtrationsdifferenzdruck von bis zu 1 bar ein maximaler Feststoffgehalt von ca. 12 Ma% erreicht. Bei Drücken von über 1 bar oder im Zentrifugalkraftfeld liegt der Feststoffgehalt bei bis zu 20 Ma %. Die in den Fibrets verbliebene Lösungsmittelmenge ist für die Weiterverarbeitung in den meisten Anwendungsfällen zu hoch. Hinzu kommt, daß die Fibretoberfläche infolge des in der Lösung enthaltenen Lösungsmittels nicht voll ausgehärtet ist. Unter Druckanwendung geht die Netzwerkstruktur teilweise verloren, was zur Klumpenbildung bei hohen Drücken führt. Darum wird meist unter Scherkraftwirkung filtriert, wobei Feststoffgehalte von maximal 4 Ma% bei spezifischen Oberflächen von über 20 m2/g erreicht werden. Im günstigsten Fall von 8 kg Lösungsmittel für 1 kg Fibrets stehen nach der Filtration Fibrets zu Lösungsmittel im Verhältnis von ca. 1 : 1, anderenfalls überwiegt das Lösungsmittel.Since the fibrets have to be provided solvent-free or low in solvents for most applications, a process for separating the solvent from the fibrets is required. First of all, there is a filtration, in which a solution of solvent and non-solvent for the cellulose ester is separated from the fibrets. Because of The very large surface of the fibrets creates a very porous filter cake with a low solids content. A maximum solids content of approximately 12% by mass is usually achieved for fibrets with a specific surface area> 20 m 2 / g at a filtration differential pressure of up to 1 bar. At pressures above 1 bar or in a centrifugal force field, the solids content is up to 20% by mass. The amount of solvent remaining in the fibrets is too high for further processing in most applications. In addition, the fibret surface is not fully hardened due to the solvent contained in the solution. The network structure is partially lost when pressure is applied, which leads to clumping at high pressures. For this reason, it is usually filtered under the action of shear forces, with solids contents of at most 4% by mass being achieved with specific surfaces of over 20 m 2 / g. In the most favorable case of 8 kg of solvent for 1 kg of fibrets, after filtration, fibrets to solvent are in a ratio of approx. 1: 1, otherwise the solvent predominates.
Aus den genannten Gründen müßte sich ein Waschprozeß, der z.T. auch mehrstufig sein kann, der Filtration anschließen, wie dies beispielsweise in der US 3,961,007 beschrieben wird. Im Verlauf dieser Prozesse wird die Konzentration des Lösungsmittels im Filtrat jedoch sehr gering. Eine geringe Konzentration des Lösungsmittels und die großen Mengen zu verarbeitender Lösung, lassen die Kosten für die Aufarbeitung der Lösung jedoch expotentiell ansteigen. Die Aufarbeitung wird erforderlich, da das Lösungsmittel zur wirtschaftlichen Gestaltung des Gesamtprozesses und aus Gründen des Umweltschutzes wieder in den Prozeß der Fibretherstellung zurückgeführt werden sollte. Anderenfalls müßten die Kosten der mindestens achtfachen Lösungsmittelmenge vollständig auf die Fibretkosten umgelegt werden und außerdem würden Entsorgungskosten anfallen. Hohe Volumina aufzuarbeitender Lösung mit geringer Konzentration des zu gewinnenden Lösungsmittels lassen die Aufarbeitungskosten ebenfalls stark ansteigen. Der Prozeß der Fibretherstellung wird daher in beiden Fällen für die meisten Anwendungen wirtschaftlich uninteressant.For the reasons mentioned, a washing process, which in some cases can also be multi-stage, should follow the filtration, as is described, for example, in US Pat. No. 3,961,007. In the course of these processes, however, the concentration of the solvent in the filtrate becomes very low. A low concentration of the solvent and the large amounts of solution to be processed, however, cause the costs for processing the solution to increase exponentially. The workup is necessary because the solvent should be returned to the process of fibrin production for the economic design of the overall process and for reasons of environmental protection. Otherwise, the costs of the at least eight times the amount of solvent would have to be fully apportioned to the fibret costs and disposal costs would also be incurred. High volumes of solution to be worked up with a low concentration of the solvent to be obtained also cause the workup costs to rise sharply. Of the The process of producing the fibrin is therefore economically uninteresting for most applications in both cases.
Hinzu kommt, daß allein eine Filtration zur Entfernung des Lösungsmittels von den Fibrets in den meisten Fällen nicht ausreicht. Nach der Fällung ist im Material der Fibrets noch Lösungsmittel enthalten, das durch Diffusion in die Flüssigkeit gelangt und von dort abgetrennt werden kann. Daher wird häufig eine Destillation zur Acetonentfernung angewendet. Die Kosten für diese Destillation sind stark von der Konzentration der Lösungsmittel und vom Volumen der Fibretsuspension abhängig. Beide Größen schlagen sich auch im Destillatvolumen und in der Konzentration des Lösungsmittels im Destillat nieder, wodurch die Kosten für die Aufarbeitung des Destillates beeinflußt werden. Wiederum entscheiden diese Kosten über wirtschaftliche Einsatzmöglichkeiten der Fibrets in Folgeprodukten.In addition, filtration alone is not sufficient in most cases to remove the solvent from the fibrets. After the precipitation, the material of the fibrets still contains solvent, which diffuses into the liquid and can be separated from there. Therefore distillation is often used to remove acetone. The cost of this distillation depends heavily on the concentration of the solvents and the volume of the fibret suspension. Both quantities are also reflected in the volume of the distillate and in the concentration of the solvent in the distillate, which affects the cost of working up the distillate. Again, these costs determine the economic uses of fibrets in follow-up products.
Die Aufgabe der Erfindung besteht darin, ein Verfahren und eine Vorrichtung bereitzustellen, die eine wirtschaftlichere Herstellung der Fibrets bei besserer Qualität erlaubt.The object of the invention is to provide a method and a device which allows a more economical production of the fibrets with better quality.
Diese Aufgabe wird mit einem Verfahren gemäß den Merkmalen des Patentanspruchs 1 gelöst. Die Vorrichtung ist Gegenstand des Patentanspruchs 21.This object is achieved with a method according to the features of
Der Erfindung liegt die Erkenntnis zugrunde, daß eine Aufarbeitung der von den Fibrets abgetrennten Bestandteile des Fällbades nur dann sinnvoll und wirtschaftlich ist, wenn das für das Fällbad verwendete Fällungsmittel einen möglichst hohen Anteil an Lösungsmittel aufweisen darf und wenn man gleichzeitig zuläßt, daß der abgetrennte Lösungsmittelanteil, der für den Ansatz des Dope wiederverwendet wird, noch einen Nicht-Lösungsmittelanteil aufweisen kann. Je "unreiner" die Einzelkomponenten nach der Aufarbeitung vorliegen dürfen, desto geringer ist der Aufwand. Die Verunreinigung des Lösungsmittels durch das Nicht-Lösungsmittel und umgekehrt, hat dort seine Grenze, wo der mit dem aufbereiteten Lösungsmittel angesetzte Dope nicht mehr verarbeitbar ist. Ein zu hoher Anteil an Nicht-Lösungsmittel kann einerseits zu einer vorzeitigen Ausfällung und andererseits zu einer zu hohen Viskosität des Dope führen.The invention is based on the finding that working up the constituents of the coagulation bath separated from the fibrets is only sensible and economical if the coagulant used for the coagulation bath may have as high a proportion of solvent as possible and if at the same time it is permitted that the separated solvent proportion , which is reused for the preparation of the dope, may still have a non-solvent content. The more "impure" the individual components may be after processing, the less effort is required. Contamination of the Solvent due to the non-solvent and vice versa has its limit where the dope prepared with the prepared solvent can no longer be processed. Too high a proportion of non-solvent can lead to premature precipitation on the one hand and to an excessive viscosity of the dope on the other.
Es hat sich herausgestellt, daß die Fällung in einer herkömmlichen Dispergiereinrichtung nach dem Rotor/Stator-Prinzip durchgeführt werden kann. Derartige Dispergiereinrichtungen werden z.B. von der Firma Ystral unter der Bezeichnung "Dispergiermaschine" und von der Firma IKA Maschinenbau unter dem Namen "Dispax-Reaktor" vertrieben. Diese Vorrichtungen enthalten üblicherweise zwei bis sechs Scherkränze, die bevorzugt wechselweise als Statoren und Rotoren ausgeführt sind. Die Rotoren erreichen Drehzahlen bis zu 12000 Umdrehungen pro Minute, so daß im Fällbad Grundströmungsgeschwindigkeiten bis vorzugsweise 100 m/sec erzielt werden können. Diese bekannten Dispergiereinrichtungen mit ihren hohen Peripheriegeschwindigkeiten werden üblicherweise zum Emulgieren, Suspendieren, Homogenisieren und Lösen von Dispersionen eingesetzt. Obwohl auch der Einsatz diskontinuierlicher Dispergiersysteme im Rahmen der Erfindung möglich ist, liegen die Vorteile der kontinuierlichen Dispergiersysteme in der sicheren Gewährleistung einer einheitlichen Produktqualität.It has been found that the precipitation can be carried out in a conventional dispersing device based on the rotor / stator principle. Such dispersing devices are e.g. distributed by the company Ystral under the name "dispersing machine" and by the company IKA Maschinenbau under the name "Dispax-Reaktor". These devices usually contain two to six shear rings, which are preferably designed alternately as stators and rotors. The rotors reach speeds of up to 12,000 revolutions per minute, so that basic flow velocities of up to preferably 100 m / sec can be achieved in the precipitation bath. These known dispersing devices with their high peripheral speeds are usually used for emulsifying, suspending, homogenizing and dissolving dispersions. Although the use of discontinuous dispersion systems is also possible within the scope of the invention, the advantages of continuous dispersion systems lie in the reliable guarantee of a uniform product quality.
Da die aus Dope und Fällungsmittel gebildete Suspension im Scherfeld mindestens einmal, vorzugsweise mindestens zweimal abwechselnd beschleunigt und verzögert wird wird über eine lange Strecke ein hoher mittlerer Turbulenzgrad aufrechterhalten, so daß ein Dope mit hoher Viskosität verarbeitet werden kann. Die Suspension wird hierbei abwechselnd vorzugsweise einer Radial- und einer Querströmung unterworfen.Since the suspension formed from dope and precipitant is accelerated and decelerated alternately at least once, preferably at least twice, a high degree of turbulence is maintained over a long distance, so that a dope with high viscosity can be processed. The suspension is alternately preferably subjected to a radial and a transverse flow.
Vorzugsweise wird der Dope durch ortsfeste Düsen in das Fällungsmittel eingeleitet, vor deren Austrittsöffnungen Mittel zum Erzeugen einer Strömung vorbeibewegt werden.The dope is preferably introduced into the precipitant through stationary nozzles, means for generating a flow being moved past their outlet openings.
Beim Durchlaufen mehrerer Beschleunigungs- und Verzögerungsfelder wird der aus den Düsen austretende Dope sehr schnell erfaßt und abgezogen, so daß auch bei höheren Viskositäten keine Düsenverstopfung auftreten kann. Ferner werden die Fibrets durch das abwechselnde Beschleunigen und Verzögern bereits weitgehend homogenisiert, so daß u.U. auf eine nachgeschaltete Homogenisierungsbehandlung verzichtet werden kann. Dies ist offensichtlich darauf zurückzuführen, daß über eine lange Strecke eine hohe mittlere Turbulenz aufrechterhalten werden kann, und zwar während der gesamten Verweilzeit in der Dispergiereinrichtung, die üblicherweise zwischen 0,03 und 0,5 sec liegt. Die Turbulenzen selbst werden durch die sich bildenden Fibrets nur gering gedämpft, da die Turbulenzen durch rotierende Maschinenteile erzeugt werden und nicht durch ein turbulent strömendes Medium. Dies hat den weiteren Vorteil, daß das Teillastverhalten der gesamten Anordnung sehr gut ist. Dies bedeutet, daß in großen Bereichen die Fibretqualität vom Gesamtdurchsatz des Fällbades und des Dopes sowie von deren Verhältnis zueinander unabhängig ist.When running through several acceleration and deceleration fields, the dope emerging from the nozzles is detected and deducted very quickly, so that nozzle clogging cannot occur even at higher viscosities. Furthermore, the fibrets are already largely homogenized by the alternating acceleration and deceleration, so that under certain circumstances. a subsequent homogenization treatment can be dispensed with. This is obviously due to the fact that a high mean turbulence can be maintained over a long distance, and that during the entire residence time in the dispersing device, which is usually between 0.03 and 0.5 sec. The turbulence itself is only slightly dampened by the fibrets that form, since the turbulence is generated by rotating machine parts and not by a turbulent flowing medium. This has the further advantage that the partial load behavior of the entire arrangement is very good. This means that in large areas the fibret quality is independent of the total throughput of the precipitation bath and the dope and of their relationship to one another.
Vorzugsweise wird der Dope mit Zelluloseester oder Zelluloseether angesetzt. Bevorzugt sind Zellulosediacetat, Zellulosetriacetat, Zelluloseacetat-butyrat, Zelluloseacetat-propionat, Benzylzellulose oder Ethylzellulose sowie andere geeignete Zellulosederivate oder Mischungen dieser Materialien. Bevorzugt wird ein Zellulosediacetat mit einem Acetylwert zwischen 54 und 56% eingesetzt. Der Anteil der Zellulosederivate im Dope beträgt vorzugsweise 3 - 20 Ma%. Geringere Konzentrationen sind wirtschaftlich meist nicht attraktiv, größere Anteile bedingen eine zu hohe Viskosität. Je nach dem Anteil der Zellulosederivate im Dope muß auch der Lösungsmittelanteil angepaßt werden. Als Lösungsmittel können Aceton. Essigsäure, Methylacetat, Methyl-Ethyl-Keton, 1,4-Dioxan, Acetaldehyd, Ethylacetat, Tetrahydrofuran oder Methyl-Isopropyl-Keton oder Mischungen der genannten Lösungsmittel eingesetzt werden. Besonders bevorzugt ist das Lösungsmittel Aceton.The dope is preferably prepared with cellulose esters or cellulose ethers. Cellulose diacetate, cellulose triacetate, cellulose acetate butyrate, cellulose acetate propionate, benzyl cellulose or ethyl cellulose and other suitable cellulose derivatives or mixtures of these materials are preferred. A cellulose diacetate with an acetyl value between 54 and 56% is preferably used. The proportion of cellulose derivatives in the dope is preferably 3-20% by mass. Lower concentrations are usually not economically attractive, larger proportions require too high a viscosity. Depending on the proportion of cellulose derivatives in the dope, the proportion of solvent must also be adjusted. Acetone can be used as the solvent. Acetic acid, methyl acetate, methyl ethyl ketone, 1,4-dioxane, acetaldehyde, ethyl acetate, tetrahydrofuran or methyl isopropyl ketone or mixtures of the solvents mentioned can be used. The solvent acetone is particularly preferred.
Da es nur unter großem Aufwand möglich ist, aus dem Fällbad vollständig reines Lösungsmittel zu entfernen, das wiederum zum Ansetzen des Dope verwendet werden soll, ist es unter wirtschaftlichen Gesichtspunkten wünschenswert, wenn im Lösungsmittel noch Nicht-Lösungsmittel enthalten sein kann, das den Hauptbestandteil des Fällbades ausmacht.Since it is only possible with great effort to remove completely pure solvent from the precipitation bath, which in turn is to be used to prepare the dope, it is economically desirable if the solvent can still contain non-solvent, which is the main component of the Precipitates.
Als Nicht-Lösungsmittel für das Zelluloseester sind Wasser, Ethanol oder Methanol bevorzugt, deren Anteil im Dope bis zu 40 Ma% betragen kann.Preferred non-solvents for the cellulose ester are water, ethanol or methanol, the proportion of which in the dope can be up to 40% by mass.
Der maximale Gehalt an Nicht-Lösungsmitteln bezogen auf das Verhältnis Lösungsmittel zu Zellulosederivat richtet sich nach dem Fällungspunkt. Der Fällungspunkt wird umso schneller erreicht, je höher der Gehalt an Nicht-Lösungsmittel im Dope ist. Der maximale Gehalt wird durch den Fällungspunkt, der u.a. temperaturabhängig ist, bestimmt. Bevorzugt wird ein Gehalt des Nicht-Lösungsmittels von 2 - 20 Ma% unterhalb der Konzentration des Nicht-Lösungsmittels am jeweiligen Fällungspunkt. Im Gegensatz dazu werden in der US 5,071,599 und US 5,175,276, die Zweistoffdüsensysteme beschreiben, nur bis zu 20 Ma% Nicht-Lösungsmittel im Dope zugelassen, so daß dieser Anteil beim System Celluloseacetat, Aceton und Wasser zwischen 8,5% und 21% unterhalb des Fällungspunktes liegt.The maximum content of non-solvents based on the ratio of solvent to cellulose derivative depends on the precipitation point. The higher the non-solvent content in the dope, the faster the precipitation point is reached. The maximum salary is determined by the precipitation point, which i.a. is temperature-dependent. A non-solvent content of 2-20% by mass below the concentration of the non-solvent at the respective precipitation point is preferred. In contrast, in US 5,071,599 and US 5,175,276, which describe two-component nozzle systems, only up to 20% by weight of non-solvent are permitted in the dope, so that this proportion in the system cellulose acetate, acetone and water is between 8.5% and 21% below Precipitation point.
Unabhängig von der Einstellung des Dopes nahe des Fällungspunktes soll auch das Verhältnis Lösungsmittel zu Zellulosederivat minimiert werden. Nach dem Stand der Technik, wie er aus der US 4,192,838, US 5,071,599 und US 5,175,276 bekannt ist, kann das Verhältnis minimal 4,4 betragen. Geringere Verhältnisse verursachen zumeist eine zu hohe Viskosität des Dopes, die sich bei den bekannten Verfahren negativ auf die Fibretfeinheit auswirken. Löst man beispielsweise Zellulosediacetat in Aceton in einem Masseverhältnis von 1:3, so erhält man eine gelartige Konsistenz. Die Viskosität kann allerdings durch die Zugabe von Wasser als Nicht-Lösungsmittel verringert werden. In dieser Hinsicht ist es wünschenswert, eine Wasserzugabe bis kurz unterhalb des Fällungspunktes zu realisieren. Dieses Verhalten ist jedoch nur bei hohen Gehalten von Zellulosederivat im Dope und/oder bei geringen Verhältnissen Lösungsmittel : Zellulosederivat zu beobachten. Bei geringen Gehalten an Zelluloseester im Dope, wie es beispielsweise in der US 4,192,838, US 5,071,599 und US 5,175 276 der Fall ist, wirkt Wasser wegen der geringen Viskosität von Aceton zumeist viskositätssteigernd.Regardless of the setting of the dope near the precipitation point, the ratio of solvent to cellulose derivative should also be minimized. According to the prior art, as is known from US 4,192,838, US 5,071,599 and US 5,175,276, the ratio can be a minimum of 4.4. Lower ratios usually cause the viscosity of the dope to be too high, which has a negative effect on the fibret fineness in the known processes. Solves for example, cellulose diacetate in acetone in a mass ratio of 1: 3, a gel-like consistency is obtained. However, the viscosity can be reduced by adding water as the non-solvent. In this regard, it is desirable to add water to just below the precipitation point. However, this behavior can only be observed at high levels of cellulose derivative in the dope and / or at low solvent: cellulose derivative ratios. At low levels of cellulose ester in the dope, as is the case, for example, in US Pat. No. 4,192,838, US Pat. No. 5,071,599 and US Pat. No. 5,175,276, water usually increases the viscosity because of the low viscosity of acetone.
Die Verfahren nach dem Stand zur Technik sind zur Herstellung von Fibrets bei einem Masseverhältnis Aceton : Wasser von beispielsweise 2,8 und einem Gehalt an Nicht-Lösungsmittel bis 2 Ma% unterhalb des Fällungspunktes im Dope nicht in der Lage. Die Viskosität ist trotz der Wasserzugabe dann noch zu hoch. Infolge der sehr hohen Turbulenz gemäß des erfindungsgemäßen Verfahrens liegt der wesentliche Vorteil darin, daß höhere Viskositäten des Dopes mit befriedigenden Ergebnissen verarbeitet werden können.The prior art processes are unable to produce fibrets with an acetone: water mass ratio of, for example, 2.8 and a non-solvent content of up to 2% by mass below the precipitation point in the dope. The viscosity is still too high despite the addition of water. As a result of the very high turbulence according to the method according to the invention, the main advantage is that higher viscosities of the dope can be processed with satisfactory results.
Da höherviskose Dopes verarbeitet werden können, können Verhältnisse Lösungsmittel : Zellulosederivat zwischen 4,4 : 1 und 2,8 : 1 verwirklicht werden, ohne daß sich die Qualität der Fibrets verschlechterte. Besonders gute Ergebnisse konnten erzielt werden, wenn das Lösungsmittel Aceton, als Zelluloseester Zellulosediacetat und als Nicht-Lösungsmittel Wasser verwendet wurden. Eine Verringerung des Verhältnisses Aceton : Zellulosediacetat von 4,4 : 1 auf 2,8 : 1 bedeutet, daß für die Herstellung einer vorgegebenen Menge Fibrets 36 Ma% weniger Lösungsmittel verwendet werden muß, was die Herstellungskosten der Fibrets erheblich senkt.Since higher-viscosity dopes can be processed, solvent: cellulose derivative ratios between 4.4: 1 and 2.8: 1 can be achieved without the quality of the fibrets deteriorating. Particularly good results could be achieved if the solvent acetone, cellulose ester cellulose diacetate and non-solvent water were used. A reduction in the ratio of acetone: cellulose diacetate from 4.4: 1 to 2.8: 1 means that 36% by mass less solvent has to be used to produce a predetermined amount of fibrets, which considerably reduces the production costs of the fibrets.
Die Temperatur des Dopes ist für den Prozeß weitgehend unkritisch. Es wurden gute Ergebnisse bei Raumtemperatur erzielt. Zur Verringerung der Viskosität der Lösung kann eine höhere Temperatur gewählt werden, bis hin zur Fällung bei Überdruck und Temperaturen über 100°C. bevorzugt wird jedoch die Umgebungstemperatur als die wirtschaftlichste Variante.The temperature of the dope is largely uncritical for the process. Good results have been obtained at room temperature. To reduce the A higher temperature can be selected for the viscosity of the solution, up to precipitation at overpressure and temperatures above 100 ° C. however, the ambient temperature is preferred as the most economical variant.
Die zwei oder drei Bestandteile des Dopes werden in geeigneter Weise gemischt bis eine homogene Lösung entsteht. Diese Lösung wird dann ggf. über einen Filter der Dispergiereinrichtung zugeführt.The two or three components of the dope are mixed in a suitable manner until a homogeneous solution is obtained. This solution is then optionally fed to the dispersing device via a filter.
Der Volumenstrom des Fällungsmittels im Fällbad wird vorzugsweise so eingestellt, daß der Fibretanteil im Fällbad zwischen 0,1 und 2,5 Ma% beträgt. Unterschiede in der Fibretqualität konnten auch bei hohem Fibretanteil nicht festgestellt werden. Bei Konzentrationen zwischen 2,5 und 3,5 Ma% wird zwar noch eine Fällung ohne Verstopfungen der Extrusionsdüsen realisiert, es sind jedoch Abstriche an der Fibretfeinheit und Fibrethomogenität hinzunehmen. Aus wirtschaftlichen Gründen wird ein Bereich von 1 - 2,5 Ma% bevorzugt. Damit ist das erfindungsgemäße Verfahren deutlich besser als die Verfahren nach dem Stand der Technik, wonach die Fällungen nur bei Konzentrationen zwischen 0,1 und 1 Ma% möglich sind. Die Bedeutung dieser Änderung ist daher wesentlich, weil bei einer Fällung bei 2,5 Ma% gegenüber einer Fällung von 1 Ma% nur 40% der Suspensionsmenge anfällt. Dies bedeutet u.a., daß die Anlage um 60% kleiner ausgelegt werden kann, was entsprechende Einsparungen der Investitionskosten mit sich bringt. Im weiteren Verlauf sind dann 60% weniger Lösung Wasser/Aceton von den Fibrets abzutrennen und aufzuarbeiten, was wiederum Einsparungen bei den Energiekosten mit sich bringt. Ferner kann ein der Fällung folgender Prozeß der Filtration vor der vollständigen Lösungsmittelentfernung vorzugsweise entfallen. Dies hat den Vorteil, daß die bei der Filtration vor der vollständigen Lösungsmittelabtrennung auftretende Schädigung der Morphologie der Fibrets vermieden wird, weil die Struktur der Fibrets infolge des noch vorhandenen Lösungsmittels nicht vollständig fixiert ist.The volume flow of the precipitant in the precipitation bath is preferably adjusted so that the fibret content in the precipitation bath is between 0.1 and 2.5% by mass. Differences in the fibret quality could not be determined even with a high fibret content. At concentrations between 2.5 and 3.5% by mass, precipitation is still carried out without clogging of the extrusion nozzles, but there are drawbacks to the fibret fineness and fibrethomogeneity. A range of 1-2.5% by mass is preferred for economic reasons. The process according to the invention is thus significantly better than the processes according to the prior art, according to which the precipitation is only possible at concentrations between 0.1 and 1% by mass. The importance of this change is important because a precipitation of 2.5% by mass compared to a precipitation of 1% by mass results in only 40% of the suspension amount. This means, among other things, that the plant can be designed 60% smaller, which means corresponding savings in investment costs. In the further course, 60% less water / acetone solution has to be separated from the fibrets and processed, which in turn brings savings in energy costs. Furthermore, a filtration process following precipitation can preferably be dispensed with before complete removal of the solvent. This has the advantage that the damage to the morphology of the fibrets which occurs during the filtration before the complete removal of the solvent is avoided because the structure of the fibrets is not completely fixed due to the solvent which is still present.
Die Verfahren nach dem Stand der Technik müssen insbesondere bei höheren Viskositäten des Dopes mit einem hohen Überschuß des Fällmediums gegenüber dem Dope arbeiten, um ausreichende Turbulenzen zu erzeugen. Mit den Zweistoffdüsensystemen gemäß der US 4,192,838 und der US 5,071,599 sowie US 5,175,276 ist ein minimales Verhältnis Fällbad : Dope von 11:1 verwirklicht worden. Das erfindungsgemäße Verfahren erlaubt die Herstellung von Fibrets bei Verhältnissen Fällbad : Dope von 10:1 bis zu 2,5:1. Dies hat folgende Vorteile: Die Konzentration des Zellulosederivats im Dope kann gering gewählt werden. Dies kann zur Einstellung geringerer Viskositäten vorzugsweise dann sinnvoll sein, wenn Fibrets nicht aus dem System Zellulosediacetat - Aceton - Wasser hergestellt werden sollen. Sind im Dope 5 Ma % des Zelluloseesters enthalten, so besteht nach der Fällung bei einem Masseverhältnis Fällbad : Dope von 2,5:1, die Suspension aus 1,43 Ma% Fibrets. Die Vorteile hoher Fibretkonzentrationen sind somit auch bei potentiell hohen Dope-Viskositäten nutzbar. Ferner beeinflussen Schwankungen in den Volumenströmen von Fällbad und/oder Dope in weiten Bereichen nicht die Fibretqualität und das Teillastverhalten ist ausgezeichnet. Die Ursache für diese Vorteile liegt in der weitgehenden Entkopplung der Größen Volumenstrom und Turbulenz.The methods according to the prior art must work with a large excess of the precipitation medium compared to the dope, in particular at higher viscosities of the dope, in order to generate sufficient turbulence. A minimum ratio of precipitation bath: dope of 11: 1 has been achieved with the two-component nozzle systems according to US Pat. No. 4,192,838 and US Pat. No. 5,071,599 and US Pat. No. 5,175,276. The process according to the invention permits the production of fibrets at a precipitation bath: dope ratio of 10: 1 to 2.5: 1. This has the following advantages: The concentration of the cellulose derivative in the dope can be chosen to be low. This can be useful for setting lower viscosities if fibrets are not to be produced from the cellulose diacetate-acetone-water system. If 5% of the cellulose ester is contained in the dope, after the precipitation with a mass ratio of precipitation bath: dope of 2.5: 1, the suspension consists of 1.43% by weight of fibrets. The advantages of high fibret concentrations can therefore also be used with potentially high dope viscosities. Furthermore, fluctuations in the volume flows of the precipitation bath and / or dope do not influence the fibret quality in wide areas and the part-load behavior is excellent. The reason for these advantages lies in the large decoupling of the volume flow and turbulence.
Schließlich besteht ein weiterer Vorteil des Verfahrens darin, daß im Fällbad höhere Lösungsmittelkonzentrationen als nach dem Stand der Technik vorliegen können. Nach der US 5,071,599 darf der Acetongehalt für das System Aceton-Zellulosediacetat-Wasser im Fällbad maximal 15 Ma% betragen. Oberhalb dieses Wertes führt das in der Suspension vorhandene Aceton dazu, daß sich die Erstarrung der Fasern über eine längere Zeit erstreckt. Die noch nicht vollständig erstarrten Oberflächen der Fibrets können verkleben und Klumpen ohne poröse Fibretstruktur bilden. Beim Einsatz des erfindungsgemäßen Verfahrens ist die Scherwirkung jedoch hoch genug, um solche Klumpen bis zum vollständigen Erstarren der Fasern zu trennen. Die längere Erstarrungszeit der Fibrets trägt zudem zu einer feineren Fibrillierung und damit verbunden zu einer höheren Oberfläche bei, weil während der gesamten Erstarrungszeit Scherkräfte angreifen, die die Fibrillierung intensivieren. Beispielsweise beim System Zellulosediacetat - Wasser - Aceton sind Acetongehalte im Fällbad bis zu 25 Ma% möglich.Finally, a further advantage of the process is that higher solvent concentrations than in the prior art can be present in the precipitation bath. According to US 5,071,599, the acetone content for the acetone-cellulose diacetate-water system in the coagulation bath may not exceed 15% by mass. Above this value, the acetone present in the suspension causes the solidification of the fibers to extend over a longer period. The surfaces of the fibrets that have not yet completely solidified can stick together and form lumps without a porous fibret structure. When using the method according to the invention, however, the shear effect is high enough to separate such lumps until the fibers have completely solidified. The longer solidification time of the fibrets also contributes to finer fibrillation and associated with a higher surface area, because shear forces act on the entire solidification time, intensifying the fibrillation. For example, with the cellulose diacetate - water - acetone system, acetone contents in the precipitation bath of up to 25% by mass are possible.
Höhere Konzentrationen an Lösungsmittel im Dope sind hinsichtlich der weiteren Aufarbeitung günstig. Je höher der Lösungsmittelgehalt in der Suspension ist, worunter das Fällbad nach der Fällung verstanden wird, umso höher ist er auch im Destillat (abgetrenntes Lösungsmittel plus restliches Nicht-Lösungsmittel), so daß entsprechend weniger Aufarbeitungsstufen des Destillats notwendig sind. Nachteile bezüglich des Explosionsschutzes entstehen durch diese Vorgehensweise nicht, da in praktisch allen Varianten die untere Explosionsgrenze von 2,5 Vol.-% Aceton für eine wirtschaftliche Gestaltung des Prozesses überschritten wird.Higher concentrations of solvent in the dope are favorable with regard to further processing. The higher the solvent content in the suspension, by which the precipitation bath is understood after the precipitation, the higher it is also in the distillate (separated solvent plus residual non-solvent), so that correspondingly fewer work-up steps of the distillate are necessary. This procedure does not have any disadvantages with regard to explosion protection, since in practically all variants the lower explosion limit of 2.5 vol.% Acetone is exceeded for an economical design of the process.
Die Vorrichtung zur Herstellung der Fibrets sieht vor, daß die mindestens eine Düse, durch die der Dope in das Fällungsmittel eingeleitet wird, in einer Rotor und Stator aufweisenden Dispergiereinrichtung angeordnet ist, die mindestens zwei Zahnkränze aufweist, von denen mindestens ein Zahnkranz Bestandteil des Rotors der Dispergiereinrichtung ist und daß die Dispergiereinrichtung eine Zuführleitung für das Fällungsmittel aufweist.The device for producing the fibrets provides that the at least one nozzle, through which the dope is introduced into the precipitant, is arranged in a dispersing device having a rotor and stator, which has at least two toothed rings, of which at least one toothed ring is part of the rotor of the Is dispersing device and that the dispersing device has a feed line for the precipitant.
Fällbad und Dope werden zur Verwirklichung der Fällung in der Dispergiereinrichtung vereinigt. Dazu fließt das Fällbad, wie von Homogenisier- und Dispergieraufgaben bekannt ist, durch die Dispergiermaschine. Die Zuführleitung für das Fällungsmittel umschließt vorzugsweise die Zuleitung für den Dope.Precipitation bath and dope are combined in the dispersing device to achieve the precipitation. For this purpose, the precipitation bath flows through the dispersing machine, as is known from homogenizing and dispersing tasks. The feed line for the precipitant preferably encloses the feed line for the dope.
Die Düse ist vorzugsweise im Inneren der Dispergiereinrichtung angeordnet und radial nach außen auf den innersten Zahnkranz ausgerichtet. In einer bevorzugten Ausführungsform ist der in Strömungsrichtung des Fällbades erste Zahnkranz Bestandteil des Rotors, worauf ein Zahnkranz eines Stators folgt, usw.. Der Abstand Zahnkranz - Düse ist gering zu wählen, um die eigentliche Fällung in der Zone des Scherfeldes erfolgen zu lassen, die durch die vor der Düsenöffnung vorbeibewegten Zähne erzeugt wird. Der Abstand kann zwischen 0,01 und 5 mm betragen, bevorzugt werden 0,01 - 0,1 mm. Es ist auch möglich, den in Strömungsrichtung des Fällbades ersten Zahnkranz mit Düsen zur Zugabe des Dopes auszurüsten.The nozzle is preferably arranged in the interior of the dispersing device and aligned radially outward on the innermost ring gear. In a preferred embodiment, the first is in the flow direction of the precipitation bath Sprocket part of the rotor, followed by a sprocket of a stator, etc. The distance between sprocket and nozzle is small to allow the actual precipitation in the zone of the shear field, which is generated by the teeth moving in front of the nozzle opening. The distance can be between 0.01 and 5 mm, preferably 0.01-0.1 mm. It is also possible to equip the first ring gear in the direction of flow of the precipitation bath with nozzles for adding the dope.
Der Düsendurchmesser ist in großen Bereichen wählbar, weil dieser Parameter im vorgesehenen Bereich nur geringen Einfluß auf die Qualität der Fibrets hat. Bevorzugt wird ein Düsendurchmesser zwischen 5 und 10 mm. Geringere Düsendurchmesser sind hingegen möglich. Da während des Einsatzes der Dispergiereinrichtung keine Verstopfungen der Düsen auftreten, ist auch der Einsatz größerer Düsen, obwohl aus der Sicht der Fibretqualität möglich, nicht erforderlich. Bei geringen Verhältnissen der Volumenströme von Fällungsmittel zu Dope oder bei einem hohen Gesamtvolumenstrom ist die Aufteilung des Dopestroms auf mehrere Düsen sinnvoll. Vorzugsweise sind diese Düsen symmetrisch innerhalb des innersten Zahnkranzes angeordnet. Wenn beispielsweise drei Düsen vorgesehen sind, so sind diese sternförmig angeordnet. Die Zuführleitung zu den Düsen befindet sich in diesem Fall vorzugsweise im Zentrum der Dispergiereinrichtung. Um an allen Düsen gleiche Verhältnisse bezüglich der Strömung des Fällbades vorzufinden, wird auch das Fällungsmittel zentral in die Dispergiereinrichtung eingeleitet. Dies wird dadurch gewährleistet, daß die Zuführleitung des Fällungsmittels vorzugsweise die Zuführleitung des Dopes umschließt.The nozzle diameter can be selected in large areas because this parameter has only a minor influence on the quality of the fibrets in the intended area. A nozzle diameter between 5 and 10 mm is preferred. However, smaller nozzle diameters are possible. Since no blockages of the nozzles occur during the use of the dispersing device, the use of larger nozzles, although possible from the point of view of the fibret quality, is also not necessary. If the volume flow from precipitant to dope is low or the total volume flow is high, it is advisable to divide the dope flow over several nozzles. These nozzles are preferably arranged symmetrically within the innermost ring gear. If, for example, three nozzles are provided, they are arranged in a star shape. In this case, the feed line to the nozzles is preferably located in the center of the dispersing device. In order to find the same conditions with regard to the flow of the precipitation bath at all nozzles, the precipitation agent is also introduced centrally into the dispersing device. This is ensured by the fact that the feed line of the precipitant preferably encloses the feed line of the dope.
Allgemein wird angenommen, daß die Entstehung von Fibrets nach Einleitung des Dopes in das Fällbad sehr schnell erfolgt. Die Entstehungszeit liegt in der Größenordnung von 0,001 - 0,5 sec. Danach soll die Fibretmorphologie festgelegt sein. Es wird jedoch vermutet, daß sich bei der Entstehung der Fibrets zuerst eine äußere Schale bildet, da an den Konzentrationsballen im Scherfeld in den Außenbereichen zunächst die für die Fällung erforderliche Konzentration an Nicht-Lösungsmittel erreicht wird. Durch diese Schale muß das Lösungsmittel nach außen und/oder das Nicht-Lösungsmittel nach innen diffundieren. Bis zur Aushärtung des Kerns vergeht somit noch einmal eine Zeit, die größer als die angegebene Fällungszeit ist. Da sich die äußere Morphologie in diesem Zeitabschnitt bereits ausgebildet hat, wirken die Fasern trotz weichen Innenkerns bei dem Verfahren nach dem Stand der Technik in einem solchen Maß turbulenzhemmend, daß eine Zerteilung der Fasern nicht mehr möglich ist. Durch den Einsatz einer Dispergiereinrichtung ist es möglich, mittels der durch die Rotoren aufgebrachten hohen Scherwirkung Fasern mit weichem Innenkern zu zerteilen und daher die Feinheit der Fibrets zu erhöhen.It is generally assumed that fibrets develop very quickly after the dope has been introduced into the precipitation bath. The development time is of the order of 0.001 - 0.5 seconds. The fibret morphology should then be determined. However, it is assumed that when the fibrets develop, an outer shell first forms, since the concentration bales in the Scherfeld first reaches the concentration of non-solvent required for the precipitation. The solvent must diffuse outwards and / or the non-solvent inwards through this shell. A time which is greater than the specified precipitation time therefore passes again until the core has hardened. Since the outer morphology has already developed in this time period, the fibers, despite the soft inner core, have a turbulence-inhibiting effect to such an extent that the fibers can no longer be divided. By using a dispersing device it is possible to cut fibers with a soft inner core by means of the high shear effect applied by the rotors and therefore to increase the fineness of the fibrets.
Die erfindungsgemäße Dispergiereinrichtung wirkt sich außerdem positiv bezüglich der Agglomeratgröße der Fibrets aus. Je nach Wahl der Rotor-Statorgeometrien und der Rotordrehzahl können zwar ebenfalls Agglomeratgrößen bis zu 1 mm erreicht werden. Bevorzugt werden jedoch solche Anordnungen und Drehzahlen, die Agglomeratgrößen unter 200 µm ergehen. Diese Abmessungen werden dadurch erreicht, daß auch im Endbereich des Scherfeldes im Gegensatz zu den Anordnungen nach dem Stand der Technik noch ausreichend Scherkräfte bereitstehen, die die Abmessung der Fibretagglomerate minimieren können.The dispersing device according to the invention also has a positive effect on the agglomerate size of the fibrets. Depending on the choice of rotor-stator geometries and the rotor speed, agglomerate sizes of up to 1 mm can also be achieved. However, preference is given to arrangements and speeds which result in agglomerate sizes below 200 μm. These dimensions are achieved in that, in contrast to the arrangements according to the prior art, sufficient shear forces are still available in the end region of the shear field, which can minimize the dimension of the fibra agglomerates.
Die erfindungsgemäße Vorrichtung besitzt ferner folgende Vorteile:
- Es werden stärkere Scherkräfte erzeugt, weil höhere Differenzen der Grundströmungsgeschwindigkeiten auf engem Raum abgebaut werden. Dadurch wird eine feinere Fibrillierung der Fibrets erreicht, wobei größere Viskositäten des Dopes verarbeitbar sind.
- Es steht ein größerer Scherraum als beim Stand der Technik zur Verfügung, in dem der Auf- und Abbau der Grundströmungsgeschwindigkeiten mehrmals erfolgt. Dadurch wird ebenfalls eine feinere Fibrillierung der Fibrets erzielt, das Teillastverhalten ist besser und die Feinheiten in der Wahl der Prozeßparameter werden größer.
- Im Scherraum gilt das Prinzip der Zwangsförderung, so daß ein Ausweichen von Teilströmungen in Zonen geringer Turbulenz nicht möglich ist.
- Stronger shear forces are generated because higher differences in the basic flow velocities are reduced in a small space. This results in a finer fibrillation of the fibrets, whereby larger viscosities of the dope can be processed.
- A larger shear space is available than in the prior art, in which the basic flow velocities are built up and down several times. This also results in a finer fibrillation of the fibrets, the part-load behavior is better and the finer points in the choice of process parameters become larger.
- The principle of forced delivery applies in the shear chamber, so that it is not possible to avoid partial flows in zones of low turbulence.
Beispielhafte Ausführungsformen werden nachfolgend anhand der Zeichnungen erläutert.Exemplary embodiments are explained below with reference to the drawings.
Es zeigen:
Figur 1- eine schematische Darstellung der gesamten Anlage zur Herstellung von Fibrets,
Figur 2- einen vertikalen Schnitt durch eine Dispergiereinrichtung und
Figur 3- einen Schnitt längs der Linie III-III durch die in
Figur 2 gezeigte Dispergiereinrichtung, - Figur 4
- eine graphische Darstellung des Turbulenzgrades in Abhängigkeit vom Düsenabstand und
Figur 5- eine graphische Darstellung der Wasserkonzentration von der CA-Konzentration.
- Figure 1
- a schematic representation of the entire plant for the production of fibrets,
- Figure 2
- a vertical section through a dispersing device and
- Figure 3
- 3 shows a section along the line III-III through the dispersing device shown in FIG. 2,
- Figure 4
- a graphic representation of the degree of turbulence depending on the nozzle distance and
- Figure 5
- a graphical representation of the water concentration from the CA concentration.
In der Figur 1 ist die Anlage zur Herstellung von Fibrets dargestellt. Das Rohmaterial, beispielsweise Zellulosediacetat, wird über die Zuführleitung 1 einem Dope-Ansatztank 2 zugeführt, dem über die Leitung 31 Lösungsmittel aus der Aufbereitungsanlage 26 zugeführt wird. Über eine Dopeleitung 3 wird der Dope einer Dispergiereinrichtung 40 zugeführt, wo die Fällung durchgeführt wird. Das Fällungsmittel wird in einem Fällbadansatztank 8 angesetzt, in den über die Leitung 27 aus der Aufarbeitungsanlage 26 Nicht-Lösungsmittel, vorzugsweise Wasser zugeführt wird. Über eine Fällbadzuleitung 9 wird das angesetzte Fällungsmittel in die Dispergiereinrichtung 40 eingeleitet, wo das Fällungsmittel mit dem Dope zusammengeführt wird. Dies wird im Zusammenhang mit der Figur 2 erläutert werden.FIG. 1 shows the plant for the production of fibrets. The raw material, for example cellulose diacetate, is fed via the
Die Fällbadsuspension mit den erzeugten Fibrets wird über die Fällbadableitung 13 der Destillationsanlage 12 zugeführt. Über eine Dampfzuleitung 15 wird der Destillationsanlage 12 Dampf zugeführt, und über die Lösungsmittelrückführleitung 17 wird das abseparierte Lösungsmittel zunächst über einen Wärmetauscher 16 der Aufbereitungsanlage 26 zugeführt, wo die Aufbereitung des Lösungsmittels in der Weise stattfindet, daß es danach wieder im Dope-Ansatztank 2 bzw. dem Fällbadansatztank 8 verwendet werden kann.The precipitation bath suspension with the fibrets produced is fed to the
Nachdem das Lösungsmittel abgetrennt worden ist, werden die Fibrets über die Abführleitung 19 einem Hochdruckhomogenisator 20 zugeführt. Von dort gelangen die Fibrets in einen Stapeltank 22 und weiter in ein Trommelfilter 24, wo die Fibrets auf die gewünschte Endkonzentration aufkonzentriert werden, wobei das Fällbad über die Rückführleitung 25 ebenfalls der Aufbereitungsanlage 26 zugeführt wird. Die so aufbereiteten Fibrets werden über die Fibretableitung 23 einer Weiterverarbeitung zugeführt. Von der Aufbereitungsanlage 26 wird das aufbereitete Lösungsmittel, das einen gewissen Anteil Nicht-Lösungsmittel enthalten kann und das Nicht-Lösungsmittel, das wiederum einen Anteil Lösungsmittel enthalten kann, über die Leitungen 27 bzw. 31 in die Tanks 2 und 8 eingeführt.After the solvent has been separated off, the fibrets are fed to a high-
In der Figur 2 ist die Dispergiereinrichtung 40 im Vertikalschnitt dargestellt. Über die gekrümmte Zuführleitung 9 wird das Fällungsmittel in das Innere der Dispergiereinrichtung 40 zugeführt. Die Dopezuleitung 3 befindet sich innerhalb der Zuleitung 9 und wird von dieser umschlossen, so daß sowohl der Dope als auch das Fällungsmittel zentral in die Dispergiereinrichtung 40 eingeleitet werden können. Innerhalb des Gehäuses 41 verzweigt sich die Dopeleitung 3 und geht in die Düsen 46 und 47 über, die zusammen mit den Düsen 48 und 49, die in der Figur 3 dargestellt ist, sternförmig angeordnet sind. Die Düsen erstrecken sich in radialer Richtung nach außen und enden in geringem Abstand vor dem innersten Zahnkranz 50, der Bestandteil des Rotors 44 ist. Dieser Rotor 44 wird von einer Antriebswelle 65 angetrieben, die sich aus dem Gehäuse 41 nach unten erstreckt und von einem Motor (nicht dargestellt) angetrieben wird. Die Abdichtung zum Gehäuse 41 erfolgt über eine Gleitringdichtung 64. Der Rotor 44, der eine Grundplatte 10 aufweist, umfaßt neben dem ersten Zahnkranz 50 beabstandet dazu einen weiteren Zahnkranz (dritter Zahnkranz) 52. Zwischen den beiden Zahnkränzen 50 und 52 befindet sich der zweite Zahnkranz 51, der zum Stator 43 gehört. Der Stator 43, der eine ringförmige Grundplatte 11 aufweist, ist oberhalb der Düsen 46 - 49 angeordnet, so daß sich der zweite Zahnkranz 51 nach unten erstreckt, und am Gehäuse 41 befestigt ist. Unterhalb des Rotors ist ein weiterer Stator 45 angeordnet, der den äußeren oder vierten Zahnkranz 53 aufweist.In Figure 2, the dispersing
Da die Fällbadzuleitung 9 gegen den Stator 43 abgedichtet ist, wird das Fällungsmittel zentral zugeführt und umströmt die Düsen 46 bis 49. Der Dope, der durch die Dopeleitung 3 zugeführt wird, tritt in radialer Richtung aus den Düsen 46 bis 49 aus und in das Scherfeld ein, das sich durch die Zahnkränze 50 - 53 bis in den Außenbereich 14 erstreckt. Dope und Fällungsmittel werden zunächst von dem Zahnkranz 50 erfaßt und beschleunigt. Aufgrund der radialen Strömungsrichtung von Dope und Fällungsmittel, die der Querströmung überlagert ist, verläßt der Dope bzw. die im Entstehen befindlichen Fibrets durch die Lücken 54 zwischen den Zähnen 55 des ersten Zahnkranzes 50 in radialer Richtung die Zone 60, wobei Dope und Fällungsmittel verzögert werden. Anschließend gelangt die Flüssigkeit in eine weitere Zone 61 zwischen dem Zahnkranz 50 und dem Zahnkranz 51, wo die Flüssigkeit wieder beschleunigt wird. Dieser Zahnkranz 51 ist, da er zum Stator gehört, feststehend. Auf dem weiteren Weg gelangen die Fibrets nacheinander in die weiteren Zonen 62 und 63 zwischen den Zahnkränzen 51 und 52 bzw. 52 und 53, wo wiederum Beschleunigungen und Verzögerungen abwechseln. Nachdem auch der vierte Zahnkranz 53 verlassen worden ist, werden die Fibrets zusammen mit dem Fällbad in Form einer Suspension über das Ableitungsrohr 13 abgeführt. Mit dieser Vorrichtung wurden Fibrets hergestellt, die in den nachfolgenden Beispielen beschrieben werden.Since the precipitation
In der Figur 4 ist schematisch der Verlauf des mittleren Turbulenzgrades des Dope/Fällungsmittelgemisches in Abhängigkeit vom Abstand von der Düse gemäß dem Stand der Technik (US 4,047,862 - Kurve I) und nach der Erfindung (Kurve II) dargestellt. Für die Herstellung von Fibrets muß ein minimaler Turbulenzgrad überschritten werden, der durch die Gerade III gekennzeichnet ist. Unterhalb der Kurve III ist die Turbulenz für die Fällung zu gering, so daß die gewünschte Feinheit der Fibrets nicht erreicht wird.FIG. 4 shows schematically the course of the average degree of turbulence of the dope / precipitant mixture as a function of the distance from the nozzle according to the prior art (US 4,047,862 - curve I) and according to the invention (curve II). A minimum degree of turbulence, which is characterized by straight line III, must be exceeded for the production of fibrets. Below curve III, the turbulence is too low for the precipitation, so that the desired fineness of the fibrets is not achieved.
Die Kurve I beschreibt den Turbulenzgrad zwischen den rotierenden Düsen und der feststehenden Wand, die lediglich einen Abstand von 0,1875 inch (= 4,7625 mm) aufweisen, wobei aber für die Fibretherstellung letztendlich weniger als diese Strecke zur Verfügung steht. Der für die Fibretherstellung erforderliche Turbulenzgrad wird nur kurz hinter den Düsen erreicht, und Fällt dann expontiell ab, so daß nur eine relativ kurze Wegstrecke für die Fibretherstellung zur Verfügung steht.Curve I describes the degree of turbulence between the rotating nozzles and the fixed wall, which are only 0.1875 inch (= 4.7625 mm) apart, but ultimately less than this distance is available for fibrin production. The degree of turbulence required for fibrin production is only reached shortly behind the nozzles, and then drops exponentially, so that only a relatively short distance is available for fibrin production.
Im Gegensatz dazu erstreckt sich das erfindungsgemäße Scherfeld bei einer Dispergiereinrichtung gemäß den Figuren 2 und 3 über ca. 14 mm (Abstand Zahnkranz 50 bis Zahnkranz 53), wobei nach dem Austritt aus der Düse der für die Fibretherstellung erforderliche Mindestturbulenzgrad überschritten wird und konstant bleibt. Die Kurve II fällt erst bei Erreichen des Außenbereiches (s. Figur 2) 14 steil ab. Während gemäß der US 4,047,863 mit Umfangsgechwindigkeiten von ca. 30 m/sec gearbeitet wird, liegt die Rotationsgeschwindigkeit des Rotors der Dispergiereinrichtung in diesem Beispiel bei 41 m/sec.In contrast to this, the shear field according to the invention extends in a dispersing device according to FIGS. 2 and 3 over approximately 14 mm (distance from
480 g eines Zellulosdiacetates (CA) der Firma Eastman Chemical Company (Typ CA 398-3) werden in 3840 g Aceton und 480 g Wasser gelöst. Der entstehende Dope enthält somit 10 Ma% CA, 10 Ma% Wasser und 80 Ma% Aceton. Das Verhältnis Aceton zu Wasser beträgt 8. Der Dope wird bei Umgebungstemperatur mit einem Massenstrom von 3 kg/min durch eine Vierstrahldüse, die einen Durchmesser von jeweils 5 mm aufweist und deren Enden sich 0,10 mm vom inneren Rotor entfernt befinden, in das Fällbad geleitet. Als Fällungsmedium dient Wasser ebenfalls bei Umgebungstemperatur, das mit einem Massenstrom von 34,5 kg/min in den Fällungsraum gelangt. Die Massenströme von Fällbad und Dope stehen im Verhältnis 11,5 zu 1. Die Dispergiermaschine ist mit vier Zahnkränzen der Spezifikation "fein" (siehe Tabelle 1) ausgerüstet. Die Fällung erfolgt bei einer Drehzahl von 12 000 min-1. Mach der Fällung liegen CA-Fibrets mit einer Konzentration von 0,8 Ma% vor. Aceton ist mit 6,5 Ma% enthalten. Die genannten Werte sowie die Werte für die folgenden Versuche sind in Tabelle 2 gegenübergestellt. Die Entfernung des Acetons erfolgt durch eine offene Destillation bei Umgebungsdruck. Nach der Acetonentfernung werden die Fibrets mit einem Hochdruckhomogenisator der Firma APV GAULIN, Typ LAB 60, bei einem Druck von 150 bar einstufig homogenisiert. Die Fibrets werden zur Aufbewahrung mit einer Nutsche aufkonzentriert. Es entsteht ein Filterkuchen mit einer Feststoffkonzentration von 8,6 Ma%.480 g of a cellulose diacetate (CA) from Eastman Chemical Company (type CA 398-3) are dissolved in 3840 g of acetone and 480 g of water. The resulting dope thus contains 10 Ma% CA, 10 Ma% water and 80 Ma% acetone. The ratio of acetone to water is 8. The dope is passed into the precipitation bath at ambient temperature with a mass flow of 3 kg / min through a four-jet nozzle, each with a diameter of 5 mm and the ends of which are 0.10 mm from the inner rotor headed. Water is also used as the precipitation medium at ambient temperature and enters the precipitation chamber with a mass flow of 34.5 kg / min. The mass flows of precipitation bath and dope are in a ratio of 11.5 to 1. The dispersing machine is equipped with four sprockets of the "fine" specification (see Table 1). The precipitation takes place at a speed of 12,000 min -1 . After the precipitation, CA fibrets are present at a concentration of 0.8% by mass. Acetone is 6.5% by weight. The values mentioned and the values for the following tests are compared in Table 2. The acetone is removed by open distillation at ambient pressure. After the acetone has been removed, the fibrets are homogenized in one stage using a high-pressure homogenizer from APV GAULIN,
Diese Variante liegt bezüglich der Konzentrationen im Bereich des Standes der Technik, nur die Fällung wurde mit der Dispergiermaschine entsprechend der Erfindung durchgeführt und auf die Filtration nach der Fällung wurde verzichtet.This variant is in the range of the prior art with regard to the concentrations, only the precipitation was carried out with the dispersing machine according to the invention and the filtration after the precipitation was dispensed with.
Der Versuch erfolgte analog Versuch 1, nur wurde der Fällbadmassenstrom auf 22 kg/min verringert. Es ergab sich ein Verhältnis der Massenströme Fällbad zu Dope von 7,3 und eine Konzentration der Fibrets nach der Fällung von 1,2 Ma% (bei 9,6 Ma% Aceton). Auf die Hochdruckhomogenisierung wurde verzichtet.
Der Versuch erfolgte analog Versuch 1, nur wurde der Fällbadmassenstrom auf 15,75 kg/min verringert. Es ergab sich ein Verhältnis der Massenströme Fällbad zu Dope von 5,25 und eine Konzentration der Fibrets nach der Fällung von 1,6 Ma% (bei 12.8 Ma% Aceton). Auf die Hochdruckhomogenisierung wurde verzichtet.The experiment was carried out analogously to experiment 1, except that the precipitation bath mass flow was reduced to 15.75 kg / min. There was a ratio of the mass flows of precipitation bath to dope of 5.25 and a concentration of the fibrets after precipitation of 1.6 Ma% (at 12.8 Ma% acetone). High-pressure homogenization was dispensed with.
Der Versuch erfolgte analog Versuch 1, nur wurde der Fällbadmassenstrom auf 12 kg/min verringert. Es ergab sich ein Verhältnis der Massenströme Fällbad zu Dope von 4,0 und eine Konzentration der Fibrets nach der Fällung von 2,0 Ma% (bei 16,0 Ma% Aceton). Auf die Hochdruckhomogenisierung wurde verzichtet.The experiment was carried out analogously to experiment 1, except that the precipitation bath mass flow was reduced to 12 kg / min. There was a ratio of the mass flows of precipitation bath to dope of 4.0 and a concentration of the fibrets after precipitation of 2.0 mass% (at 16.0 mass% acetone). High-pressure homogenization was dispensed with.
Der Versuch erfolgte analog Versuch 1, nur wurde ein Massenverhältnis Aceton zu CA von 5 eingestellt. Bei einem Massenstromverhältnis Fällbad zu Dope von 7,2 liegen nach der Fällung 1,7 Ma% Fibrets bei 8,5 Ma% Aceton vor.The experiment was carried out analogously to experiment 1, except that a mass ratio of acetone to CA of 5 was set. With a mass flow ratio of precipitation bath to dope of 7.2 there are 1.7 Ma% fibrets with 8.5 Ma% acetone after the precipitation.
Der Versuch erfolgte analog Versuch 1, nur wurde ein Massenverhältnis Aceton zu CA von 3,5 eingestellt. Bei einem Massenstromverhältnis Fällbad zu Dope von 9,9 liegen nach der Fällung 1,65 Ma% Fibrets bei 5,80 Ma% Aceton vor.The experiment was carried out analogously to experiment 1, except that a mass ratio of acetone to CA of 3.5 was set. With a mass flow ratio of precipitation bath to dope of 9.9, 1.65% by mass of fibrets with 5.80% by weight of acetone are present after the precipitation.
Der Versuch erfolgte analog Versuch 5, nur im Fällbad waren in diesem Fall 5 Ma% Aceton enthalten. Nach der Fällung ergab sich dadurch ein Acetongehalt von 12,8 Ma%. Auf eine Hochdruckhomogenisation wurde verzichtet.The experiment was carried out analogously to experiment 5, except that 5% by mass of acetone was present in the precipitation bath in this case. After the precipitation, this resulted in an acetone content of 12.8% by mass. High-pressure homogenization was not used.
Der Versuch erfolgte analog Versuch 5, nur im Fällbad waren 10 Ma% Aceton enthalten. Nach der Fällung ergab sich dadurch ein Acetongehalt von 17,3 Ma%. Auf eine Hochdruckhomogenisation wurde verzichtet.The experiment was carried out analogously to experiment 5, only 10% by mass of acetone was contained in the precipitation bath. After the precipitation, this resulted in an acetone content of 17.3% by mass. High-pressure homogenization was not used.
Der Versuch erfolgte analog Versuch 5, nur im Fällbad waren 15 Ma% Aceton enthalten. Nach der Fällung ergab sich dadurch ein Acetongehalt von 21,7 Ma%. Auf eine Hochdruckhomogenisation wurde verzichtet.The experiment was carried out analogously to experiment 5, only 15% by mass of acetone was contained in the precipitation bath. After the precipitation, this resulted in an acetone content of 21.7% by mass. High-pressure homogenization was not used.
Der Versuch 10 erfolgte analog dem Versuch 6, nur daß dem Dope zusätzlich Wasser bis zu einem Gehalt von 28 Ma% zugegeben wurde. Im Fällbad waren 5 Ma% Aceton vorhanden. Die Fibrets wiesen nach der Fällung eine Konzentration von 1,5 Ma % auf bei einer Acetonkonzentration von 9,8 Ma%.
Die Herstellung erfolgte analog dem Versuch 5, wobei anstatt der Zahnkranzgeometrien "fein" die Zahnkranzgeometrien "grob" eingesetzt wurden.The preparation was carried out analogously to experiment 5, the "coarse" toothed wheel geometries being used instead of the "fine" toothed ring geometries.
Die Herstellung erfolgte analog dem Versuch 5, wobei anstatt der Zahnkranzgeometrien "fein" die Rotorkränze mit der Geometrie "grob" und die Statorzahnkränze mit der Geometrie "fein" ausgerüstet wurden.The production was carried out analogously to experiment 5, with instead of the "fine" gear rim geometries, the rotor rings with the "coarse" geometry and the stator gear rings with the "fine" geometry.
Jede der Proben wies spezifische Oberflächen über 20 m2/g und Einzelfaserabmessungen bevorzugt unter 1 µm auf. Für die Filtration sind jedoch weitergehende Parameter, wie Homogenität, Zugänglichkeit der Fasernetzwerke für die Strömung usw. entscheidend.Each of the samples had specific surfaces above 20 m 2 / g and individual fiber dimensions, preferably below 1 µm. However, further parameters such as homogeneity, accessibility of the fiber networks for the flow etc. are decisive for the filtration.
Die Einschätzung der Qualität der hergestellten Fibrets erfolgte darum über den Einsatz in einer Filterschicht. Dazu wurde folgende Zusammensetzung für die Filterschicht gewählt:
- 25 Ma%
- CA-Fibrets
- 35 Ma%
- mikrokristalline Zellulose mit einem Modalwert der Partikelgrößenverteilung bei 28 µm
- 30 Ma %
- Langfaserzellstoff, ungemahlen
- 10 Ma%
- Langfaserzellstoff, gemahlen auf 80°SR.
- 25%
- CA fibrets
- 35%
- microcrystalline cellulose with a modal particle size distribution at 28 µm
- 30%
- Long fiber pulp, unground
- 10%
- Long fiber pulp, ground to 80 ° SR.
Bezogen auf den Gesamtfeststoff erfolgte die Zugabe von 0,4 Ma% eines Epichlorhydrinharzes zum Einstellen der Naßfestigkeit. Die Schichten wiesen ein Flächengewicht von 1350 g/m2 auf.Based on the total solids, 0.4% by weight of an epichlorohydrin resin was added to adjust the wet strength. The layers had a basis weight of 1350 g / m 2 .
Die Prüfung der Schichten erfolge mit einer Testsuspension aus 0,5 Ma% gemahlenem Roh-Rohrzucker in Wasser. Die Prüffläche betrug 100 cm2. Ermittelt wurde der Durchsatz nach 30 min bei einem Differenzdruck von 1 bar. Nach 15 min Filtrationszeit erfolgte eine Probenahme für die Trübungsmessung zur Ermittlung der Abscheidewirkung. Die Ausgangstrübung für alle Schichten in den parallel durchgeführten Testreihen betrug ca. 2,40 TE/F. Jede der mit den beschriebenen Fibrets hergestellten Filterschichten wurde in drei Läufen getestet. In der Tabelle 3 sind die Mittelwerte angegeben.
Zwischen den Schichten sind durchaus Unterschiede erkennbar. Diese sind jedoch nicht so deutlich, daß die Fibrets nach einem der Ausführungsbeispiele bezüglich des Einsatzes in Filterschichten abgelehnt werden müßten. Zumeist ist eine etwas höhere Trübung mit einem entsprechend höheren Durchsatz verbunden. Da für die Beurteilung des Filtrationsverhaltens eine Relation aus Durchsatz und Abscheidewirkung herangezogen wird, ist dieses Verhalten nicht negativ zu bewerten. Außerdem besteht die Möglichkeit, über Rezepturveränderungen der Filterschicht das Filtrationsverhalten zu ändern.Differences can be seen between the layers. However, these are not so clear that the fibrets would have to be rejected according to one of the exemplary embodiments with regard to their use in filter layers. Usually, a slightly higher turbidity is associated with a correspondingly higher throughput. As a relation for the assessment of the filtration behavior Throughput and separation efficiency is used, this behavior should not be assessed negatively. It is also possible to change the filtration behavior by changing the formulation of the filter layer.
Positiv sind die Fibrets der Probe 9 hervorzuheben. Die Zugabe von Aceton zum Fällmedium wirkt sich hier in einer besseren Fibrillierung aus. Dagegen besitzt die eingesetzte Geometrie der Zahnkränze im untersuchten Bereich keinen wesentlichen Einfluß auf die Qualität der Fibrets.The fibrets of
In Figur 5 ist die Abhängigkeit des maximal möglichen Wassergehaltes von der Konzentration des Celluloseacetates im Dope (beide in Ma%) bei einer Temperatur von 20°C aufgetragen. Der Gehalt an Aceton ergibt sich, indem man von 100 Ma% die jeweiligen CA- und Wasserkonzentrationen subtrahiert.FIG. 5 shows the dependence of the maximum possible water content on the concentration of the cellulose acetate in the dope (both in% by mass) at a temperature of 20 ° C. The acetone content is obtained by subtracting the respective CA and water concentrations from 100% by mass.
Neben der Konzentration am Fällpunkt (Kurve I) sind auch die maximal möglichen Konzentrationen an Wasser gemäß der Erfindung (Kurve II) und nach dem Stand der Technik (US 5,071,599 und US 5,175,376) - Kurve III - aufgetragen. Gemäß dem Stand der Technik können zwischen 5 und 15 Ma% Zelluloseacetat im Dope gelöst sein. Das Zelluloseacetat ist in einer Lösung, die maximal 20 Ma% Wasser enthalten kann, gelöst. Die Angabe für das Wasser bezieht sich somit auf das Zweistoffsystem Aceton + Wasser, während die erfindungsgemäßen Angaben immer für das Dreistoffsystem Aceton + Wasser + Ca gelten. Bei 5 Ma% Zelluloseacetat können gemäß dem Stand der Technik somit nur 20% von 95%, d.h. 19 Ma% Wasser enthalten sein.In addition to the concentration at the precipitation point (curve I), the maximum possible concentrations of water according to the invention (curve II) and according to the prior art (US 5,071,599 and US 5,175,376) - curve III - are also plotted. According to the prior art, between 5 and 15% by mass of cellulose acetate can be dissolved in the dope. The cellulose acetate is dissolved in a solution that can contain a maximum of 20 mass% water. The information for the water thus relates to the two-substance system acetone + water, while the information according to the invention always applies to the three-substance system acetone + water + Ca. With 5% by mass of cellulose acetate, only 20% of 95%, i.e. 19 Ma% water can be included.
Das Diagramm macht deutlich, daß der größte Unterschied zum Stand der Technik bei 5 Ma% Zelluloseacetat und der geringste bei 15 Ma% Zelluloseacetat besteht.
Figur 5 zeigt deutlich die Vorteile der Erfindung, die darin bestehen, daß der Celluloseacetatanteil weitaus größer gewält weden kann (s. erweiterter Bereich nach der Erfindung) und daß der Wasseranteil deutlich höher sein kann, wodurch sich, wie voranstehend beschrieben, entscheidende Vorteile in der Prozeßführung (Entfallen der Filtrationsstufe) und den Prozeßkosten (Aufbereitung mit geringerem Aufwand) ergeben.Figure 5 clearly shows the advantages of the invention, which consist in the fact that the cellulose acetate portion can be chosen much larger (see expanded area according to the invention) and that the water portion can be significantly higher, which, as described above, has decisive advantages in the Process management (elimination of the filtration stage) and the process costs (preparation with less effort).
- 11
- Zuführleitung für ZellulosederivatSupply line for cellulose derivative
- 22nd
- Dope-AnsatztankDope preparation tank
- 33rd
- DopeleitungDouble line
- 88th
- FällbadansatztankPrecipitation batch tank
- 99
- FällbadzuleitungPrecipitation bath supply
- 1010th
- GrundplatteBase plate
- 1111
- ringförmige Grundplattering-shaped base plate
- 1212th
- DestillationsanlageDistillation plant
- 1313
- FällbadableitungPrecipitation bath drain
- 1414
- AußenbereichOutdoor area
- 1515
- DampfzuleitungSteam supply
- 1616
- WärmetauscherHeat exchanger
- 1717th
- LösungsmittelrückführleitungSolvent return line
- 1919th
- AbführleitungDischarge line
- 2020th
- HochdruckhomogenisatorHigh pressure homogenizer
- 2222
- StapeltankStacking tank
- 2323
- FibretableitungFibretal drainage
- 2424th
- TrommelfilterDrum filter
- 2525th
- RückführleitungReturn line
- 2626
- AufbereitungsanlageProcessing plant
- 2727
- Leitungmanagement
- 3131
- Leitungmanagement
- 4040
- DispergiereinrichtungDispersing device
- 4141
- Gehäusecasing
- 4242
- Innenrauminner space
- 4343
- innerer Statorinner stator
- 4444
- Rotorrotor
- 4545
- äußerer Statorouter stator
- 4646
- Düsejet
- 4747
- Düsejet
- 4848
- Düsejet
- 4949
- Düsejet
- 5050
- erster Zahnkranzfirst ring gear
- 5151
- zweiter Zahnkranzsecond ring gear
- 5252
- dritter Zahnkranzthird ring gear
- 5353
- vierter Zahnkranzfourth ring gear
- 5454
- Lückegap
- 5555
- Zahntooth
- 6060
- erste Zonefirst zone
- 6161
- zweite Zonesecond zone
- 6262
- dritte Zonethird zone
- 6363
- vierte Zonefourth zone
- 6464
- GleitringdichtungMechanical seal
- 6565
- Antriebswelledrive shaft
Claims (29)
Applications Claiming Priority (2)
| Application Number | Priority Date | Filing Date | Title |
|---|---|---|---|
| DE19616010A DE19616010C2 (en) | 1996-04-23 | 1996-04-23 | Process and device for the production of fibrets (fibrids) from cellulose derivatives |
| DE19616010 | 1996-04-23 |
Publications (3)
| Publication Number | Publication Date |
|---|---|
| EP0807698A2 true EP0807698A2 (en) | 1997-11-19 |
| EP0807698A3 EP0807698A3 (en) | 1998-04-08 |
| EP0807698B1 EP0807698B1 (en) | 2002-11-06 |
Family
ID=7792092
Family Applications (1)
| Application Number | Title | Priority Date | Filing Date |
|---|---|---|---|
| EP97106492A Expired - Lifetime EP0807698B1 (en) | 1996-04-23 | 1997-04-18 | Process and apparatus for the preparation of fibrets from cellulose derivatives |
Country Status (4)
| Country | Link |
|---|---|
| US (1) | US5868973A (en) |
| EP (1) | EP0807698B1 (en) |
| AU (1) | AU757068B2 (en) |
| DE (2) | DE19616010C2 (en) |
Families Citing this family (18)
| Publication number | Priority date | Publication date | Assignee | Title |
|---|---|---|---|---|
| DE19959532C1 (en) * | 1999-12-10 | 2001-10-04 | Seitz Schenk Filtersystems Gmb | Method and device for the production of filtration-active fibers |
| ES2286674T3 (en) * | 2003-10-01 | 2007-12-01 | Debio Recherche Pharmaceutique S.A. | DEVICE AND PROCEDURE FOR THE MANUFACTURE OF PARTICLES. |
| WO2009008146A2 (en) * | 2007-07-11 | 2009-01-15 | Panasonic Corporation | Method for manufacturing fine polymer, and fine polymer manufacturing apparatus |
| CZ302503B6 (en) | 2009-12-11 | 2011-06-22 | Contipro C A.S. | Process for preparing hyaluronic acid derivative oxidized in position 6 of polysaccharide glucosamine portion to aldehyde and modification process thereof |
| CZ2009836A3 (en) | 2009-12-11 | 2011-06-22 | Contipro C A.S. | Hyaluronic acid derivative oxidized in position 6 of saccharide glucosamine portion selectively to aldehyde, process of its preparation and modification method thereof |
| CZ303879B6 (en) | 2012-02-28 | 2013-06-05 | Contipro Biotech S.R.O. | Derivatives based on hyaluronic acid capable of forming hydrogels, process of their preparation, hydrogels based on these derivatives, process of their preparation and use |
| CZ304651B6 (en) * | 2012-05-11 | 2014-08-20 | Contipro Biotech S.R.O. | Process for preparing microfibers, process for preparing wound covers, wound covers per se and apparatus for preparing polysachharide fibers |
| CZ304512B6 (en) | 2012-08-08 | 2014-06-11 | Contipro Biotech S.R.O. | Hyaluronic acid derivative, process for its preparation, modification process and use thereof |
| CZ304654B6 (en) | 2012-11-27 | 2014-08-20 | Contipro Biotech S.R.O. | C6-C18-acylated hyaluronate-based nanomicellar composition, process for preparing C6-C18-acylated hyaluronate, process for preparing nanomicellar composition and stabilized nanomicellar composition as well as use thereof |
| CZ305153B6 (en) | 2014-03-11 | 2015-05-20 | Contipro Biotech S.R.O. | Conjugates of hyaluronic acid oligomer or a salt thereof, process for their preparation and use |
| CZ2014451A3 (en) | 2014-06-30 | 2016-01-13 | Contipro Pharma A.S. | Antitumor composition based on hyaluronic acid and inorganic nanoparticles, process of its preparation and use |
| CZ309295B6 (en) | 2015-03-09 | 2022-08-10 | Contipro A.S. | Self-supporting, biodegradable film based on hydrophobized hyaluronic acid, method of its preparation and use |
| CZ306479B6 (en) | 2015-06-15 | 2017-02-08 | Contipro A.S. | A method of crosslinking polysaccharides by using photolabile protecting groups |
| CZ306662B6 (en) | 2015-06-26 | 2017-04-26 | Contipro A.S. | Sulphated polysaccharides derivatives, the method of their preparation, the method of their modification and the use |
| CZ308106B6 (en) | 2016-06-27 | 2020-01-08 | Contipro A.S. | Unsaturated derivatives of polysaccharides, their preparation and their use |
| WO2024206272A2 (en) * | 2023-03-29 | 2024-10-03 | Eastman Chemical Company | Methods of making cellulose ester microbeads with solvent recovery and recycle |
| WO2024206270A2 (en) * | 2023-03-29 | 2024-10-03 | Eastman Chemical Company | Methods of making cellulose ester microbeads with a solvent containing water |
| CN119710953A (en) * | 2024-11-28 | 2025-03-28 | 浙江理工大学 | A centrifugal spinning spinneret for producing parallel composite micro-nano fibers |
Family Cites Families (12)
| Publication number | Priority date | Publication date | Assignee | Title |
|---|---|---|---|---|
| US3342921A (en) * | 1966-03-16 | 1967-09-19 | West Virginia Pulp & Paper Co | Process for producing fibrous filler having high wet end retention |
| JPS491241B1 (en) * | 1969-10-24 | 1974-01-12 | ||
| US3842007A (en) * | 1973-02-15 | 1974-10-15 | E & J Winery | Fibrous cellulose acetate filter material |
| US3961007A (en) * | 1973-10-23 | 1976-06-01 | E & J Gallo Winery | Continuous process for making fibrous cellulose acetate filter material |
| DE2516561C3 (en) * | 1975-04-16 | 1979-10-11 | Basf Ag, 6700 Ludwigshafen | Process for the production of fibrils from polymers |
| US4040856A (en) * | 1975-06-17 | 1977-08-09 | Crown Zellerbach Corporation | Production of discrete cellulose acetate fibers by emulsion flashing |
| US4047862A (en) * | 1975-10-24 | 1977-09-13 | Celanese Corporation | Cellulose ester fibrillar structure |
| US4192838A (en) * | 1976-10-06 | 1980-03-11 | Celanese Corporation | Process for producing filter material |
| DE2646332B2 (en) * | 1976-10-14 | 1979-04-12 | Basf Ag, 6700 Ludwigshafen | Process for the production of fibrils from fluorine-containing polymers |
| US4237081A (en) * | 1978-04-03 | 1980-12-02 | Gulf Oil Corporation | Method for preparation of fibrils |
| US5071599A (en) * | 1990-12-14 | 1991-12-10 | Hoechst Celanese Corporation | Process for the production of cellulose ester fibrets |
| US5175276A (en) * | 1990-12-14 | 1992-12-29 | Hoechst Celanese Corporation | Process for the production of cellulose ester fibrets |
-
1996
- 1996-04-23 DE DE19616010A patent/DE19616010C2/en not_active Expired - Fee Related
-
1997
- 1997-04-10 US US08/831,703 patent/US5868973A/en not_active Expired - Fee Related
- 1997-04-18 EP EP97106492A patent/EP0807698B1/en not_active Expired - Lifetime
- 1997-04-18 DE DE59708645T patent/DE59708645D1/en not_active Expired - Fee Related
- 1997-04-22 AU AU19078/97A patent/AU757068B2/en not_active Expired - Fee Related
Also Published As
| Publication number | Publication date |
|---|---|
| DE59708645D1 (en) | 2002-12-12 |
| AU1907897A (en) | 1997-10-30 |
| AU757068B2 (en) | 2003-01-30 |
| DE19616010C2 (en) | 1998-07-09 |
| EP0807698B1 (en) | 2002-11-06 |
| DE19616010A1 (en) | 1997-11-06 |
| US5868973A (en) | 1999-02-09 |
| EP0807698A3 (en) | 1998-04-08 |
Similar Documents
| Publication | Publication Date | Title |
|---|---|---|
| DE19616010C2 (en) | Process and device for the production of fibrets (fibrids) from cellulose derivatives | |
| AT402410B (en) | METHOD FOR PRODUCING A CELLULOSE SUSPENSION | |
| AT510254B1 (en) | METHOD FOR PRODUCING CELLULOSIC MULTICOMPONENT FIBERS | |
| DE69604386T2 (en) | CENTRIFUGAL SPINNING PROCESS FOR SPINNING SOLUTIONS | |
| EP2190882B1 (en) | Method for the production of cellulose particles | |
| DE69434062T2 (en) | Process for the preparation of shaped articles from a cellulose solution | |
| DE69816768T2 (en) | Cellulose microspheres and process for their manufacture | |
| DE4309845C2 (en) | Filter material and process for its manufacture | |
| DE69122754T2 (en) | METHOD FOR PRODUCING PVDF HOLLOW FIBER MEMBRANES | |
| DD142898A5 (en) | FORMED CELLULOSE ARTICLES MADE FROM A CELLULOSIC SOLUTION | |
| DE3312573A1 (en) | METHOD FOR DEWARNING VEGETABLE OILS | |
| DE10304655B4 (en) | Process for the preparation of a highly homogeneous cellulose solution | |
| DE10102334C2 (en) | Process for the production of regular, monodisperse cellulose beads and their use | |
| EP0608744A1 (en) | Cellulose acetate filaments, an optically isotropic spinning solution therefor and its use for the production of the filaments | |
| DE2516561C3 (en) | Process for the production of fibrils from polymers | |
| EP0824107A2 (en) | Cellulose particles | |
| DE2732152A1 (en) | NEW PROCESS FOR THE SHAPING OF CELLULOSE SOLUTIONS BY PHYSICAL WAYS AND THE PRODUCTS OBTAINED THIS | |
| EP0996778B1 (en) | Cellulose acetate with trilobal cross section | |
| EP0824105A2 (en) | Cellulose particles | |
| DE102006025187B4 (en) | Process for the preparation of low-impact explosive particles | |
| DE3502329A1 (en) | POROESE, SPHERICAL CELLULOSE ACETATE PARTICLES AND METHOD FOR THE PRODUCTION THEREOF | |
| DE2334704B2 (en) | Process for making fired polycrystalline alumina fibers | |
| DE19959532C1 (en) | Method and device for the production of filtration-active fibers | |
| CH410271A (en) | Process for the production of fibrous cellulose acetate | |
| DE2634604C3 (en) | Process for producing a film with an asymmetrical cross-sectional structure by the wet process |
Legal Events
| Date | Code | Title | Description |
|---|---|---|---|
| PUAI | Public reference made under article 153(3) epc to a published international application that has entered the european phase |
Free format text: ORIGINAL CODE: 0009012 |
|
| AK | Designated contracting states |
Kind code of ref document: A2 Designated state(s): CH DE ES FR GB LI |
|
| PUAL | Search report despatched |
Free format text: ORIGINAL CODE: 0009013 |
|
| AK | Designated contracting states |
Kind code of ref document: A3 Designated state(s): CH DE ES FR GB LI |
|
| 17P | Request for examination filed |
Effective date: 19980430 |
|
| RAP1 | Party data changed (applicant data changed or rights of an application transferred) |
Owner name: SEITZSCHENK FILTERSYSTEMS GMBH |
|
| 17Q | First examination report despatched |
Effective date: 20000804 |
|
| GRAG | Despatch of communication of intention to grant |
Free format text: ORIGINAL CODE: EPIDOS AGRA |
|
| GRAG | Despatch of communication of intention to grant |
Free format text: ORIGINAL CODE: EPIDOS AGRA |
|
| GRAG | Despatch of communication of intention to grant |
Free format text: ORIGINAL CODE: EPIDOS AGRA |
|
| GRAG | Despatch of communication of intention to grant |
Free format text: ORIGINAL CODE: EPIDOS AGRA |
|
| GRAH | Despatch of communication of intention to grant a patent |
Free format text: ORIGINAL CODE: EPIDOS IGRA |
|
| GRAH | Despatch of communication of intention to grant a patent |
Free format text: ORIGINAL CODE: EPIDOS IGRA |
|
| GRAA | (expected) grant |
Free format text: ORIGINAL CODE: 0009210 |
|
| AK | Designated contracting states |
Kind code of ref document: B1 Designated state(s): CH DE ES FR GB LI |
|
| REG | Reference to a national code |
Ref country code: GB Ref legal event code: FG4D Free format text: NOT ENGLISH |
|
| REG | Reference to a national code |
Ref country code: CH Ref legal event code: EP |
|
| REF | Corresponds to: |
Ref document number: 59708645 Country of ref document: DE Date of ref document: 20021212 |
|
| GBT | Gb: translation of ep patent filed (gb section 77(6)(a)/1977) |
Effective date: 20030226 |
|
| PG25 | Lapsed in a contracting state [announced via postgrant information from national office to epo] |
Ref country code: GB Free format text: LAPSE BECAUSE OF NON-PAYMENT OF DUE FEES Effective date: 20030418 |
|
| PG25 | Lapsed in a contracting state [announced via postgrant information from national office to epo] |
Ref country code: LI Free format text: LAPSE BECAUSE OF NON-PAYMENT OF DUE FEES Effective date: 20030430 Ref country code: CH Free format text: LAPSE BECAUSE OF NON-PAYMENT OF DUE FEES Effective date: 20030430 |
|
| PG25 | Lapsed in a contracting state [announced via postgrant information from national office to epo] |
Ref country code: ES Free format text: LAPSE BECAUSE OF FAILURE TO SUBMIT A TRANSLATION OF THE DESCRIPTION OR TO PAY THE FEE WITHIN THE PRESCRIBED TIME-LIMIT Effective date: 20030529 |
|
| ET | Fr: translation filed | ||
| PLBE | No opposition filed within time limit |
Free format text: ORIGINAL CODE: 0009261 |
|
| STAA | Information on the status of an ep patent application or granted ep patent |
Free format text: STATUS: NO OPPOSITION FILED WITHIN TIME LIMIT |
|
| 26N | No opposition filed |
Effective date: 20030807 |
|
| PG25 | Lapsed in a contracting state [announced via postgrant information from national office to epo] |
Ref country code: DE Free format text: LAPSE BECAUSE OF NON-PAYMENT OF DUE FEES Effective date: 20031101 |
|
| GBPC | Gb: european patent ceased through non-payment of renewal fee |
Effective date: 20030418 |
|
| REG | Reference to a national code |
Ref country code: CH Ref legal event code: PL |
|
| PG25 | Lapsed in a contracting state [announced via postgrant information from national office to epo] |
Ref country code: FR Free format text: LAPSE BECAUSE OF NON-PAYMENT OF DUE FEES Effective date: 20031231 |
|
| REG | Reference to a national code |
Ref country code: FR Ref legal event code: ST |

