EP0453436A2 - Cutting device for a band saw - Google Patents
Cutting device for a band saw Download PDFInfo
- Publication number
- EP0453436A2 EP0453436A2 EP91890074A EP91890074A EP0453436A2 EP 0453436 A2 EP0453436 A2 EP 0453436A2 EP 91890074 A EP91890074 A EP 91890074A EP 91890074 A EP91890074 A EP 91890074A EP 0453436 A2 EP0453436 A2 EP 0453436A2
- Authority
- EP
- European Patent Office
- Prior art keywords
- saw blade
- band saw
- cutting device
- area
- tooth
- Prior art date
- Legal status (The legal status is an assumption and is not a legal conclusion. Google has not performed a legal analysis and makes no representation as to the accuracy of the status listed.)
- Withdrawn
Links
Images
Classifications
-
- B—PERFORMING OPERATIONS; TRANSPORTING
- B27—WORKING OR PRESERVING WOOD OR SIMILAR MATERIAL; NAILING OR STAPLING MACHINES IN GENERAL
- B27B—SAWS FOR WOOD OR SIMILAR MATERIAL; COMPONENTS OR ACCESSORIES THEREFOR
- B27B31/00—Arrangements for conveying, loading, turning, adjusting, or discharging the log or timber, specially designed for saw mills or sawing machines
- B27B31/08—Discharging equipment
-
- B—PERFORMING OPERATIONS; TRANSPORTING
- B23—MACHINE TOOLS; METAL-WORKING NOT OTHERWISE PROVIDED FOR
- B23D—PLANING; SLOTTING; SHEARING; BROACHING; SAWING; FILING; SCRAPING; LIKE OPERATIONS FOR WORKING METAL BY REMOVING MATERIAL, NOT OTHERWISE PROVIDED FOR
- B23D61/00—Tools for sawing machines or sawing devices; Clamping devices for these tools
- B23D61/12—Straight saw blades; Strap saw blades
- B23D61/121—Types of set; Variable teeth, e.g. variable in height or gullet depth; Varying pitch; Details of gullet
Definitions
- the invention relates to a cutting device for a band saw with a band saw blade, with a back area and an end tooth area and a method for producing a toothing of a cutting device.
- Band saw blades which are welded into an endless loop, consist of a steel band into which teeth are stamped on the front.
- the teeth are tempered by applying wear-resistant metal and wet grinding.
- wear-resistant metal and wet grinding For stable and vibration-free running, for sufficient heat dissipation and for reasons of strength, depending on the application (e.g. type of wood), a certain saw blade thickness must not be undercut. This leads to the fact that the kerf corresponds at least to the saw blade thickness, a correspondingly large volume of machined material accumulating as waste and corresponding drive powers also having to be available.
- the invention aims to achieve a cut with the smallest possible kerf with a stable running of the band saw blade, good self-cooling through sufficient heat conduction and high-quality surfaces of the material to be cut.
- This is achieved in a cutting device of the type described in the introduction in that the blade thickness of the band saw blade in the tooth area is smaller in cross section than the thickness of the back area of the band saw blade.
- a cut of, for example, 1 mm cutting width can be achieved in this way, although the stabilizing, heat-dissipating back thickness of the sheet is, for example, 1.8 mm.
- the cross-section of the band saw blade viewed in the feed direction of a cut material, is symmetrical with respect to the central axis, in particular for a central cut.
- a special embodiment is characterized in that a transition region to the back of the saw blade adjoins the tooth region on both sides of the band saw blade and that the transition region has flanks which lie within an imaginary wedge surface connecting the tooth base with the back of the band saw blade.
- the transition area to the band saw blade back which extends over a certain length, for example corresponding to three times the tooth height, is determined by flanks which do not lie on the cut surfaces of the material to be cut. In the case of ground flanks, the shape of a hollow ground is appropriate.
- the blade thickness of the teeth continues in a part of the transition area with parallel flanks and the flanks subsequently rise against the full back thickness of the band saw blade. This ensures that there is no frictional, extensive contact between the split lamellae of a clippings and the side flanks of the band saw blade.
- the front tooth area is chamfered approximately V-shaped for the subsequent application of hard metal, in particular Stelit. The areas ground off from the blank or already beveled in accordance with the roll shape are given a coating which is ground into the cutting edge shape by the wet process.
- the band saw blade is made from a band blank, the back area of which has a greater blade thickness than its front area, which is intended for the teeth.
- the cross-sectional profile can be a rolled profile.
- the flanks of the blade can also be produced by grinding, in particular with a spherical cut in the transition area.
- spherical grinding can result in a reduction in thickness in the transition and tooth area of 0.4 mm on both sides, so that the cutting width of the teeth is reduced to 1 mm. It is useful if the tooth height is about three to six times the cutting width.
- the band saw blade viewed in the feed direction of a cut material Connect stationary guiding surfaces, in particular guiding wedges, guiding rollers or guiding disks for lifting off the clippings, in particular the split-off slats.
- stationary guiding surfaces in particular guiding wedges, guiding rollers or guiding disks for lifting off the clippings, in particular the split-off slats.
- the cut material is split into two halves in the middle cut.
- the special design of the band saw blade allows speeds of 40 to 100 m / sec, the saw blade rollers preferably having a diameter of approximately 2000 mm.
- a cutting device is characterized in that all the teeth of the band saw blade, in particular for the lateral separation of boards from a squared timber, seen in the cross section of the band saw blade, form an angle in only one direction with respect to the band saw blade body adjoining the teeth in cross section, the Teeth are aligned against the blank, especially at an angle to the center of the square timber.
- the free cut is therefore only achieved on one side, namely on the side facing the remaining cut blank or squared timber.
- the severed board stands out from the solid body of the blank, so that the board does not lie flat against the band saw blade body and there can be no friction-related malfunction.
- the separation of the separated boards is achieved, among other things, by the thermally induced expansion of the wood on the cut surface. It is useful if the band saw blade is followed by a wedge, the one surface is approximately aligned with one flank of the toothless area of the band saw blade and the other surface is approximately aligned with a flank of the oblique tooth flank.
- the wedge supports the detachment from the still uncut squared timber or blank.
- the teeth of the band saw blade can be bent out in only one direction.
- the area of the tooth flank protruding over the surface of the toothless region of the band saw blade has a coating of hard metal, in particular Stelit, and if the opposite tooth flank is beveled and in particular has a hollow grinding. Furthermore, it is expedient if the inclined flank surface projecting over the surface of the toothless region of the band saw blade extends only over part of the tooth height and if the opposite oblique flank surface extends beyond the tooth height.
- the band saw blade can only be produced by bending the teeth in one direction.
- a manufacturing process is far better, which is characterized in that teeth are punched out of a steel band from band steel, that hard metal is then thermally applied to one side of the band saw blade, preferably over part of the tooth height, that this hard metal is then ground in an inclined surface to the steel band surface and that the opposite tooth flank is then also ground in an especially parallel inclined surface, possibly in the form of a hollow grinding. It is therefore assumed that the band saw blade is level and that one side of the tooth area is coated with hard metal (wear material) and that the teeth are angularly ground relative to the body of the band saw blade.
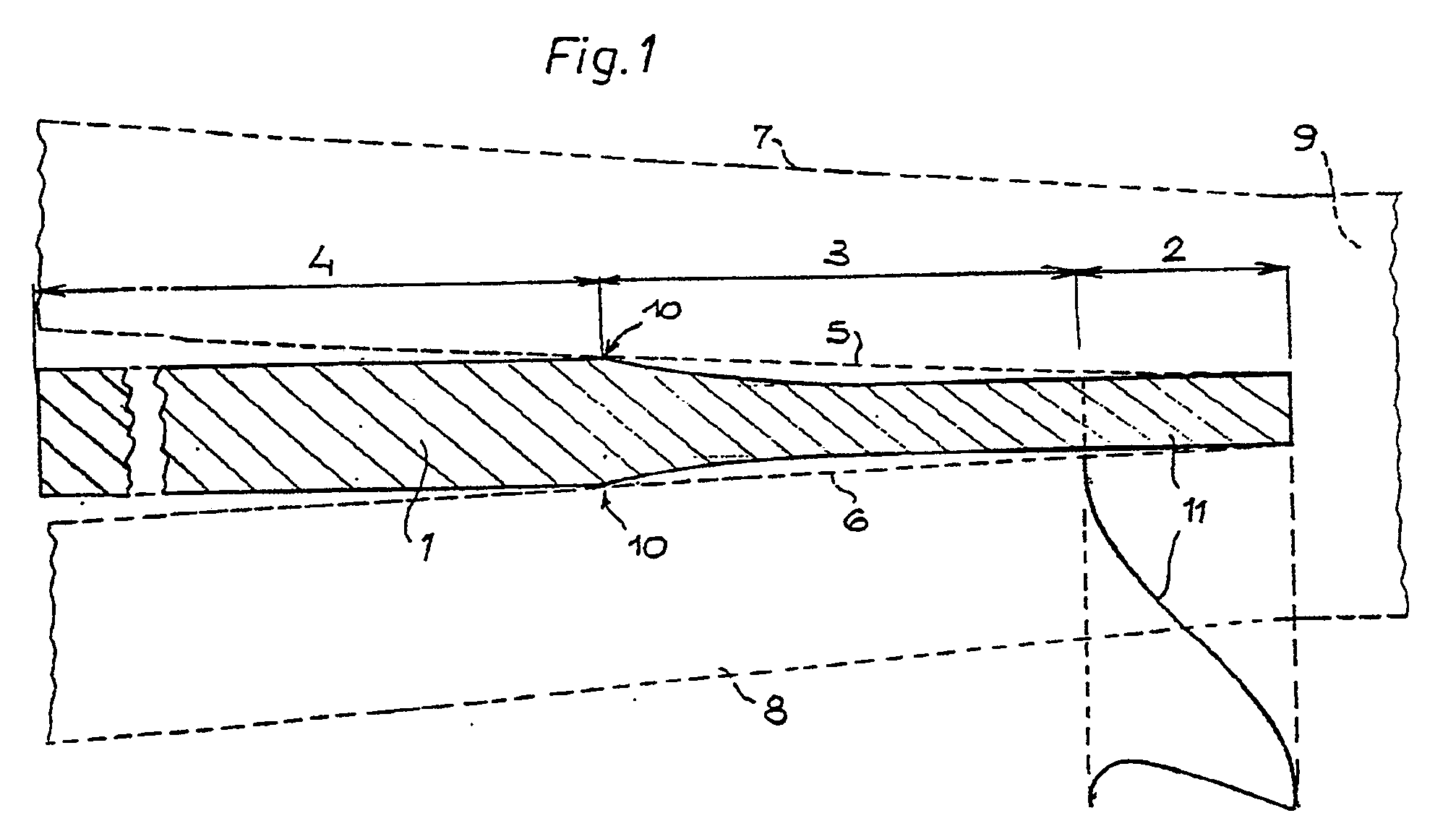
- FIG. 1 shows a section through a band saw blade for a middle cut, a saw tooth also being shown schematically in side view
- FIG. 2 shows a cutting device for a middle cut
- FIG. 3 shows a blank for a band saw blade for a middle cut
- FIG. 4 5 shows a band saw blade according to FIG. 4 in cross section and a wedge according to the invention during the cutting process
- FIG. 6 shows a cross section through a band saw blade according to FIG. 5
- FIG. 7 shows a side view of a band saw blade in the region of a tooth.
- a band saw blade 1 has an end tooth area 2, a transition area 3 and a back area 4.
- the latter is shown in abbreviated form.
- the width of the aforementioned three areas is 180 mm
- the back thickness is 1.8 mm
- the thickness of the tooth area is 1 mm.
- the tooth region 2 and the transition region 3 are spherically ground (hollow grinding) after the teeth 11 have been punched out, the teeth 11 being ground back, in particular in the cutting region, and being brought back into shape by a hard metal layer, in particular Stelit.
- a final grinding (wet grinding) leads to the cross-sectional shape shown in FIG. 1, the hard metal zones not being specifically shown. It is essential that the band saw blade 1 does not immediately squeeze into the wood when the cut material 9 is cut. The incision is made initially with parallel cutting flanks and only then is there a gradual imposition on the band saw blade 1. In this sense, the tooth thickness also continues in the transition area 3 about half the width of the same, the flanks then continuously against the full thickness of the blade, such as it is preserved in the back area 4 increases.
- a lifting device connects to the band saw blade 1, shown here schematically by two optionally adjustable guide wedges 12, 13.
- the guide wedges help to largely or completely keep the flanks of the band saw blade free from friction-intensive contact with the surfaces of the separated slats.
- the inventive design of the strip cross-section and in particular the additional guide wedges prevent high heat build-up and reduce wear. It is therefore possible to work at high speeds and with smaller teeth. In this sense, due to the special design of the tooth and transition area 2, 3, it is advisable to reduce the tooth height from, for example, previously 14 mm to 4 to 6 mm, to work with saw band roller diameters from 1800 to 2000 mm and with belt speeds from 40 to 100 m / sec to drive.
- a band saw blade can be manufactured by punching, grinding and applying (melting) hard metal from a band with the same thickness as a blank over the cross-section.
- a blank of a band saw blade 1 ' e.g. be produced by rolling, as shown in cross section in Fig. 3.
- the rolled product has a constant thickness over most of its width (in the back area 4 ') and decreases in the edge area (transition area 3', tooth area 2 '), which is shown substantially enlarged analogously to FIG. 1.
- the tooth region 2 ' has beveled flanks 14, 15 which carry the hard metal coating 16 of the teeth.
- the latter forms an intimate connection with the strip material as the carrier material. Grinding is limited to the hard metal.
- the machining time is reduced.
- the grinding wheel can only be matched to the hard metal grinding. It is therefore more efficient than a washer (cup washer) with which both the tooth grinding and the hollow grinding takes place in the transition area 3, 3 '.
- boards 23, 24 are separated from a square timber 20 by the band saw blades 21, 22. From the remaining squared timber 20 'then separate the band saw blades 25, 26 in turn Better 27, 28. By lining up double band saws (21, 22 and 25, 26 etc.), squared timber or other blanks are processed into boards.
- the kerf which used to be about 2 mm wide, reduces the quantity of end products and produces waste in the form of Sawdust. Due to the special design of a band saw blade 29 according to FIG. 5, possibly in conjunction with a solid riving knife 30, the kerf can be reduced to approximately 1 mm. For this purpose, the teeth 31 are angled exclusively in the direction of the clippings, here the squared timber 20.
- This angle is also provided as a wedge angle for the riving knife 30, which adjoins the band saw blade 29 in the feed direction.
- the saw tooth 31 is offset in FIG. 5 by a dashed line in cross section from the band saw blade body.
- the outer flank of the sawtooth defines a surface that continues in the outer wedge surface of the riving knife 30.
- the cut surface of the severed board 32 lies in this area.
- Fig. 5 shows that the merely one-sided inclination of the teeth 31 frees the saw blade 29 from the square timber 20 and that the opposite tooth flank leads the board 32 away from the band saw blade 29, so that there is no frictional engagement and in this way, if necessary, an exemption is achieved together with the riving knife.
- FIG. 6 shows the cross section of the band saw blade according to FIG. 5 in detail and FIG. 7 shows the view thereof, in each case on an enlarged scale.
- a concrete version has a saw blade width of 150 mm and a tooth height of 15 mm.
- the saw tooth 33 is inclined relative to the saw blade body 34.
- the inclined surface 35 does not extend to the tooth root, but only over approximately 2/3 of the tooth height.
- the inclined surface 36 of the opposite tooth flank extends into the saw blade body 34.
- the heights of the slopes are marked in Fig. 6 with h1 and h2.
- Fig. 6 also illustrates the manufacturing process of this band saw blade.
- a hard metal coating in particular a Stelit coating 38, is applied on one side in the area of the teeth that have already been punched or are yet to be punched. This receives a flank grinding corresponding to the inclined surface 35.
- the opposite flank is ground into the shape of the inclined surface 36 by tooth grinding, so that the teeth do not get the shape shown by bending, but by grinding.
- the inclined surface 36 can be given a hollow grinding 39 (shown in broken lines).
Landscapes
- Engineering & Computer Science (AREA)
- Mechanical Engineering (AREA)
- Life Sciences & Earth Sciences (AREA)
- Wood Science & Technology (AREA)
- Forests & Forestry (AREA)
- Sawing (AREA)
- Knives (AREA)
Abstract
Eine Schneideeinrichtung umfaßt ein Bandsägeblatt (1, 1′; 21, 22; 25, 26, 29) mit einem Rückenbereich (4, 4′; 29, 34) und einem stirnseitigen Zahnbereich (2, 2′; 31, 33), dessen Stärke geringer ist als die Bandstärke im Rückenbereich (4, 4′; 34). Der Querschnitt des Bandsägeblattes (1, 1′; 21, 22, 25, 26, 29) ist bezüglich der Mittelachse für einen Mittelschnitt symmetrisch ausgebildet. Zwischen dem Zahnbereich (2, 2′) und dem Rückenbereich (4, 4′, 29, 34) liegt ein Übergangsbereich (3, 3′), gegebenenfalls mit seitlichen konkaven Flanken, die innerhalb von gedachten Keilflächen liegen. Für das seitliche Abtrennen von Brettern von einem Kantholz weist das Bandsägeblatt (21, 22, 25, 26, 29) Zähne (31, 33) auf, die nur in eine Richtung abgeschrägt sind, sodaß die Zähne beim endlosen Bandsägeblatt zueinander konvergieren. Bei der Schneideeinrichtung sind die Zähne (31, 33) gegen das Schnittgut, z.B. das Kantholz (20), gerichtet. Ein abgetrenntes Brett (23, 24, 27, 28, 32) läuft beim Vorschub selbsttätig seitlich aus der Vorschubbahn. Die durch Schleifen oder Walzen hergestellte Querschnittsform umfaßt eine Hartmetallvergütung (Stelitauflage), die durch Schweißen aufgebracht ist. Der Schnitt führt zu einem Aufspalten des Schnittgutes in zwei Bretter, die berührungslos an den Zahnflanken und im Übergangsbereich vorbeilaufen. Die Schneideeinrichtung kann ferner über Führungskeile (12, 13, 30) im Anschluß an das Bandsägeblatt verfügen. A cutting device comprises a band saw blade (1, 1 '; 21, 22; 25, 26, 29) with a back area (4, 4'; 29, 34) and an end tooth area (2, 2 '; 31, 33), the Strength is less than the band thickness in the back area (4, 4 '; 34). The cross section of the band saw blade (1, 1 '; 21, 22, 25, 26, 29) is symmetrical with respect to the central axis for a central cut. Between the tooth area (2, 2 ') and the back area (4, 4', 29, 34) there is a transition area (3, 3 '), possibly with lateral concave flanks that lie within imaginary wedge surfaces. The band saw blade (21, 22, 25, 26, 29) has teeth (31, 33) which are only beveled in one direction so that the teeth in the endless band saw blade converge to one another for the lateral cutting of boards from a square timber. In the cutting device, the teeth (31, 33) are directed against the clippings, for example the squared timber (20). A separated board (23, 24, 27, 28, 32) automatically runs laterally out of the feed path during feed. The cross-sectional shape produced by grinding or rolling comprises a hard metal coating (Stelit coating), which is applied by welding. The cut results in the clippings being split into two boards, which run past the tooth flanks and in the transition area without contact. The cutting device can also have guide wedges (12, 13, 30) following the band saw blade.
Description
Die Erfindung betrifft eine Schneideeinrichtung für eine Bandsäge mit einem Bandsägeblatt, mit einem Rückenbereich und einem stirnseitigen Zahnbereich sowie ein Verfahren zur Herstellung einer Zahnung einer Schneideeinrichtung.The invention relates to a cutting device for a band saw with a band saw blade, with a back area and an end tooth area and a method for producing a toothing of a cutting device.
Bandsägeblätter, die zu einer endlosen Schleife verschweißt werden, bestehen aus einem Stahlband, in das stirnseitig Zähne eingestanzt sind. Durch Auftragen von verschleißbeständigem Metall und Naßschleifen werden die Zähne vergütet. Für den stabilen und schwingungsfreien Lauf, für ausreichende Wärmeabfuhr sowie aus Festigkeitsgründen darf je nach Anwendungsbereich (z.B. Holzart) eine bestimmte Sägeblattstärke nicht unterschritten werden. Dies führt dazu, daß die Schnittfuge mindestens der Sägeblattstärke entspricht, wobei ein entsprechend großes Volumen an zerspantem Material als Abfall anfällt und ferner entsprechende Antriebsleistungen dazu zur Verfügung stehen müssen.Band saw blades, which are welded into an endless loop, consist of a steel band into which teeth are stamped on the front. The teeth are tempered by applying wear-resistant metal and wet grinding. For stable and vibration-free running, for sufficient heat dissipation and for reasons of strength, depending on the application (e.g. type of wood), a certain saw blade thickness must not be undercut. This leads to the fact that the kerf corresponds at least to the saw blade thickness, a correspondingly large volume of machined material accumulating as waste and corresponding drive powers also having to be available.
Im Bestreben, einen möglichst "fugenlosen Schnitt" bei nur geringem Abfall zu erreichen, hat man die Sägeblattstärke reduziert. Dies geht jedoch auf Kosten der Standzeit und infolge der auftretenden Schwingungen auf Kosten der Schnittqualität bzw. der resultierenden Oberflächenqualität des Schnittgutes.In order to achieve a "seamless cut" with minimal waste, the saw blade thickness has been reduced. However, this is at the expense of the service life and, due to the vibrations that occur, at the expense of the cut quality or the resulting surface quality of the material to be cut.
Die Erfindung zielt darauf ab, einen Schnitt mit geringstmöglicher Schnittfuge bei stabilem Lauf des Bandsägeblattes, guter Eigenkühlung durch ausreichende Wärmeleitung und hochwertige Oberflächen des Schnittgutes zu erreichen. Dies wird bei einer Schneideeinrichtung der eingangs beschriebenen Art dadurch erreicht, daß die Blattstärke des Bandsägeblattes im Zahnbereich im Querschnitt geringer ist, als die Stärke des Rückenbereichs des Bandsägeblattes. Damit kann ein Schnitt von beispielsweise 1 mm Schnittbreite erzielt werden, obwohl die stabilisierende, wärmeabführende Rückenstärke des Blattes beispielsweise 1,8 mm beträgt. Dabei ist es zweckmäßig, wenn der Querschnitt des Bandsägeblattes in Vorschubrichtung eines Schnittgutes gesehen bezüglich der Mittelachse insbesondere für einen Mittelschnitt symmetrisch ausgebildet ist. Eine besondere Ausführungsform ist dadurch gekennzeichnet, daß an den Zahnbereich beiderseits des Bandsägeblattes ein Übergangsbereich zum Sägeblattrücken anschließt und daß der Übergangsbereich Flanken aufweist, die innerhalb einer den Zahngrund mit dem Rücken des Bandsägeblattes verbindenden gedachten Keilfläche liegen. Der sich über eine gewisse Länge, z.B. entsprechend der dreifachen Zahnhöhe, erstreckende Übergangsbereich zum Bandsägeblattrücken, wird durch Flanken bestimmt, die nicht an den geschnittenen Flächen des Schnittgutes anliegen. Bei geschliffenen Flanken ist die Form eines Hohlschliffes zweckmäßig. Es ist zweckmäßig, wenn sich die Blattstärke der Zähne in einem Teil des Übergangsbereichs mit parallelen Flanken fortsetzt und die Flanken daran anschließend gegen die volle Rückenstärke des Bandsägeblattes ansteigen. Dadurch wird sichergestellt, daß es zwischen den abgespaltenen Lamellen eines Schnittgutes und den seitlichen Flanken des Bandsägeblattes zu keiner reibungsintensiven flächigen Berührung kommt. Ferner ist es vorteilhaft, wenn der stirnseitige Zahnbereich zum nachträglichen Auftrag von Hartmetall, insbesondere Stelit, etwa V-förmig abgeschrägt ist. Die vom Rohling abgeschliffenen bzw. gemäß der Walzform bereits abgeschrägten Bereiche erhalten einen Belag, der im Naßverfahren in die Schneidenform geschliffen wird. Eine Ausführung ist dadurch gekennzeichnet, daß das Bandsägeblatt aus einem Bandrohling hergestellt ist, dessen Rückenbereich größere Blattstärke aufweist, als dessen stirnseitiger, für die Zähne vorgesehener Bereich. Das Querschnittsprofil kann ein Walzprofil sein. Abgesehen von der Zahnform oder der Hartmetallauflage können auch die Flanken des Blattes durch Schleifen, insbesondere mit einem sphärischen Schliff im Übergangsbereich, hergestellt sein. Ausgehend von einem Bandprofil von beispielsweise 1,8 mm kann durch sphärisches Abschleifen eine Stärkenreduktion im Übergangs- und Zahnbereich von beiderseits je 0,4 mm ausgeführt werden, sodaß die Schnittbreite der Zähne auf 1 mm reduziert ist. Dabei ist es zweckmäßig, wenn die Zahnhöhe etwa das Drei- bis Sechsfache der Schneidenbreite beträgt. Ferner ist es zweckmäßig, wenn an das Bandsägeblatt, in Vorschubrichtung eines Schnittgutes gesehen, beiderseits stationäre Führungsflächen, insbesondere Führungskeile, Führungsrollen oder Führungsscheiben für das Abheben des Schnittgutes, insbesondere der abgespaltenen Lamellen, anschließen. Dadurch erfolgt beim Mittelschnitt ein Aufspalten des Schnittgutes in zwei Hälften. Die spezielle Ausführung des Bandsägeblattes erlaubt Geschwindigkeiten von 40 bis 100 m/sec, wobei die Sägeblattrollen vorzugsweise einen Durchmesser von etwa 2000 mm aufweisen.The invention aims to achieve a cut with the smallest possible kerf with a stable running of the band saw blade, good self-cooling through sufficient heat conduction and high-quality surfaces of the material to be cut. This is achieved in a cutting device of the type described in the introduction in that the blade thickness of the band saw blade in the tooth area is smaller in cross section than the thickness of the back area of the band saw blade. A cut of, for example, 1 mm cutting width can be achieved in this way, although the stabilizing, heat-dissipating back thickness of the sheet is, for example, 1.8 mm. It is expedient if the cross-section of the band saw blade, viewed in the feed direction of a cut material, is symmetrical with respect to the central axis, in particular for a central cut. A special embodiment is characterized in that a transition region to the back of the saw blade adjoins the tooth region on both sides of the band saw blade and that the transition region has flanks which lie within an imaginary wedge surface connecting the tooth base with the back of the band saw blade. The transition area to the band saw blade back, which extends over a certain length, for example corresponding to three times the tooth height, is determined by flanks which do not lie on the cut surfaces of the material to be cut. In the case of ground flanks, the shape of a hollow ground is appropriate. It is expedient if the blade thickness of the teeth continues in a part of the transition area with parallel flanks and the flanks subsequently rise against the full back thickness of the band saw blade. This ensures that there is no frictional, extensive contact between the split lamellae of a clippings and the side flanks of the band saw blade. It is also advantageous if the front tooth area is chamfered approximately V-shaped for the subsequent application of hard metal, in particular Stelit. The areas ground off from the blank or already beveled in accordance with the roll shape are given a coating which is ground into the cutting edge shape by the wet process. One embodiment is characterized in that the band saw blade is made from a band blank, the back area of which has a greater blade thickness than its front area, which is intended for the teeth. The cross-sectional profile can be a rolled profile. Apart from the tooth shape or the hard metal layer, the flanks of the blade can also be produced by grinding, in particular with a spherical cut in the transition area. On the basis of a band profile of, for example, 1.8 mm, spherical grinding can result in a reduction in thickness in the transition and tooth area of 0.4 mm on both sides, so that the cutting width of the teeth is reduced to 1 mm. It is useful if the tooth height is about three to six times the cutting width. Furthermore, it is expedient if on both sides of the band saw blade, viewed in the feed direction of a cut material Connect stationary guiding surfaces, in particular guiding wedges, guiding rollers or guiding disks for lifting off the clippings, in particular the split-off slats. As a result, the cut material is split into two halves in the middle cut. The special design of the band saw blade allows speeds of 40 to 100 m / sec, the saw blade rollers preferably having a diameter of approximately 2000 mm.
Bei der Herstellung von Brettern aus einem Kantholz ist es bekannt, vom Kantholz links und rechts durch je ein Bandsägeblatt je ein Brett abzutrennen. Das verbleibende Kantholz wird wieder je zwei Bandsägeblättern zugeführt, die links und rechts seitlich wieder zwei Bretter abtrennen. Dieses Verfahren geht so weiter, bis das ursprüngliche Kantholz zur Gänze aufgeschnitten ist. Die heute üblichen Schnittfugen liegen bei etwa 2 mm Fugenbreite, d.h., es fallen auch bei dieser Methode Sägespäne in großer Menge an. Bei dem ungeheuren Bedarf an Brettern bedeutet eine Reduzierung der Fugenbreite, wie schon eingangs erwähnt, einen enormen Fortschritt, da mit weniger Abfall ein größerer Ausstoß an Endprodukten erreichbar ist. Um die Fugenbreite zu reduzieren, ist eine Schneideeinrichtung dadurch gekennzeichnet, daß alle Zähne des Bandsägeblattes insbesondere zum seitlichen Abtrennen von Brettern von einem Kantholz im Querschnitt des Bandsägeblattes gesehen einen Winkel in ausschließlich eine Richtung gegenüber dem an die Zähne im Querschnitt anschließenden Bandsägeblattkörper einschließen, wobei die Zähne gegen den Rohling, insbesondere schräg zur Mitte des Kantholzes ausgerichtet sind. Der Freischnitt wird daher nur an einer Seite erreicht und zwar an jener, die dem verbleibenden umgeschnittenen Rohling bzw. Kantholz zugewandt ist. Auf der gegenüberliegenden Seite hebt sich das abgetrennte Brett vom Vollkörper des Rohlings ab, sodaß das Brett nicht flächig an dem Bandsägeblattkörper anliegt und es nicht zu einer reibungsbedingten Störung kommen kann. Das Auseinanderlaufen der abgetrennten Bretter wird unter anderem durch die thermisch bedingte Dehnung des Holzes an der Schnittfläche erreicht. Es ist zweckmäßig, wenn dem Bandsägeblatt ein Keil nachgeordnet ist, dessen eine Fläche etwa mit der einen Flanke des ungezahnten Bereichs des Bandsägeblattes fluchtet und dessen andere Fläche etwa mit einer Flanke der schrägen Zahnflanke fluchtet. Der Keil unterstützt das Ablösen von dem noch ungeschnittenen Kantholz bzw. Rohling. Die Zähne des Bandsägeblattes können in nur eine Richtung ausgebogen sein. Es hat sich als vorteilhaft erwiesen, wenn ausgehend von einem ebenen Bandsägeblatt der über die Fläche des ungezahnten Bereichs des Bandsägeblatts vorstehende Bereich der Zahnflanke einen Belag aus Hartmetall, insbesondere Stelit aufweist und wenn die gegenüberliegende Zahnflanke schräggeschliffen ist und insbesondere einen Hohlschliff aufweist. Ferner ist es zweckmäßig, wenn sich die über die Fläche des ungezahnten Bereichs des Bandsägeblattes vorspringende schräge Flankenfläche nur über einen Teil der Zahnhöhe erstreckt und wenn sich die gegenüberliegende schräge Flankenfläche über die Zahnhöhe hinaus erstreckt.When producing boards from a squared timber, it is known to separate one board from the squared timber on the left and right using a band saw blade. The remaining squared timber is fed back into two band saw blades, which again separate two boards on the left and right. This process continues until the original squared timber is completely cut open. The cutting kerfs that are common today are around 2 mm joint width, ie sawdust is also produced in large quantities with this method. With the enormous demand for boards, a reduction in the joint width, as already mentioned at the beginning, means enormous progress, since a greater output of end products can be achieved with less waste. In order to reduce the joint width, a cutting device is characterized in that all the teeth of the band saw blade, in particular for the lateral separation of boards from a squared timber, seen in the cross section of the band saw blade, form an angle in only one direction with respect to the band saw blade body adjoining the teeth in cross section, the Teeth are aligned against the blank, especially at an angle to the center of the square timber. The free cut is therefore only achieved on one side, namely on the side facing the remaining cut blank or squared timber. On the opposite side, the severed board stands out from the solid body of the blank, so that the board does not lie flat against the band saw blade body and there can be no friction-related malfunction. The separation of the separated boards is achieved, among other things, by the thermally induced expansion of the wood on the cut surface. It is useful if the band saw blade is followed by a wedge, the one surface is approximately aligned with one flank of the toothless area of the band saw blade and the other surface is approximately aligned with a flank of the oblique tooth flank. The wedge supports the detachment from the still uncut squared timber or blank. The teeth of the band saw blade can be bent out in only one direction. It has proven to be advantageous if, starting from a flat band saw blade, the area of the tooth flank protruding over the surface of the toothless region of the band saw blade has a coating of hard metal, in particular Stelit, and if the opposite tooth flank is beveled and in particular has a hollow grinding. Furthermore, it is expedient if the inclined flank surface projecting over the surface of the toothless region of the band saw blade extends only over part of the tooth height and if the opposite oblique flank surface extends beyond the tooth height.
Wie erwähnt, kann das Bandsägeblatt durch Ausbiegen der Zähne ausschließlich in eine Richtung hergestellt werden. Weitaus besser ist ein Herstellungsverfahren, das dadurch gekennzeichnet ist, daß aus einem Stahlband aus Bandstahl Zähne ausgestanzt werden, daß sodann auf einer Seite des Bandsägeblattes vorzugsweise über einen Teil der Zahnhöhe Hartmetall thermisch aufgetragen wird, daß sodann dieses Hartmetall in einer Schrägfläche zur Stahlbandfläche abgeschliffen wird und daß daraufhin die gegenüberliegende Zahnflanke ebenfalls in einer insbesondere parallelen Schrägfläche, gegebenenfalls in Form eines Hohlschliffes, abgeschliffen wird. Es wird also von einem ebenen Bandsägeblatt ausgegangen, das im Zahnbereich einseitig einen Hartmetallauftrag (Verschleißwerkstoff) erhält und das durch schräges Zuschleifen die Winkelstellung der Zähne gegenüber dem Bandsägeblattkörper erhält.As mentioned, the band saw blade can only be produced by bending the teeth in one direction. A manufacturing process is far better, which is characterized in that teeth are punched out of a steel band from band steel, that hard metal is then thermally applied to one side of the band saw blade, preferably over part of the tooth height, that this hard metal is then ground in an inclined surface to the steel band surface and that the opposite tooth flank is then also ground in an especially parallel inclined surface, possibly in the form of a hollow grinding. It is therefore assumed that the band saw blade is level and that one side of the tooth area is coated with hard metal (wear material) and that the teeth are angularly ground relative to the body of the band saw blade.
Ausführungsbeispiele der erfindungsgemäßen Schneideeinrichtung sind in den Zeichnungen dargestellt. Fig. 1 zeigt einen Schnitt durch ein Bandsägeblatt für Mittelschnitt, wobei ein Sägezahn auch in Seitenansicht schematisch dargestellt ist, Fig. 2 eine Schneideeinrichtuung für Mittelschnitt, Fig. 3 einen Rohling für ein Bandsägeblatt für Mittelschnitt, Fig. 4 eine Schneideeinrichtung mit mehreren Bandsägeblättern gemäß der Erfindung zum seitlichen Abtrennen von Brettern von einem Kantholz, Fig. 5 ein Bandsägeblatt nach Fig. 4 im Querschnitt sowie einen Keil gemäß der Erfindung während des Schneidvorganges, Fig. 6 einen Querschnitt durch ein Bandsägeblatt nach Fig. 5 und Fig. 7 eine Seitenansicht eines Bandsägeblattes im Bereich eines Zahnes.Embodiments of the cutting device according to the invention are shown in the drawings. 1 shows a section through a band saw blade for a middle cut, a saw tooth also being shown schematically in side view, FIG. 2 shows a cutting device for a middle cut, FIG. 3 shows a blank for a band saw blade for a middle cut, FIG. 4 5 shows a band saw blade according to FIG. 4 in cross section and a wedge according to the invention during the cutting process, FIG. 6 shows a cross section through a band saw blade according to FIG. 5 and FIG. 7 shows a side view of a band saw blade in the region of a tooth.
Ein Bandsägeblatt 1 weist einen stirnseitigen Zahnbereich 2, einen Übergangsbereich 3 und einen Rückenbereich 4 auf. Letzterer ist verkürzt dargestellt. Bei einer konkreten Ausführung beträgt die Breite der vorgenannten drei Bereiche zusammen 180 mm, der Rückenstärke 1,8 mm und die Stärke des Zahnbereichs 1 mm. Infolge der Blattstärke im Zahnbereich 2, die geringer ist, als jene des Rückenbereichs 4 und der konkaven Ausbildung des Übergangsbereichs 3 liegen die ablaufenden, geschnittenen Flächen 5, 6 von aufgespaltenen Lamellen 7, 8 eines Schnittgutes 9 (Holz) nicht flächig an dem Bandsägeblatt an, sondern allenfalls nur mit Linienberührung bei 10.A band saw blade 1 has an
Der Zahnbereich 2 und der Übergangsbereich 3 werden nach Ausstanzen der Zähne 11 sphärisch geschliffen (Hohlschliff), wobei die Zähne 11 insbesondere im Schneidenbereich zurückgeschliffen und durch eine Auflage von Hartmetall, insbesondere Stelit, wieder in die Form gebracht werden. Ein Endschliff (Naßschliff) führt zu der in Fig. 1 dargestellten Querschnittsform, wobei die Hartmetallzonen nicht speziell eingezeichnet sind. Wesentlich ist, daß sich das Bandsägeblatt 1 beim Anschneiden des Schnittgutes 9 nicht sofort unter Keilwirkung in das Holz zwängt. Der Einschnitt erfolgt vorerst mit parallelen Schnittflanken und erst dann folgt ein allmähliches Aufzwängen am Bandsägeblatt 1. In diesem Sinn setzt sich die Zahnstärke auch im Übergangsbereich 3 etwa über die halbe Breite desselben fort, wobei die Flanken dann kontinuierlich gegen die volle Stärke des Blattes, wie sie im Rückenbereich 4 erhalten ist, ansteigt. Gemäß Fig. 2 schließt an das Bandsägeblatt 1 eine Abhebevorrichtung, hier schematisch durch zwei gegebenenfalls einstellbare Führungskeile 12, 13 dargestellt, an. Die Führungskeile unterstützen das weitgehende oder gänzliche Freihalten der Flanken des Bandsägeblattes von einer reibungsintensiven Berührung mit den Oberflächen der abgetrennten Lamellen. Durch die erfindungsgemäße Formgebung des Bandquerschnittes und insbesondere durch die ergänzenden Führungskeile wird eine hohe Wärmeentwicklung vermieden und der Verschleiß reduziert. Es kann daher mit hohen Geschwindigkeiten und mit kleineren Zähnen gearbeitet werden. In diesem Sinn ist es infolge der speziellen Ausbildung des Zahn- und Übergangsbereichs 2, 3 zweckmäßig, die Zahnhöhe von beispielsweise bisher 14 mm auf 4 bis 6 mm zu reduzieren, mit Sägebandrollendurchmessern von 1800 bis 2000 mm zu arbeiten und mit Bandgeschwindigkeiten von 40 bis 100 m/sec zu fahren.The
Die Fertigung eines Bandsägeblattes kann durch Zahnstanzen, Schleifen und Auftragen (Aufschmelzen) von Hartmetall, aus einem Band mit über den Querschnitt gleicher Stärke als Rohling erfolgen. Es kann jedoch ein Rohling eines Bandsägeblattes 1′ z.B. durch Walzen hergestellt werden, wie er im Querschnitt in Fig. 3 dargestellt ist. Das Walzprodukt weist über den Großteil seiner Breite (im Rückenbereich 4′) konstante Stärke auf und nimmt im Randbereich (Übergangsbereich 3′, Zahnbereich 2′), der analog zu Fig. 1 wesentlich vergrößert dargestellt ist, ab. Der Zahnbereich 2′ weist angeschrägte Flanken 14, 15 auf, die die Hartmetallvergütung 16 der Zähne tragen. Letztere geht infolge des Aufbringungsverfahrens durch Schweißen eine innige Verbindung mit dem Bandmaterial als Trägermaterial ein. Das Schleifen beschränkt sich unmittelbar auf das Hartmetall. Da die Zähne wesentlich kleiner sind, als bei üblichen Bandsägeblättern, ergibt sich eine Reduktion der Bearbeitungszeit. Außerdem kann die Schleifscheibe ausschließlich auf den Hartmetallschliff abgestimmt sein. Sie ist damit effizienter als eine Scheibe (Topfscheibe) mit der sowohl der Zahnschliff als auch der Hohlschliff im Übergangsbereich 3, 3′ erfolgt.A band saw blade can be manufactured by punching, grinding and applying (melting) hard metal from a band with the same thickness as a blank over the cross-section. However, a blank of a band saw blade 1 'e.g. be produced by rolling, as shown in cross section in Fig. 3. The rolled product has a constant thickness over most of its width (in the back area 4 ') and decreases in the edge area (transition area 3', tooth area 2 '), which is shown substantially enlarged analogously to FIG. 1. The tooth region 2 'has beveled
Gemäß Fig. 4 werden von einem Kantholz 20 durch die Bandsägeblätter 21, 22 Bretter 23, 24 abgetrennt. Vom verbleibenden Kantholz 20′ trennen sodann die Bandsägeblätter 25, 26 wiederum Better 27, 28 ab. Durch Aneinanderreihen von Doppelbandsägen (21, 22 und 25, 26 usw.) werden Kanthölzer oder andere Rohlinge zu Brettern verarbeitet. Die Schnittfuge von bisher etwa 2 mm Breite reduziert das Quantum an Endprodukten und produziert Abfall in Form von Sägespänen. Durch die besondere Ausbildung eines Bandsägeblattes 29 gemäß Fig. 5, gegebenenfalls in Verbindung mit einem massiven Spaltkeil 30, kann die Schnittfuge auf etwa 1 mm reduziert werden. Dazu sind die Zähne 31 ausschließlich in Richtung auf das Schnittgut, hier das Kantholz 20, abgewinkelt. Dieser Winkel ist auch als Keilwinkel für den Spaltkeil 30 vorgesehen, der in Vorschubrichtung an das Bandsägeblatt 29 anschließt. Der Sägezahn 31 ist in Fig. 5 durch eine strichlierte Linie im Querschnitt von dem Bandsägeblattkörper abgesetzt. Die Außenflanke des Sägezahnes definiert eine Fläche, die sich in der äußeren Keilfläche des Spaltkeiles 30 fortsetzt. In dieser Fläche liegt die Schnittfläche des abgetrennten Brettes 32. Fig. 5 zeigt, daß durch die bloß einseitige Schrägstellung der Zähne 31 eine Freistellung des Sägeblattes 29 gegenüber dem Kantholz 20 erreicht wird und daß die gegenüberliegende Zahnflanke das Brett 32 vom Bandsägeblatt 29 wegführt, sodaß kein Reibungsschluß entsteht und auf diese Weise, gegebenenfalls zusammen mit dem Spaltkeil eine Freistellung erreicht wird.4,
Fig. 6 zeigt den Querschnitt des Bandsägeblattes nach Fig.5 im Detail und Fig. 7 die Ansicht dazu, jeweils in vergrößertem Maßstab. Eine konkrete Ausführung weist eine Sägeblattbreite von 150 mm und eine Zahnhöhe von 15 mm auf. Der Sägezahn 33 ist gegenüber dem Sägeblattkörper 34 schräggestellt. Die Schrägfläche 35 reicht nicht bis zur Zahnwurzel, sondern nur bloß über etwa 2/3 der Zahnhöhe. Die Schrägfläche 36 der gegenüberliegenden Zahnflanke reicht bis in den Sägeblattkörper 34 hinein. Die Höhen der Schrägen sind in Fig. 6 mit h₁ und h₂ gekennzeichnet.6 shows the cross section of the band saw blade according to FIG. 5 in detail and FIG. 7 shows the view thereof, in each case on an enlarged scale. A concrete version has a saw blade width of 150 mm and a tooth height of 15 mm. The
Fig. 6 illustriert ferner noch das Herstellungsverfahren dieses Bandsägeblattes. Auf einem Stahlband aus Bandstahl mit rechteckigem Querschnitt,gemäß der strichlierten Linie 37 wird einseitig im Bereich der bereits gestanzten oder noch zu stanzenden Zähne ein Hartmetallbelag, insbesondere ein Stelitbelag 38 aufgebracht. Dieser erhält einen Flankenschliff entsprechend der Schrägfläche 35. Die gegenüberliegende Flanke wird durch Zahnschleifen in die Form der Schrägfläche 36 geschliffen, sodaß die Zähne nicht durch Ausbiegen, sondern durch Schleifen, die dargestellte Form erhalten. Alternativ zur Keilfläche kann die Schrägfläche 36 einen Hohlschliff 39 (strichliert dargestellt) erhalten.Fig. 6 also illustrates the manufacturing process of this band saw blade. On a steel strip made of steel strip with a rectangular cross-section, according to the dashed
Claims (16)
Priority Applications (1)
| Application Number | Priority Date | Filing Date | Title |
|---|---|---|---|
| DE9116923U DE9116923U1 (en) | 1990-04-11 | 1991-04-11 | Cutting device for a band saw |
Applications Claiming Priority (4)
| Application Number | Priority Date | Filing Date | Title |
|---|---|---|---|
| AT874/90 | 1990-04-11 | ||
| AT0087490A AT396895B (en) | 1990-04-11 | 1990-04-11 | Band saw blade, production process and cutting device |
| AT1919/90 | 1990-09-21 | ||
| AT191990 | 1990-09-21 |
Publications (2)
| Publication Number | Publication Date |
|---|---|
| EP0453436A2 true EP0453436A2 (en) | 1991-10-23 |
| EP0453436A3 EP0453436A3 (en) | 1991-10-30 |
Family
ID=25594172
Family Applications (1)
| Application Number | Title | Priority Date | Filing Date |
|---|---|---|---|
| EP19910890074 Withdrawn EP0453436A3 (en) | 1990-04-11 | 1991-04-11 | Cutting device for a band saw |
Country Status (5)
| Country | Link |
|---|---|
| EP (1) | EP0453436A3 (en) |
| CA (1) | CA2040049A1 (en) |
| FI (1) | FI90213C (en) |
| HU (1) | HUT62224A (en) |
| PL (1) | PL289812A1 (en) |
Cited By (6)
| Publication number | Priority date | Publication date | Assignee | Title |
|---|---|---|---|---|
| AT215U1 (en) * | 1993-12-10 | 1995-05-26 | Boehler Ybbstalwerke | SAW BAND FOR SAW EQUIPMENT |
| EP0931632A1 (en) * | 1998-01-26 | 1999-07-28 | Kambo AG | Cutting device for cutting insulating plates |
| AT411581B (en) * | 2000-07-05 | 2004-03-25 | Boehler Ybbstal Band Gmbh & Co | METHOD FOR PRODUCING PRE-MATERIAL AND PRE-MATERIAL FOR SAW BLADES OR SAW TAPES |
| DE102009059045A1 (en) * | 2009-12-10 | 2011-06-16 | Alber Sägen GmbH & Co. KG | Band saw tool i.e. block band saw tool, for saw mill, has passage provided from body of saw blade towards chip space base of saw blade at side or both sides of blade in tapered and round manner |
| WO2020041816A1 (en) * | 2018-08-31 | 2020-03-05 | Leitinger Hans Peter | Saw blade |
| EP3858527A1 (en) * | 2020-01-31 | 2021-08-04 | Hans-Peter Leitinger | Device for sawing a lamella from a substrate |
Families Citing this family (1)
| Publication number | Priority date | Publication date | Assignee | Title |
|---|---|---|---|---|
| FR2949087B1 (en) * | 2009-08-17 | 2014-09-19 | Sermas Ind | SAWING INSTALLATION FOR METAL PLATES |
Family Cites Families (10)
| Publication number | Priority date | Publication date | Assignee | Title |
|---|---|---|---|---|
| BE530412A (en) * | ||||
| US2937413A (en) * | 1956-09-27 | 1960-05-24 | John D Hollingsworth | Carding tooth |
| US3063310A (en) * | 1959-10-15 | 1962-11-13 | Continental Machines | Metal cutting saw bands and blades and method of making the same |
| US3132677A (en) * | 1962-02-13 | 1964-05-12 | Marlan Company | Blade for slicing bread |
| US3771397A (en) * | 1972-06-14 | 1973-11-13 | Morbark Ind Inc | Slab guide for vertically adjustable sawing apparatus |
| US4195543A (en) * | 1976-11-12 | 1980-04-01 | Wallace Murray Canada Limited | Band saw |
| DK194679A (en) * | 1979-05-10 | 1980-11-11 | F L Ross | E PROCEDURE FOR THE MANUFACTURING OF SAWBLADE ISAER |
| IT1136735B (en) * | 1981-06-12 | 1986-09-03 | Enrico Vaninetti | PROCEDURE AND MACHINE FOR THE APPLICATION BY WELDING STELLITE REPORTS ON THE TEETH OF BAND SAWS OR CIRCULAR |
| DE3433279A1 (en) * | 1984-09-11 | 1986-03-20 | Gebrüder Honsberg GmbH Sonderwerkzeugmaschinen u. Sägenfabrik, 5630 Remscheid | SAW BLADE |
| CA1277573C (en) * | 1985-04-03 | 1990-12-11 | Sumio Yoshida | Saw blade |
-
1991
- 1991-04-08 HU HU911135A patent/HUT62224A/en unknown
- 1991-04-09 CA CA002040049A patent/CA2040049A1/en not_active Abandoned
- 1991-04-10 PL PL28981291A patent/PL289812A1/en unknown
- 1991-04-11 EP EP19910890074 patent/EP0453436A3/en not_active Withdrawn
- 1991-04-11 FI FI911740A patent/FI90213C/en not_active IP Right Cessation
Cited By (7)
| Publication number | Priority date | Publication date | Assignee | Title |
|---|---|---|---|---|
| AT215U1 (en) * | 1993-12-10 | 1995-05-26 | Boehler Ybbstalwerke | SAW BAND FOR SAW EQUIPMENT |
| EP0931632A1 (en) * | 1998-01-26 | 1999-07-28 | Kambo AG | Cutting device for cutting insulating plates |
| AT411581B (en) * | 2000-07-05 | 2004-03-25 | Boehler Ybbstal Band Gmbh & Co | METHOD FOR PRODUCING PRE-MATERIAL AND PRE-MATERIAL FOR SAW BLADES OR SAW TAPES |
| US6736029B2 (en) | 2000-07-05 | 2004-05-18 | Bohlrer Ybbstal Band Gmbh & Co. Kg | Process for producing supply stock and supply stock for saw blades or saw belts |
| DE102009059045A1 (en) * | 2009-12-10 | 2011-06-16 | Alber Sägen GmbH & Co. KG | Band saw tool i.e. block band saw tool, for saw mill, has passage provided from body of saw blade towards chip space base of saw blade at side or both sides of blade in tapered and round manner |
| WO2020041816A1 (en) * | 2018-08-31 | 2020-03-05 | Leitinger Hans Peter | Saw blade |
| EP3858527A1 (en) * | 2020-01-31 | 2021-08-04 | Hans-Peter Leitinger | Device for sawing a lamella from a substrate |
Also Published As
| Publication number | Publication date |
|---|---|
| FI90213C (en) | 1994-01-10 |
| HUT62224A (en) | 1993-04-28 |
| HU911135D0 (en) | 1991-10-28 |
| FI911740A7 (en) | 1991-10-12 |
| FI911740A0 (en) | 1991-04-11 |
| CA2040049A1 (en) | 1991-10-12 |
| EP0453436A3 (en) | 1991-10-30 |
| PL289812A1 (en) | 1991-12-16 |
| FI90213B (en) | 1993-09-30 |
Similar Documents
| Publication | Publication Date | Title |
|---|---|---|
| DE3611063C2 (en) | ||
| DE3783712T2 (en) | METAL BAND SAW BLADE WITH TRIPLE-SANDED CARBIDE INSERT TEETH. | |
| DE3300791C2 (en) | Saw blade | |
| DE19738635C2 (en) | Process for the production of exact cut surfaces | |
| DE69423508T2 (en) | IMPROVED BAND SAW BLADE | |
| DE1728201A1 (en) | Saw tooth | |
| EP0120244A2 (en) | Saw blade | |
| DE3390257C2 (en) | ||
| DE2751523C2 (en) | Process for the production of a forged mower finger for a mower | |
| EP1389503B1 (en) | Base material for saw blades or band saws | |
| DE10059978A1 (en) | Sawing tool for a handheld circular saw | |
| DE1475043B1 (en) | Drill bit for self-drilling screws and method for making the same | |
| DE19741089A1 (en) | Cutting and splitting tool | |
| EP0453436A2 (en) | Cutting device for a band saw | |
| DE69102145T2 (en) | Cutting tooth link for chainsaw. | |
| EP3858527A1 (en) | Device for sawing a lamella from a substrate | |
| DE3403668C2 (en) | ||
| EP0715919A1 (en) | Method and saw blade for sawing steel workpieces | |
| EP1110685B1 (en) | Cutting and scoring tool | |
| EP0519347B1 (en) | Process and device for clearing or slitting a rigid sawn article | |
| DE4134878A1 (en) | METHOD FOR PRODUCING A SUSPENDING SUSPENSION STRIP FOR A CHOPPING DEVICE, SEPARATION BAR AND CHOPPING DEVICE | |
| DE3541077A1 (en) | DISC-SHAPED TOOL FOR CUTTING AND FORMING | |
| DE9116923U1 (en) | Cutting device for a band saw | |
| DE3228671C2 (en) | Cutter head for profile hoggers with circular saw segments | |
| AT396895B (en) | Band saw blade, production process and cutting device |
Legal Events
| Date | Code | Title | Description |
|---|---|---|---|
| PUAI | Public reference made under article 153(3) epc to a published international application that has entered the european phase |
Free format text: ORIGINAL CODE: 0009012 |
|
| PUAL | Search report despatched |
Free format text: ORIGINAL CODE: 0009013 |
|
| AK | Designated contracting states |
Kind code of ref document: A2 Designated state(s): BE CH DE DK FR GB IT LI LU NL SE |
|
| AK | Designated contracting states |
Kind code of ref document: A3 Designated state(s): BE CH DE DK FR GB IT LI LU NL SE |
|
| 17P | Request for examination filed |
Effective date: 19920423 |
|
| 17Q | First examination report despatched |
Effective date: 19930831 |
|
| STAA | Information on the status of an ep patent application or granted ep patent |
Free format text: STATUS: THE APPLICATION IS DEEMED TO BE WITHDRAWN |
|
| 18D | Application deemed to be withdrawn |
Effective date: 19940423 |
