EP0337072B1 - Vorrichtung zum Portionieren wurstartig geformter Nahrungsmittel - Google Patents
Vorrichtung zum Portionieren wurstartig geformter Nahrungsmittel Download PDFInfo
- Publication number
- EP0337072B1 EP0337072B1 EP89102405A EP89102405A EP0337072B1 EP 0337072 B1 EP0337072 B1 EP 0337072B1 EP 89102405 A EP89102405 A EP 89102405A EP 89102405 A EP89102405 A EP 89102405A EP 0337072 B1 EP0337072 B1 EP 0337072B1
- Authority
- EP
- European Patent Office
- Prior art keywords
- edge
- section
- sausage
- pct
- shaped
- Prior art date
- Legal status (The legal status is an assumption and is not a legal conclusion. Google has not performed a legal analysis and makes no representation as to the accuracy of the status listed.)
- Expired - Lifetime
Links
- 238000005452 bending Methods 0.000 claims description 4
- 239000013013 elastic material Substances 0.000 claims 1
- 235000013305 food Nutrition 0.000 abstract description 7
- 239000000463 material Substances 0.000 abstract description 4
- 235000013580 sausages Nutrition 0.000 description 14
- 239000011888 foil Substances 0.000 description 1
Images
Classifications
-
- B—PERFORMING OPERATIONS; TRANSPORTING
- B26—HAND CUTTING TOOLS; CUTTING; SEVERING
- B26B—HAND-HELD CUTTING TOOLS NOT OTHERWISE PROVIDED FOR
- B26B27/00—Hand cutting tools not provided for in the preceding groups, e.g. finger rings for cutting string, devices for cutting by means of wires
Definitions
- the invention relates to a device for portioning sausage-shaped foods.
- a knife has been used regularly to portion sausage-shaped foods. This has the disadvantage that the knife is only attached by eye, so the portions are not the same. Another disadvantage is that the cut surface of the sliced sausage is then exposed and therefore dries out soon.
- the invention has for its object to provide a device for portioning sausage-shaped foods, in which the cut surface of the cut sausage is covered when separating uniformly large portions.
- this object is achieved by an essentially rotationally symmetrical, cap-shaped body made of a flexible material, with an approximately L-shaped one, from the edge of the body towards the bottom of the body and then essentially parallel to the edge and the bottom formed of the body-extending slot, which extends tangentially to the body when there is no load and is provided with a cutting nose pointing towards the interior of the body, approximately in the plane of the edge of the body.
- a preferred embodiment is characterized in that the section is provided with a corrugation on the outside.
- the cutting nose be triangular.
- the section be provided with a predetermined bending line.
- a particularly preferred embodiment is characterized in that the free end of the section is connected to the body via a web to be broken when used for the first time.
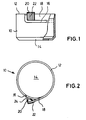
- the device for portioning a sausage-shaped food consists of an essentially rotationally symmetrical, cap-shaped body 10, which is made of a flexible material, preferably a plastic.
- the cap-shaped body 10 is provided with an L-shaped slot 16, which runs from the edge 12 of the body 10 towards the bottom 14 of the body 10 and then essentially parallel to the edge 12 and the bottom 14 of the body 10, the one Section 18 defined.
- this section 18 extends tangentially to the body 10 due to the bending elasticity of the material used.
- the section 18 carries one in the preferred direction, which points towards the interior of the body 10, approximately in the plane of the edge 12 of the body 10
- one end of the sausage to be portioned is inserted into the cap until the end of the sausage hits the bottom 14. Then the section 18 - preferably with the index finger - so loaded that the cutting nose 20 is pressed into the casing of the sausage to be cut. After rotating the sausage around its own axis, a scribe line is introduced into the sausage, at which the sausage can then be broken.
- section 18 is provided on the outside with a corrugation 22 which facilitates handling.
- the portioned sausage section is released from the cap, for example by simply turning it inside out, and the remaining part of the sausage is inserted into the body 10 such that the bottom 14 of the body faces the cutting surface covers the sausage so that it does not dry out.
- the device proposed here is particularly suitable for sausage serving as pet food.
- it can also be used to cut a foil-sealed sausage sold as dog food, because the foil is separated by the cutting nose.
Landscapes
- Life Sciences & Earth Sciences (AREA)
- Forests & Forestry (AREA)
- Engineering & Computer Science (AREA)
- Mechanical Engineering (AREA)
- Meat, Egg Or Seafood Products (AREA)
- Processing Of Meat And Fish (AREA)
- Containers And Plastic Fillers For Packaging (AREA)
- Table Equipment (AREA)
- Knives (AREA)
- Food-Manufacturing Devices (AREA)
Priority Applications (1)
| Application Number | Priority Date | Filing Date | Title |
|---|---|---|---|
| AT89102405T ATE65204T1 (de) | 1988-04-14 | 1989-02-11 | Vorrichtung zum portionieren wurstartig geformter nahrungsmittel. |
Applications Claiming Priority (2)
| Application Number | Priority Date | Filing Date | Title |
|---|---|---|---|
| DE3812336 | 1988-04-14 | ||
| DE3812336A DE3812336C1 (enExample) | 1988-04-14 | 1988-04-14 |
Publications (2)
| Publication Number | Publication Date |
|---|---|
| EP0337072A1 EP0337072A1 (de) | 1989-10-18 |
| EP0337072B1 true EP0337072B1 (de) | 1991-07-17 |
Family
ID=6351917
Family Applications (1)
| Application Number | Title | Priority Date | Filing Date |
|---|---|---|---|
| EP89102405A Expired - Lifetime EP0337072B1 (de) | 1988-04-14 | 1989-02-11 | Vorrichtung zum Portionieren wurstartig geformter Nahrungsmittel |
Country Status (9)
| Country | Link |
|---|---|
| US (1) | US4972587A (enExample) |
| EP (1) | EP0337072B1 (enExample) |
| JP (1) | JPH03500852A (enExample) |
| AT (1) | ATE65204T1 (enExample) |
| AU (1) | AU607608B2 (enExample) |
| DE (2) | DE3812336C1 (enExample) |
| ES (1) | ES2102348T3 (enExample) |
| GR (1) | GR3002327T3 (enExample) |
| WO (1) | WO1989009682A1 (enExample) |
Families Citing this family (6)
| Publication number | Priority date | Publication date | Assignee | Title |
|---|---|---|---|---|
| US5740612A (en) * | 1995-10-07 | 1998-04-21 | Koeitsusho Kabushiki Kaisha | Plastic bottle cutting implement |
| DK0793915T3 (da) * | 1996-02-21 | 2002-11-25 | Elgeka A E | Apparat til bevarelse af kvaliteten af kødprodukter |
| AT411448B (de) * | 2002-03-04 | 2004-01-26 | Eberhard Andreas | Einrichtung zum aufschneiden und entfernen von häuten |
| US10138104B2 (en) * | 2014-08-07 | 2018-11-27 | John Bargetto | Below the bead foil cutter |
| USD766679S1 (en) * | 2015-01-19 | 2016-09-20 | Lifetime Brands, Inc. | Food cutter |
| CN112019306B (zh) | 2019-05-28 | 2022-02-18 | 上海华为技术有限公司 | 一种数据重传方法以及装置 |
Family Cites Families (7)
| Publication number | Priority date | Publication date | Assignee | Title |
|---|---|---|---|---|
| US722736A (en) * | 1901-07-24 | 1903-03-17 | Alfred H Meech | Safety device for elevators. |
| US2032939A (en) * | 1934-11-27 | 1936-03-03 | Charles T Kammeyer | Device for opening eggs |
| US2262000A (en) * | 1939-01-23 | 1941-11-11 | Hjort John | Box seal cutter |
| US2722736A (en) * | 1954-07-13 | 1955-11-08 | John W Svalgaard | Liquor or wine bottle opener seal cutter |
| US3940842A (en) * | 1975-07-28 | 1976-03-02 | Perrinelle Alexandre G | Device for slitting wieners for barbecuing |
| US4439924A (en) * | 1981-11-05 | 1984-04-03 | Bettcher Industries, Inc. | Rotary hand knife |
| FR2605865B1 (fr) * | 1986-11-04 | 1994-05-20 | Chaulet Gabrielle | Beurrier perfectionne |
-
1988
- 1988-04-14 DE DE3812336A patent/DE3812336C1/de not_active Expired
-
1989
- 1989-02-11 AT AT89102405T patent/ATE65204T1/de not_active IP Right Cessation
- 1989-02-11 DE DE8989102405T patent/DE58900173D1/de not_active Expired - Lifetime
- 1989-02-11 EP EP89102405A patent/EP0337072B1/de not_active Expired - Lifetime
- 1989-02-11 ES ES89102405T patent/ES2102348T3/es not_active Expired - Lifetime
- 1989-04-14 US US07/445,682 patent/US4972587A/en not_active Expired - Fee Related
- 1989-04-14 JP JP1504060A patent/JPH03500852A/ja active Pending
- 1989-04-14 WO PCT/DE1989/000225 patent/WO1989009682A1/de not_active Ceased
- 1989-04-14 AU AU34158/89A patent/AU607608B2/en not_active Ceased
-
1991
- 1991-07-18 GR GR91400952T patent/GR3002327T3/el unknown
Also Published As
| Publication number | Publication date |
|---|---|
| WO1989009682A1 (fr) | 1989-10-19 |
| EP0337072A1 (de) | 1989-10-18 |
| ES2102348T3 (es) | 1997-08-01 |
| DE58900173D1 (de) | 1991-08-22 |
| ATE65204T1 (de) | 1991-08-15 |
| DE3812336C1 (enExample) | 1989-08-24 |
| JPH03500852A (ja) | 1991-02-28 |
| GR3002327T3 (en) | 1992-12-30 |
| AU607608B2 (en) | 1991-03-07 |
| AU3415889A (en) | 1989-11-03 |
| US4972587A (en) | 1990-11-27 |
Similar Documents
| Publication | Publication Date | Title |
|---|---|---|
| EP0515805B1 (de) | Gerät zum Zerlegen und Zerwirken von Schlachtgut | |
| DE60008973T2 (de) | Verfahren und Vorrichtung zur Gewinnung des inneren Filets von Geflügelkörpern | |
| DE3444394C2 (enExample) | ||
| EP0337072B1 (de) | Vorrichtung zum Portionieren wurstartig geformter Nahrungsmittel | |
| DE3404169A1 (de) | Schneidvorrichtung fuer eine fortlaufende papierbahn | |
| DE69016745D1 (de) | Verfahren und Vorrichtung zum Zuführen der Teile eines Materialbandes, die von einem Materialband geschnitten wurden. | |
| DE2653490A1 (de) | Bemessungsscheibe | |
| DE3719721C2 (enExample) | ||
| AU7692194A (en) | Device for peeling elongated vegetables | |
| DE3438776A1 (de) | Vorrichtung zum abtragen einer oberflaechenschicht von tierischem muskelgewebe insbesondere fischfilets | |
| EP0641519B1 (de) | Verfahren zum Abtrennen einer Oberflächenschicht und Vorrichtung zur Durchführung des Verfahrens | |
| EP0306550A1 (de) | Vorrichtung zum Enthäuten von Doppelfilets von Fischen | |
| JPH0262206B2 (enExample) | ||
| EP3692797B1 (de) | Vorrichtung und verfahren zur automatischen brustfiletgewinnung von geflügelkörpern oder teilen davon | |
| EP0843971A3 (en) | Device for cutting out the vent of the carcass of poultry, and/or opening it during a slaughtering process. | |
| US3347680A (en) | Method of preparing turkey product | |
| DE3347874C2 (de) | Restehalter | |
| DE102018118475B4 (de) | Schneidmesser, Hochgeschwindigkeitsslicer und Verfahren zum Aufschneiden von Lebensmittelprodukten | |
| DE69212977T2 (de) | Schälkopf mit einer Schaleführung | |
| DE3241182C2 (de) | Einrichtung zum mechanischen Ausweiden von Plattfischen | |
| DE19735595A1 (de) | Vorrichtung zum Entfernen der Umhüllungen von Lebensmittelprodukten wie Würste, Käselaibe o. dgl. | |
| DE4119813A1 (de) | Gegenmesser | |
| DE3141347A1 (de) | Strohschnitzelvorrichtung | |
| EP0303966A3 (de) | Vorrichtung zum Schälen von Würsten | |
| DE2949056A1 (de) | Wurstschale |
Legal Events
| Date | Code | Title | Description |
|---|---|---|---|
| PUAI | Public reference made under article 153(3) epc to a published international application that has entered the european phase |
Free format text: ORIGINAL CODE: 0009012 |
|
| AK | Designated contracting states |
Kind code of ref document: A1 Designated state(s): AT BE CH DE ES FR GB GR IT LI LU NL SE |
|
| 17P | Request for examination filed |
Effective date: 19900117 |
|
| 17Q | First examination report despatched |
Effective date: 19900629 |
|
| ITF | It: translation for a ep patent filed | ||
| GRAA | (expected) grant |
Free format text: ORIGINAL CODE: 0009210 |
|
| AK | Designated contracting states |
Kind code of ref document: B1 Designated state(s): AT BE CH DE ES FR GB GR IT LI LU NL SE |
|
| REF | Corresponds to: |
Ref document number: 65204 Country of ref document: AT Date of ref document: 19910815 Kind code of ref document: T |
|
| REF | Corresponds to: |
Ref document number: 58900173 Country of ref document: DE Date of ref document: 19910822 |
|
| GBT | Gb: translation of ep patent filed (gb section 77(6)(a)/1977) | ||
| ET | Fr: translation filed | ||
| PLBE | No opposition filed within time limit |
Free format text: ORIGINAL CODE: 0009261 |
|
| STAA | Information on the status of an ep patent application or granted ep patent |
Free format text: STATUS: NO OPPOSITION FILED WITHIN TIME LIMIT |
|
| 26N | No opposition filed | ||
| REG | Reference to a national code |
Ref country code: GR Ref legal event code: FG4A Free format text: 3002327 |
|
| EPTA | Lu: last paid annual fee | ||
| EAL | Se: european patent in force in sweden |
Ref document number: 89102405.1 |
|
| PGFP | Annual fee paid to national office [announced via postgrant information from national office to epo] |
Ref country code: GR Payment date: 19951229 Year of fee payment: 8 |
|
| PGFP | Annual fee paid to national office [announced via postgrant information from national office to epo] |
Ref country code: AT Payment date: 19960213 Year of fee payment: 8 |
|
| PGFP | Annual fee paid to national office [announced via postgrant information from national office to epo] |
Ref country code: ES Payment date: 19960227 Year of fee payment: 8 |
|
| PGFP | Annual fee paid to national office [announced via postgrant information from national office to epo] |
Ref country code: NL Payment date: 19960229 Year of fee payment: 8 |
|
| PGFP | Annual fee paid to national office [announced via postgrant information from national office to epo] |
Ref country code: LU Payment date: 19960301 Year of fee payment: 8 |
|
| PGFP | Annual fee paid to national office [announced via postgrant information from national office to epo] |
Ref country code: CH Payment date: 19960308 Year of fee payment: 8 |
|
| PGFP | Annual fee paid to national office [announced via postgrant information from national office to epo] |
Ref country code: BE Payment date: 19960326 Year of fee payment: 8 |
|
| PG25 | Lapsed in a contracting state [announced via postgrant information from national office to epo] |
Ref country code: LU Free format text: LAPSE BECAUSE OF NON-PAYMENT OF DUE FEES Effective date: 19970211 Ref country code: AT Effective date: 19970211 |
|
| PG25 | Lapsed in a contracting state [announced via postgrant information from national office to epo] |
Ref country code: ES Free format text: LAPSE BECAUSE OF NON-PAYMENT OF DUE FEES Effective date: 19970212 |
|
| PG25 | Lapsed in a contracting state [announced via postgrant information from national office to epo] |
Ref country code: LI Effective date: 19970228 Ref country code: CH Effective date: 19970228 Ref country code: BE Effective date: 19970228 |
|
| REG | Reference to a national code |
Ref country code: ES Ref legal event code: FG2A Ref document number: 2102348 Country of ref document: ES Kind code of ref document: T3 |
|
| BERE | Be: lapsed |
Owner name: EFFEM G.M.B.H. Effective date: 19970228 |
|
| PG25 | Lapsed in a contracting state [announced via postgrant information from national office to epo] |
Ref country code: GR Free format text: THE PATENT HAS BEEN ANNULLED BY A DECISION OF A NATIONAL AUTHORITY Effective date: 19970831 |
|
| PG25 | Lapsed in a contracting state [announced via postgrant information from national office to epo] |
Ref country code: NL Effective date: 19970901 |
|
| REG | Reference to a national code |
Ref country code: GR Ref legal event code: MM2A Free format text: 3002327 |
|
| REG | Reference to a national code |
Ref country code: CH Ref legal event code: PL |
|
| NLV4 | Nl: lapsed or anulled due to non-payment of the annual fee |
Effective date: 19970901 |
|
| REG | Reference to a national code |
Ref country code: ES Ref legal event code: FD2A Effective date: 19990405 |
|
| REG | Reference to a national code |
Ref country code: GB Ref legal event code: IF02 |
|
| PGFP | Annual fee paid to national office [announced via postgrant information from national office to epo] |
Ref country code: SE Payment date: 20040204 Year of fee payment: 16 |
|
| PGFP | Annual fee paid to national office [announced via postgrant information from national office to epo] |
Ref country code: FR Payment date: 20040210 Year of fee payment: 16 |
|
| PGFP | Annual fee paid to national office [announced via postgrant information from national office to epo] |
Ref country code: GB Payment date: 20040211 Year of fee payment: 16 |
|
| PGFP | Annual fee paid to national office [announced via postgrant information from national office to epo] |
Ref country code: DE Payment date: 20040219 Year of fee payment: 16 |
|
| PG25 | Lapsed in a contracting state [announced via postgrant information from national office to epo] |
Ref country code: IT Free format text: LAPSE BECAUSE OF NON-PAYMENT OF DUE FEES Effective date: 20050211 Ref country code: GB Free format text: LAPSE BECAUSE OF NON-PAYMENT OF DUE FEES Effective date: 20050211 |
|
| PG25 | Lapsed in a contracting state [announced via postgrant information from national office to epo] |
Ref country code: SE Free format text: LAPSE BECAUSE OF NON-PAYMENT OF DUE FEES Effective date: 20050212 |
|
| PG25 | Lapsed in a contracting state [announced via postgrant information from national office to epo] |
Ref country code: DE Free format text: LAPSE BECAUSE OF NON-PAYMENT OF DUE FEES Effective date: 20050901 |
|
| GBPC | Gb: european patent ceased through non-payment of renewal fee |
Effective date: 20050211 |
|
| EUG | Se: european patent has lapsed | ||
| PG25 | Lapsed in a contracting state [announced via postgrant information from national office to epo] |
Ref country code: FR Free format text: LAPSE BECAUSE OF NON-PAYMENT OF DUE FEES Effective date: 20051031 |
|
| REG | Reference to a national code |
Ref country code: FR Ref legal event code: ST Effective date: 20051031 |