EP0253036B1 - Procédé et dispositif pour évacuer les mèches de déchets sur un métier à tisser - Google Patents

Procédé et dispositif pour évacuer les mèches de déchets sur un métier à tisser Download PDF

Info

Publication number
EP0253036B1
EP0253036B1 EP19860401607 EP86401607A EP0253036B1 EP 0253036 B1 EP0253036 B1 EP 0253036B1 EP 19860401607 EP19860401607 EP 19860401607 EP 86401607 A EP86401607 A EP 86401607A EP 0253036 B1 EP0253036 B1 EP 0253036B1
Authority
EP
European Patent Office
Prior art keywords
mean
cord
coiler
slivers
winding
Prior art date
Legal status (The legal status is an assumption and is not a legal conclusion. Google has not performed a legal analysis and makes no representation as to the accuracy of the status listed.)
Expired
Application number
EP19860401607
Other languages
German (de)
English (en)
Other versions
EP0253036A1 (fr
Inventor
Jean Venot
Current Assignee (The listed assignees may be inaccurate. Google has not performed a legal analysis and makes no representation or warranty as to the accuracy of the list.)
Alsacienne de Construction de Material Textile
Original Assignee
Alsacienne de Construction de Material Textile
Priority date (The priority date is an assumption and is not a legal conclusion. Google has not performed a legal analysis and makes no representation as to the accuracy of the date listed.)
Filing date
Publication date
Priority to FR8501259A priority Critical patent/FR2576610B1/fr
Application filed by Alsacienne de Construction de Material Textile filed Critical Alsacienne de Construction de Material Textile
Priority to DE8686401607T priority patent/DE3662406D1/de
Priority to EP19860401607 priority patent/EP0253036B1/fr
Publication of EP0253036A1 publication Critical patent/EP0253036A1/fr
Application granted granted Critical
Publication of EP0253036B1 publication Critical patent/EP0253036B1/fr
Expired legal-status Critical Current

Links

Images

Classifications

    • DTEXTILES; PAPER
    • D03WEAVING
    • D03JAUXILIARY WEAVING APPARATUS; WEAVERS' TOOLS; SHUTTLES
    • D03J1/00Auxiliary apparatus combined with or associated with looms
    • D03J1/002Climatic conditioning or removing lint or dust
    • DTEXTILES; PAPER
    • D03WEAVING
    • D03DWOVEN FABRICS; METHODS OF WEAVING; LOOMS
    • D03D47/00Looms in which bulk supply of weft does not pass through shed, e.g. shuttleless looms, gripper shuttle looms, dummy shuttle looms
    • D03D47/40Forming selvedges

Definitions

  • the present invention relates to a method and a device for winding and evacuating the locks of waste originating from the cutting of the false edges of one or more widths during the weaving operation.
  • the wicks can for example be called by pinching between two toothed or rough wheels rotating at constant speed, then falling to the ground or into a pot; generally the loom has a pair of wheels for each bit.
  • Patent FR 2 076 557 describes a device for evacuating strands of waste from the cutting of false selvedges which comprises: a winding means of the wire delivery type, analogous to a reel, the perimeter of which varies along the generator; and means for braking (or driving) the coil.
  • the present invention provides a method and a device capable of automatically balancing the tensions of the locks.
  • the method for removing the locks of waste from the cutting of false edges is characterized in that a single cord formed from the locks undergoes a false twist, producing a winding of the locks with respect to each other, which allows their tensions to be automatically balanced, the cord thus formed is then wound up in the form of successive turns.
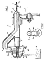
  • the device according to the invention mainly comprises a supply duct (2), a winding means (3) and a braking means (9).
  • the winding means (3) consists, without limitation, of a dispenser having a substantially concave area (3a) and a substantially convex area (3b) (see FIG. 1), with the aim of promoting the elimination of the turns which are form around the winding means as described below.
  • any other type of winding means fulfilling the same function may be suitable: a coil composed of two parts of different taper, or composed of a cylindrical part and a plurality of needles or bars kept inclined relative to the cylindrical part at by means of a cheek, according to a technique known in the frame debtors.
  • Said winding means (3) is for example made of plastic and mounted for free rotation on a shaft (4).
  • the supply duct (2) is for example composed of a circular cross-section tube, bent, so that a part (2a) is in the axis of rotation of the shaft (4) and that a part (2b) extends to the periphery of the winding means.
  • the outlet of the supply duct (2) is located on the side of the largest perimeter of the winding means and outside of it.
  • the supply duct (2) is furthermore driven in rotation by any suitable means, for example and without limitation by a speed multiplier assembly (7) with gears driven by the shaft of the fabric take-up roller not shown.
  • the braking means (9) of the preferred embodiment of the invention is composed of two bars (9a) arranged on either side of the deliverer (3) and extending perpendicular to the axis of rotation of the device, and able to clamp the turns against the coil (see diagram in Figure 2).
  • a braking means of another type for example of the magnetic type.
  • a cord (1) formed of at least two wicks (1 a) and (1 b) from the cutting of the two false edges of a width is introduced into the conduit (2) through the inlet (6), exits through the orifice (5) of said conduit (2), is deposited on the winding means (3) in the vicinity of its largest perimeter.
  • a cord (1) formed of at least two wicks (1 a) and (1 b) from the cutting of the two false edges of a width
  • said cord (1) undergoes a false twist which produces a winding of the locks relative to each other then it is deposited on the winding means (3) in the form of successive turns which, under the effect of the taper or the slope of the part (3b), and in a manner known per se, slide towards the zone of smaller perimeter (3a) where they are distributed substantially in the form at least one layer of turns.
  • This layer of turns is maintained by the braking means (9), then evacuated into a recovery container (8), automatically and fa lesson known per se, on the side of the smallest perimeter of the winding means (3).
  • the braking means also has the function of determining the resulting tension on the cord (1).
  • the wick (1b) is wrapped around the wick (1a) until there is catching up the lengths and that the tensions of the two locks rebalance.
  • the operation is all the better as the rotation speed of the duct (2) is greater than that of the fabric take-up roller, because the false twist of the cord is greater and the regulation better.
  • the device according to the invention has the advantage of being self-priming, an advantage which is not found in the devices known from the prior art.

Landscapes

  • Engineering & Computer Science (AREA)
  • Textile Engineering (AREA)
  • Auxiliary Weaving Apparatuses, Weavers' Tools, And Shuttles (AREA)
  • Looms (AREA)
  • Preliminary Treatment Of Fibers (AREA)

Description

  • La présente invention concerne un procédé et un dispositif pour enrouler et évacuer les mèches de déchets provenant de la découpe des fausses lisières d'une ou plusieurs laizes lors de l'opération de tissage.
  • Actuellement, les mèches ainsi séparées de la laize sont évacuées par différents moyens. Les mèches peuvent par exemple être appelées par pincement entre deux roues dentées ou rugueuses tournant à vitesse constante, puis tomber au sol ou dans un pot; généralement le métier comporte une paire de roues pour chaque mèche.
  • Le brevet FR 2 076 557 décrit un dispositif d'évacuation des mèches de déchets provenant de la découpe de fausses lisières qui comprend: un moyen d'enroulement du type délivreur de fil, analogue à une bobine, dont le périmètre varie le long de la génératrice; et un moyen de freinage (ou d'entraine- ment) de la bobine.
  • Mais avec un tel dispositif, si on désire évacuer à la fois les deux mèches provenant de la découpe des deux lisières, les tensions des mèches ne sont pas parfaitement constantes ni équilibrées et une régulation n'est pas possible ce qui provoque des casses et des arrêts du métier pour des causes non inhérentes au mécanisme de tissage.
  • Dans le but d'éliminer ces arrêts indésirables et augmenter ainsi la productivité du métier, la présente invention propose un procédé et un dispositif aptes à équilibrer automatiquement les tensions des mèches.
  • Conformément à l'invention, le procédé pour évacuer les mèches de déchets provenant de la découpe des fausses lisières, du type comportant une phase d'enroulement desdites mèches sous forme de spires et une phase d'évacuation, est caractérisé en ce qu'un cordon unique formé des mèches subit une fausse torsion, produisant un enroulement des mèches l'une par rapport à l'autre, ce qui permet d'équilibrer automatiquement leurs tensions, le cordon ainsi formé étant ensuite enroulé sous forme de spires successives.
  • Le dispositif pour la mise en oeuvre d'un tel procédé comprend de façon connue d'après FR 2 076 557,
    • - un moyen d'enroulement du type délivreur de fil, dont le périmètre varie le long de la génératrice, et
    • - un moyen de freinage du moyen d'enroulement (3), ledit dispositif étant caractérisé en ce qu'il comporte en outre
    • - un moyen d'amenée du cordon entraîné en rotation, apte à déposer le cordon sur le moyen d'enroulement du côté de son plus grand périmètre et apte à communiquer audit cordon une fausse torsion.
  • On comprendra mieux l'invention à l'aide de sa description ci-après et des figures annexées dans lesquelles:
    • la figure 1 est une coupe longitudinale du dispositif,
    • la figure 2 est une vue en bout du moyen d'enroulement et du moyen de freinage.
  • Le dispositif conforme à l'invention comporte principalement un conduit d'amenée (2), un moyen d'enroulement (3) et un moyen de freinage (9).
  • Le moyen d'enroulement (3) est constitué non limitativement d'un délivreur présentant une zone sensiblement concave (3a) et une zone sensiblement convexe (3b) (voir figure 1), dans le but de favoriser l'élimination des spires qui se forment autour du moyen d'enroulement comme il est dit plus loin.
  • Tout autre type de moyen d'enroulement remplissant la même fonction peut convenir: bobine composée de deux parties de conicités différentes, ou composée d'une partie cylindrique et d'une pluralité d'aiguilles ou barrettes maintenues inclinées par rapport à la partie cylindrique au moyen d'une joue, selon une technique connue dans les débiteurs de trame.
  • Ledit moyen d'enroulement (3) est par exemple réalisé en matière plastique et monté libre en rotation sur un arbre (4).
  • Le conduit d'amenée (2) est par exemple composé d'un tube à section circulaire, coudé, de telle sorte qu'une partie (2a) soit dans l'axe de rotation de l'arbre (4) et qu'une partie (2b) s'étende jusqu'à la périphérie du moyen d'enroulement.
  • L'orifice de sortie du conduit d'amenée (2) est situé du côté du plus grand périmètre du moyen d'enroulement et à l'extérieur de celui-ci.
  • Le conduit d'amenée (2) est en outre entraîné en rotation par tout moyen approprié, par exemple et non limitativement par un ensemble multiplicateur de vitesse (7) à engrenages entraîné par l'arbre du rouleau d'appel de tissu non représenté.
  • Tout autre moyen, synchronisé ou non avec l'arbre du métier peut convenir.
  • Le moyen de freinage (9) du mode de réalisation préféré de l'invention est composé de deux barres (9a) disposées de part et d'autre du délivreur (3) et s'étendant perpendiculairement à l'axe de rotation du dispositif, et apte à serrer les spires contre la bobine (voir schéma de la figure 2). Bien entendu on peut également utiliser un moyen de freinage d'un autre type par exemple du type magnétique.
  • Au cours du fonctionnement, un cordon (1) formé d'au moins deux mèches (1 a) et (1 b) provenant de la découpe des deux fausses lisières d'une laize, est introduit dans le conduit (2) par l'entrée (6), sort par l'orifice (5) dudit conduit (2), est déposé sur le moyen d'enroulement (3) au voisinage de son plus grand périmètre. On a symbolisé, sur la figure 1, le chemin du cordon ainsi que quelques spires par des traits pointillés.
  • Sous l'effet de la rotation du conduit (5), ledit cordon (1) subit une fausse torsion qui produit un enroulement des mèches l'une par rapport à l'autre puis il se dépose sur le moyen d'enroulement (3) sous forme de spires successives qui, sous l'effet de la conicité ou de la pente de la partie (3b), et de façon connue en soi, glissent vers la zone de moins grand périmètre (3a) où elles se répartissent sensiblement sous forme d'au moins une couche de spires. Cette couche de spires est maintenue par le moyen de freinage (9), puis évacuée dans un récipient de récupération (8), automatiquement et de façon connue en soi, du côté du plus petit périmètre du moyen d'enroulement (3).
  • Le moyen de freinage a également pour fonction de déterminer la tension résultante sur le cordon (1). Ainsi, dans le cas où l'une des deux mèches (1b) est moins tendue que la deuxième mèche (1a), la mèche (1 b) se guipe autour de la mèche (1a) jusqu'à ce qu'il y ait rattrappage des longueurs et que les tensions des deux mèches se rééquilibrent.
  • Ainsi, au cours du fonctionnement, les tensions des deux mèches s'équilibrent automatiquement et les risques de casses sont considérablement diminués.
  • Le fonctionnement est d'autant meilleur que la vitesse de rotation du conduit (2) est supérieure à celle du rouleau d'appel du tissu, car la fausse torsion du cordon est plus grande et la régulation meilleure.
  • En plus, le dispositif conforme à l'invention présente l'avantage d'être auto-amorçant, avantage qui ne se rencontre pas dans les dispositifs connus de l'art antérieur.

Claims (4)

1. Procédé pour évacuer les mèches de déchets provenant de la découpe des fausses lisières, du type comportant une phase d'enroulement desdites mèches sous forme de spires et une phase d'évacuation, caractérisé en ce qu'un cordon unique formé des mèches subit une fausse torsion, produisant un enroulement des mèches l'une par rapport à l'autre, ce que permet d'équilibrer automatiquement leurs tensions, le cordon ainsi formé étant ensuite enroulé sous forme de spires successives.
2. Dispositif pour la mise en oeuvre du procédé de la revendication 1 qui comprend:
- un moyen d'enroulement (3) du type délivreur de fil dont le périmètre varie le long de la génératrice,
- et un moyen de freinage (9) du moyen d'enroulement (3); ledit dispositif étant caractérisé en ce qu'il comporte on outre:
- un moyen d'amenée (2) du cordon (1) entraîné en rotation, apte à déposer le cordon sur le moyen d'enroulement du côté de son plus grand diamètre et apte à communiquer audit cordon (1) une fausse torsion.
3. Dispositif selon la revendication 2, caractérisé en ce que le moyen d'enroulement (3) comporte une zone concave (3a) et une zone convexe (3b).
4. Dispositif selon la revendication 2, caractérisé en ce que le moyen de freinage est composé de deux barres s'appuyant élastiquement sur le moyen d'enroulement (3).
EP19860401607 1985-01-28 1986-07-18 Procédé et dispositif pour évacuer les mèches de déchets sur un métier à tisser Expired EP0253036B1 (fr)

Priority Applications (3)

Application Number Priority Date Filing Date Title
FR8501259A FR2576610B1 (fr) 1985-01-28 1985-01-28 Procede et dispositif pour evacuer les meches de dechets sur un metier a tisser
DE8686401607T DE3662406D1 (en) 1986-07-18 1986-07-18 Process and apparatus to draw off waste selvedge in looms
EP19860401607 EP0253036B1 (fr) 1986-07-18 1986-07-18 Procédé et dispositif pour évacuer les mèches de déchets sur un métier à tisser

Applications Claiming Priority (1)

Application Number Priority Date Filing Date Title
EP19860401607 EP0253036B1 (fr) 1986-07-18 1986-07-18 Procédé et dispositif pour évacuer les mèches de déchets sur un métier à tisser

Publications (2)

Publication Number Publication Date
EP0253036A1 EP0253036A1 (fr) 1988-01-20
EP0253036B1 true EP0253036B1 (fr) 1989-03-15

Family

ID=8196325

Family Applications (1)

Application Number Title Priority Date Filing Date
EP19860401607 Expired EP0253036B1 (fr) 1985-01-28 1986-07-18 Procédé et dispositif pour évacuer les mèches de déchets sur un métier à tisser

Country Status (3)

Country Link
EP (1) EP0253036B1 (fr)
DE (1) DE3662406D1 (fr)
FR (1) FR2576610B1 (fr)

Families Citing this family (2)

* Cited by examiner, † Cited by third party
Publication number Priority date Publication date Assignee Title
FR2576610B1 (fr) * 1985-01-28 1988-03-18 Alsacienne Constr Mat Tex Procede et dispositif pour evacuer les meches de dechets sur un metier a tisser
BE1003533A3 (nl) * 1989-10-04 1992-04-14 Picanol Nv Werkwijze en inrichting voor het verzamelen van stof en afval bij weefmachines.

Family Cites Families (8)

* Cited by examiner, † Cited by third party
Publication number Priority date Publication date Assignee Title
US2163711A (en) * 1937-06-12 1939-06-27 Western Electric Co Strand handling apparatus
FR1526782A (fr) * 1964-05-30 1968-05-31 Prince Jidosha Kogyo Kabushiki Dispositif pour saisir et guider les bords d'une trame qui se déplacent
BE759414A (fr) * 1970-01-20 1971-04-30 Diederichs S A Atel Dispositif assurant l'elimination de la ou des fausses lisieresdans lesmetiers a tisser sans navette
CH514704A (de) * 1970-04-30 1971-10-31 Rueti Ag Maschf Verfahren und Einrichtung zum Bilden einer Hilfskante beim Weben
FR2486972A1 (fr) * 1980-07-21 1982-01-22 Saurer Diederichs Sa Dispositif de controle des cordons de fausse lisiere, pour machine a tisser sans navette
JPS57149532A (en) * 1981-03-06 1982-09-16 Tsudakoma Ind Co Ltd Weft yarn storing apparatus for fluid jet type loom
US4513791A (en) * 1983-02-01 1985-04-30 Burlington Industries, Inc. Leno selvaging and stretch nozzle system
FR2576610B1 (fr) * 1985-01-28 1988-03-18 Alsacienne Constr Mat Tex Procede et dispositif pour evacuer les meches de dechets sur un metier a tisser

Also Published As

Publication number Publication date
EP0253036A1 (fr) 1988-01-20
FR2576610A1 (fr) 1986-08-01
FR2576610B1 (fr) 1988-03-18
DE3662406D1 (en) 1989-04-20

Similar Documents

Publication Publication Date Title
FR2640948A1 (fr)
EP0253036B1 (fr) Procédé et dispositif pour évacuer les mèches de déchets sur un métier à tisser
FR2499044A1 (fr) Procede et dispositif d'alimentation en fils sans tension et appareil pour fabriquer un fil gonflant
EP1470276A2 (fr) Dispositif de cablage et de fixation en continu de fils suivi d'un traitement thermique complementaire
FR2483967A1 (fr) Metier a filer de preference a anneau
EP1646740B1 (fr) Machine pour le cablage / torsion et la fixation en continu de fils
FR2521600A1 (fr) Procede et appareil pour la fabrication d'un fil a ame
FR2466531A1 (fr) Broche de filage ou de retordage a double torsion a d ispositif d'enfilage pneumatique
EP0018926B1 (fr) Dispositif pour le retordage d'un fil par double torsion
FR2593524A1 (fr) Procede et appareil pour la fabrication d'un fil par torsion d'une meche de fibres etirees.
FR2739107A1 (fr) Dispositif de texturation pour une installation d'ennoblissement de fil
EP1470274A1 (fr) Dispositif de cablage et de fixation en continu de fils suivi d'un traitement thermique complementaire
FR2567162A1 (fr) Appareil pour la fabrication d'un fil place a la suite d'un banc d'etirage pour tordre une meche de fibres etiree et l'entourer de fibres enveloppantes.
FR2825693A1 (fr) Plateau tournant de depot de rubans de fibres en sortie de bancs d'etirage ou cardes
FR2717505A1 (fr) Dispositif pour sécher et encoller un fil textile en mouvement et machine comportant un tel dispositif.
EP0510735B1 (fr) Prédélivreur de trame pour des métiers à tisser
FR2587539A1 (fr) Appareil pour enrouler un filament autour d'un gabarit
CH476881A (fr) Dispositif de fabrication de grilles non tissées
FR2650307A1 (fr) Machine de transformation de fil avec un organe dispose entre deux delivreurs et permettant l'introduction automatique du fil lors de la relance
FR2667879A1 (fr) Machine de cablage de fils comportant un dispositif regulateur perfectionne.
EP0468898A1 (fr) Procédé et installation pour le moulinage de fils enroulés sous la forme de gateaux et plus particulièrement de fils de verre
BE1008353A3 (fr) Dispositif pour soumettre en continu des fibres en forme de fil a un traitement thermique par voie humide.
EP0768420A1 (fr) Dispositif d'exprimage sur fils
FR2462494A1 (fr) Appareil perfectionne pour le filage de fil par fibres liberees
FR2679260A1 (fr) Dispositif d'enroulement en bobine d'un ruban de fibres textiles.

Legal Events

Date Code Title Description
PUAI Public reference made under article 153(3) epc to a published international application that has entered the european phase

Free format text: ORIGINAL CODE: 0009012

17P Request for examination filed

Effective date: 19870603

AK Designated contracting states

Kind code of ref document: A1

Designated state(s): BE CH DE IT LI

17Q First examination report despatched

Effective date: 19880520

ITF It: translation for a ep patent filed
GRAA (expected) grant

Free format text: ORIGINAL CODE: 0009210

AK Designated contracting states

Kind code of ref document: B1

Designated state(s): BE CH DE IT LI

REF Corresponds to:

Ref document number: 3662406

Country of ref document: DE

Date of ref document: 19890420

PLBE No opposition filed within time limit

Free format text: ORIGINAL CODE: 0009261

STAA Information on the status of an ep patent application or granted ep patent

Free format text: STATUS: NO OPPOSITION FILED WITHIN TIME LIMIT

26N No opposition filed
PGFP Annual fee paid to national office [announced via postgrant information from national office to epo]

Ref country code: BE

Payment date: 19900607

Year of fee payment: 5

PGFP Annual fee paid to national office [announced via postgrant information from national office to epo]

Ref country code: CH

Payment date: 19900628

Year of fee payment: 5

ITTA It: last paid annual fee
PGFP Annual fee paid to national office [announced via postgrant information from national office to epo]

Ref country code: DE

Payment date: 19900928

Year of fee payment: 5

PG25 Lapsed in a contracting state [announced via postgrant information from national office to epo]

Ref country code: LI

Effective date: 19910731

Ref country code: CH

Effective date: 19910731

Ref country code: BE

Effective date: 19910731

BERE Be: lapsed

Owner name: SOC. ALSACIENNE DE CONSTRUCTION DE MATERIEL TEXTI

Effective date: 19910731

REG Reference to a national code

Ref country code: CH

Ref legal event code: PL

PG25 Lapsed in a contracting state [announced via postgrant information from national office to epo]

Ref country code: DE

Effective date: 19920401

PG25 Lapsed in a contracting state [announced via postgrant information from national office to epo]

Ref country code: IT

Free format text: LAPSE BECAUSE OF NON-PAYMENT OF DUE FEES;WARNING: LAPSES OF ITALIAN PATENTS WITH EFFECTIVE DATE BEFORE 2007 MAY HAVE OCCURRED AT ANY TIME BEFORE 2007. THE CORRECT EFFECTIVE DATE MAY BE DIFFERENT FROM THE ONE RECORDED.

Effective date: 20050718