EP0106297A2 - Structural element for manufacturing concrete walls, and building wall produced with the same - Google Patents
Structural element for manufacturing concrete walls, and building wall produced with the same Download PDFInfo
- Publication number
- EP0106297A2 EP0106297A2 EP83110078A EP83110078A EP0106297A2 EP 0106297 A2 EP0106297 A2 EP 0106297A2 EP 83110078 A EP83110078 A EP 83110078A EP 83110078 A EP83110078 A EP 83110078A EP 0106297 A2 EP0106297 A2 EP 0106297A2
- Authority
- EP
- European Patent Office
- Prior art keywords
- frame
- metal
- layer
- component according
- building
- Prior art date
- Legal status (The legal status is an assumption and is not a legal conclusion. Google has not performed a legal analysis and makes no representation as to the accuracy of the status listed.)
- Withdrawn
Links
Images
Classifications
-
- E—FIXED CONSTRUCTIONS
- E04—BUILDING
- E04B—GENERAL BUILDING CONSTRUCTIONS; WALLS, e.g. PARTITIONS; ROOFS; FLOORS; CEILINGS; INSULATION OR OTHER PROTECTION OF BUILDINGS
- E04B2/00—Walls, e.g. partitions, for buildings; Wall construction with regard to insulation; Connections specially adapted to walls
- E04B2/84—Walls made by casting, pouring, or tamping in situ
- E04B2/842—Walls made by casting, pouring, or tamping in situ by projecting or otherwise applying hardenable masses to the exterior of a form leaf
- E04B2/845—Walls made by casting, pouring, or tamping in situ by projecting or otherwise applying hardenable masses to the exterior of a form leaf the form leaf comprising a wire netting, lattice or the like
-
- E—FIXED CONSTRUCTIONS
- E04—BUILDING
- E04B—GENERAL BUILDING CONSTRUCTIONS; WALLS, e.g. PARTITIONS; ROOFS; FLOORS; CEILINGS; INSULATION OR OTHER PROTECTION OF BUILDINGS
- E04B2/00—Walls, e.g. partitions, for buildings; Wall construction with regard to insulation; Connections specially adapted to walls
- E04B2/84—Walls made by casting, pouring, or tamping in situ
- E04B2/842—Walls made by casting, pouring, or tamping in situ by projecting or otherwise applying hardenable masses to the exterior of a form leaf
- E04B2/847—Walls made by casting, pouring, or tamping in situ by projecting or otherwise applying hardenable masses to the exterior of a form leaf the form leaf comprising an insulating foam panel
Definitions
- the invention relates to a component for the production of building walls made of concrete, which allows the building of building walls, be it in in-situ concrete or in prefabricated construction also without formwork. It is a particular object of the invention to incorporate the required insulation as an integral part of the building wall during manufacture.
- the object of the invention is achieved by a component which is characterized by a frame made of a sheet metal profile that runs around the edge, at least one strut made of a sheet metal profile connecting two frame sides, a metal grid attached to at least one outer plane defined by the frame, and flatly covering the frame, and at least one rod-shaped assembly iron, each running a short distance from the metal grid within the frame and two opposite one another Frame sides and the strut connects and connecting elements that connect the metal grille and the assembly iron.
- a wall element can be assembled in a simple manner from prefabricated individual parts on a building yard or, for larger construction projects, also on the building site. By using sheet metal profiles, the fully assembled component can be easily handled with the lifting devices that are customary at the construction site.
- the height of a component corresponds to the desired floor height, while the length when concreting on site can correspond to the entire length of the building.
- the number of struts used depends on the length of the component. These can be provided, for example, so that they laterally limit the desired door and / or window openings at the same time.
- a metal grid is attached to at least one outer plane defined by the frame, which in a preferred embodiment of the invention is formed by sheets of expanded metal.
- the expanded metal sheets expediently have openings of approximately 5 mm in width and approximately 10 to 20 mm in length.
- the expanded metal sheets are fastened to the frame in a perpendicular manner with respect to the orientation of the building wall.
- the metal grill can be attached to the frame by spot welding or with the help of self-tapping screws.
- this is fixed at appropriate intervals on the mounting irons running transversely to the orientation of the expanded metal tracks with the aid of connecting elements, for example wire hooks or the like.
- the shotcrete layer lying on the outside of the wall on the metal grid is thinner than the shotcrete layer lying on the inside, which is so thick that it also completely embeds the assembly iron.
- the insulating material is now applied to the concrete layer from the inside, for example in the form of a foamed plastic, in particular polyurethane.
- the frame area in the corresponding areas is now covered with a metal grid on the still open frame level, which now forms the inside wall of the building, this being connected to the frame, the struts and the assembly iron.
- Sprayed concrete is then applied to the outside of this metal grid in the desired thickness, this sprayed concrete layer building up directly on the insulating material layer and being chosen so thick that the outside of the metal grid is again completely covered with concrete.
- At least the horizontally extending sheet metal profiles of the frame have a U-shaped cross section. This has the advantage that the sheet profile is enclosed without the formation of voids when the shotcrete is introduced.
- the sheet metal profile forming the struts and expediently also the vertically running profile parts of the frame have a C-shaped cross section. This results in additional stiffening of both the component and the building wall erected with the aid of this component, since the stiffness of a C-shaped sheet metal profile is considerably higher.
- the sheet metal profiles are expediently produced by folding or rolling from a galvanized steel sheet with a thickness of approximately 1.25 mm. When using expanded metal, a sheet thickness of 0.8 mm is considered appropriate here on the one hand for reasons of strength and with regard to the weight of the component. A round iron with an 8 mm diameter is sufficient for the assembly irons.
- the webs have openings at least in the vertically running sheet metal profiles of the frame and the struts.
- the component according to the invention can be used not only for the erection of building walls but also of floor ceilings.
- those are related to the frame Struts formed by sheet metal profiles with an I cross section.
- the metal grid is applied only on the underside and is embedded in a shotcrete layer of appropriate thickness in the manner described above.
- the other side of the shotcrete layer is covered as described above with an insulating material layer, for example made of foamed plastic.
- the frame is covered on one side only with a metal grid and that on the other side of the surface on the flanges of the I-shaped struts open U-profiles are made of sheet metal for supporting beams.
- the support beams can be made of reinforced concrete or wood, but are firmly connected to the U-profile of the struts in the ceiling.
- This arrangement has the advantage that the load on the surface load acting on the ceiling is largely carried out via the supporting beams, while the actual floor ceiling is designed in the manner of a suspended ceiling and, accordingly, considerable weight reductions are achieved.
- a building wall produced with a component according to the invention is characterized in that at least one of the metal grids covering the frame is embedded in a load-bearing layer made of shotcrete and that the space between the two concrete layers is filled with insulating material.
- the insulating material consists of a foamed plastic, preferably polyurethane, in a manner known per se. This has the advantage that the insulating material layer can also be introduced in corner areas which are difficult to access. All exposed metal surfaces are thereby completely and tightly covered, so that extensive corrosion protection is achieved.
- a component is shown in a schematic view.
- the component has a circumferential frame 1, which is dimensioned so that its height h corresponds to the floor height, while its length 1 corresponds, for example, to the desired length of the building or a "room length".
- the frame 1 is divided in the longitudinal direction by a plurality of struts 2, the struts 2 'each running diagonally in the end region and providing a corresponding corner stiffener.
- the struts 2 are arranged at a distance from one another in such a way that they simultaneously delimit a door opening 3 and window openings 4 laterally.
- the upper and / or lower limit of the door or window opening is limited by horizontally extending interchangeable struts 3 'and 4', 4 ", each with the opening-defining struts 2 are firmly connected.
- a metal grid for example made of expanded metal sheets.
- these grid areas are not shown here.
- the fields of the frame 1 to be covered by the metal grid are additionally divided by horizontally running mounting irons 5, for example made of 8 mm round steel, to which the metal grid is still connected by connecting elements in the form of wire hooks or the like. This will be explained in more detail below.
- the construction elements according to FIG. 1 which are covered on a surface with metal grids, are set up and aligned on a prepared foundation 6.
- the frame parts delimiting the component at the top and bottom are formed from a U-shaped sheet metal profile 7.
- the mounting iron 5 are inserted through corresponding holes in the struts 2.
- One of the struts is indicated here.
- a metal grid 8 is fastened to the outside of the frame 1, for example by spot welding or with the aid of self-tapping sheet metal screws.
- the metal grid which consists, for example, of expanded metal sheets with a wall thickness of 0.8 mm and openings of approximately 5 mm in width and 10 mm in length, is additionally fixed to the assembly iron 5 via connecting elements 9 in the form of wire hooks. At this point in time, the other outer surface of the component has not yet been covered by a metal grid.
- a layer 10 of shotcrete in a corresponding thickness is applied to the metal grid from both sides, the assembly irons 5 being completely embedded in the shotcrete layer 10.
- the openings of the metal grille must be dimensioned such that they also allow shotcrete to be applied to the vertically oriented metal grille surface.
- Layer 10 is dimensioned as a load-bearing part of the building wall.
- an additional insulating material layer 11 is applied, for example by a foamed plastic such as polyurethane or the like.
- the still open outer surface of the frame is also covered with a metal grid 8, which in turn is connected to the Assembly iron 5 is set.
- a shotcrete layer 12 is again applied in the desired thickness, whereby the second shotcrete layer, as the exemplary embodiment shows, can be thinner than the first shotcrete layer.
- the two concrete outer surfaces can now be provided with a layer of fine plaster in a conventional manner.
- the struts 2 are provided in the web area with recesses 13, which serve to reduce weight on the one hand and on the other hand free passage of the insulating material when foaming allow.
- the horizontal section in Fig. 3 shows that the struts 2, but also the vertically extending parts 1 'of the frame 1 consist of a C-shaped sheet metal profile.
- the horizontal section in FIG. 3 shows a corner connection from which it can be seen that after the components have been erected using self-tapping screws 14, the elements are firmly connected to one another.
- a connection by welding, clamps or the like can of course also be used.
- the horizontal section also reveals the course of the mounting iron 5 and the arrangement of the connecting elements 9 between the mounting iron 5 and the metal grid 8. Furthermore, it can be seen from the horizontal section that both the struts 2 and the vertically extending frame parts 1 'are each provided with recesses 13 through which the introduced insulating material or shotcrete can pass, as is the case for the outer frame part 1' of the wall part A. is shown.
- the I-shaped struts 15 are again spanned with a metal grid 8, which is fixed to assembly iron 5 with the aid of wire-shaped connecting elements 9.
- the mounting iron 5 are inserted through corresponding holes in the webs of the struts 15.
- U-shaped sheet metal profiles 16 are fastened, which are dimensioned such that they can accommodate supporting beams 17.
- the entire ceiling structure is fastened to the support beam 17 via the U-shaped profiles 16.
- the struts 15 again have openings 13, so that the insulating material layer 11 applied to the inner surface of the shotcrete layer 10 extends over the entire area of the ceiling.
- a board layer 18 serving as floor or roof is attached to the top of the supporting beams 17.
- a floor covering or a roof skin 19 can be fastened on this board layer 18 in accordance with the intended use.
- the space between shotcrete layer 10 and the board layer 18 can either be filled only partially, as shown here, or completely with the insulating material 11.
- the I-shaped struts 15 can also be included in the construction as a load-bearing part of the ceiling, since despite the design as a rolled sheet metal profile, a considerable moment of inertia is available for the load bearing.
- This has the advantage that the supporting beams 17 connected to the I-profile 15 can be dimensioned correspondingly smaller, so that overall a considerable weight saving and thus more favorable static values result for the ceiling construction.
- FIG. 5 shows a modified embodiment of the component for the production of vertical building walls in a vertical section.
- the structure essentially corresponds to the structure described with reference to FIG. 2.
- the main difference from the embodiment according to FIG. 2 is that after the shotcrete layer 10 has been applied, the other outer plane of the frame is covered with a breathable film, in particular a breathable plastic film 20, and is then fixed to the frame together with the metal grid 8.
- the space between the shotcrete layer 10 and the film 20 is now foamed from bottom to top with a foamable plastic, for example polyurethane.
- a foamable plastic for example polyurethane.
- the introduction of the insulating material through the usually at least semi-transparent plastic film can be observed from the outside.
- the sprayed concrete layer 12 is applied to the metal grid from the outside with a suitably liquid sprayed concrete, the sprayed concrete passing through the openings in the metal grid and also filling the existing spaces between the metal grid 8 and the film 20.
- This construction offers considerable advantages when introducing the insulating material compared to the surface application, as described with reference to FIG. 2.
- a particular advantage of the construction described with reference to the exemplary embodiments lies in the fact that after the application of the usually load-bearing shotcrete layer 10 in the area of a frame level, the plastered installations, such as empty pipes for the electrical installation, water pipes, drain pipes or the like, in those to be foamed with insulating material Space can be fixed before the insulation material is foamed.
Landscapes
- Engineering & Computer Science (AREA)
- Architecture (AREA)
- Physics & Mathematics (AREA)
- Electromagnetism (AREA)
- Civil Engineering (AREA)
- Structural Engineering (AREA)
- Building Environments (AREA)
- Panels For Use In Building Construction (AREA)
Abstract
Bauelement zur Herstellung von Gebäudewänden aus Beton sowie hiermit hergestellte Gebäudewand, gekennzeichnet durch einen randseitig umlaufenden Rahmen (1) aus einem Blechprofil, wenigstens einer zwei Rahmenseiten verbindenden Strebe (2, 15) aus einem Blechprofil, ein auf wenigstens einer durch den Rahmen (1) definierten Außenebene befestigten, den Rahmen (1) flächig abdeckendes Metallgitter (8) sowie wenigstens ein stabförmiges Montageeisen (5), das jeweils mit geringem Abstand zum Metallgitter (8) innerhalb des Rahmens (1) verläuft und zwei einander gegenüberliegende Rahmenseiten (1) und die Strebe (2,15) verbindet, und Verbindungselemente (9), die das Metallgitter (8) und das Montageeisen miteinander verbinden. Das Metallgitter (8) einschließlich der entsprechenden Rahmen-und Strebenteile sowie der Montageeisen (5) sind in eine tragende Schicht (10) aus Spritzbeton eingebettet. Die innenliegende Fläche der Spritzbetonschicht (10) ist mit einer Schicht (11) aus einem vorzugsweise geschäumten Isoliermaterial abgedeckt. Diese Isoliermaterialschicht (11) ist bei vertikalen Gebäudewänden mit einer weiteren Spritzbetonschicht (12) von entsprechender Stärke abgedeckt, in die zumindest ein Metallgitter (8) sowie ein Teil der Rahmen und Streben eingebettet sind. Component for the production of building walls made of concrete as well as the building wall produced therewith, characterized by a frame (1) made of a sheet metal profile and surrounding at the edge, at least one strut (2, 15) connecting a frame profile made of a sheet metal profile, one on at least one through the frame (1) Defined defined outer plane, the frame (1) covering metal grille (8) and at least one rod-shaped mounting iron (5), each running a short distance from the metal grille (8) within the frame (1) and two opposite frame sides (1) and the strut (2,15) connects, and connecting elements (9) that connect the metal grille (8) and the assembly iron. The metal grid (8) including the corresponding frame and strut parts and the assembly iron (5) are embedded in a load-bearing layer (10) made of shotcrete. The inside surface of the shotcrete layer (10) is covered with a layer (11) made of a preferably foamed insulating material. In vertical building walls, this insulating material layer (11) is covered with a further shotcrete layer (12) of appropriate thickness, in which at least one metal grid (8) and part of the frames and struts are embedded.
Description
Die Erfindung betrifft ein Bauelement zur Herstellung von Gebäudewänden aus Beton, die die Erstellung von Gebäudewänden, sei es in Ortbeton oder in Fertigteilbauweise auch ohne Verschalung ermöglicht. Hierbei ist es insbesondere Aufgabe der Erfindung, die erforderliche Isolierung als integralen Bestandteil der Gebäudewandung bei der Herstellung mit einzubringen.The invention relates to a component for the production of building walls made of concrete, which allows the building of building walls, be it in in-situ concrete or in prefabricated construction also without formwork. It is a particular object of the invention to incorporate the required insulation as an integral part of the building wall during manufacture.
Die Aufgabe der Erfindung wird gelöst durch ein Bauelement, das gekennzeichnet ist durch einen randseitig umlaufenden Rahmen aus einem Blechprofil, wenigstens einer zwei Rahmenseiten verbindenden Strebe aus einem Blechprofil, ein auf wenigstens einer durch den Rahmen definierten Außenebene befestigten, den Rahmen flächig abdeckenden Metallgitter, sowie wenigstens ein stabförmiges Montageeisen, das jeweils mit geringem Abstand zum Metallgitter innerhalb des Rahmens verläuft und zwei einander gegenüberliegende Rahmenseiten und die Strebe verbindet und Verbindungselemente, die das Metallgitter und das Montageeisen miteinander verbinden. Ein derartiges Wandelement läßt sich in einfacher Weise aus vorgefertigten Einzelteilen auf einem Bauhof oder aber bei größeren Bauvorhaben auch auf der Baustelle zusammensetzen. Durch die Verwendung von Blechprofilen läßt sich das fertig zusammengesetzte Bauelement mit den an der Baustelle üblichen Hebezeugen ohne weiteres handhaben. Die Höhe eines Bauelementes entspricht hierbei der gewünschten Geschoßhöhe, während die Länge beim Betonieren auf der Baustelle der gesamten Gebäudelänge entsprechen kann. Von der Länge des Bauelementes hängt die Zahl der verwendeten Streben ab. Diese können beispielsweise so vorgesehen werden, daß sie gleichzeitig die gewünschten Tür- und/oder Fensteröffnungen seitlich begrenzen. Mit Ausnahme der vorgesehenen Tür und/oder Fensteröffnungen wird auf wenigstens einer durch den Rahmen definierten Aus-' senebene ein Metallgitter befestigt, das in bevorzugter Ausgestaltung der Erfindung durch Bahnen aus Streckmetall gebildet wird. Die Streckmetallbahnen weisen hierbei zweckmäßigerweise öffnungen von etwa 5 mm Breite und ca. 1o bis 2o mm Länge auf. Zur Erhöhung der Festigkeit der mit Hilfe eines derartigen Bauelementes erstellten Gebäudewand ist es zweckmäßig, wenn die Streckmetallbahnen in bezug auf die Ausrichtung der Gebäudewand senkrecht verlaufend am Rahmen befestigt sind. Die Befestigung des Metallgitters am Rahmen kann durch Punktschweißung oder mit Hilfe von selbstschneidenden Blechschrauben erfolgen. Zur Vereinfachung der Handhabung des fertigen Bauelementes und zur Stabilisierung der verhältnismäßig großflächigen Metallgitterabdeckung wird dieses in entsprechenden Abständen an den quer zur Ausrichtung der Streckmetallbahnen verlaufenden Montageeisen mit Hilfe von Verbindungselementen, beispielsweise Drahthaken oder dgl. festgelegt.The object of the invention is achieved by a component which is characterized by a frame made of a sheet metal profile that runs around the edge, at least one strut made of a sheet metal profile connecting two frame sides, a metal grid attached to at least one outer plane defined by the frame, and flatly covering the frame, and at least one rod-shaped assembly iron, each running a short distance from the metal grid within the frame and two opposite one another Frame sides and the strut connects and connecting elements that connect the metal grille and the assembly iron. Such a wall element can be assembled in a simple manner from prefabricated individual parts on a building yard or, for larger construction projects, also on the building site. By using sheet metal profiles, the fully assembled component can be easily handled with the lifting devices that are customary at the construction site. The height of a component corresponds to the desired floor height, while the length when concreting on site can correspond to the entire length of the building. The number of struts used depends on the length of the component. These can be provided, for example, so that they laterally limit the desired door and / or window openings at the same time. With the exception of the door and / or window openings provided, a metal grid is attached to at least one outer plane defined by the frame, which in a preferred embodiment of the invention is formed by sheets of expanded metal. The expanded metal sheets expediently have openings of approximately 5 mm in width and approximately 10 to 20 mm in length. In order to increase the strength of the building wall created with the aid of such a component, it is expedient if the expanded metal sheets are fastened to the frame in a perpendicular manner with respect to the orientation of the building wall. The metal grill can be attached to the frame by spot welding or with the help of self-tapping screws. In order to simplify the handling of the finished component and to stabilize the relatively large-area metal grille cover, this is fixed at appropriate intervals on the mounting irons running transversely to the orientation of the expanded metal tracks with the aid of connecting elements, for example wire hooks or the like.
Das derart ausgebildete Bauelement, das nur auf einer durch den Rahmen definierten Außenebene mit einem Metallgitter versehen ist, wird nur aufgerichtet und auf dem vorbereiteten Fundament des zu erstellenden Gebäudes ausgerichtet. Entsprechend werden die Bauelemente für die übrigen Gebäudewandungen und zwar sowohl Außen- als auch Innenwandungen' aufgerichtet und an den Stoßstellen miteinander verbunden. Nunmehr wird von der Außen- und von der Innenseite auf das Metallgitter Spritzbeton aufgetragen, wobei das Metallgitter vollständig in den Spritzbeton eingebettet wird. Hierbei ist die auf der Wandaußenseite auf dem Metallgitter aufliegende Spritzbetonschicht dünner als die auf der Innenseite liegende Spritzbetonschicht, die so dick ist, daß sie auch die Montageeisen vollständig einbettet.The component designed in this way that only on one the frame defined outer level is provided with a metal grid, is only erected and aligned on the prepared foundation of the building to be created. Accordingly, the components for the other walls of the building, namely both outer and inner walls, are erected and connected to one another at the joints. Now sprayed concrete is applied from the outside and from the inside to the metal grid, the metal grid being completely embedded in the sprayed concrete. Here, the shotcrete layer lying on the outside of the wall on the metal grid is thinner than the shotcrete layer lying on the inside, which is so thick that it also completely embeds the assembly iron.
Nach dem Aushärten des aufgetragenen Betons, wird nunmehr von der Innenseite her das Isoliermaterial auf die Betonschicht aufgetragen, beispielsweise in Form eines geschäumten Kunststoffes, insbesondere Polyurethan. Nach dem Aushärten des Kunststoffes wird nunmehr auf der noch offenen Rahmenebene, die nunmehr die Gebäudeinnenwandung bildet, die Rahmenfläche in den entsprechenden Bereichen mit einem Metallgitter abgedeckt, wobei dieses mit dem Rahmen, den Streben sowie den Montageeisen verbunden wird. Anschließend wird von außen auf dieses Metallgitter Spritzbeton in der gewünschten Dicke aufgetragen, wobei diese Spritzbetonschicht unmittelbar auf die Isoliermaterialschicht aufbaut und so dick gewählt wird, daß wiederum auch die Außenseite des Metallgitters vollständig mit Beton überdeckt ist. Diese Verfahrensweise erlaubt die Herstellung von Gebäudewänden sowohl, wie vorstehend beschrieben, in bereits fertig ausgerichteter Positionierung als Gebäude, wie auch die Erstellung in Form von entsprechenden Fertigbauteilen, die erst anschließend auf der Baustelle als Gebäudewand aufgerichtet werden.After the applied concrete has hardened, the insulating material is now applied to the concrete layer from the inside, for example in the form of a foamed plastic, in particular polyurethane. After the plastic has hardened, the frame area in the corresponding areas is now covered with a metal grid on the still open frame level, which now forms the inside wall of the building, this being connected to the frame, the struts and the assembly iron. Sprayed concrete is then applied to the outside of this metal grid in the desired thickness, this sprayed concrete layer building up directly on the insulating material layer and being chosen so thick that the outside of the metal grid is again completely covered with concrete. This procedure allows the production of building walls both, as described above, in a fully aligned position as a building, as well as the creation in the form of corresponding prefabricated components, which are only subsequently erected on the construction site as a building wall.
In bevorzugter Ausgestaltung der Erfindung ist hierbei vorgesehen, daß zumindest die horizontal verlaufenden Blechprofile des Rahmens einen U-förmigen Querschnitt aufweisen. Dies hat den Vorteil, daß beim Einbringen des Spritzbetons das Blechprofil ohne Hohlraumbildung eingeschlossen wird.In a preferred embodiment of the invention provided that at least the horizontally extending sheet metal profiles of the frame have a U-shaped cross section. This has the advantage that the sheet profile is enclosed without the formation of voids when the shotcrete is introduced.
In weiterer vorteilhafter Ausgestaltung der Erfindung ist vorgesehen, daß das die Streben bildende Blechprofil und zweckmäßigerweise auch die-vertikal verlaufenden Profilteile des Rahmens einen C-förmigen Querschnitt aufweisen. Hierdurch wird eine zusätzliche Versteifung sowohl des Bauelementes als auch der mit Hilfe dieses Bauelementes errich- :eten Gebäudewand erreicht, da die Formsteifigkeit eines C-förmigen Blechprofils erheblich höher ist. Die Blechprofile werden zweckmäßigerweise durch Abkanten oder Walzen aus einem verzinkten Stahlblech mit einer Stärke von etwa 1,25 mm hergestellt. Bei der Verwendung von Streckmetall wird hier aus Gründen der Festigkeit einerseits und mit Rücksicht auf-das Gewicht des Bauelementes andererseits eine Blechstärke von 0,8 mm als zweckmäßig angesehen. Für die Montageeisen genügt ein Rundeisen mit 8 mm Durchmesser.In a further advantageous embodiment of the invention it is provided that the sheet metal profile forming the struts and expediently also the vertically running profile parts of the frame have a C-shaped cross section. This results in additional stiffening of both the component and the building wall erected with the aid of this component, since the stiffness of a C-shaped sheet metal profile is considerably higher. The sheet metal profiles are expediently produced by folding or rolling from a galvanized steel sheet with a thickness of approximately 1.25 mm. When using expanded metal, a sheet thickness of 0.8 mm is considered appropriate here on the one hand for reasons of strength and with regard to the weight of the component. A round iron with an 8 mm diameter is sufficient for the assembly irons.
In zweckmäßiger Ausgestaltung der Erfindung ist ferner vorgesehen, daß die Stege zumindest der vertikal verlaufenden Blechprofile des Rahmens sowie der Streben Durchbrüche aufweisen. Diese Durchbrüche erlauben ein einwandfreies Aufbringen des Isoliermaterials, so daß sich hier über die gesamte Länge und die gesamte Höhe eine vollständig geschlossene Isoliermaterialschicht ergibt. Bei der Verwendung des Bauelementes für eine Außenwand wird durch die Durchbrüche ferner der wärmeleitende Querschnitt der Blechprofile in Richtung von innen nach außen reduziert und somit die Bildung von "Kältebrücken" erheblich vermindert.In an expedient embodiment of the invention it is further provided that the webs have openings at least in the vertically running sheet metal profiles of the frame and the struts. These breakthroughs allow the insulating material to be applied correctly, so that a completely closed layer of insulating material results over the entire length and the entire height. When the component is used for an outer wall, the openings also reduce the heat-conducting cross section of the sheet metal profiles in the direction from the inside to the outside and thus significantly reduce the formation of "cold bridges".
Das erfindungsgemäße Bauelement läßt sich nicht nur für die Errichtung von Gebäudewänden sondern auch von Geschoßdecken verwenden. In diesem Fall sind die mit dem Rahmen verbundenen Streben durch Blechprofile mit I-Querschnitt gebildet. Das Metallgitter wird hierbei nur auf der Unterseite aufgebracht und in der vorbeschriebenen Weise in eine Spritzbetonschicht mit entsprechender Stärke eingebettet. Die andere Seite der Spritzbetonschicht wird wie vorbeschrieben, mit einer Isoliermaterialschicht, beispielsweise aus geschäumtem Kunststoff abgedeckt.The component according to the invention can be used not only for the erection of building walls but also of floor ceilings. In this case, those are related to the frame Struts formed by sheet metal profiles with an I cross section. The metal grid is applied only on the underside and is embedded in a shotcrete layer of appropriate thickness in the manner described above. The other side of the shotcrete layer is covered as described above with an insulating material layer, for example made of foamed plastic.
tn zweckmäßiger Ausgestaltung der Erfindung zur Verwendung ,les Bauelementes zur Herstellung von Gebäudedecken ist hierbei vorgesehen, daß die Rahmen nur auf einer Flächenseite mit einem Metallgitter abgedeckt sind und daß auf der anderen Flächenseite auf die Flansche der I-förmigen Streben nach außen offene U-Profile aus Blech zur Aufnahme von Tragbalken versehen sind. Die Tragbalken können hierbei aus Stahlbeton oder Holz bestehen, die jedoch fest mit dem U-Profil der Streben der Decke verbunden werden. Diese Anordnung hat den Vorteil, daß die Lastaufnahme der auf die Decke wirkenden Flächenlast weitgehend über die Tragbalken erfolgt, während die eigentliche Geschoßdecke nach Art einer untergehängten Decke ausgebildet ist und dementsprechend erhebliche Gewichtsreduzierungen erzielt werden. Andererseits ist es möglich, einen erheblichen Teil des zur Verfügung stehenden Deckenquerschnittes mit einem Isoliermaterial auszufüllen, so daß insbesondere bei der Verwendung dieser Konstruktion als Gebäudedecke im Dachbereich eine sehr gute Isolierung erreicht werden kann.tn expedient embodiment of the invention for use, les component for the production of ceilings is provided here that the frame is covered on one side only with a metal grid and that on the other side of the surface on the flanges of the I-shaped struts open U-profiles are made of sheet metal for supporting beams. The support beams can be made of reinforced concrete or wood, but are firmly connected to the U-profile of the struts in the ceiling. This arrangement has the advantage that the load on the surface load acting on the ceiling is largely carried out via the supporting beams, while the actual floor ceiling is designed in the manner of a suspended ceiling and, accordingly, considerable weight reductions are achieved. On the other hand, it is possible to fill a substantial part of the available cross-section of the ceiling with an insulating material, so that very good insulation can be achieved in particular when using this construction as a building ceiling in the roof area.
Erfindungsgemäß ist eine mit einem Bauelement nach der Erfindung hergestellte Gebäudewand dadurch gekennzeichnet, daß wenigstens eines der den Rahmen abdeckenden Metallgitter in eine tragende Schicht aus Spritzbeton eingebettet ist und daß der Zwischenraum zwischen den beiden Betonschichten mit Isoliermaterial ausqefüllt ist.According to the invention, a building wall produced with a component according to the invention is characterized in that at least one of the metal grids covering the frame is embedded in a load-bearing layer made of shotcrete and that the space between the two concrete layers is filled with insulating material.
In einer erfindungsgemäßen Ausgestaltung ist ferner vorgesehen, daß zumindest bei einer Gebäudeaußenwand die auf der Außenseite liegende Betonschicht dicker ist als die auf der Innenseite liegende Betonschicht.In an embodiment according to the invention it is further provided that at least in the case of an outer wall of the building on the The outside concrete layer is thicker than the inside concrete layer.
Erfindungsgemäß ist ferner vorgesehen, daß das Isoliermaterial in an sich bekannter Weise aus einem geschäumten Kunststoff, vorzugsweise Polyurethan besteht. Dies hat den Vorteil, daß das Einbringen der Isoliermaterialschicht auch in schwer zugänglichen Eckenbereichen möglich ist. Alle noch freiliegenden Metallflächen werden hierdurch vollständig und dicht abgedeckt, so daß ein weitgehender Korrosionsschutz erreicht wird.According to the invention it is further provided that the insulating material consists of a foamed plastic, preferably polyurethane, in a manner known per se. This has the advantage that the insulating material layer can also be introduced in corner areas which are difficult to access. All exposed metal surfaces are thereby completely and tightly covered, so that extensive corrosion protection is achieved.
Die Erfindung wird anhand von Ausführungsbeispielen näher erläutert. Es zeigen:
- Fig. 1 eine Gesamtansicht eines Bauelementes mit Tür-und Fensteröffnungen, ohne Metallgitter
- Fig. 2 einen Vertikalschnitt durch eine fertiggestellte Gebäudewand einschl. der Gebäudedecke
- Fig. 3 einen Horizontalschnitt durch eine Gebäudewand im Eckenbereich
- Fig. 4 einen Schnitt durch eine Gebäudedecke.
- Fig. 5 einen Vertikalschnitt einer anderen Ausführungsform
- Fig. 1 is an overall view of a component with door and window openings, without a metal grid
- Fig. 2 shows a vertical section through a completed building wall including the building ceiling
- Fig. 3 shows a horizontal section through a building wall in the corner area
- Fig. 4 shows a section through a building ceiling.
- Fig. 5 is a vertical section of another embodiment
In Fig. 1 ist in einer schematischen Ansicht ein Bauelement dargestellt. Das Bauelement weist einen umlaufenden Rahmen 1 auf, der so dimensioniert ist, daß seine Höhe h der Geschoßhöhe entspricht, während seine Länge 1 beispielsweise der gewünschten Gebäudelänge oder aber einer "Zimmerlänge" entspricht. Der Rahmen 1 ist in Längsrichtung gesehen durch mehrere Streben 2 unterteilt, wobei die Streben 2' jeweils im Endbereich diagonal verlaufen und eine entsprechende Eckenaussteifung bringen. Die Streben 2 sind hierbei im Abstand so zueinander angeordnet, daß sie gleichzeitig eine Türöffnung 3 und Fensteröffnungen 4 jeweils seitlich begrenzen. Die obere und/oder untere Begrenzung der Tür- bzw. Fensteröffnung wird durch horizontal verlaufende Wechselstreben 3' bzw. 4', 4" begrenzt, die jeweils mit den die öffnung begrenzenden Streben 2 fest verbunden sind. Mit Ausnahme der Türöffnung 3 und der Fensteröffnungen 4 ist die gesamte Fläche des Rahmen 1 mit einem Metallgitter, beispielsweise aus Streckmetallbahnen, abgedeckt. Diese Gitterflächen sind hier jedoch nicht dargestellt. Die durch das Metallgitter abzudeckenden Felder des Rahmens 1, soweit sie die volle Geschoßhöhe überdecken, sind zusätzlich durch horizontal verlaufende Montageeisen 5, beispielsweise aus einem 8 mm Rundstahl unterteilt, mit denen das Metallgitter durch Verbindungselemente in Form von Drahthaken oder dgl. noch verbunden wird. Dies wird nachstehend noch näher erläutert werden.In Fig. 1, a component is shown in a schematic view. The component has a
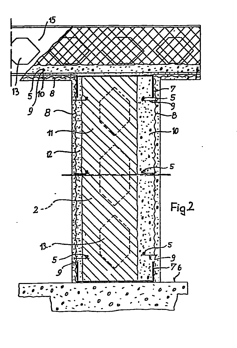
Der Aufbau einer Gebäudewand unter Zuhilfenahme des anhand von Fig. 1 beschriebenen Bauelementes ist aus dem Vertikalschnitt gemäß Fig. 2 ersichtlich. Das Ausführungsbeispiel wird anhand einer Ausführung in Ortbeton näher erläutert.The construction of a building wall with the aid of the component described with reference to FIG. 1 can be seen from the vertical section according to FIG. 2. The embodiment is explained in more detail using an in-situ concrete design.
Zur Erstellung der Gebäudewand werden die Bauelenente entsprechend Fig. 1, die auf einer Fläche entsprechend mit Metallgitter abgedeckt sind,auf ein vorbereitetes Fundament 6 aufgestellt und ausgerichtet. Wie aus dem Schnitt in Fig.2 ersichtlich, sind die das Bauelement unten und oben begrenzenden Rahmenteile aus einem U-förmig abgekanteten Blechprofil 7 gebildet. Die Montageeisen 5 sind hierbei durch entsprechende Löcher in den Streben 2 hindurchgesteckt. Von den Streben ist hier eine andeutungsweise dargestellt.To create the building wall, the construction elements according to FIG. 1, which are covered on a surface with metal grids, are set up and aligned on a
Auf der Außenseite des Rahmens 1 ist beispielsweise durch Punktschweißung oder mit Hilfe von selbstschneidenden Blechschrauben ein Metallgitter 8 befestigt. Das Metallgitter, das beispielsweise aus Streckmetallbahnen mit einer Wandstärke von 0,8 mm und öffnungen von etwa 5 mm Breite und 10 mm Länge besteht, ist zusätzlich über Verbindungselemente 9 in Form von Drahthaken an den Montageeisen 5 festgelegt. Die andere Außenfläche des Bauelementes weist zu diesem Zeitpunkt noch keine Abdeckung durch ein Metallgitter auf.A
Nunmehr wird als erster Schritt auf das Metallgitter von beiden Seiten eine Schicht 10 aus Spritzbeton in einer entsprechenden Dicke aufgetragen, wobei die Montageeisen 5 vollständig mit in die Spritzbetonschicht 10 eingebettet werden. In diesem Zusammenhang sei darauf hingewiesen, daß die öffnungen des Metallgitters so bemessen sein müssen, daß sie den Auftrag von Spritzbeton auch an der vertikal ausgerichteten Metallgitterfläche gestatten. Die Schicht 10 ist als tragender Teil der Gebäudewand bemessen. Nach dem Abbinden der Spritzbetonschicht 10 wird eine zusätzliche Isoliermaterialschicht 11 aufgetragen, beispielsweise durch einen geschäumten Kunststoff wie Polyurethan oder dgl.. Nach dem Aushärten der Isoliermaterialschicht wird die noch offene Außenfläche des Rahmens ebenfalls mit einem Metallgitter 8 abgedeckt, das wiederum durch Verbindungselemente 9 an den Montageeisen 5 festgelegt wird. Nunmehr wird wiederum eine Spritzbetonschicht 12 in der gewünschten Dicke aufgetragen, wobei die zweite Spritzbetonschicht, wie das Ausführungsbeispiel zeigt, dünner sein kann als die erste Spritzbetonschicht. Die beiden Betonaußenflächen können nunmehr in herkömmlicher Weise mit einer Feinputzschicht versehen werden.Now, as a first step, a
Aus der vorstehenden Beschreibung läßt sich ferner erkennen, daß mit Hilfe eines derartigen Bauelementes nicht nur Gebäudewände in Ortbeton ausgeführt werden können, sondern daß mit Hilfe des erfindungsgemäßen Bauelementes auch Fertigteile hergestellt werden können. Hierbei muß lediglich bei der Festlegung der Rahmenlänge darauf geachtet werden, daß die Fertigteile mit den zur Verfügung stehenden Transportmitteln und Hebezeugen auch handhabbar sind.From the above description it can also be seen that with the aid of such a component, not only can building walls be made of in-situ concrete, but that prefabricated parts can also be produced with the aid of the component according to the invention. When determining the frame length, it is only necessary to ensure that the finished parts can also be handled with the available means of transport and hoists.
Wie aus dem Schnitt in Fig. 2 ersichtlich, sind die Streben 2, deren Querschnitt anhand von Fig. 3 näher erläutert werden wird, im Stegbereich mit Ausnehmungen 13 versehen, die einmal zur Gewichtsminderung dienen und zum anderen beim Ausschäumen den freien Durchtritt des Isoliermaterials gestatten.As can be seen from the section in FIG. 2, the
Der Horizontalschnitt in Fig. 3 läßt erkennen, daß die Streben 2, aber auch die vertikal verlaufenden Teile 1' des Rahmens 1 aus einem C-förmig abgekanteten Blechprofil bestehen. Der Horizontalschnitt in Fig. 3 zeigt eine Eckverbindung, aus der zu ersehen ist, daß nach dem Aufrichten der Bauelemente mit Hilfe von selbstschneidenden Blech--schrauben 14 die Elemente fest miteinander verbunden werden. Anstelle der Schraubverbindung kann selbstverständlich auch eine Verbindung durch Schweißen, Spannklammern oder dgl. verwendet werden.The horizontal section in Fig. 3 shows that the
Der Horizontalschnitt läßt außerdem den Verlauf der Montageeisen 5 sowie die Anordnung der Verbindungselemente 9 zwischen Montageeisen 5 und Metallgitter 8 erkennen. Ferner ist aus dem Horizontalschnitt ersichtlich, daß sowohl die Streben 2 als auch die vertikal verlaufenden Rahmenteile 1' jeweils mit Ausnehmungen 13 versehen sind, durch die das eingebrachte Isoliermaterial bzw. der Spritzbeton hindurchtreten kann, wie dies für den außenliegenden Rahmenteil 1' des Wandteils A gezeigt ist.The horizontal section also reveals the course of the mounting
Aus dem Teilquerschnitt durch eine Gebäudedecke, die mit einem entsprechend ausgebildeten Bauelement hergestellt ist, ist ersichtlich, daß für die Deckenkonstruktion die Streben des Rahmens durch ein Blechprofil 15 mit I-förmigem Querschnitt gebildet werden. Es handelt sich hierbei um aus einem Blechstreifen entsprechend gewalzte Profile. Die Schnittdarstellung in Fig. 4 ist daher nur rein schematisch.From the partial cross section through a building ceiling, which is made with a suitably designed component, it can be seen that the struts of the frame are formed by a
Auf der Unterseite sind die I-förmigen Streben 15 wiederum mit einem Metallgitter 8 überspannt, das an Montageeisen 5 mit Hilfe von drahtförmigen Verbindungselementen 9 festgelegt ist. Hierbei sind die Montageeisen 5 durch entsprechende Löcher in den Stegen der Streben 15 hindurchgesteckt. Auf der dem Drahtgitter 8 abgekehrten Seite der Streben 15 sind U-förmige Blechprofile 16 befestigt, die so dimensioniert sind, daß sie Tragbalken 17 aufnehmen können. über die U-förmigen Profile 16 ist die gesamte Deckenkonstruktion an den Tragbalken 17 befestigt. Wie aus dem Vertikalschnitt in Fig. 2 ersichtlich, weisen auch die Streben 15 wiederum Durchbrüche 13 auf, so daß die auf die Innenfläche der Spritzbetonschicht 10 aufgebrachte Isoliermaterialschicht 11 sich vollflächig über den gesamten Deckenbereich erstreckt.On the underside, the I-shaped
Auf der Oberseite der Tragbalken 17 ist je nach Verwendungszweck eine als Fußboden oder als Dach dienende Bretterlage 18 angebracht. Auf dieser Bretterlage 18 kann entsprechend der vorgesehenen Verwendung ein Bodenbelag bzw. eine Dachhaut 19 befestigt sein.Depending on the intended use, a
Der Zwischenraum zwischen Spritzbetonschicht 10 und der Bretterlage 18 kann entweder nur zum Teil, wie hier dargestellt, oder vollständig mit dem Isoliermaterial 11 ausgefüllt sein.The space between
Bei entsprechender Ausbildung der Auflage können auch die I-förmigen Streben 15 mit als tragender Teil der Decke in die Konstruktion einbezogen werden, da trotz der Ausführung als gewalztes Blechprofil ein erhebliches Flächenträgheitsmoment für die Lastaufnahme zur Verfügung steht. Dies hat den Vorteil, daß die mit dem I-Profil 15 verbundenen Tragbalken 17 entsprechend geringer dimensioniert werden können, so daß sich insgesamt für die Deckenkonstruktion eine erhebliche Gewichtsersparnis und damit günstigere statische Werte ergeben. Hierbei kann es je nach den vorgegebenen Belastungsgrößen zweckmäßig sein, die Durchbrüche 13 in den Stegen der I-Profile 15 im Verhältnis zu dem dargestellten Ausführungsbeispiel kleiner zu gestalten, insbesondere kreisrunde Durchbrüche vorzusehen, um einen günstigen Spannungsverlauf im Stegbereich zu erzielen.With a corresponding design of the support, the I-shaped
In Fig. 5 ist in einem Vertikalschnitt eine modifizierte Ausführungsform des Bauelementes zur Herstellung vertikaler Gebäudewände dargestellt. Der Aufbau entspricht im wesentlichen dem anhand von Fig. 2 beschriebenen Aufbau. Der wesentliche Unterschied zu der Ausführungsform gemäß Fig. 2 besteht darin, daß nach dem Aufbringen der Spritzbetonschicht 10 die andere Rahmenaußenebene mit einer atmungsaktiven Folie, insbesondere einer atmungsaktiven Kunststoffolie 20 abgedeckt, und dann zusammen mit dem Metallgitter 8 am Rahmen festgelegt wird. Nunmehr wird der Zwischenraum zwischen der Spritzbetonschicht 10 und der Folie 20 mit einem schäumbaren Kunststoff, beispielsweise Polyurethan, von unten nach oben ausgeschäumt. Hierbei kann von der Außenseite das Einbringen des Isoliermaterials durch die üblicherweise wenigstens halbwegs durchsichtige Kunststoffolie beobachtet werden. Sollten im Verlaufe des Einbringens des aufschäumbaren Kunststoffes Hohlräume entstehen, so können diese nachträg-' lich von außen her durch die Folie 20 hindurch ausgefüllt werden. Anschließend wird mit entsprechend flüssig eingestelltem Spritzbeton die Spritzbetonschicht 12 von außen auf das Metallgitter aufgetragen, wobei der Spritzbeton durch die Öffnungen im Metallgitter hindurchtritt und auch die bestehenden Zwischenräume zwischen Metallgitter 8 und Folie 20 ausfüllt. Diese Konstruktion bietet erhebliche Vorteile beim Einbringen des Isoliermaterials gegenüber dem flächigen Aufbringen, wie anhand von Fig. 2 beschrieben.5 shows a modified embodiment of the component for the production of vertical building walls in a vertical section. The structure essentially corresponds to the structure described with reference to FIG. 2. The main difference from the embodiment according to FIG. 2 is that after the
Ein besonderer Vorteil der anhand der AusführungsbeispieLe beschriebenen Konstruktion liegt darin, daß nach dem Aufbringen der in der Regel tragenden Spritzbetonschicht 10 im Bereich einer Rahmenebene die Unterputz zu verlegenden Installationen, wie Leerrohre für die Elektroinstallation, Wasserleitungen, Abflußrohre oder dgl. in den mit Isoliermaterial auszuschäumenden Raum fest verlegt werden können, bevor das Isoliermaterial aufgeschäumt wird.A particular advantage of the construction described with reference to the exemplary embodiments lies in the fact that after the application of the usually load-
Dies führt nicht nur zu einer Vereinfachung der Herstellung von Gebäuden, sondern hat darüber hinaus den Vorteil, daß die verlegten Wasserleitungs- und Abflußrohre sowohl wärmeals auch schallisoliert verlegt sind, sobald diese in den vorzugsweise aufgeschäumten Isolierstoff eingebettet sind.This not only leads to a simplification of the production of buildings, but also has the advantage that the installed water pipes and drain pipes are both heat and soundproof as soon as they are embedded in the preferably foamed insulating material.
Claims (14)
Applications Claiming Priority (2)
| Application Number | Priority Date | Filing Date | Title |
|---|---|---|---|
| DE3237697 | 1982-10-12 | ||
| DE19823237697 DE3237697A1 (en) | 1982-10-12 | 1982-10-12 | COMPONENT FOR PRODUCING CONSTRUCTION WALLS FROM CONCRETE AND BUILDING WALL MADE WITH THE ASSISTANCE OF THE COMPONENT |
Publications (2)
| Publication Number | Publication Date |
|---|---|
| EP0106297A2 true EP0106297A2 (en) | 1984-04-25 |
| EP0106297A3 EP0106297A3 (en) | 1985-07-10 |
Family
ID=6175484
Family Applications (1)
| Application Number | Title | Priority Date | Filing Date |
|---|---|---|---|
| EP83110078A Withdrawn EP0106297A3 (en) | 1982-10-12 | 1983-10-08 | Structural element for manufacturing concrete walls, and building wall produced with the same |
Country Status (2)
| Country | Link |
|---|---|
| EP (1) | EP0106297A3 (en) |
| DE (1) | DE3237697A1 (en) |
Cited By (5)
| Publication number | Priority date | Publication date | Assignee | Title |
|---|---|---|---|---|
| WO1994013898A1 (en) * | 1992-12-04 | 1994-06-23 | Compagnie De Construction Internationale Phenix - Ccip | Building construction method and building structure thereby obtained |
| GR960100032A (en) * | 1996-02-02 | 1997-10-31 | .... | The "HOME" building method. |
| WO2007132039A1 (en) * | 2006-05-17 | 2007-11-22 | Manuel Salas Rodriguez | Prefabricated modular partition for construction |
| EP2423402A3 (en) * | 2010-08-31 | 2012-06-20 | Alpha beton SPRL | Highly insulated prefabricated element |
| US12129643B1 (en) | 2024-01-26 | 2024-10-29 | Robert Coleman | Monolithic concrete modular connecting panel system for walls and roofs and related methods |
Families Citing this family (1)
| Publication number | Priority date | Publication date | Assignee | Title |
|---|---|---|---|---|
| SE508517C2 (en) | 1996-10-17 | 1998-10-12 | Sten Engwall | House building module as well as process for its manufacture as well as procedure for manufacturing houses of such modules |
Family Cites Families (4)
| Publication number | Priority date | Publication date | Assignee | Title |
|---|---|---|---|---|
| US1623917A (en) * | 1924-12-10 | 1927-04-05 | William F Gaudian | Wall construction |
| AU421207B2 (en) * | 1969-05-13 | 1972-02-08 | Albert Sealey Harold | Improved building construction |
| US4193240A (en) * | 1978-08-10 | 1980-03-18 | Odoerfer Hans F | Exterior wall composition |
| FI58810C (en) * | 1979-06-19 | 1981-04-10 | Rakennusdomino Oy | LAETTKONSTRUERAT VAEGGELEMENT OCH DESS TILLVERKNINGSMETOD |
-
1982
- 1982-10-12 DE DE19823237697 patent/DE3237697A1/en not_active Withdrawn
-
1983
- 1983-10-08 EP EP83110078A patent/EP0106297A3/en not_active Withdrawn
Cited By (8)
| Publication number | Priority date | Publication date | Assignee | Title |
|---|---|---|---|---|
| WO1994013898A1 (en) * | 1992-12-04 | 1994-06-23 | Compagnie De Construction Internationale Phenix - Ccip | Building construction method and building structure thereby obtained |
| GR960100032A (en) * | 1996-02-02 | 1997-10-31 | .... | The "HOME" building method. |
| WO2007132039A1 (en) * | 2006-05-17 | 2007-11-22 | Manuel Salas Rodriguez | Prefabricated modular partition for construction |
| ES2289926A1 (en) * | 2006-05-17 | 2008-02-01 | Manuel Salas Rodriguez | Prefabricated modular partition for construction |
| ES2289926B1 (en) * | 2006-05-17 | 2008-09-16 | Manuel Salas Rodriguez | MODULAR PREFABRICATED TABIQUE FOR CONSTRUCTION. |
| EP2423402A3 (en) * | 2010-08-31 | 2012-06-20 | Alpha beton SPRL | Highly insulated prefabricated element |
| BE1019464A3 (en) * | 2010-08-31 | 2012-07-03 | Alpha Beton Sprl | PREFABRICATED ELEMENT HIGHLY ISOLATED. |
| US12129643B1 (en) | 2024-01-26 | 2024-10-29 | Robert Coleman | Monolithic concrete modular connecting panel system for walls and roofs and related methods |
Also Published As
| Publication number | Publication date |
|---|---|
| EP0106297A3 (en) | 1985-07-10 |
| DE3237697A1 (en) | 1984-04-26 |
Similar Documents
| Publication | Publication Date | Title |
|---|---|---|
| DE60314459T2 (en) | CONSTRUCTION ELEMENT FOR CABINET CONSTRUCTION | |
| DE2724755A1 (en) | FALL TO SUPPORT THE OUTER WALL LAYER FROM MASONRY OVER WALL OPENINGS | |
| DE69703534T2 (en) | COMPILED BUILDING STRUCTURE CONSTRUCTION | |
| DE2102380C3 (en) | Multi-storey building with a supporting structure and prefabricated space boxes | |
| DE2706888A1 (en) | MOLD FOR THE MANUFACTURE OF CONCRETE CEILINGS AND ROOFING | |
| EP0106297A2 (en) | Structural element for manufacturing concrete walls, and building wall produced with the same | |
| CH662849A5 (en) | METHOD FOR PRODUCING A BUILDING AND A BUILDING PRODUCED BY THIS METHOD. | |
| DE3326856A1 (en) | Building element for producing building walls made of concrete, in particular for producing cellar walls | |
| DE7625460U1 (en) | FINISHED ELEMENT | |
| DE2336041A1 (en) | COMPLETE HOUSE | |
| DE3400404A1 (en) | Building element for producing building walls and/or building ceilings or roofs | |
| DE2612048A1 (en) | PRE-FABRICATED ELEMENTS IN MODULAR DESIGN | |
| DE2627105C3 (en) | Box-shaped room cell | |
| DE959761C (en) | Construction with standardized, prefabricated and floor-to-ceiling wall parts | |
| DE3522382A1 (en) | Steel reinforcement for structural parts | |
| DE69001688T2 (en) | METHOD FOR ATTACHING HORIZONTAL BEAMS TO STEEL COLUMNS OF A BUILDING AND A BUILDING CONSTRUCTED BY THIS METHOD. | |
| DE2219202A1 (en) | Process for the production of multi-storey buildings from space cells | |
| AT304020B (en) | BUILDING CONSTRUCTION | |
| DE10046138C2 (en) | Prefabricated module for building floors of a house and method for the production and construction of building parts from prefabricated modules | |
| DE838367C (en) | Process for the production of walls, especially for residential and commercial buildings | |
| DE102016122747A1 (en) | Concrete wall element of at least three layers, spacers for producing a concrete wall element and method for producing a concrete wall element | |
| DE8122597U1 (en) | PRE-PREPARED PARTS ASSEMBLABLE BUILDING | |
| DE1609361C3 (en) | Buildings with prefabricated, closed, single-cell frame elements made of reinforced concrete | |
| DE102024100881A1 (en) | Wall formwork construction | |
| DE102021002584A1 (en) | Concrete composite wall element made of at least two wall panels prefabricated from different or the same material, which are non-positively connected and a method for producing a composite wall element. |
Legal Events
| Date | Code | Title | Description |
|---|---|---|---|
| PUAI | Public reference made under article 153(3) epc to a published international application that has entered the european phase |
Free format text: ORIGINAL CODE: 0009012 |
|
| AK | Designated contracting states |
Designated state(s): AT BE CH DE FR GB IT LI LU NL SE |
|
| PUAL | Search report despatched |
Free format text: ORIGINAL CODE: 0009013 |
|
| AK | Designated contracting states |
Designated state(s): AT BE CH DE FR GB IT LI LU NL SE |
|
| STAA | Information on the status of an ep patent application or granted ep patent |
Free format text: STATUS: THE APPLICATION IS DEEMED TO BE WITHDRAWN |
|
| 18D | Application deemed to be withdrawn |
Effective date: 19860311 |
|
| RIN1 | Information on inventor provided before grant (corrected) |
Inventor name: STROER, GERHARD |
