EP0074061B1 - Borne modulaire de raccordement électrique - Google Patents
Borne modulaire de raccordement électrique Download PDFInfo
- Publication number
- EP0074061B1 EP0074061B1 EP82107994A EP82107994A EP0074061B1 EP 0074061 B1 EP0074061 B1 EP 0074061B1 EP 82107994 A EP82107994 A EP 82107994A EP 82107994 A EP82107994 A EP 82107994A EP 0074061 B1 EP0074061 B1 EP 0074061B1
- Authority
- EP
- European Patent Office
- Prior art keywords
- groove
- contact
- contacts
- electrical
- longitudinal
- Prior art date
- Legal status (The legal status is an assumption and is not a legal conclusion. Google has not performed a legal analysis and makes no representation as to the accuracy of the status listed.)
- Expired
Links
- 239000004020 conductor Substances 0.000 claims description 24
- 230000000903 blocking effect Effects 0.000 claims description 7
- 230000002093 peripheral effect Effects 0.000 claims description 2
- 239000003302 ferromagnetic material Substances 0.000 claims 1
- 230000000149 penetrating effect Effects 0.000 claims 1
- 239000000758 substrate Substances 0.000 description 4
- 230000037431 insertion Effects 0.000 description 3
- 238000003780 insertion Methods 0.000 description 3
- 239000011253 protective coating Substances 0.000 description 2
- 210000002105 tongue Anatomy 0.000 description 2
- NFLLKCVHYJRNRH-UHFFFAOYSA-N 8-chloro-1,3-dimethyl-7H-purine-2,6-dione 2-(diphenylmethyl)oxy-N,N-dimethylethanamine Chemical group O=C1N(C)C(=O)N(C)C2=C1NC(Cl)=N2.C=1C=CC=CC=1C(OCCN(C)C)C1=CC=CC=C1 NFLLKCVHYJRNRH-UHFFFAOYSA-N 0.000 description 1
- 229910000831 Steel Inorganic materials 0.000 description 1
- 230000007797 corrosion Effects 0.000 description 1
- 238000005260 corrosion Methods 0.000 description 1
- 230000000694 effects Effects 0.000 description 1
- 230000005294 ferromagnetic effect Effects 0.000 description 1
- 239000011810 insulating material Substances 0.000 description 1
- 238000009413 insulation Methods 0.000 description 1
- LQBJWKCYZGMFEV-UHFFFAOYSA-N lead tin Chemical compound [Sn].[Pb] LQBJWKCYZGMFEV-UHFFFAOYSA-N 0.000 description 1
- 230000005291 magnetic effect Effects 0.000 description 1
- 239000002184 metal Substances 0.000 description 1
- 238000000465 moulding Methods 0.000 description 1
- 239000004033 plastic Substances 0.000 description 1
- 239000004417 polycarbonate Substances 0.000 description 1
- 229920000515 polycarbonate Polymers 0.000 description 1
- 230000000284 resting effect Effects 0.000 description 1
- 239000010959 steel Substances 0.000 description 1
Images
Classifications
-
- H—ELECTRICITY
- H01—ELECTRIC ELEMENTS
- H01R—ELECTRICALLY-CONDUCTIVE CONNECTIONS; STRUCTURAL ASSOCIATIONS OF A PLURALITY OF MUTUALLY-INSULATED ELECTRICAL CONNECTING ELEMENTS; COUPLING DEVICES; CURRENT COLLECTORS
- H01R12/00—Structural associations of a plurality of mutually-insulated electrical connecting elements, specially adapted for printed circuits, e.g. printed circuit boards [PCB], flat or ribbon cables, or like generally planar structures, e.g. terminal strips, terminal blocks; Coupling devices specially adapted for printed circuits, flat or ribbon cables, or like generally planar structures; Terminals specially adapted for contact with, or insertion into, printed circuits, flat or ribbon cables, or like generally planar structures
- H01R12/70—Coupling devices
- H01R12/82—Coupling devices connected with low or zero insertion force
- H01R12/85—Coupling devices connected with low or zero insertion force contact pressure producing means, contacts activated after insertion of printed circuits or like structures
- H01R12/88—Coupling devices connected with low or zero insertion force contact pressure producing means, contacts activated after insertion of printed circuits or like structures acting manually by rotating or pivoting connector housing parts
-
- H—ELECTRICITY
- H01—ELECTRIC ELEMENTS
- H01R—ELECTRICALLY-CONDUCTIVE CONNECTIONS; STRUCTURAL ASSOCIATIONS OF A PLURALITY OF MUTUALLY-INSULATED ELECTRICAL CONNECTING ELEMENTS; COUPLING DEVICES; CURRENT COLLECTORS
- H01R12/00—Structural associations of a plurality of mutually-insulated electrical connecting elements, specially adapted for printed circuits, e.g. printed circuit boards [PCB], flat or ribbon cables, or like generally planar structures, e.g. terminal strips, terminal blocks; Coupling devices specially adapted for printed circuits, flat or ribbon cables, or like generally planar structures; Terminals specially adapted for contact with, or insertion into, printed circuits, flat or ribbon cables, or like generally planar structures
- H01R12/70—Coupling devices
- H01R12/71—Coupling devices for rigid printing circuits or like structures
- H01R12/712—Coupling devices for rigid printing circuits or like structures co-operating with the surface of the printed circuit or with a coupling device exclusively provided on the surface of the printed circuit
- H01R12/716—Coupling device provided on the PCB
-
- H—ELECTRICITY
- H01—ELECTRIC ELEMENTS
- H01R—ELECTRICALLY-CONDUCTIVE CONNECTIONS; STRUCTURAL ASSOCIATIONS OF A PLURALITY OF MUTUALLY-INSULATED ELECTRICAL CONNECTING ELEMENTS; COUPLING DEVICES; CURRENT COLLECTORS
- H01R12/00—Structural associations of a plurality of mutually-insulated electrical connecting elements, specially adapted for printed circuits, e.g. printed circuit boards [PCB], flat or ribbon cables, or like generally planar structures, e.g. terminal strips, terminal blocks; Coupling devices specially adapted for printed circuits, flat or ribbon cables, or like generally planar structures; Terminals specially adapted for contact with, or insertion into, printed circuits, flat or ribbon cables, or like generally planar structures
- H01R12/70—Coupling devices
- H01R12/71—Coupling devices for rigid printing circuits or like structures
- H01R12/75—Coupling devices for rigid printing circuits or like structures connecting to cables except for flat or ribbon cables
-
- H—ELECTRICITY
- H01—ELECTRIC ELEMENTS
- H01R—ELECTRICALLY-CONDUCTIVE CONNECTIONS; STRUCTURAL ASSOCIATIONS OF A PLURALITY OF MUTUALLY-INSULATED ELECTRICAL CONNECTING ELEMENTS; COUPLING DEVICES; CURRENT COLLECTORS
- H01R13/00—Details of coupling devices of the kinds covered by groups H01R12/70 or H01R24/00 - H01R33/00
- H01R13/648—Protective earth or shield arrangements on coupling devices, e.g. anti-static shielding
- H01R13/658—High frequency shielding arrangements, e.g. against EMI [Electro-Magnetic Interference] or EMP [Electro-Magnetic Pulse]
- H01R13/6581—Shield structure
Definitions
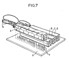
- each of the contact supports 1 and 1 ′ is in the form of an elongated parallelepipedic block with internal longitudinal groove 10 open on almost all of its upper face .
Landscapes
- Coupling Device And Connection With Printed Circuit (AREA)
Applications Claiming Priority (2)
| Application Number | Priority Date | Filing Date | Title |
|---|---|---|---|
| FR8116840 | 1981-09-04 | ||
| FR8116840A FR2512595A1 (fr) | 1981-09-04 | 1981-09-04 | Borne modulaire de raccordement electrique |
Publications (2)
| Publication Number | Publication Date |
|---|---|
| EP0074061A1 EP0074061A1 (fr) | 1983-03-16 |
| EP0074061B1 true EP0074061B1 (fr) | 1986-10-08 |
Family
ID=9261903
Family Applications (1)
| Application Number | Title | Priority Date | Filing Date |
|---|---|---|---|
| EP82107994A Expired EP0074061B1 (fr) | 1981-09-04 | 1982-08-31 | Borne modulaire de raccordement électrique |
Country Status (5)
| Country | Link |
|---|---|
| US (1) | US4469385A (enExample) |
| EP (1) | EP0074061B1 (enExample) |
| CA (1) | CA1175514A (enExample) |
| DE (1) | DE3273697D1 (enExample) |
| FR (1) | FR2512595A1 (enExample) |
Families Citing this family (3)
| Publication number | Priority date | Publication date | Assignee | Title |
|---|---|---|---|---|
| GB9306177D0 (en) * | 1993-03-25 | 1993-05-19 | Amp Gmbh | Smart card connector |
| FR2787641B1 (fr) * | 1998-12-22 | 2001-03-09 | Sc2N Sa | Connecteur electrique a piece pivotante |
| US6749452B2 (en) * | 2002-03-14 | 2004-06-15 | General Motors Corporation | Fuel cell monitor connector |
Family Cites Families (10)
| Publication number | Priority date | Publication date | Assignee | Title |
|---|---|---|---|---|
| US2169962A (en) * | 1937-11-30 | 1939-08-15 | Cinch Mfg Corp | Electrical connection |
| GB1053027A (enExample) * | 1963-03-14 | |||
| FR1395879A (fr) * | 1963-03-14 | 1965-04-16 | Sperry Rand Corp | Connecteur électrique et son procédé de fabrication |
| US3277426A (en) * | 1964-04-30 | 1966-10-04 | Amphenol Corp | Cable connectors and methods for the manufacture thereof |
| US4008939A (en) * | 1973-05-18 | 1977-02-22 | Amp Incorporated | Axially cammed housing for low insertion force connector |
| US4208083A (en) * | 1977-03-04 | 1980-06-17 | Trw Inc. | Solderless electrical connector |
| US4176900A (en) * | 1977-12-23 | 1979-12-04 | Everett/Charles, Inc. | Low insertion force connector |
| JPS6044789B2 (ja) * | 1978-03-20 | 1985-10-05 | 富士通株式会社 | 圧接型コネクタ |
| US4235500A (en) * | 1978-11-08 | 1980-11-25 | Trw Inc. | Circuit connector |
| DE3021283C2 (de) * | 1980-06-06 | 1983-11-24 | Krone Gmbh, 1000 Berlin | Anschlußeinheit als Anschlußleiste und/oder als druckdichtes Kabelabschlußgerät für PCM-Kabel |
-
1981
- 1981-09-04 FR FR8116840A patent/FR2512595A1/fr active Granted
-
1982
- 1982-08-31 DE DE8282107994T patent/DE3273697D1/de not_active Expired
- 1982-08-31 US US06/413,320 patent/US4469385A/en not_active Expired - Fee Related
- 1982-08-31 EP EP82107994A patent/EP0074061B1/fr not_active Expired
- 1982-09-03 CA CA000410768A patent/CA1175514A/fr not_active Expired
Also Published As
| Publication number | Publication date |
|---|---|
| CA1175514A (fr) | 1984-10-02 |
| DE3273697D1 (en) | 1986-11-13 |
| EP0074061A1 (fr) | 1983-03-16 |
| FR2512595A1 (fr) | 1983-03-11 |
| US4469385A (en) | 1984-09-04 |
| FR2512595B1 (enExample) | 1983-10-21 |
Similar Documents
| Publication | Publication Date | Title |
|---|---|---|
| CA2034494C (fr) | Connecteur electrique pour le raccordement d'un cable multiconducteur blinde a un ensemble electrique place a l'interieur d'un chassis | |
| EP0735629B1 (fr) | Agencement de connexion pour fils conducteurs électriques et module, notamment de type bloc de jonction, équipé d'un tel agencement | |
| EP0683547A1 (fr) | Dispositif de raccordement pour assurer un raccordement par câble coaxial sur un circuit imprimé et circuit imprimé équipé d'un tel dispositif | |
| EP0121467B1 (fr) | Microconnecteur à haute densité de contacts | |
| EP0429036A1 (fr) | Boîtier métallique pour connecteur électrique | |
| FR2514560A1 (fr) | Ensemble de support de circuit integre | |
| EP0684662A1 (fr) | Connecteur autodénudant | |
| FR2538963A1 (fr) | Connecteur electrique | |
| EP0311537B1 (fr) | Borne de connexion permettant le raccordement de plusieurs câbles électriques de sections différentes entrant d'un même côté de la borne et étant bloqués dans des logements individuels superposés | |
| EP0074061B1 (fr) | Borne modulaire de raccordement électrique | |
| CA1183229A (fr) | Connecteur electrique a couplage multiple et connecteurs multiples de mesure pour cartes de circuits d'equipement electronique monte en chassis en faisant application | |
| CH674598A5 (enExample) | ||
| FR3025947A1 (fr) | Corps isolant pour connecteur debrochable | |
| EP2745661B1 (fr) | Dispositif de connexion electrique, ensemble comprenant un tel dispositif et une carte electronique et procede de connexion electrique d'une carte electronique | |
| EP0308307B1 (fr) | Dispositif de liaison séparable entre une broche conductrice et au moins un fil de connexion | |
| EP0062579B1 (fr) | Dispositif de connexion | |
| FR2703192A1 (fr) | Assemblage d'un connecteur à fiche et d'une prise complémentaire pour câble coaxial. | |
| EP2503644B1 (fr) | Appareil électrique du type bloc de jonction | |
| EP0251909B1 (fr) | Elément de connexion pour câble électrique monoconducteur à connexion axiale | |
| EP0852824A1 (fr) | Dispositif de connexion d'au moins deux fils conducteurs gaines | |
| EP0891627B1 (fr) | Dispositif modulaire de commutation electrique | |
| WO1986003063A1 (fr) | Dispositif de connexion | |
| FR2569047A1 (fr) | Porte-fusible antichoc | |
| FR2762145A1 (fr) | Procede et dispositif de mise en contact d'une patte avec un ruban conducteur | |
| EP1255327A1 (fr) | Elément de connecteur électrique coaxial |
Legal Events
| Date | Code | Title | Description |
|---|---|---|---|
| PUAI | Public reference made under article 153(3) epc to a published international application that has entered the european phase |
Free format text: ORIGINAL CODE: 0009012 |
|
| AK | Designated contracting states |
Designated state(s): BE DE FR GB IT LU NL SE |
|
| 17P | Request for examination filed |
Effective date: 19830823 |
|
| RAP1 | Party data changed (applicant data changed or rights of an application transferred) |
Owner name: ALCATEL |
|
| GRAA | (expected) grant |
Free format text: ORIGINAL CODE: 0009210 |
|
| AK | Designated contracting states |
Kind code of ref document: B1 Designated state(s): BE DE FR GB IT LU NL SE |
|
| PG25 | Lapsed in a contracting state [announced via postgrant information from national office to epo] |
Ref country code: NL Effective date: 19861008 Ref country code: IT Free format text: LAPSE BECAUSE OF FAILURE TO SUBMIT A TRANSLATION OF THE DESCRIPTION OR TO PAY THE FEE WITHIN THE PRESCRIBED TIME-LIMIT;WARNING: LAPSES OF ITALIAN PATENTS WITH EFFECTIVE DATE BEFORE 2007 MAY HAVE OCCURRED AT ANY TIME BEFORE 2007. THE CORRECT EFFECTIVE DATE MAY BE DIFFERENT FROM THE ONE RECORDED. Effective date: 19861008 |
|
| REF | Corresponds to: |
Ref document number: 3273697 Country of ref document: DE Date of ref document: 19861113 |
|
| NLV1 | Nl: lapsed or annulled due to failure to fulfill the requirements of art. 29p and 29m of the patents act | ||
| PLBE | No opposition filed within time limit |
Free format text: ORIGINAL CODE: 0009261 |
|
| STAA | Information on the status of an ep patent application or granted ep patent |
Free format text: STATUS: NO OPPOSITION FILED WITHIN TIME LIMIT |
|
| PG25 | Lapsed in a contracting state [announced via postgrant information from national office to epo] |
Ref country code: LU Free format text: LAPSE BECAUSE OF NON-PAYMENT OF DUE FEES Effective date: 19870831 |
|
| PG25 | Lapsed in a contracting state [announced via postgrant information from national office to epo] |
Ref country code: SE Effective date: 19870901 |
|
| 26N | No opposition filed | ||
| BERE | Be: lapsed |
Owner name: ALCATEL Effective date: 19870831 |
|
| PG25 | Lapsed in a contracting state [announced via postgrant information from national office to epo] |
Ref country code: DE Effective date: 19880503 |
|
| GBPC | Gb: european patent ceased through non-payment of renewal fee | ||
| PG25 | Lapsed in a contracting state [announced via postgrant information from national office to epo] |
Ref country code: GB Free format text: LAPSE BECAUSE OF NON-PAYMENT OF DUE FEES Effective date: 19881121 |
|
| PG25 | Lapsed in a contracting state [announced via postgrant information from national office to epo] |
Ref country code: FR Effective date: 19890831 Ref country code: BE Effective date: 19890831 |
|
| REG | Reference to a national code |
Ref country code: FR Ref legal event code: ST |
|
| EUG | Se: european patent has lapsed |
Ref document number: 82107994.4 Effective date: 19880907 |