EP0040781B1 - Sectionneur de poste blindé à haute tension - Google Patents
Sectionneur de poste blindé à haute tension Download PDFInfo
- Publication number
- EP0040781B1 EP0040781B1 EP19810103784 EP81103784A EP0040781B1 EP 0040781 B1 EP0040781 B1 EP 0040781B1 EP 19810103784 EP19810103784 EP 19810103784 EP 81103784 A EP81103784 A EP 81103784A EP 0040781 B1 EP0040781 B1 EP 0040781B1
- Authority
- EP
- European Patent Office
- Prior art keywords
- contact
- tip
- diameter
- disconnecting switch
- hemispheric
- Prior art date
- Legal status (The legal status is an assumption and is not a legal conclusion. Google has not performed a legal analysis and makes no representation as to the accuracy of the status listed.)
- Expired
Links
- 239000002184 metal Substances 0.000 claims description 5
- 210000003739 neck Anatomy 0.000 description 9
- 230000005684 electric field Effects 0.000 description 5
- 239000007789 gas Substances 0.000 description 5
- 239000012212 insulator Substances 0.000 description 4
- 229910018503 SF6 Inorganic materials 0.000 description 2
- 239000000969 carrier Substances 0.000 description 2
- SFZCNBIFKDRMGX-UHFFFAOYSA-N sulfur hexafluoride Chemical compound FS(F)(F)(F)(F)F SFZCNBIFKDRMGX-UHFFFAOYSA-N 0.000 description 2
- 229960000909 sulfur hexafluoride Drugs 0.000 description 2
- 235000019568 aromas Nutrition 0.000 description 1
- 230000006835 compression Effects 0.000 description 1
- 238000007906 compression Methods 0.000 description 1
- 239000000470 constituent Substances 0.000 description 1
- 230000000694 effects Effects 0.000 description 1
- 239000003517 fume Substances 0.000 description 1
- 238000009434 installation Methods 0.000 description 1
- 230000037452 priming Effects 0.000 description 1
- 230000001681 protective effect Effects 0.000 description 1
- 238000000926 separation method Methods 0.000 description 1
Images
Classifications
-
- H—ELECTRICITY
- H01—ELECTRIC ELEMENTS
- H01H—ELECTRIC SWITCHES; RELAYS; SELECTORS; EMERGENCY PROTECTIVE DEVICES
- H01H33/00—High-tension or heavy-current switches with arc-extinguishing or arc-preventing means
- H01H33/02—Details
- H01H33/24—Means for preventing discharge to non-current-carrying parts, e.g. using corona ring
Definitions
- the invention relates to a high voltage shielded substation disconnector in a coaxial metal casing filled with compressed dielectric gas, said disconnector comprising a movable contact, cooperating with a fixed contact, said contacts being each carried by a fixed tubular contact holder coaxial with the 'envelope, the opposite ends of the contact carriers being each provided with a substantially hemispherical corona hood having a re-entrant cylindrical neck intended for the passage of the associated contact, said movable contact having a hemispherical tip.
- Patent CH-A-399,569 illustrates a known embodiment of contacts with hemispherical tips.
- a disconnector only cuts and establishes very low currents, generally capacitive currents corresponding to the capacitance of a busbar under voltage.
- a pre-ignition cut-off arc arises. This arc will tend to move under the action of the electric field at the periphery of the corona hoods, then the root of the arc may jump on the metal casing located at a short distance.
- the hailing arc due to the capacitive current then degenerates into a power arc, an earth fault arc, inside the envelope.
- the object of the invention is to provide a slow-action disconnector, in which the fixed and movable contacts and the corona shields have a shape such that the length of the arc is small, the electric field in the vicinity of the axis of the contacts. is also weak and that the arc from its birth and during its development remains in the zone with weak field in the vicinity of the axis.
- the subject of the invention is a disconnector for a shielded substation in a coaxial metal casing filled with compressed dielectric gas, said disconnector comprising a movable contact, cooperating with a fixed contact, said contacts being each carried by a fixed tubular contact carrier coaxial with the casing , the opposite ends of the contact carriers being provided with a substantially hemispherical corona hood having a re-entrant cylindrical neck intended for the passage of the movable contact, said movable contact having a hemispherical tip, the fixed contact comprising a moving contact piece limited to hemispherical tip of the same diameter as that of the tip of the movable contact, characterized in that in the open position, the end of the tip of the contact piece is preferably of limited movement disposed between the threshold inlet of the fume hood and the end of the inscription circle of its hemispherical part.
- the tip of the movable contact being disposed set back from the entry threshold of the cylindrical neck of the corona hood, the distance separating the thresholds of the corona hoods is between 50% and 100% of the diameter of the hemispherical parts.
- the diameter of the cylindrical necks is preferably between 20% and 35% of the diameter of the hemispherical parts.
- FIG. 1 there is shown a portion of an armored substation, made up of tubular metallic envelopes 1, the ends of which have connection flanges 2, between which are insulated isolators 3 which support active parts of the installation arranged coaxially.
- the tubular casings 1 are filled with a dielectric gas such as sulfur hexafluoride under a pressure of three to five bars.
- the envelopes 1 contain the constituent elements of a disconnector, the movable part of which is arranged on the right and the fixed part is arranged on the left.
- the movable part of the disconnector comprises a tubular movable contact 8, coaxial with the casing 1, the visible end of which comprises a hemispherical end piece 9.
- the axial movement of the movable contact 8 is controlled by means of a mechanism not shown under operator dependence.
- the movable contact 8 is placed inside a tubular contact carrier 4 supported by the insulator 3.
- the movable contact 8 is connected to the contact carrier 4 by means of sliding contacts 46 arranged in circular grooves 45 formed inside the contact holder 4.
- a corona hood 7 is disposed between the insulator 3 and the end of the contact holder 4 surrounding the nozzle 9.
- the cover 7 comprises a hemispherical part 70 connecting an envelope cylindrical 71 to a cylindrical neck 72 returning inwards, the cylindrical parts comprise a generator parallel to the axis of the disconnector.
- the fixed part of the disconnector comprises a contact piece with tubular limited movement 13 coaxial with the casing 1, one end of which comprises a hemispherical end piece 14 disposed opposite the end piece 9.
- the part 13 has a collar 15 on its other end subjected to a fixed compression spring 16 which tends to press it against a ring 17 forming a stop.
- a tubular contact carrier 10, disposed around the contact piece 13 and coaxial with the casing 1, is supported by an insulator similar to the insulator 3, not shown in the figure.
- the spring 16 is secured inside the contact carrier 10 which supports on the opposite side a ring of contact fingers 12 capable of cooperating with the contact member with limited movement 13 slidingly arranged along the ring 17.
- a protective cover -effluvia 6 similar to the cover 7 is disposed at the end of the contact carrier 10 and opposite the cover 7.
- the cover 6 thus comprises a hemispherical part 60 connecting a cylindrical envelope 61 to a cylindrical neck 62 returning inwards, the cylindrical parts comprising a generator parallel to the axis of the disconnector.
- the diameters of the cylindrical parts 61 to 71 on the one hand and 62 and 72 on the other hand are equal, while the radii of curvature of the hemispherical parts 60 and 70 are the same.
- the end of the hemispherical end piece 9 of the movable contact 8 is disposed slightly below the entry threshold 73 of the cylindrical neck 72.
- the end of the hemispherical end piece 14 is arranged substantially midway between the entry threshold 63 of the cylindrical neck 62 and what would constitute the end 64 of the sphere of inscription of the hemispherical part 60.
- the movable contact 8 and the end piece 9 are moved from right to left.
- the end piece 9 takes in particular the intermediate position traced in dashes and identified at 59 in this position; the distance between the cover 6 and the end piece 59 is short and a hail arc 20 erupts between these elements.
- the electric field deformed in the vicinity of the end pieces 59 and 14 is represented by the equipotential lines 23 drawn by dashes, in the upper part of FIG. 1.
- the arc 20 remaining substantially parallel to the equipotential lines does not tend to move . They go out when the ferrules 9 and 14 come into galvanic contact.
- the diameter of the hemispherical ends 9 and 14 and of the tubular contacts 8 and 13 is between 20 and 35% of the diameter of the cylindrical parts 71 and 61 of the covers 7 and 6.
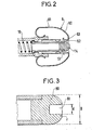
- FIG. 2 there is shown an alternative embodiment of the covers which still gives good results.
- the entry threshold 63 of the cylindrical neck 62 has a flat transverse range, the right end of the cover 6 representing a flat part with a diameter, the outside diameter does not exceed half the diameter of the cylindrical part 61.
- the contact end piece may have a blind hole.
- This arrangement can interest both the end piece 9 and the end piece 14.
- FIG. 3 represents such a end piece 80 comprising a blind hole 81; the edges of the hole are rounded, this allows the arc to be centered, forcing it to hang on the end of the end piece (rounded end of the hole).
- the dimensions of the hole are as follows for the best result: diameter of the hole d between 10 and 30% of the maximum diameter D of the nozzle 80, radius r of the rounding at the end of the hole between 20 and 50% of the hole diameter.
Landscapes
- Arc-Extinguishing Devices That Are Switches (AREA)
- Circuit Breakers (AREA)
Applications Claiming Priority (2)
| Application Number | Priority Date | Filing Date | Title |
|---|---|---|---|
| FR8011510 | 1980-05-23 | ||
| FR8011510A FR2483121A1 (fr) | 1980-05-23 | 1980-05-23 | Sectionneur de poste blinde a haute tension |
Publications (2)
| Publication Number | Publication Date |
|---|---|
| EP0040781A1 EP0040781A1 (fr) | 1981-12-02 |
| EP0040781B1 true EP0040781B1 (fr) | 1984-09-19 |
Family
ID=9242268
Family Applications (1)
| Application Number | Title | Priority Date | Filing Date |
|---|---|---|---|
| EP19810103784 Expired EP0040781B1 (fr) | 1980-05-23 | 1981-05-18 | Sectionneur de poste blindé à haute tension |
Country Status (4)
| Country | Link |
|---|---|
| EP (1) | EP0040781B1 (enExample) |
| CA (1) | CA1174717A (enExample) |
| DE (1) | DE3166132D1 (enExample) |
| FR (1) | FR2483121A1 (enExample) |
Families Citing this family (9)
| Publication number | Priority date | Publication date | Assignee | Title |
|---|---|---|---|---|
| CH658936A5 (de) * | 1982-08-26 | 1986-12-15 | Bbc Brown Boveri & Cie | Metallgekapseltes hochspannungsschaltgeraet. |
| FR2558301B1 (fr) * | 1984-01-17 | 1986-10-10 | Merlin Gerin | Sectionneur de poste blinde a haute tension equipe d'ecrans para-effluves perfores |
| FR2558300B1 (fr) * | 1984-01-17 | 1986-10-10 | Merlin Gerin | Sectionneur pour poste blinde a haute tension |
| FR2592210B1 (fr) * | 1985-12-20 | 1990-07-27 | Merlin Gerin | Sectionneur d'isolement d'une installation blindee haute tension |
| DE4103119A1 (de) * | 1991-01-31 | 1992-08-06 | Siemens Ag | Druckgasschalter |
| DE4210545A1 (de) * | 1992-03-31 | 1993-10-07 | Asea Brown Boveri | Trennschalter für eine metallgekapselte gasisolierte Hochspannungsanlage |
| FR2758916B1 (fr) * | 1997-01-30 | 1999-04-02 | Gec Alsthom T & D Sa | Capot pare effluves |
| EP2696361B1 (en) * | 2012-08-09 | 2017-03-29 | ABB Schweiz AG | Gas-insulated disconnector with shield |
| FR3002364B1 (fr) * | 2013-02-20 | 2016-08-19 | Alstom Technology Ltd | Appareillage electrique comportant une electrode mobile |
Family Cites Families (8)
| Publication number | Priority date | Publication date | Assignee | Title |
|---|---|---|---|---|
| US2196008A (en) * | 1937-07-06 | 1940-04-02 | Gen Electric | Shielded contact construction for circuit breakers |
| CA572848A (en) * | 1954-10-04 | 1959-03-24 | H. Rugg Harold | Disconnecting switch |
| FR83183E (fr) * | 1962-11-30 | 1964-06-26 | Comp Generale Electricite | Cellules blindées à haute tension avec dispositif de sectionnement |
| DE1540513A1 (de) * | 1965-08-19 | 1970-01-08 | Siemens Ag | Druckgasisolierte Hochspannungsschaltanlage |
| US3356798A (en) * | 1965-12-13 | 1967-12-05 | Westinghouse Electric Corp | Disconnect switch |
| US4029923A (en) * | 1976-01-15 | 1977-06-14 | Westinghouse Electric Corporation | Magnetizing current switch |
| US4107498A (en) * | 1976-01-15 | 1978-08-15 | Westinghouse Electric Corp. | Disconnect switch and drive mechanism therefor |
| FR2344987A1 (fr) * | 1976-03-15 | 1977-10-14 | Merlin Gerin | Sectionneur de mise a la terre pour poste blinde a haute tension |
-
1980
- 1980-05-23 FR FR8011510A patent/FR2483121A1/fr active Granted
-
1981
- 1981-05-18 EP EP19810103784 patent/EP0040781B1/fr not_active Expired
- 1981-05-18 DE DE8181103784T patent/DE3166132D1/de not_active Expired
- 1981-05-22 CA CA000378145A patent/CA1174717A/fr not_active Expired
Also Published As
| Publication number | Publication date |
|---|---|
| DE3166132D1 (en) | 1984-10-25 |
| EP0040781A1 (fr) | 1981-12-02 |
| CA1174717A (fr) | 1984-09-18 |
| FR2483121B1 (enExample) | 1982-12-17 |
| FR2483121A1 (fr) | 1981-11-27 |
Similar Documents
| Publication | Publication Date | Title |
|---|---|---|
| EP0388323B1 (fr) | Disjoncteur électrique à auto-expansion et à gaz isolant | |
| EP0385886B1 (fr) | Disjoncteur à arc tournant et à effet centrifuge du gaz d'extinction | |
| EP0543681B1 (fr) | Disjoncteur à moyenne tension pour l'intérieur ou l'extérieur | |
| EP0040781B1 (fr) | Sectionneur de poste blindé à haute tension | |
| CH634949A5 (fr) | Dispositif d'insertion d'une resistance a la seule fermeture d'un appareil d'interruption. | |
| CA2053951C (fr) | Disjoncteur a sf6 a condensateur incorpore | |
| FR2491675A1 (fr) | Dispositif de coupure a double mouvement des contacts | |
| CA2095896C (fr) | Sectionneur de terre a ouverture perpendiculaire | |
| FR2512267A1 (fr) | Disjoncteur a gaz comprime muni de resistances d'ouverture et de fermeture | |
| CA2206950C (fr) | Disjoncteur a haute tension avec insertion de resistance a la fermeture. | |
| FR2576143A1 (fr) | Disjoncteur a haute tension, a gaz comprime, a energie de manoeuvre assistee par l'effet thermique de l'arc et a double mouvement | |
| EP0759629B1 (fr) | Disjoncteur muni d'une résistance de fermeture avec dispositif d'insertion | |
| FR2814275A1 (fr) | Disjoncteur a isolation au gaz avec un transformateur de courant electronique integre | |
| CA2117836C (fr) | Disjoncteur a haute tension capable de couper des courants de defaut a passage par zero retarde | |
| EP0398213B1 (fr) | Disjoncteur à moyenne tension à courant nominal élevé | |
| EP0236641B1 (fr) | Sectionneur d'isolement d'une installation blindée haute tension | |
| EP2633538A1 (fr) | Appareillage electrique sous enveloppe metallique comportant au moins un capot pare-effluve assurant des echanges convectifs | |
| CH675651A5 (en) | High-tension circuit breaker with closing resistor | |
| EP1512160B1 (fr) | Poste blinde a haute tension comprenant un disjoncteur avec une resistance d insertion montee dans une barre conductrice | |
| FR2558300A1 (fr) | Sectionneur pour poste blinde a haute tension | |
| EP0823721B1 (fr) | Disjoncteur à arc tournant et à expansion | |
| FR2737937A1 (fr) | Disjoncteur a double mouvement avec resistance de fermeture | |
| EP2144263A1 (fr) | Appareillage électrique sous enveloppe metallique a gradient de tension reduit | |
| CH273219A (fr) | Appareillage blindé tubulaire. | |
| FR2629944A1 (fr) | Disjoncteur blinde a haute tension |
Legal Events
| Date | Code | Title | Description |
|---|---|---|---|
| PUAI | Public reference made under article 153(3) epc to a published international application that has entered the european phase |
Free format text: ORIGINAL CODE: 0009012 |
|
| AK | Designated contracting states |
Designated state(s): DE GB IT |
|
| 17P | Request for examination filed |
Effective date: 19820526 |
|
| ITF | It: translation for a ep patent filed | ||
| GRAA | (expected) grant |
Free format text: ORIGINAL CODE: 0009210 |
|
| AK | Designated contracting states |
Designated state(s): DE GB IT |
|
| REF | Corresponds to: |
Ref document number: 3166132 Country of ref document: DE Date of ref document: 19841025 |
|
| PLBE | No opposition filed within time limit |
Free format text: ORIGINAL CODE: 0009261 |
|
| STAA | Information on the status of an ep patent application or granted ep patent |
Free format text: STATUS: NO OPPOSITION FILED WITHIN TIME LIMIT |
|
| 26N | No opposition filed | ||
| ITTA | It: last paid annual fee | ||
| PGFP | Annual fee paid to national office [announced via postgrant information from national office to epo] |
Ref country code: GB Payment date: 19940422 Year of fee payment: 14 |
|
| PGFP | Annual fee paid to national office [announced via postgrant information from national office to epo] |
Ref country code: DE Payment date: 19940526 Year of fee payment: 14 |
|
| PG25 | Lapsed in a contracting state [announced via postgrant information from national office to epo] |
Ref country code: GB Effective date: 19950518 |
|
| GBPC | Gb: european patent ceased through non-payment of renewal fee |
Effective date: 19950518 |
|
| PG25 | Lapsed in a contracting state [announced via postgrant information from national office to epo] |
Ref country code: DE Effective date: 19960201 |