CN2905918Y - Water-saving tank-type washstand for buildings - Google Patents

Water-saving tank-type washstand for buildings Download PDF

Info

Publication number
CN2905918Y
CN2905918Y CN200620078865.0U CN200620078865U CN2905918Y CN 2905918 Y CN2905918 Y CN 2905918Y CN 200620078865 U CN200620078865 U CN 200620078865U CN 2905918 Y CN2905918 Y CN 2905918Y
Authority
CN
China
Prior art keywords
water
storing bin
washstand
hole
washing
Prior art date
Legal status (The legal status is an assumption and is not a legal conclusion. Google has not performed a legal analysis and makes no representation as to the accuracy of the status listed.)
Expired - Fee Related
Application number
CN200620078865.0U
Other languages
Chinese (zh)
Inventor
尚九平
王晓彤
林厚秦
Current Assignee (The listed assignees may be inaccurate. Google has not performed a legal analysis and makes no representation or warranty as to the accuracy of the list.)
Lanzhou University of Technology
Original Assignee
Lanzhou University of Technology
Priority date (The priority date is an assumption and is not a legal conclusion. Google has not performed a legal analysis and makes no representation as to the accuracy of the date listed.)
Filing date
Publication date
Application filed by Lanzhou University of Technology filed Critical Lanzhou University of Technology
Priority to CN200620078865.0U priority Critical patent/CN2905918Y/en
Application granted granted Critical
Publication of CN2905918Y publication Critical patent/CN2905918Y/en
Anticipated expiration legal-status Critical
Expired - Fee Related legal-status Critical Current

Links

Images

Classifications

    • YGENERAL TAGGING OF NEW TECHNOLOGICAL DEVELOPMENTS; GENERAL TAGGING OF CROSS-SECTIONAL TECHNOLOGIES SPANNING OVER SEVERAL SECTIONS OF THE IPC; TECHNICAL SUBJECTS COVERED BY FORMER USPC CROSS-REFERENCE ART COLLECTIONS [XRACs] AND DIGESTS
    • Y02TECHNOLOGIES OR APPLICATIONS FOR MITIGATION OR ADAPTATION AGAINST CLIMATE CHANGE
    • Y02ATECHNOLOGIES FOR ADAPTATION TO CLIMATE CHANGE
    • Y02A20/00Water conservation; Efficient water supply; Efficient water use

Landscapes

  • Sanitary Device For Flush Toilet (AREA)

Abstract

用于楼房的节水箱式盥洗台,对废水进行沉淀、过滤,同时可以储存废水,以满足冲洗厕所的需要,支撑盥洗台的支墩为水箱,水箱的盖子由盥洗槽和挡水板组成,水箱分成两个蓄水仓,盥洗槽分为两个盥洗分槽,盥洗分槽为蓄水仓的盖子,盥洗分槽上开有引导废水流入蓄水仓的进水孔,两个蓄水仓之间的隔板上开有过水孔,在左边的蓄水仓的另一侧仓壁上开有三个孔,其中通厕孔与所在楼房的下一层的卫生间冲厕水管相连,溢流孔与下水管道连接,自来水接孔与自来水管连接。

Figure 200620078865

The water-saving tank-type washstand used in buildings can precipitate and filter waste water, and at the same time store waste water to meet the needs of flushing toilets. The pier supporting the washstand is a water tank, and the cover of the water tank is composed of a washbasin and a water retaining plate , the water tank is divided into two water storage bins, the washbasin is divided into two wash sub-tanks, the wash sub-trough is the cover of the water storage bin, and there is a water inlet hole on the wash sub-trough to guide the waste water into the water storage bin, and the two water storage tanks There are water holes on the partition between the warehouses, and three holes are opened on the other side of the warehouse wall on the left side of the water storage warehouse. Among them, the toilet hole is connected with the toilet flushing water pipe on the next floor of the building where it is located. The orifice is connected with the sewer pipe, and the tap water connection hole is connected with the tap water pipe.

Figure 200620078865

Description

The box washstand of water saving that is used for building
Technical field
The utility model relates to a kind of building water saving fixtures.
Background technology
Lavatory in public building such as the student dormitory and washroom are the big facilities of water supply volume, the waste water major part of lavatory is the water of washing clothes and washing one's face etc. and using, through being used for washing the lavatory after the simple precipitation filtration fully, like this, just can make washing wastewater obtain second use, reach the purpose of water saving.
Summary of the invention
The utility model provides a kind of water saving box washstand, in the water tank type washstand waste water is precipitated, filters, and can store waste water simultaneously, to satisfy the needs in flushing lavatory.
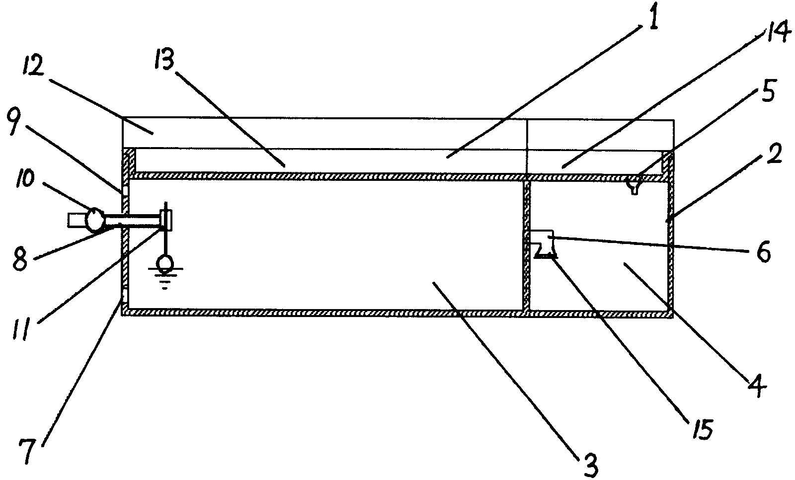
The utility model is the box washstand of water saving that is used for building, buttress by washstand and support washstand is formed, the buttress that supports washstand is water tank (2), the lid of water tank (2) is made up of washing trough (1) and watertight shutter (12), water tank (2) is divided into water storing bin (3) and water storing bin (4), washing trough (1) is divided into two washings and divides groove (13,14), it is the lid of water storing bin (3) that washing divides groove (13), it is the lid of water storing bin (4) that washing divides groove (14), washing divides the inlet opening (5) that has guiding waste water inflow water storing bin (4) on the groove (14), have water hole (6) on the dividing plate between water storing bin (3) and the water storing bin (4), on the opposite side bulkhead of water storing bin (3), have three holes (7,8,9), wherein toilet dredging hole (7) and the washroom of following one deck of place building the water pipe of flushing the toilet links to each other, spout hole (9) is connected with sewer pipe, and tap water connects hole (8) and is connected with running water pipe.
Connect an installation flap valve (10) between the hole (8) at running water pipe joint and tap water, the tap water in water storing bin (3) connects hole (8) and goes up an installation float valve (11).
Screen pack (15) is installed on water hole (6).
The beneficial effects of the utility model are: the washstand in the public building is combined with the waste water water storage box, make waste water obtain second use, reach the purpose of water saving, water-saving result is remarkable, and washstand made an integral product, be convenient to suitability for industrialized production, construction and installation are simple, and the waterproof of lavatory flooring, metope is also had certain positive role.
Description of drawings
Below in conjunction with accompanying drawing the utility model is further specified
Fig. 1 looks sectional view for water tank type washstand master, Fig. 2 be among Fig. 1 A-A to sectional view, Fig. 1 also be among Fig. 2 B-B to sectional view.
The specific embodiment
As shown in Figure 1, 2, divide groove (13) and washing to divide groove (14) and coupled watertight shutter to form by washing, it is the lid of water storing bin (3) that washing divides groove (13), washing trough (14) is the lid of water storing bin (4), washing trough purpose divided into two parts mainly is the convenient water tank cleaning foreign material of opening respectively, water storing bin (4) need often be opened the cleaning foreign material as precipitation and water tank with strainer, and water storing bin (3) can be opened the cleaning foreign material in longer cycle.It is in order to prevent that the water that splashes in the washing trough (1) from flowing down along metope, causes metope and leakage on floor surface water that watertight shutter (12) is made integral body with washing trough (1).The collection that washing wastewater divides groove (13) and washing to divide groove (14) by washing, water inlet (5) from washing trough (14) injects water storing bin (4), through precipitation in water storing bin (4), enter water storing bin (3) by the water hole (6) on the dividing plate between water storing bin (4) and the water storing bin (3) again, go up downward elbow of installation at water hole (6), at elbow ends a screen pack (15) is installed, downward elbow is used for the floating thing in the waste water is isolated in the water storing bin (4).The washroom that water in the water storing bin (3) inserts one deck under the building of place by its toilet dredging hole (7) of offering of bottom feedwater piping of flushing the toilet.Tap water connects hole (8) and is the tap water inlet, external running water pipe, a flap valve (10) is installed on running water pipe, a float valve (11) is installed in water storing bin (3), the purpose that inserts tap water is when preventing that waste water is not enough in the water storing bin (3), replenish by tap water, keep the water in the water storing bin (3) constantly can satisfy the flushing supply needs, float valve (11) is used for controlling the water level that injects tap water, the effect of flap valve (10) is to prevent that waste water blows back in the running water pipe in the water storing bin (3), causes the pollution to tap water.Spout hole (9) links to each other with sewer pipe, and purpose is directly to drain when waste water is too much, avoids waste water to overflow water storing bin (3) and water storing bin (4), influences the health of lavatory.

Claims (3)

1, the box washstand of water saving that is used for building, buttress by washstand and support washstand is formed, the buttress that it is characterized in that supporting washstand is water tank (2), the lid of water tank (2) is made up of washing trough (1) and watertight shutter (12), water tank (2) is divided into water storing bin (3) and water storing bin (4), washing trough (1) is divided into two washings and divides groove (13,14), it is the lid of water storing bin (3) that washing divides groove (13), it is the lid of water storing bin (4) that washing divides groove (14), washing divides the inlet opening (5) that has guiding waste water inflow water storing bin (4) on the groove (14), have water hole (6) on the dividing plate between water storing bin (3) and the water storing bin (4), on the opposite side bulkhead of water storing bin (3), have three holes (7,8,9), wherein toilet dredging hole (7) and the washroom of following one deck of place building the water pipe of flushing the toilet links to each other, spout hole (9) is connected with sewer pipe, and tap water connects hole (8) and is connected with running water pipe.
2, the box washstand of water saving that is used for building according to claim 1, it is characterized in that connecing an installation flap valve (10) between the hole (8) at running water pipe joint and tap water, the tap water in water storing bin (3) connects hole (8) and goes up an installation float valve (11).
3, the box washstand of water saving that is used for building according to claim 1 is characterized in that being equipped with screen pack (15) on water hole (6).
CN200620078865.0U 2006-04-21 2006-04-21 Water-saving tank-type washstand for buildings Expired - Fee Related CN2905918Y (en)

Priority Applications (1)

Application Number Priority Date Filing Date Title
CN200620078865.0U CN2905918Y (en) 2006-04-21 2006-04-21 Water-saving tank-type washstand for buildings

Applications Claiming Priority (1)

Application Number Priority Date Filing Date Title
CN200620078865.0U CN2905918Y (en) 2006-04-21 2006-04-21 Water-saving tank-type washstand for buildings

Publications (1)

Publication Number Publication Date
CN2905918Y true CN2905918Y (en) 2007-05-30

Family

ID=38114553

Family Applications (1)

Application Number Title Priority Date Filing Date
CN200620078865.0U Expired - Fee Related CN2905918Y (en) 2006-04-21 2006-04-21 Water-saving tank-type washstand for buildings

Country Status (1)

Country Link
CN (1) CN2905918Y (en)

Cited By (2)

* Cited by examiner, † Cited by third party
Publication number Priority date Publication date Assignee Title
PT107792A (en) * 2017-01-28 2016-01-21 João Pedro Da Silva Gomes DUAL RESERVOIR SANITARY AUTOCLISM WITH DOUBLE HYDRAULIC SUPPLY TO AVOID WASTE OF WATER.
CN109625427A (en) * 2018-11-15 2019-04-16 程晓洁 Foods packing machine counterdie tensioning apparatus

Cited By (2)

* Cited by examiner, † Cited by third party
Publication number Priority date Publication date Assignee Title
PT107792A (en) * 2017-01-28 2016-01-21 João Pedro Da Silva Gomes DUAL RESERVOIR SANITARY AUTOCLISM WITH DOUBLE HYDRAULIC SUPPLY TO AVOID WASTE OF WATER.
CN109625427A (en) * 2018-11-15 2019-04-16 程晓洁 Foods packing machine counterdie tensioning apparatus

Similar Documents

Publication Publication Date Title
CN2905918Y (en) Water-saving tank-type washstand for buildings
CN202000412U (en) Multifunctional water economizer
CN207727649U (en) A kind of use in toilet water-saving device
CN202157384U (en) Water-saving device for rest room
CN206467711U (en) A system for flushing toilets after reclaimed water and rainwater collection
CN205046645U (en) Toilet bowl and basin of washing one's face and rinsing one's mouth
CN204983041U (en) Water saving system is recycled in classification of bathroom sanitary wastewater
CN201762789U (en) Household water-saving toilet water tank
CN102943509B (en) Modular same floor drainage water-saving device
CN207512850U (en) A kind of intermediate water tank formula saving toilet
CN217299116U (en) Water-saving device for toilet
CN2818588Y (en) Cistern of toilet, toilet therewith and water saver for toilet and washbasin
CN201043284Y (en) Combination device for reuse of waste water in public washrooms of buildings
CN201141154Y (en) Water-saving mechanism of flush toilet
CN207003582U (en) A kind of Sewage treatment reuse tank
CN2839399Y (en) Divide the pond water-saving toilet pan
CN207525838U (en) A kind of water source secondary use saving toilet
CN2704629Y (en) Water-saving cistern for room
CN217352745U (en) Public toilet water-saving device for teaching building
CN2727255Y (en) Device for flushing toilet closet using washing waste-water in basin
CN202144611U (en) Multi-source flushing device and closetool installed with same
CN201687052U (en) Combined sewage filtering reuse water saving device
CN101979786B (en) A multifunctional water saver
CN2740684Y (en) Secondary utilizing device of waste water from household and hotels
CN2635750Y (en) Apparatus for reusing domestic waste water

Legal Events

Date Code Title Description
C14 Grant of patent or utility model
GR01 Patent grant
C19 Lapse of patent right due to non-payment of the annual fee
CF01 Termination of patent right due to non-payment of annual fee