CN218981819U - Screening installation is smashed to fertilizer - Google Patents
Screening installation is smashed to fertilizer Download PDFInfo
- Publication number
- CN218981819U CN218981819U CN202222959640.8U CN202222959640U CN218981819U CN 218981819 U CN218981819 U CN 218981819U CN 202222959640 U CN202222959640 U CN 202222959640U CN 218981819 U CN218981819 U CN 218981819U
- Authority
- CN
- China
- Prior art keywords
- screening
- crushing
- plate
- box
- fixed
- Prior art date
- Legal status (The legal status is an assumption and is not a legal conclusion. Google has not performed a legal analysis and makes no representation as to the accuracy of the status listed.)
- Expired - Fee Related
Links
Images
Classifications
-
- Y—GENERAL TAGGING OF NEW TECHNOLOGICAL DEVELOPMENTS; GENERAL TAGGING OF CROSS-SECTIONAL TECHNOLOGIES SPANNING OVER SEVERAL SECTIONS OF THE IPC; TECHNICAL SUBJECTS COVERED BY FORMER USPC CROSS-REFERENCE ART COLLECTIONS [XRACs] AND DIGESTS
- Y02—TECHNOLOGIES OR APPLICATIONS FOR MITIGATION OR ADAPTATION AGAINST CLIMATE CHANGE
- Y02A—TECHNOLOGIES FOR ADAPTATION TO CLIMATE CHANGE
- Y02A40/00—Adaptation technologies in agriculture, forestry, livestock or agroalimentary production
- Y02A40/10—Adaptation technologies in agriculture, forestry, livestock or agroalimentary production in agriculture
- Y02A40/20—Fertilizers of biological origin, e.g. guano or fertilizers made from animal corpses
Landscapes
- Fertilizers (AREA)
- Crushing And Pulverization Processes (AREA)
Abstract
本实用新型提供一种有机肥粉碎筛选设备,包括筛选箱,移动刹车轮,筛选腔,粉碎箱,上料漏斗,粉碎辊,粉碎刀片,粉碎电机,分类收集板,可导送筛选架结构以及可分类收集架结构。本实用新型N型导送筛选架,加固板,固定板和筛选导送板的设置,有利于在使用的过程中通过设置N型导送筛选架的角度,提高有机肥的移动速度,从而提高有机肥的筛选效率;N型导送筛选架,加固板,固定板,筛选导送板,U型收集架,分类板,第一导送板和第二导送板以及分类收集板的设置,有利于在使用的过程中通过设置分类收集板和U型收集架以及分类板对筛选的有机肥进行分类工作,方便在使用的过程中扩大有机肥的使用范围。
The utility model provides an organic fertilizer crushing and screening device, which comprises a screening box, a moving brake wheel, a screening chamber, a crushing box, a feeding funnel, a crushing roller, a crushing blade, a crushing motor, a sorting and collecting plate, a guiding and screening frame structure and Sortable collection frame structure. The setting of the N-type guiding and screening frame, the reinforcement plate, the fixing plate and the screening and guiding plate of the utility model is beneficial to improve the moving speed of the organic fertilizer by setting the angle of the N-type guiding and screening frame during use, thereby improving Screening efficiency of organic fertilizer; setting of N-type guiding and screening frame, reinforcement plate, fixed plate, screening guiding plate, U-shaped collecting frame, sorting plate, first guiding plate and second guiding plate, and sorting and collecting plate, It is beneficial to classify the screened organic fertilizers by setting a sorting collection plate, a U-shaped collection frame and a sorting plate during the use process, and it is convenient to expand the use range of the organic fertilizer during the use process.
Description
技术领域technical field
本实用新型属于肥料加工设备技术领域,尤其涉及一种有机肥粉碎筛选设备。The utility model belongs to the technical field of fertilizer processing equipment, in particular to an organic fertilizer crushing and screening equipment.
背景技术Background technique
主要来源于植物和(或)动物,施于土壤以提供植物营养为其主要功能的含碳物料。经生物物质、动植物废弃物、植物残体加工而来,消除了其中的有毒有害物质,富含大量有益物质,包括:多种有机酸、肽类以及包括氮、磷、钾在内的丰富的营养元素。不仅能为农作物提供全面营养,而且肥效长,可增加和更新土壤有机质,促进微生物繁殖,改善土壤的理化性质和生物活性,是绿色食品生产的主要养分;动物排泄物是土地施肥的主要原料,由于排泄物长期堆积,水分过度蒸发,会形成块状,在向田地泼洒时,会造成施肥不均,施肥量过大或过小均会对农作物生长造成影响,另外,在农业育苗时,需要使用筛选后的肥料碎渣,为种子的发芽生长提供营养,现有的有机肥粉碎筛选设备包括底座、收集槽、隔板、支撑板、支撑杆、卡槽、筛网、卡动组件、限位槽、弹簧、卡球、顶板、破碎机构、粉碎壳、第一电机、第一转轴、破碎辊、输送机构、传送壳、第二电机、第二转轴、叶片、料斗,在进行使用的过程中进行筛选时由于有机肥在粉碎后的颗粒不同,分类也不同以适合不同的使用范围以及在使用的过程中粉碎后的有机肥筛分效率底的问题。Carbonaceous materials mainly derived from plants and (or) animals and applied to the soil to provide plant nutrition as their main function. It is processed from biomass, animal and plant waste, and plant residues to eliminate toxic and harmful substances, and is rich in a large number of beneficial substances, including: a variety of organic acids, peptides, and rich nutrients including nitrogen, phosphorus, and potassium. nutritional elements. It can not only provide comprehensive nutrition for crops, but also has a long fertilizer effect. It can increase and renew soil organic matter, promote microbial reproduction, improve soil physical and chemical properties and biological activity, and is the main nutrient for green food production; animal excrement is the main raw material for land fertilization. Due to the long-term accumulation of excrement and excessive evaporation of water, it will form lumps. When it is sprayed on the field, it will cause uneven fertilization. Too much or too little fertilizer will affect the growth of crops. In addition, when raising seedlings in agriculture, it is necessary to Use the screened fertilizer debris to provide nutrients for the germination and growth of seeds. The existing organic fertilizer crushing and screening equipment includes a base, a collection tank, a partition, a support plate, a support rod, a slot, a screen, a clamping component, and a limiter. Position groove, spring, stuck ball, top plate, crushing mechanism, crushing shell, first motor, first rotating shaft, crushing roller, conveying mechanism, conveying shell, second motor, second rotating shaft, blade, hopper, in the process of use Due to the different particles of organic fertilizers after crushing, the classification is also different to suit different application ranges and the problem of low screening efficiency of crushed organic fertilizers in the process of use.
实用新型内容Utility model content
为了解决上述技术问题,本实用新型提供一种有机肥粉碎筛选设备,通过在使用的过程中调整筛分机构的角度,提高有机肥的筛分效率以及在使用的过程中通过对筛分的有机肥进行分类工作,提高有机肥使用范围的目的。In order to solve the above-mentioned technical problems, the utility model provides an organic fertilizer crushing and screening equipment, which can improve the screening efficiency of organic fertilizers by adjusting the angle of the screening mechanism during use and through the screening of organic fertilizers during use. The purpose of classifying fertilizers is to increase the scope of use of organic fertilizers.
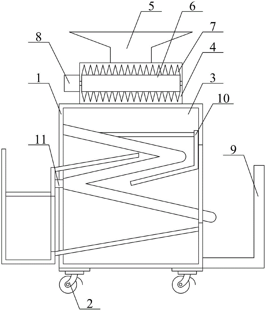
一种有机肥粉碎筛选设备,包括筛选箱,所述的筛选箱的下端四角位置分别螺栓固定有移动刹车轮;所述的筛选箱的内部中间位置设置有筛选腔;所述的筛选箱的上端中间位置螺栓固定有粉碎箱;所述的粉碎箱的上端中间位置螺栓固定有上料漏斗;所述的粉碎箱的内部前面中间位置和内部后面中间位置分别设置有粉碎辊;所述的粉碎辊的外壁从左到右依次螺栓固定有粉碎刀片;所述的粉碎箱的左侧前面和左侧后面分别螺栓固定有粉碎电机;所述的筛选箱的右侧下部螺栓固定有分类收集板,其特征在于,所述的筛选箱的内部设置有可导送筛选架结构;所述的筛选箱的左侧下部设置有可分类收集架结构。An organic fertilizer crushing and screening equipment, comprising a screening box, the four corners of the lower end of the screening box are respectively bolted with movable brake wheels; the inner middle of the screening box is provided with a screening cavity; the upper end of the screening box is A crushing box is fixed by bolts at the middle position; a feeding funnel is fixed by bolts at the upper middle position of the crushing box; crushing rollers are respectively arranged at the inner front middle position and the inner rear middle position of the crushing box; the crushing rollers The outer wall of the screen is bolted with crushing blades from left to right in turn; the left front and left rear of the crushing box are respectively bolted with crushing motors; the lower right side of the screening box is bolted with a classification collection plate, which It is characterized in that the inside of the screening box is provided with a guideable screening frame structure; the left lower part of the screening box is provided with a sortable collection frame structure.
优选的,所述的可导送筛选架结构包括N型导送筛选架,所述的N型导送筛选架的上端前面和上端后面分别螺栓固定有加固板的左端;所述的加固板的右端分别螺栓固定在固定板的左侧上部前面和左侧上部后面;所述的固定板的下端螺栓固定有筛选导送板。Preferably, the structure of the guideable screening frame includes an N-type guiding screening frame, and the left end of the reinforcing plate is respectively bolted to the front and rear of the upper end of the N-type guiding screening frame; The right end is respectively bolted to the left upper front and the left upper rear of the fixed plate; the lower end of the fixed plate is bolted to a screening guide plate.
优选的,所述的可分类收集架结构包括U型收集架,所述的U型收集架的内壁上部螺栓固定有分类板;所述的U型收集架的右侧上部螺栓固定有固定块;所述的U型收集架的右侧上部螺栓固定有第一导送板;所述的U型收集架的右侧下部螺栓固定有第二导送板。Preferably, the sortable collection frame structure includes a U-shaped collection frame, the upper inner wall bolt of the U-shaped collection frame is fixed with a sorting plate; the right upper part of the U-shaped collection frame is fixed with a fixed block; The upper bolt on the right side of the U-shaped collecting frame is fixed with a first guiding plate; the lower bolt on the right side of the U-shaped collecting frame is fixed with a second guiding plate.
与现有技术相比,本实用新型的有益效果为:Compared with the prior art, the beneficial effects of the utility model are:
1.本实用新型中,所述的N型导送筛选架,加固板,固定板和筛选导送板的设置,有利于在使用的过程中通过设置N型导送筛选架的角度,提高有机肥的移动速度,从而提高有机肥的筛选效率。1. In the utility model, the setting of the N-type guiding and screening frame, the reinforcing plate, the fixed plate and the screening and guiding plate is conducive to improving the organic efficiency by setting the angle of the N-type guiding and screening frame during use. The moving speed of fertilizer can improve the screening efficiency of organic fertilizer.
2.本实用新型中,所述的N型导送筛选架,加固板,固定板,筛选导送板,U型收集架,分类板,第一导送板和第二导送板以及分类收集板的设置,有利于在使用的过程中通过设置分类收集板和U型收集架以及分类板对筛选的有机肥进行分类工作,方便在使用的过程中扩大有机肥的使用范围。2. In the utility model, the N-type guiding and screening frame, the reinforcing plate, the fixing plate, the screening guiding plate, the U-shaped collecting frame, the sorting plate, the first guiding plate and the second guiding plate and the sorting collection The setting of the plate is beneficial to classify the screened organic fertilizer by setting the sorting collection plate, the U-shaped collecting rack and the sorting plate in the process of use, and it is convenient to expand the use range of the organic fertilizer in the process of use.
附图说明Description of drawings
图1是本实用新型的结构示意图。Fig. 1 is the structural representation of the utility model.
图2是本实用新型的可导送筛选架结构的结构示意图。Fig. 2 is a structural schematic diagram of the structure of the guideable screening frame of the present invention.
图3是本实用新型的可分类收集架结构的结构示意图。Fig. 3 is a structural schematic diagram of the structure of the sortable collection rack of the present invention.
图中:In the picture:
1、筛选箱;2、移动刹车轮;3、筛选腔;4、粉碎箱;5、上料漏斗;6、粉碎辊;7、粉碎刀片;8、粉碎电机;9、分类收集板;10、可导送筛选架结构;101、N型导送筛选架;102、加固板;103、固定板;104、筛选导送板;11、可分类收集架结构;111、U型收集架;112、分类板;113、固定块;114、第一导送板;115、第二导送板。1. Screening box; 2. Mobile brake wheel; 3. Screening cavity; 4. Crushing box; 5. Feeding funnel; 6. Crushing roller; 7. Crushing blade; 8. Crushing motor; 9. Classification collection plate; 10. Guideable screening frame structure; 101, N type guiding screening frame; 102, reinforcement plate; 103, fixed plate; 104, screening guiding plate; 11, sortable collection frame structure; 111, U-shaped collection frame; 112, Sorting plate; 113, fixed block; 114, first guiding plate; 115, second guiding plate.
具体实施方式Detailed ways
下面结合附图对本实用新型进行具体描述,如附图1和附图2所示,一种有机肥粉碎筛选设备,包括筛选箱1,移动刹车轮2,筛选腔3,粉碎箱4,上料漏斗5,粉碎辊6,粉碎刀片7,粉碎电机8,分类收集板9,可导送筛选架结构10以及可分类收集架结构11,所述的筛选箱1的下端四角位置分别螺栓固定有移动刹车轮2;所述的筛选箱1的内部中间位置设置有筛选腔3;所述的筛选箱1的上端中间位置螺栓固定有粉碎箱4;所述的粉碎箱4的上端中间位置螺栓固定有上料漏斗5;所述的粉碎箱4的内部前面中间位置和内部后面中间位置分别设置有粉碎辊6;所述的粉碎辊6的外壁从左到右依次螺栓固定有粉碎刀片7;所述的粉碎箱4的左侧前面和左侧后面分别螺栓固定有粉碎电机8;所述的筛选箱1的右侧下部螺栓固定有分类收集板9;所述的筛选箱1的内部设置有可导送筛选架结构10;所述的筛选箱1的左侧下部设置有可分类收集架结构11;所述的可导送筛选架结构10包括N型导送筛选架101,加固板102,固定板103和筛选导送板104,所述的N型导送筛选架101的上端前面和上端后面分别螺栓固定有加固板102的左端;所述的加固板102的右端分别螺栓固定在固定板103的左侧上部前面和左侧上部后面;所述的固定板103的下端螺栓固定有筛选导送板104;进行使用时,推动筛选箱1进行移动,将筛选箱1移动至合适的位置,并使用外部导线接通外部电源,然后通过上料漏斗5进行上料工作,使有机肥进入粉碎箱4的内部,通过粉碎电机8带动粉碎辊6和粉碎刀片7进行旋转,对进入的有机肥进行粉碎切割工作,在使粉碎后的有机肥落在N型导送筛选架101的上端,通过N型导送筛选架101上端设置的网片进行有机肥筛选工作,并使筛选后的有机肥落在筛选导送板104的上端,然后经过N型导送筛选架101进行二次筛选工作。Below in conjunction with accompanying drawing, the utility model is described in detail, as shown in accompanying drawing 1 and accompanying
本实施方案中,结合附图3所示,所述的可分类收集架结构11包括U型收集架111,分类板112,固定块113,第一导送板114和第二导送板115,所述的U型收集架111的内壁上部螺栓固定有分类板112;所述的U型收集架111的右侧上部螺栓固定有固定块113;所述的U型收集架111的右侧上部螺栓固定有第一导送板114;所述的U型收集架111的右侧下部螺栓固定有第二导送板115;在对有机肥进行筛选后,使有机肥通过N型导送筛选架101将有机肥输送至分类收集板9的上端,然后对筛选过程中漏出的有机肥分别落在第一导送板114和第二导送板115的上端,然后导送至U型收集架111的内部底端和分类板112的上端,从而完成有机肥粉碎筛选工作。In this embodiment, as shown in Figure 3, the sortable
本实施方案中,具体的,所述的粉碎辊6销轴设置在粉碎箱4的内部;所述的粉碎电机8分别与粉碎辊6传动连接设置;两个所述粉碎辊6外壁设置的粉碎刀片7交错设置;所述的筛选箱1的左右两侧分别开设有出料口。In this embodiment, specifically, the pin shafts of the crushing
本实施方案中,具体的,所述的N型导送筛选架101的上端螺栓固定网片;所述的筛选导送板104设置在N型导送筛选架101的右侧内部中间位置。In this embodiment, specifically, the upper end of the N-type guiding and
本实施方案中,具体的,所述的N型导送筛选架101设置在筛选箱1的内部中间位置;所述的N型导送筛选架101的左端上部和筛选箱1的左侧内壁上部螺栓连接;所述的固定板103和筛选箱1的右侧内壁上部螺栓固定;所述的N型导送筛选架101的右端贯穿筛选箱1的右侧下部。In this embodiment, specifically, the N-type guiding and
本实施方案中,具体的,所述的U型收集架111的右侧下部开设有通孔,且所述分类板112设置在开设的通孔上端;所述的固定块113设置在第一导送板114的下端左侧。In this embodiment, specifically, the lower right side of the U-shaped collecting
本实施方案中,具体的,所述的U型收集架111设置在筛选箱1的左侧下部;所述的第一导送板114和第二导送板115分别贯穿筛选箱1的左侧;所述的第一导送板114设置在N型导送筛选架101的左侧上部;所述的第二导送板115设置在N型导送筛选架101的左侧下端;所述的固定块113贯穿筛选箱1的左侧中间位置,且所述固定块113螺栓连接在N型导送筛选架101的左侧下部。In this embodiment, specifically, the U-shaped
工作原理working principle
本实用新型中,进行使用时,推动筛选箱1进行移动,将筛选箱1移动至合适的位置,并使用外部导线接通外部电源,然后通过上料漏斗5进行上料工作,使有机肥进入粉碎箱4的内部,通过粉碎电机8带动粉碎辊6和粉碎刀片7进行旋转,对进入的有机肥进行粉碎切割工作,在使粉碎后的有机肥落在N型导送筛选架101的上端,通过N型导送筛选架101上端设置的网片进行有机肥筛选工作,并使筛选后的有机肥落在筛选导送板104的上端,然后经过N型导送筛选架101进行二次筛选工作,在对有机肥进行筛选后,使有机肥通过N型导送筛选架101将有机肥输送至分类收集板9的上端,然后对筛选过程中漏出的有机肥分别落在第一导送板114和第二导送板115的上端,然后导送至U型收集架111的内部底端和分类板112的上端,从而完成有机肥粉碎筛选工作。In the utility model, when in use, push the screening box 1 to move, move the screening box 1 to a suitable position, and use an external wire to connect an external power supply, and then carry out the feeding work through the
利用本实用新型所述的技术方案,或本领域的技术人员在本实用新型技术方案的启发下,设计出类似的技术方案,而达到上述技术效果的,均是落入本实用新型的保护范围。Utilize the technical solution described in the utility model, or those skilled in the art design a similar technical solution under the inspiration of the technical solution of the utility model, and achieve the above-mentioned technical effect, all fall into the protection scope of the utility model .
Claims (5)
Priority Applications (1)
| Application Number | Priority Date | Filing Date | Title |
|---|---|---|---|
| CN202222959640.8U CN218981819U (en) | 2022-11-08 | 2022-11-08 | Screening installation is smashed to fertilizer |
Applications Claiming Priority (1)
| Application Number | Priority Date | Filing Date | Title |
|---|---|---|---|
| CN202222959640.8U CN218981819U (en) | 2022-11-08 | 2022-11-08 | Screening installation is smashed to fertilizer |
Publications (1)
| Publication Number | Publication Date |
|---|---|
| CN218981819U true CN218981819U (en) | 2023-05-09 |
Family
ID=86218010
Family Applications (1)
| Application Number | Title | Priority Date | Filing Date |
|---|---|---|---|
| CN202222959640.8U Expired - Fee Related CN218981819U (en) | 2022-11-08 | 2022-11-08 | Screening installation is smashed to fertilizer |
Country Status (1)
| Country | Link |
|---|---|
| CN (1) | CN218981819U (en) |
-
2022
- 2022-11-08 CN CN202222959640.8U patent/CN218981819U/en not_active Expired - Fee Related
Similar Documents
| Publication | Publication Date | Title |
|---|---|---|
| CN103084286A (en) | Straw cutting, crashing and sieving integrated device and method | |
| CN206674498U (en) | A kind of agricultural environmental protection type organic waste crushes fertilizer applicator | |
| CN109644596A (en) | Stalk is organic to utilize all-in-one machine | |
| CN111387011A (en) | Rice seedling raising matrix | |
| CN201801466U (en) | Production device of organic fertilizer | |
| CN104488452A (en) | Machine for straw mixing fertilizer and incorporation | |
| CN206713338U (en) | Towed Cold region apple orchard dry applicator | |
| CN218981819U (en) | Screening installation is smashed to fertilizer | |
| CN207463143U (en) | A kind of agricultural fertilizer producing equipment | |
| CN214178153U (en) | Rice straw crushing and returning equipment | |
| CN204362601U (en) | The mixed fertile also field workover rig of stalk | |
| CN218517403U (en) | Seedling-raising soil pulverizer | |
| CN201756512U (en) | Coated organic fertilizer production device | |
| CN216492127U (en) | Pulverized straw returning device | |
| CN210965404U (en) | Pretreatment equipment for bacterial manure processing | |
| CN205340950U (en) | Crushing screening machine of soil is cultivated to crops seedling | |
| CN113016374B (en) | Straw rotting and returning device | |
| CN213416691U (en) | Production system of plant green manure | |
| CN211329750U (en) | Screening plant is smashed to fertilizer | |
| CN207786742U (en) | A kind of crops stalk crushing device | |
| CN201756514U (en) | Special fertilizer production equipment | |
| CN208960105U (en) | A kind of organic fertilizer pulverizer | |
| CN221890063U (en) | Fertilizer production conveying type breaker | |
| CN221453805U (en) | Environment-friendly engineering solid waste treatment equipment | |
| CN221850855U (en) | A film-soil separation device for a pre-sowing residual film recovery machine |
Legal Events
| Date | Code | Title | Description |
|---|---|---|---|
| GR01 | Patent grant | ||
| GR01 | Patent grant | ||
| CF01 | Termination of patent right due to non-payment of annual fee | ||
| CF01 | Termination of patent right due to non-payment of annual fee |
Granted publication date: 20230509 |
