CN217963986U - Solar photovoltaic panel surface cleaning device - Google Patents
Solar photovoltaic panel surface cleaning device Download PDFInfo
- Publication number
- CN217963986U CN217963986U CN202222017840.1U CN202222017840U CN217963986U CN 217963986 U CN217963986 U CN 217963986U CN 202222017840 U CN202222017840 U CN 202222017840U CN 217963986 U CN217963986 U CN 217963986U
- Authority
- CN
- China
- Prior art keywords
- plate
- solar photovoltaic
- photovoltaic panel
- pump
- dust
- Prior art date
- Legal status (The legal status is an assumption and is not a legal conclusion. Google has not performed a legal analysis and makes no representation as to the accuracy of the status listed.)
- Expired - Fee Related
Links
Images
Landscapes
- Cleaning By Liquid Or Steam (AREA)
Abstract
本实用新型公开了一种太阳能光伏板表面清洁装置,涉及太阳能光伏板领域,包括太阳能光伏板、受力安装板,太阳能光伏板顶部的左端设置有调节清洁机构;所述太阳能光伏板顶部的右端设置有风干除尘装置,抽水泵的顶部通过抽水软管与水源输送泵的顶部活动连接,所述过滤输送板的正面开设有多个清洁口,清洗剂存储箱通过顶部的清洗剂抽取泵与过滤输送板的顶部活动连接,两个所述限位吸尘板的前后两面均螺纹安装有吸尘转动辊。本实用新型所述的一种太阳能光伏板表面清洁装置,通过设置的进水口、抽水泵、过滤输送板、水源输送泵、清洁口、清洁剂喷涂口、吸尘转动辊,达到对太阳能光伏板表面清洁风干除尘的作用。
The utility model discloses a surface cleaning device for a solar photovoltaic panel, which relates to the field of solar photovoltaic panels and includes a solar photovoltaic panel and a stressed installation panel. The left end of the top of the solar photovoltaic panel is provided with an adjustment and cleaning mechanism; An air-drying and dust-removing device is provided, and the top of the suction pump is flexibly connected to the top of the water source delivery pump through a suction hose. There are multiple cleaning ports on the front of the filter delivery plate. The top of the conveying plate is movably connected, and the front and rear sides of the two position-limiting dust-absorbing plates are all threaded with dust-absorbing rotating rollers. A solar photovoltaic panel surface cleaning device described in the utility model, through the set water inlet, water pump, filter conveying plate, water source conveying pump, cleaning port, cleaning agent spraying port, and dust suction rotating roller, can clean the solar photovoltaic panel. The surface is cleaned and air-dried to remove dust.
Description
技术领域technical field
本实用新型涉及太阳能光伏板技术领域,特别涉及一种太阳能光伏板表面清洁装置。The utility model relates to the technical field of solar photovoltaic panels, in particular to a surface cleaning device for solar photovoltaic panels.
背景技术Background technique
太阳能发电在全国各地大面积推广,但由于太阳能光伏板的表面在有灰尘和积水的情况下会降低光伏板的能源转化效率,因此需要经常对光伏板表面进行清理。目现有的针对大型太阳能发电站的光伏板表面清理的装置存在自动化程度高、体积庞大、价格昂贵的问题,不适用于普通的户用太阳能发电的光伏板,而且户用太阳能发电装置一般设置在农户家的屋顶上,大型机械无法进行清理作业。Solar power generation has been widely promoted across the country, but since the surface of solar photovoltaic panels will reduce the energy conversion efficiency of photovoltaic panels if there is dust and water on the surface, it is necessary to clean the surface of photovoltaic panels frequently. At present, the existing devices for cleaning the surface of photovoltaic panels in large-scale solar power stations have the problems of high degree of automation, bulky size, and high price, and are not suitable for ordinary household solar power generation photovoltaic panels, and household solar power generation devices are generally set On the roofs of farmers' homes, large machinery cannot clean up.
在公开号为CN209631675U的专利中提出了一种太阳能光伏板表面清洁装置,在该专利中包括清洁轴、刷筒、清洁刷毛簇、吸水机构、吸水辊、供水管、弧形接水槽、插槽,但是在该专利中还存在以下两个问题:In the patent with the publication number CN209631675U, a solar photovoltaic panel surface cleaning device is proposed, which includes a cleaning shaft, a brush cylinder, a cleaning bristle tuft, a water absorption mechanism, a water absorption roller, a water supply pipe, an arc-shaped water receiving tank, and a slot , but there are also the following two problems in this patent:
1、在清洁的时候全靠双手支撑整个清洁装置,费时费力,不便于使用,同时在对光伏板清洁时,水源利用较大,不便于节约水源,浪费水资源的同时浪费人力物力。1. When cleaning, it is time-consuming and labor-intensive to support the entire cleaning device with both hands, and it is not convenient to use. At the same time, when cleaning the photovoltaic panels, the water source is used more, which is not convenient to save water. It wastes water resources and wastes manpower and material resources.
2、不能对太阳能光伏板自动抽取清洗剂抽取水源进行清洗,使用人力来回的在太阳能光伏板表面进行清洁,清洁后未能及时干的水渍,不能及时的风干除尘,使太阳能光伏板清洁力度不够。2. The solar photovoltaic panel cannot be cleaned by automatically extracting the cleaning agent to extract the water source. Use manpower to clean the surface of the solar photovoltaic panel back and forth. not enough.
针对以上问题,需要设计出一种太阳能光伏板表面清洁装置,从而克服上述问题。In view of the above problems, it is necessary to design a solar photovoltaic panel surface cleaning device to overcome the above problems.
实用新型内容Utility model content
本实用新型的主要目的在于提供一种太阳能光伏板表面清洁装置,可以有效解决背景技术中的问题。The main purpose of the utility model is to provide a solar photovoltaic panel surface cleaning device, which can effectively solve the problems in the background technology.
为实现上述目的,本实用新型采取的技术方案为:In order to achieve the above object, the technical scheme that the utility model takes is:
一种太阳能光伏板表面清洁装置,包括太阳能光伏板、受力安装板,其特征在于:所述太阳能光伏板底部的右端通过支撑柱螺纹安装有受力安装板,所述太阳能光伏板顶部的左端设置有调节清洁机构;所述太阳能光伏板顶部的右端设置有风干除尘装置;A device for cleaning the surface of a solar photovoltaic panel, comprising a solar photovoltaic panel and a stressed mounting plate, characterized in that: the right end of the bottom of the solar photovoltaic panel is threaded with a stressed mounting plate through a support column, and the left end of the top of the solar photovoltaic panel is An adjustment and cleaning mechanism is provided; the right end of the top of the solar photovoltaic panel is provided with an air-drying and dust-removing device;
所述调节清洁机构包括设置在太阳能光伏板底部左端的储水箱,所述储水箱的左侧面开设有进水口,储水箱的正面固定安装有抽水机,所述抽水机的右侧面传动连接有调速阀门,抽水机的顶部固定安装有抽水泵,所述抽水泵的顶部通过抽水软管与水源输送泵的顶部活动连接,太阳能光伏板顶部的前后两端均开设有滑槽,两个所述滑槽的内部滑动安装有清洗剂存储箱,所述清洗剂存储箱通过顶部的清洗剂抽取泵与过滤输送板的顶部活动连接,所述过滤输送板的正面开设有多个清洁口;The adjustment and cleaning mechanism includes a water storage tank arranged at the left end of the bottom of the solar photovoltaic panel. A water inlet is provided on the left side of the water storage tank. A water pump is fixedly installed on the front of the water storage tank. The top of the water pump is fixedly installed with a water pump, and the top of the water pump is movably connected to the top of the water source delivery pump through a water hose. A cleaning agent storage box is slidably installed inside the tank, and the cleaning agent storage box is flexibly connected to the top of the filter conveying plate through the cleaning agent pumping pump on the top, and a plurality of cleaning ports are provided on the front of the filter conveying plate;
所述风干除尘装置包括设置在太阳能光伏板的前后两面的导轨,所述导轨的正面滑动安装有滑板,两个所述滑板正面的左右连灯管均滑动安装有限位吸尘板,两个所述限位吸尘板的前后两面均螺纹安装有吸尘转动辊,受力安装板顶部的中部固定安装有蓄电池板。The air-drying and dedusting device includes guide rails arranged on the front and rear sides of the solar photovoltaic panel. A slide plate is slidably installed on the front of the guide rail, and the left and right lamp tubes on the front of the two slide plates are all slidably installed with limited dust-absorbing plates. The front and rear sides of the position-limiting dust-absorbing plate are all screw-mounted with dust-absorbing rotating rollers, and the middle part of the force-bearing mounting plate top is fixedly equipped with a storage battery plate.
优选的,所述抽水泵的顶部活动安装有抽水软管,所述抽水软管远离抽水泵的另一端与水源输送泵的顶部活动连接,所述清洗剂存储箱的左右两侧面均滑动安装有过滤输送板,所述过滤输送板的后面固定安装有缓冲泵,其缓冲泵通过抽水软管与水源输送泵活动连接,且通过抽水软管与抽水泵活动连接。Preferably, a suction hose is movably installed on the top of the water pump, and the other end of the water suction hose away from the water pump is movably connected to the top of the water supply pump, and the left and right sides of the cleaning agent storage box are slidingly installed with A filter conveying plate, a buffer pump is fixedly installed behind the filter conveying plate, and the buffer pump is movably connected to the water source conveying pump through a suction hose, and is movably connected to the water pump through a suction hose.
优选的,所述过滤输送板前后两面的中部固定安装有输送板,所述输送板的顶部固定安装有三个水源输送泵,所述输送板通过水源输送泵与抽水软管活动连接,所述输送板的底部开设有多个清洁口,其清洁口通过水源输送泵与抽水软管底部的抽水泵活动连接。Preferably, a conveying plate is fixedly installed in the middle of the front and rear sides of the filter conveying plate, and three water source conveying pumps are fixedly installed on the top of the conveying plate, and the conveying plate is movably connected with a suction hose through a water source conveying pump, and the The bottom of the plate is provided with a plurality of cleaning ports, and the cleaning ports are movably connected with the water pump at the bottom of the suction hose through the water source delivery pump.
优选的,所述过滤输送板的底部套接有清洗板,所述清洗板的底部开设有多个清洁剂喷涂口,所述输送板的顶部套接有输送软管,所述输送软管远离两个过滤输送板的另一端与清洗剂抽取泵的顶部活动连接,所述清洗剂抽取泵固定安装在清洗剂存储箱的顶部,其多个清洁剂喷涂口通输送软管与清洗剂抽取泵底部的清洗剂存储箱活动连接。Preferably, the bottom of the filter delivery plate is sleeved with a cleaning plate, the bottom of the cleaning plate is provided with a plurality of cleaning agent spray ports, the top of the delivery plate is sleeved with a delivery hose, and the delivery hose is away from The other ends of the two filter conveying plates are movably connected to the top of the cleaning agent extraction pump, and the cleaning agent extraction pump is fixedly installed on the top of the cleaning agent storage tank, and its multiple cleaning agent spraying ports are connected to the cleaning agent extraction pump through the delivery hose. The detergent storage tank at the bottom is articulated.
优选的,所述限位吸尘板的前后两面均固定安装有集尘箱,所述集尘箱通过吸尘转动辊与吸尘条板活动连接,所述吸尘转动辊的外壁开设有读个吸尘条板,其限位吸尘板通过限位吸尘板与滑板滑动连接与导轨滑动连接。Preferably, dust collecting boxes are fixedly installed on the front and rear sides of the position-limiting dust-absorbing plate, and the dust-collecting box is movably connected with the dust-absorbing slats through the dust-absorbing rotating roller, and a reading device is provided on the outer wall of the dust-absorbing rotating roller. A dust-absorbing bar, the limit dust-absorbing plate is slidably connected with the guide rail through the limit-limit dust-absorbing plate and the sliding connection of the slide plate.
优选的,所述导轨与滑板滑动连接与滑槽、清洗剂存储箱滑动连接互不打扰,限位吸尘板与滑板呈上下滑动运动,滑槽与清洗剂存储箱呈左右滑动,所述清洗剂存储箱通过滑槽与活动槽在太阳能光伏板的顶部滑动,所述太阳能光伏板顶部的左右两端开设有活动槽。Preferably, the sliding connection between the guide rail and the sliding plate and the sliding connection between the chute and the cleaning agent storage box do not disturb each other, the limit dust suction plate and the sliding plate slide up and down, the chute and the cleaning agent storage box slide left and right, The agent storage box slides on the top of the solar photovoltaic panel through the chute and the movable groove, and the left and right ends of the top of the solar photovoltaic panel are provided with movable grooves.
有益效果Beneficial effect
与现有技术相比,本实用新型具有如下有益效果:Compared with the prior art, the utility model has the following beneficial effects:
1、该太阳能光伏板表面清洁装置,通过设置的进水口、调速阀门、清洁口、清洁剂喷涂口,目的在于通过进水口将雨水收集在储水箱的内部,便于二次利用节省水资源,滑槽与清洗剂存储箱滑动,使抽水机顶部的抽水泵将水源抽取大过滤输送板前后两面多个清洁口对太阳能光伏板的顶部进行清洁,清洗剂存储箱通过清洗剂抽取泵将清洗剂通过多个清洁剂喷涂口喷涂到太阳能光伏板的顶部,多个清洁口对其进行清洗和冲刷。1. The solar photovoltaic panel surface cleaning device, through the water inlet, speed regulating valve, cleaning port, and detergent spraying port, aims to collect rainwater inside the water storage tank through the water inlet, which is convenient for secondary use and saves water resources. The chute slides with the cleaning agent storage box, so that the water pump on the top of the pump pumps the water source to the large filter conveying plate, and multiple cleaning ports on the front and back sides of the solar photovoltaic panel clean the top of the solar photovoltaic panel. The cleaning agent storage box passes the cleaning agent through the cleaning agent pumping pump. Multiple cleaner spray ports spray onto the top of the solar photovoltaic panel, and multiple cleaning ports clean and flush it.
2、该太阳能光伏板表面清洁装置,通过设置的限位吸尘板、吸尘转动辊、吸尘条板,目的在于对清洗后的太阳能光伏板进行风干除尘的作用,便于对太阳能光伏板的保护使节省清洁时间,便于使用。2. The device for cleaning the surface of solar photovoltaic panels is designed to air-dry and remove dust from the cleaned solar photovoltaic panels through the set-up limit dust-absorbing boards, vacuum rotating rollers, and dust-absorbing slats, so as to facilitate the cleaning of solar photovoltaic panels. Protection makes cleaning time saving and easy to use.
附图说明Description of drawings
图1是本实用新型的整体结构示意图;Fig. 1 is the overall structural representation of the utility model;
图2是本实用新型的A结构示意图;Fig. 2 is the structural representation of A of the utility model;
图3是本实用新型的清洁口结构示意图;Fig. 3 is a schematic diagram of the structure of the cleaning port of the present utility model;
图4是本实用新型的B结构示意图。Fig. 4 is a schematic diagram of the B structure of the utility model.
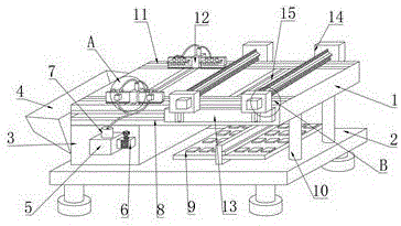
图中:1、太阳能光伏板;2、受力安装板;3、储水箱;4、进水口;5、抽水机;6、调速阀门;7、抽水泵;8、导轨;9、蓄电池板;10、支撑柱; 11、滑槽;12、清洗剂存储箱;13、滑板;14、限位吸尘板;15、活动槽; 16、抽水软管;17、缓冲泵;18、过滤输送板;19、清洗剂抽取泵;20、输送软管;21、水源输送泵;22、输送板;23、清洁口;24、清洗板;25、清洁剂喷涂口;26、集尘箱;27、吸尘转动辊;28、吸尘条板。In the figure: 1. Solar photovoltaic panel; 2. Forced mounting plate; 3. Water storage tank; 4. Water inlet; 5. Pump; 6. Speed control valve; 7. Pump; 8. Guide rail; 9. Battery board; 10. Support column; 11. Chute; 12. Cleaning agent storage box; 13. Skateboard; 14. Limiting vacuum board; 15. Movable tank; 16. Suction hose; 17. Buffer pump; 18. Filter conveying plate ; 19, cleaning agent extraction pump; 20, delivery hose; 21, water source delivery pump; 22, delivery plate; 23, cleaning port; 24, cleaning plate; 25, cleaning agent spraying port; 26, dust box; 27, Dust suction rotating roller; 28, dust suction slats.
具体实施方式detailed description
为使本实用新型实现的技术手段、创作特征、达成目的与功效易于明白了解,下面结合具体实施方式,进一步阐述本实用新型。In order to make the technical means, creative features, goals and effects achieved by the utility model easy to understand, the utility model will be further elaborated below in conjunction with specific embodiments.
如图1-4所示,一种太阳能光伏板表面清洁装置,包括太阳能光伏板1、受力安装板2,太阳能光伏板1底部的右端通过支撑柱10螺纹安装有受力安装板2,太阳能光伏板1顶部的左端设置有调节清洁机构;太阳能光伏板1顶部的右端设置有风干除尘装置;As shown in Figure 1-4, a device for cleaning the surface of a solar photovoltaic panel includes a solar photovoltaic panel 1 and a stressed mounting
调节清洁机构包括设置在太阳能光伏板1底部左端的储水箱3,储水箱3 的左侧面开设有进水口4,储水箱3的正面固定安装有抽水机5,抽水机5的右侧面传动连接有调速阀门6,抽水机5的顶部固定安装有抽水泵7,抽水泵 7的顶部通过抽水软管16与水源输送泵21的顶部活动连接,太阳能光伏板1 顶部的前后两端均开设有滑槽11,两个滑槽11的内部滑动安装有清洗剂存储箱12,清洗剂存储箱12通过顶部的清洗剂抽取泵19与过滤输送板18的顶部活动连接,过滤输送板18的正面开设有多个清洁口23;The adjustment and cleaning mechanism includes a
风干除尘装置包括设置在太阳能光伏板1的前后两面的导轨8,导轨8的正面滑动安装有滑板13,两个滑板13正面的左右连灯管均滑动安装有限位吸尘板14,两个限位吸尘板14的前后两面均螺纹安装有吸尘转动辊27,受力安装板2顶部的中部固定安装有蓄电池板9。The air-drying and dedusting device includes guide rails 8 arranged on the front and rear sides of the solar photovoltaic panel 1. A
抽水泵7的顶部活动安装有抽水软管16,抽水软管16远离抽水泵7的另一端与水源输送泵21的顶部活动连接,清洗剂存储箱12的左右两侧面均滑动安装有过滤输送板18,过滤输送板18的后面固定安装有缓冲泵17,其缓冲泵17通过抽水软管16与水源输送泵21活动连接,且通过抽水软管16与抽水泵7活动连接,过滤输送板18前后两面的中部固定安装有输送板22,输送板22的顶部固定安装有三个水源输送泵21,输送板22通过水源输送泵21 与抽水软管16活动连接,输送板22的底部开设有多个清洁口23,其清洁口 23通过水源输送泵21与抽水软管16底部的抽水泵7活动连接,过滤输送板 18的底部套接有清洗板24,清洗板24的底部开设有多个清洁剂喷涂口25,输送板22的顶部套接有输送软管20,输送软管20远离两个过滤输送板18的另一端与清洗剂抽取泵19的顶部活动连接,清洗剂抽取泵19固定安装在清洗剂存储箱12的顶部,其多个清洁剂喷涂口25通输送软管20与清洗剂抽取泵19底部的清洗剂存储箱12活动连接。The top of the suction pump 7 is movably equipped with a
限位吸尘板14的前后两面均固定安装有集尘箱26,集尘箱26通过吸尘转动辊27与吸尘条板28活动连接,吸尘转动辊27的外壁开设有读个吸尘条板28,其限位吸尘板14通过限位吸尘板14与滑板13滑动连接与导轨8滑动连接,导轨8与滑板13滑动连接与滑槽11、清洗剂存储箱12滑动连接互不打扰,限位吸尘板14与滑板13呈上下滑动运动,滑槽11与清洗剂存储箱12 呈左右滑动,清洗剂存储箱12通过滑槽11与活动槽15在太阳能光伏板1的顶部滑动,太阳能光伏板1顶部的左右两端开设有活动槽15。The front and rear sides of the position-limiting dust-absorbing
需要说明的是,本实用新型为一种太阳能光伏板表面清洁装置,使用时,储水箱3左侧面的进水口4收集雨水进行二次利用,节约水资源,储水箱3 通过抽水机5将水源通过抽水泵7利用抽水软管16输送到水源输送泵21内部传输到输送板22底部的多个清洁口23进行清洗的工作,清洗剂存储箱12 通过在滑槽11内部滑动,使清洗剂存储箱12内部的清洗剂通过顶部的清洗剂抽取泵19将清洗剂利用输送软管20抽取到清洗板24底部逇清洁剂喷涂口 25对太阳能光伏板1的表面进行清洁,便于自动使用,在清洗后的太阳能光伏板1通过导轨8与滑板13滑动,使滑板13正面限位吸尘板14上下滑动使限位吸尘板14内侧面的吸尘转动辊27利用吸尘条板28对太阳能光伏板1的表面进行除尘风干的作用,清洗剂存储箱12与限位吸尘板14不会相互打扰,使全面的对太阳能光伏板1的表面进行风干除尘的作用。It should be noted that the utility model is a solar photovoltaic panel surface cleaning device. When in use, the water inlet 4 on the left side of the
Claims (6)
Priority Applications (1)
| Application Number | Priority Date | Filing Date | Title |
|---|---|---|---|
| CN202222017840.1U CN217963986U (en) | 2022-08-02 | 2022-08-02 | Solar photovoltaic panel surface cleaning device |
Applications Claiming Priority (1)
| Application Number | Priority Date | Filing Date | Title |
|---|---|---|---|
| CN202222017840.1U CN217963986U (en) | 2022-08-02 | 2022-08-02 | Solar photovoltaic panel surface cleaning device |
Publications (1)
| Publication Number | Publication Date |
|---|---|
| CN217963986U true CN217963986U (en) | 2022-12-06 |
Family
ID=84256136
Family Applications (1)
| Application Number | Title | Priority Date | Filing Date |
|---|---|---|---|
| CN202222017840.1U Expired - Fee Related CN217963986U (en) | 2022-08-02 | 2022-08-02 | Solar photovoltaic panel surface cleaning device |
Country Status (1)
| Country | Link |
|---|---|
| CN (1) | CN217963986U (en) |
Cited By (1)
| Publication number | Priority date | Publication date | Assignee | Title |
|---|---|---|---|---|
| CN116827255A (en) * | 2023-08-31 | 2023-09-29 | 山东汉方自动化有限公司 | Cleaning device for solar panel production |
-
2022
- 2022-08-02 CN CN202222017840.1U patent/CN217963986U/en not_active Expired - Fee Related
Cited By (2)
| Publication number | Priority date | Publication date | Assignee | Title |
|---|---|---|---|---|
| CN116827255A (en) * | 2023-08-31 | 2023-09-29 | 山东汉方自动化有限公司 | Cleaning device for solar panel production |
| CN116827255B (en) * | 2023-08-31 | 2023-11-07 | 山东汉方自动化有限公司 | Cleaning device for solar panel production |
Similar Documents
| Publication | Publication Date | Title |
|---|---|---|
| CN206296221U (en) | A kind of deduster for solar energy photovoltaic panel | |
| CN108620375A (en) | A kind of the cleaning system device and working method of the solar cell being obliquely installed | |
| CN112058772A (en) | Photovoltaic module cleaning system based on household photovoltaic power generation system | |
| CN206099877U (en) | Photovoltaic board cleaning device of low power consuming | |
| CN207339780U (en) | A kind of automatically cleaning solar panel | |
| CN217963986U (en) | Solar photovoltaic panel surface cleaning device | |
| CN207413967U (en) | A kind of photovoltaic panel surface cleaning apparatus | |
| CN211070942U (en) | Functional battery panel cleaning device | |
| CN211989841U (en) | Cleaning and dust removing device for aluminum alloy door and window production | |
| CN211280195U (en) | Processing apparatus before china ink corrugated paper printing | |
| CN215390987U (en) | Photovoltaic power plant intelligence belt cleaning device | |
| CN115765609A (en) | New forms of energy exploitation is with high separation photovoltaic backplate self-cleaning mechanism | |
| CN219794360U (en) | Roof structure of green energy-saving building | |
| CN217857657U (en) | Photovoltaic electroplax belt cleaning device | |
| CN218783783U (en) | A kind of dust removal brush for photovoltaic power station | |
| CN209545524U (en) | A kind of solar bracket with cleaning function | |
| CN207325536U (en) | A kind of solar panel cleaning device | |
| CN215656536U (en) | An intelligent cleaning device for the surface of solar panels used in photovoltaic power stations | |
| CN223011303U (en) | Be used for abluent device of solar photovoltaic board | |
| CN208079009U (en) | A kind of photovoltaic plant solar panel cleaning device | |
| CN219576985U (en) | Photovoltaic board with self-cleaning function | |
| CN210975366U (en) | A steel paper production desalination device | |
| CN220206063U (en) | An air source heat pump unit | |
| CN207974565U (en) | A kind of waiting booth bus platform with sound prompt function | |
| CN221592984U (en) | Solar heat collection and storage heating device |
Legal Events
| Date | Code | Title | Description |
|---|---|---|---|
| GR01 | Patent grant | ||
| GR01 | Patent grant | ||
| CP01 | Change in the name or title of a patent holder | ||
| CP01 | Change in the name or title of a patent holder |
Address after: No. 3-30, Lingcheng town industrial cluster, Suining County, Xuzhou City, Jiangsu Province, 221233 Patentee after: Xuzhou Taiyi Century Energy Technology Co.,Ltd. Address before: No. 3-30, Lingcheng town industrial cluster, Suining County, Xuzhou City, Jiangsu Province, 221233 Patentee before: Taiyi photovoltaic technology (Xuzhou) Co.,Ltd. |
|
| CF01 | Termination of patent right due to non-payment of annual fee | ||
| CF01 | Termination of patent right due to non-payment of annual fee |
Granted publication date: 20221206 |
