CN217665401U - 一种新型土壤修复用搅拌机 - Google Patents
一种新型土壤修复用搅拌机 Download PDFInfo
- Publication number
- CN217665401U CN217665401U CN202220609839.5U CN202220609839U CN217665401U CN 217665401 U CN217665401 U CN 217665401U CN 202220609839 U CN202220609839 U CN 202220609839U CN 217665401 U CN217665401 U CN 217665401U
- Authority
- CN
- China
- Prior art keywords
- shaft
- fixed mounting
- mixing
- box
- soil remediation
- Prior art date
- Legal status (The legal status is an assumption and is not a legal conclusion. Google has not performed a legal analysis and makes no representation as to the accuracy of the status listed.)
- Active
Links
- 239000002689 soil Substances 0.000 title claims abstract description 46
- 238000005067 remediation Methods 0.000 title claims abstract description 32
- 238000002156 mixing Methods 0.000 claims abstract description 23
- 238000003756 stirring Methods 0.000 claims abstract description 15
- 230000000694 effects Effects 0.000 abstract description 8
- 230000000813 microbial effect Effects 0.000 abstract description 6
- 241000233866 Fungi Species 0.000 abstract description 3
- 230000005540 biological transmission Effects 0.000 abstract description 2
- 239000003344 environmental pollutant Substances 0.000 description 5
- 231100000719 pollutant Toxicity 0.000 description 5
- 238000000034 method Methods 0.000 description 3
- 241000196324 Embryophyta Species 0.000 description 2
- 238000012216 screening Methods 0.000 description 2
- 239000000126 substance Substances 0.000 description 2
- 238000006243 chemical reaction Methods 0.000 description 1
- 239000003795 chemical substances by application Substances 0.000 description 1
- 238000010586 diagram Methods 0.000 description 1
- 238000001914 filtration Methods 0.000 description 1
- 238000002955 isolation Methods 0.000 description 1
- 239000000463 material Substances 0.000 description 1
- 244000005700 microbiome Species 0.000 description 1
Images
Landscapes
- Processing Of Solid Wastes (AREA)
Abstract
本实用新型属于搅拌设备技术领域,尤其为一种新型土壤修复用搅拌机,针对常用的土壤修复用搅拌机中搅拌效果较差,导致土壤的修复效率较低的问题,现提出如下方案,其包括箱体,所述箱体的底部内壁上转动安装有三个搅拌轴,搅拌轴的外侧固定安装有多个搅拌叶,所述搅拌轴的底端均延伸至箱体的外侧,位于右侧的两个搅拌轴的外侧固定安装有从动齿轮,两个从动齿轮相互啮合,位于左侧的一个搅拌轴的外侧固定安装有主动齿轮。本实用新型结构设计合理,通过圆轴与移动框的抵接配合一级齿条与主动齿轮的啮合传动,使得搅拌叶交替的得到两种不同的转动方向,提升土壤与微生物修复菌群的混合效果,可靠性高。
Description
技术领域
本实用新型涉及搅拌设备技术领域,尤其涉及一种新型土壤修复用搅拌机。
背景技术
石油污染土壤的修复技术主要有物理、化学和微生物三大类,物理修复技术主要是通过焚烧、隔离等物理过程将污染物从土壤中去除,这一类处理方法一般处理成本较高且容易造成二次污染。化学修复技术是利用处理剂与污染物发生化学反应,改变污染物的化学性质从而实现将其从土壤中去除,这类方法同样存在成本高、容易造成二次污染的劣势,同时也可能影响土壤的结构。微生物植物联合修复技术是利用植物根系及微生物菌群的联合作用降解转化土壤中的污染物,修复成本低,不会造成二次污染。
常用的土壤修复用搅拌机中搅拌效果较差,导致土壤的修复效率较低,因此我们提出了一种新型土壤修复用搅拌机用于解决上述问题。
实用新型内容
本实用新型的目的是为了解决常用的土壤修复用搅拌机中搅拌效果较差,导致土壤的修复效率较低的缺点,而提出的一种新型土壤修复用搅拌机。
为了实现上述目的,本实用新型采用了如下技术方案:
一种新型土壤修复用搅拌机,包括箱体,所述箱体的底部内壁上转动安装有三个搅拌轴,搅拌轴的外侧固定安装有多个搅拌叶,所述搅拌轴的底端均延伸至箱体的外侧,位于右侧的两个搅拌轴的外侧固定安装有从动齿轮,两个从动齿轮相互啮合,位于左侧的一个搅拌轴的外侧固定安装有主动齿轮,主动齿轮与对应的从动齿轮相互啮合,所述箱体的左右两侧均固定安装有第一连接板,第一连接板的底部固定安装有支撑座,两个支撑座中的一个支撑座的一侧固定安装有支撑台,所述支撑台的顶部固定安装有第二电机。
优选的,所述第二电机的输出轴上固定安装有转盘,转盘的顶部固定安装有圆轴,圆轴的外侧滑动套设有移动框,所述移动框的后侧固定安装有连接杆。
优选的,所述连接杆的后端固定安装有第二连接板,第二连接板的一侧固定安装有齿条,齿条与主动齿轮相互啮合。
优选的,所述箱体的底部固定安装有导向板,第二连接板的前侧开设有导向孔,导向板滑动连接在导向孔内。
优选的,所述箱体的内壁上固定安装有滤网,粉碎辊位于滤网的上方。
优选的,所述箱体的左右两侧内壁上转动安装有主动转轴与从动转轴,所述主动转轴的外侧与从动转轴的外侧均固定安装有粉碎辊,两个粉碎辊相互啮合。
优选的,所述箱体的外侧固定安装有第一电机,第一电机的输出轴与主动转轴的一端固定连接。
优选的,所述箱体的前侧开设有矩形出料孔,箱体的前侧转动安装有挡板,箱体的顶部连通有进料斗。
本实用新型中,所述的一种新型土壤修复用搅拌机,通过第二电机的工作带动转盘持续转动,带动圆轴转动,使得移动框得到前后方向的往复运动,能够带动连接杆与第二连接板得到同样的移动,使得齿条得到水平往复运动,能够带动主动齿轮交替的得到两种不同的转动方向,能够带动两个从动齿轮同样转动,使得搅拌轴交替的得到不同的转动方向,带动搅拌叶转动,提升土壤与微生物修复菌群的混合效果;
本实用新型中,所述的一种新型土壤修复用搅拌机通过第一电机的工作带动主动转轴转动,从而带动其中一个粉碎辊转动,两个粉碎辊的啮合配合,能够实现对土壤块的粉碎处理,通过滤网的筛选能够筛选合格大小的土壤,实现对土壤的快速修复工作;
本实用新型结构设计合理,通过圆轴与移动框的抵接配合一级齿条与主动齿轮的啮合传动,使得搅拌叶交替的得到两种不同的转动方向,提升土壤与微生物修复菌群的混合效果,可靠性高。
附图说明
图1为本实用新型提出的一种新型土壤修复用搅拌机的立体结构示意图;
图2为本实用新型提出的一种新型土壤修复用搅拌机的另一视角的立体结构示意图;
图3为本实用新型提出的一种新型土壤修复用搅拌机的剖视结构示意图;
图4为本实用新型提出的主动转轴、从动转轴与粉碎辊的立体结构示意图;
图5本实用新型提出的第二电机、主动齿轮与从动齿轮的立体结构示意图。
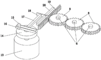
图中:1、箱体;2、从动转轴;3、主动转轴;4、粉碎辊;5、第一电机; 6、搅拌轴;7、搅拌叶;8、从动齿轮;9、主动齿轮;10、第一连接板;11、支撑座;12、支撑台;13、第二电机;14、转盘;15、圆轴;16、移动框;17、连接杆;18、第二连接板;19、齿条;20、导向板;21、滤网;22、挡板。
具体实施方式
下面将结合本实用新型实施例中的附图,对本实用新型实施例中的技术方案进行清楚、完整地描述,显然,所描述的实施例仅仅是本实用新型一部分实施例,而不是全部的实施例。
实施例一
参照图1-5,一种新型土壤修复用搅拌机,包括箱体1,箱体1的底部内壁上转动安装有三个搅拌轴6,搅拌轴6的外侧固定安装有多个搅拌叶7,搅拌轴 6的底端均延伸至箱体1的外侧,位于右侧的两个搅拌轴6的外侧固定安装有从动齿轮8,两个从动齿轮8相互啮合,位于左侧的一个搅拌轴6的外侧固定安装有主动齿轮9,主动齿轮9与对应的从动齿轮8相互啮合,箱体1的左右两侧均固定安装有第一连接板10,第一连接板10的底部固定安装有支撑座11,两个支撑座11中的一个支撑座11的一侧固定安装有支撑台12,支撑台12的顶部固定安装有第二电机13。
本实施例中,第二电机13的输出轴上固定安装有转盘14,转盘14的顶部固定安装有圆轴15,圆轴15的外侧滑动套设有移动框16,移动框16的后侧固定安装有连接杆17,移动框16的设置使得圆轴15的转动能够带动齿条19得到前后方向的往复运动。
本实施例中,连接杆17的后端固定安装有第二连接板18,第二连接板18 的一侧固定安装有齿条19,齿条19与主动齿轮9相互啮合,齿条19与主动齿轮9的设置能够带动搅拌轴6交替的进行两种不同的转动方向。
本实施例中,箱体1的底部固定安装有导向板20,第二连接板18的前侧开设有导向孔,导向板20滑动连接在导向孔内,导向板20的设置为第二连接板18提供导向作用。
本实施例中,箱体1的内壁上固定安装有滤网21,粉碎辊4位于滤网21的上方,滤网21的设置能够筛选合格大小的土壤块。
本实施例中,在使用时,第二电机13的工作带动转盘14持续转动,带动圆轴15转动,使得移动框16得到前后方向的往复运动,能够带动连接杆17与第二连接板18得到同样的移动,使得齿条19得到水平往复运动,能够带动主动齿轮9交替的得到两种不同的转动方向,能够带动两个从动齿轮8同样转动,使得搅拌轴6交替的得到不同的转动方向,带动搅拌叶7转动,提升土壤与微生物修复菌群的混合效果。
实施例二
在实施例一的基础上,箱体1的左右两侧内壁上转动安装有主动转轴3与从动转轴2,主动转轴3的外侧与从动转轴2的外侧均固定安装有粉碎辊4,两个粉碎辊4相互啮合,粉碎辊4的设置能够对土壤块进行粉碎处理。
本实施例中,箱体1的外侧固定安装有第一电机5,第一电机5的输出轴与主动转轴3的一端固定连接,第一电机5的工作带动粉碎辊4转动,能够实现对土壤的粉碎。
本实施例中,箱体1的前侧开设有矩形出料孔,箱体1的前侧转动安装有挡板22,箱体1的顶部连通有进料斗,矩形出料孔与进料斗的设置便于物料的输入与输出工作。
本实施例中,在使用时,第一电机5的工作带动主动转轴3转动,从而带动其中一个粉碎辊4转动,两个粉碎辊4的啮合配合,能够实现对土壤块的粉碎处理,通过滤网21的筛选能够筛选合格大小的土壤,实现对土壤的快速修复工作。
Claims (8)
1.一种新型土壤修复用搅拌机,包括箱体(1),其特征在于,所述箱体(1)的底部内壁上转动安装有三个搅拌轴(6),搅拌轴(6)的外侧固定安装有多个搅拌叶(7),所述搅拌轴(6)的底端均延伸至箱体(1)的外侧,位于右侧的两个搅拌轴(6)的外侧固定安装有从动齿轮(8),两个从动齿轮(8)相互啮合,位于左侧的一个搅拌轴(6)的外侧固定安装有主动齿轮(9),主动齿轮(9)与对应的从动齿轮(8)相互啮合,所述箱体(1)的左右两侧均固定安装有第一连接板(10),第一连接板(10)的底部固定安装有支撑座(11),两个支撑座(11)中的一个支撑座(11)的一侧固定安装有支撑台(12),所述支撑台(12)的顶部固定安装有第二电机(13)。
2.根据权利要求1所述的一种新型土壤修复用搅拌机,其特征在于,所述第二电机(13)的输出轴上固定安装有转盘(14),转盘(14)的顶部固定安装有圆轴(15),圆轴(15)的外侧滑动套设有移动框(16),所述移动框(16)的后侧固定安装有连接杆(17)。
3.根据权利要求2所述的一种新型土壤修复用搅拌机,其特征在于,所述连接杆(17)的后端固定安装有第二连接板(18),第二连接板(18)的一侧固定安装有齿条(19),齿条(19)与主动齿轮(9)相互啮合。
4.根据权利要求1所述的一种新型土壤修复用搅拌机,其特征在于,所述箱体(1)的底部固定安装有导向板(20),第二连接板(18)的前侧开设有导向孔,导向板(20)滑动连接在导向孔内。
5.根据权利要求1所述的一种新型土壤修复用搅拌机,其特征在于,所述箱体(1)的内壁上固定安装有滤网(21),粉碎辊(4)位于滤网(21)的上方。
6.根据权利要求1所述的一种新型土壤修复用搅拌机,其特征在于,所述箱体(1)的左右两侧内壁上转动安装有主动转轴(3)与从动转轴(2),所述主动转轴(3)的外侧与从动转轴(2)的外侧均固定安装有粉碎辊(4),两个粉碎辊(4)相互啮合。
7.根据权利要求1所述的一种新型土壤修复用搅拌机,其特征在于,所述箱体(1)的外侧固定安装有第一电机(5),第一电机(5)的输出轴与主动转轴(3)的一端固定连接。
8.根据权利要求1所述的一种新型土壤修复用搅拌机,其特征在于,所述箱体(1)的前侧开设有矩形出料孔,箱体(1)的前侧转动安装有挡板(22),箱体(1)的顶部连通有进料斗。
Priority Applications (1)
| Application Number | Priority Date | Filing Date | Title |
|---|---|---|---|
| CN202220609839.5U CN217665401U (zh) | 2022-03-21 | 2022-03-21 | 一种新型土壤修复用搅拌机 |
Applications Claiming Priority (1)
| Application Number | Priority Date | Filing Date | Title |
|---|---|---|---|
| CN202220609839.5U CN217665401U (zh) | 2022-03-21 | 2022-03-21 | 一种新型土壤修复用搅拌机 |
Publications (1)
| Publication Number | Publication Date |
|---|---|
| CN217665401U true CN217665401U (zh) | 2022-10-28 |
Family
ID=83731551
Family Applications (1)
| Application Number | Title | Priority Date | Filing Date |
|---|---|---|---|
| CN202220609839.5U Active CN217665401U (zh) | 2022-03-21 | 2022-03-21 | 一种新型土壤修复用搅拌机 |
Country Status (1)
| Country | Link |
|---|---|
| CN (1) | CN217665401U (zh) |
Cited By (1)
| Publication number | Priority date | Publication date | Assignee | Title |
|---|---|---|---|---|
| CN117244928A (zh) * | 2023-10-26 | 2023-12-19 | 中化地质矿山总局山东地质勘查院 | 一种原位生化修复系统及原位生化修复的方法及其控制方法 |
-
2022
- 2022-03-21 CN CN202220609839.5U patent/CN217665401U/zh active Active
Cited By (2)
| Publication number | Priority date | Publication date | Assignee | Title |
|---|---|---|---|---|
| CN117244928A (zh) * | 2023-10-26 | 2023-12-19 | 中化地质矿山总局山东地质勘查院 | 一种原位生化修复系统及原位生化修复的方法及其控制方法 |
| CN117244928B (zh) * | 2023-10-26 | 2024-01-30 | 中化地质矿山总局山东地质勘查院 | 一种原位生化修复系统及原位生化修复的方法 |
Similar Documents
| Publication | Publication Date | Title |
|---|---|---|
| CN217665401U (zh) | 一种新型土壤修复用搅拌机 | |
| CN213825161U (zh) | 一种固体化工产品粉碎溶解装置 | |
| CN113713905A (zh) | 一种高效化工用的化工原料研磨设备 | |
| CN221184179U (zh) | 一种土壤修复淤泥质粉质黏土混匀搅拌装置 | |
| CN219667101U (zh) | 一种塑料加工的混料装置 | |
| CN210308567U (zh) | 一种pvc木塑板破碎磨粉设备 | |
| CN212549175U (zh) | 一种生物酶有机肥原料混合装置 | |
| CN208878326U (zh) | 一种饲料混合装置 | |
| CN220441739U (zh) | 一种输出机构及搅拌设备 | |
| CN220531700U (zh) | 一种饲料粉碎搅拌装置 | |
| CN220677624U (zh) | 一种生物有机肥用多级破碎混合装置 | |
| CN221413101U (zh) | 一种制备杀菌灭藻剂的反应釜 | |
| CN220878649U (zh) | 一种制备陶瓷废水净水剂的搅拌装置 | |
| CN218422362U (zh) | 一种土壤调理剂生产装置 | |
| CN223096665U (zh) | 一种饲料添加剂配液搅拌罐 | |
| CN222023701U (zh) | 一种富硒片生产用辅料自动添加设备 | |
| CN217670110U (zh) | 一种挤泥机 | |
| CN216237387U (zh) | 一种高效的无纺布生产用混棉装置 | |
| CN218107530U (zh) | 一种干硅烷生产加工精准调配装置 | |
| CN223654902U (zh) | 一种净水剂生产用高效预混合设备 | |
| CN222969704U (zh) | 一种微生物菌剂物料无尘精细破碎搅拌器 | |
| CN221045957U (zh) | 一种脱硫剂生产用的粉碎及混合一体化装置 | |
| CN216223957U (zh) | 一种用于沉香化妆品生产的均质器装置 | |
| CN218249943U (zh) | 一种碱性清洗液生成装置 | |
| CN219820265U (zh) | 一种电容器热缩套管生产用搅拌装置 |
Legal Events
| Date | Code | Title | Description |
|---|---|---|---|
| GR01 | Patent grant | ||
| GR01 | Patent grant |