CN217318654U - Wall cutting machine for construction - Google Patents

Wall cutting machine for construction Download PDF

Info

Publication number
CN217318654U
CN217318654U CN202123201577.3U CN202123201577U CN217318654U CN 217318654 U CN217318654 U CN 217318654U CN 202123201577 U CN202123201577 U CN 202123201577U CN 217318654 U CN217318654 U CN 217318654U
Authority
CN
China
Prior art keywords
cutting machine
lifting frame
wall cutting
base
cylinder
Prior art date
Legal status (The legal status is an assumption and is not a legal conclusion. Google has not performed a legal analysis and makes no representation as to the accuracy of the status listed.)
Expired - Fee Related
Application number
CN202123201577.3U
Other languages
Chinese (zh)
Inventor
段忠波
Current Assignee (The listed assignees may be inaccurate. Google has not performed a legal analysis and makes no representation or warranty as to the accuracy of the list.)
Suzhou Bingde Information Technology Co ltd
Original Assignee
Suzhou Bingde Information Technology Co ltd
Priority date (The priority date is an assumption and is not a legal conclusion. Google has not performed a legal analysis and makes no representation as to the accuracy of the date listed.)
Filing date
Publication date
Application filed by Suzhou Bingde Information Technology Co ltd filed Critical Suzhou Bingde Information Technology Co ltd
Priority to CN202123201577.3U priority Critical patent/CN217318654U/en
Application granted granted Critical
Publication of CN217318654U publication Critical patent/CN217318654U/en
Expired - Fee Related legal-status Critical Current
Anticipated expiration legal-status Critical

Links

Images

Landscapes

  • Processing Of Stones Or Stones Resemblance Materials (AREA)

Abstract

本实用新型公开了一种建筑施工用墙体切割机,涉及墙体切割机技术领域,包括底座和升降架,升降架位于底座的正上方,底座的上表面设有能够前后滑动的移动板,升降架通过螺钉安装在移动板的上方,升降架的左侧面设有能够上下滑动的圆筒,圆筒内部的右侧面安装有回转气缸,圆筒的左端转动连接有转盘,转盘左侧面的上下两端分别安装有伸缩气缸,两个伸缩气缸之间的左端安装有刀架,刀架内侧的左端转动连接有刀片。通过以上结构,在墙体切割机使用时,无需将墙体切割机安装在墙体上,从而在墙体切割操作时更为简单,耗费时间短,加工效率高,并且在墙体切割时,能够对墙体进行上下竖直方向切割,也能够对墙体进行前后水平方向切割。

Figure 202123201577

The utility model discloses a wall cutting machine for building construction, which relates to the technical field of wall cutting machines. The utility model comprises a base and a lifting frame. The lifting frame is located directly above the base. The lifting frame is installed above the moving plate by screws. The left side of the lifting frame is provided with a cylinder that can slide up and down. The right side of the inner cylinder is installed with a rotary cylinder. The left end of the cylinder is rotatably connected to a turntable. The upper and lower ends of the surface are respectively provided with telescopic cylinders, the left end between the two telescopic cylinders is provided with a tool rest, and the inner left end of the tool rest is rotatably connected with a blade. Through the above structure, when the wall cutting machine is used, it is not necessary to install the wall cutting machine on the wall, so that the wall cutting operation is simpler, time-consuming, and processing efficiency is high. The wall can be cut vertically and vertically, and the wall can also be cut horizontally.

Figure 202123201577

Description

Wall cutting machine for construction
Technical Field
The utility model relates to a wall body cutting machine technical field especially relates to a wall body cutting machine for construction.
Background
In building construction, a wall body is required to be grooved or opened, and a wall body cutting machine is required to be used for grooving or opening.
Utility model patent that publication number is CN209381144U discloses a wall cutting machine in current patent relates to construction technical field, and its technical scheme main points are: the cutting machine comprises a rack and a cutting mechanism arranged on the rack, wherein the rack comprises a mounting plate for mounting on a wall surface, a sliding seat connected to the mounting plate in a sliding manner, and a lifting support arranged on the sliding seat and far away from the end surface of the mounting plate;
when the machine tool is implemented, the machine frame needs to be installed on the wall in advance, so that the operation is troublesome, the consumed time is long, and the processing efficiency is influenced.
The invention patent with the publication number of CN111168866A in the prior patent discloses a novel household wall cutting machine, which comprises a bottom plate, wherein the upper end of the bottom plate is transversely provided with a first sliding groove, the inside of the bottom plate is transversely provided with a first threaded rod, the left end and the right end of the first threaded rod are respectively and rotatably connected with the inner wall of the bottom plate, the outer surface of the first threaded rod is sleeved with a first bevel gear, the first bevel gear is positioned on the right side of the sliding groove, a second bevel gear is arranged in the bottom plate and is meshed with the first bevel gear, the outer surface of the first threaded rod is sleeved with a first threaded sleeve, the first threaded sleeve is positioned in the first sliding groove, the upper end of the first threaded sleeve is longitudinally provided with a moving device, the moving device comprises a hollow plate and a second threaded rod, the upper end of the hollow plate is longitudinally provided with a second sliding groove, the inside of the hollow plate is longitudinally provided with a second threaded rod, and the front end and the rear end of the second threaded rod are respectively and rotatably connected with the inner wall of the hollow plate;
this patent need not to fix the frame when implementing and just can cut the wall body at the wall, and it is comparatively convenient to operate, but this patent can only carry out the cutting of upper and lower direction to the wall body, and is difficult to carry out the horizontal cut.
Therefore, a wall cutting machine for building construction is provided to solve the technical problems.
SUMMERY OF THE UTILITY MODEL
The utility model provides a wall body cutting machine for construction to solve the wall body cutting machine troublesome poeration of the prior art that above-mentioned background art provided, influence machining efficiency, and be difficult to carry out the problem of horizontal direction cutting.
In order to achieve the above purpose, the utility model adopts the following technical scheme:
a wall body cutting machine for building construction comprises a base and a lifting frame, wherein the lifting frame is positioned right above the base;
the upper surface of base is equipped with gliding movable plate around can, the crane passes through the top of mounting screw at the movable plate, the left surface of crane is equipped with gliding drum from top to bottom, revolving cylinder is installed to the inside right flank of drum, the left end of drum rotates and is connected with the carousel, telescopic cylinder, two are installed respectively at the upper and lower both ends of carousel left surface the knife rest is installed to left end between the telescopic cylinder, the inboard left end of knife rest rotates and is connected with the blade.
Furthermore, a movable sliding groove is formed in the upper surface of the base, a movable sliding block is connected to the inner portion of the movable sliding groove in a sliding mode, and the top of the movable sliding block is welded to the bottom of the movable plate.
Furthermore, the inside of the movable sliding chute is rotatably connected with a first lead screw, and the first lead screw penetrates through the movable sliding block and is in threaded connection with the movable sliding block.
Furthermore, a first stepping motor is installed on the rear side face of the base, and the rear end of the first lead screw penetrates out of the base and is connected with a power output end of the first stepping motor.
Furthermore, a lifting sliding groove is formed in the lifting frame, a lifting sliding block is welded on the right side face of the cylinder, and the lifting sliding block is located in the lifting sliding groove and is in sliding connection with the lifting sliding groove.
Furthermore, the inside of lift spout rotates and is connected with the second lead screw, the second lead screw runs through the lifting slide and with lifting slide threaded connection.
Furthermore, a second stepping motor is installed at the top of the lifting frame, and the top of the second lead screw penetrates out of the lifting frame and is connected with a power output end of the second stepping motor.
Furthermore, the power output end of the rotary cylinder is connected with the right side face of the rotary disc, the motor is installed at the left end of the top of the tool rest, and the power output end of the motor penetrates into the inner side of the tool rest and is connected with the top of the blade.
Compared with the prior art, the utility model discloses the beneficial effect who realizes:
through the matching arrangement of the base and the lifting frame, the base can be placed on the ground, and the tool rest on the lifting frame can be lifted up and down along the lifting frame, so that the blade on the tool rest can cut the wall body in the up-and-down direction in the mode;
the tool rest is arranged on the turntable, and the rotary cylinder can drive the turntable to rotate ninety degrees, so that the tool rest and the blade can rotate ninety degrees together, the vertical blade can be turned into a horizontal state, and the horizontal blade is matched with the lifting frame capable of moving back and forth, so that the wall body can be cut in the front and back horizontal directions;
therefore, through the mode, when the wall body cutting machine is used, the wall body cutting machine does not need to be installed on a wall body, so that the wall body cutting machine is simpler in operation, short in time consumption and high in machining efficiency, the wall body can be cut in the vertical direction up and down when the wall body is cut, and the wall body can also be cut in the front and back horizontal direction.
Drawings
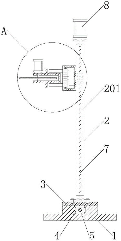
Fig. 1 is a schematic view of the overall internal structure of the present invention.
Fig. 2 is a partially enlarged schematic view of a portion a of fig. 1 according to the present invention.
Fig. 3 is a schematic diagram of the internal structure of the base side of the present invention.
In FIGS. 1-3: 1-base, 101-moving chute, 2-lifting frame, 201-lifting chute, 3-moving plate, 4-moving slide block, 5-first lead screw, 6-first step motor, 7-second lead screw, 8-second step motor, 9-cylinder, 901-lifting slide block, 10-rotary table, 11-rotary cylinder, 12-telescopic cylinder, 13-tool rest, 14-blade and 15-motor.
Detailed Description
Please refer to fig. 1 to 3:
the utility model provides a wall body cutting machine for construction, including base 1 and crane 2, crane 2 is located directly over base 1, the upper surface of base 1 is equipped with movable plate 3 that can slide from beginning to end, crane 2 passes through the mounting screw in the top of movable plate 3, the left surface of crane 2 is equipped with can be gliding drum 9 from top to bottom, the right flank of drum 9 inside is installed and is turned round cylinder 11, the left end of drum 9 rotates and is connected with carousel 10, telescopic cylinder 12 is installed respectively at the upper and lower both ends of the left surface of carousel 10, the left end between two telescopic cylinder 12 is installed with knife rest 13, the left end of the inboard of knife rest 13 rotates and is connected with blade 14;
specifically, a moving chute 101 is formed in the upper surface of the base 1, a moving slider 4 is slidably connected inside the moving chute 101, the top of the moving slider 4 is welded to the bottom of the moving plate 3, a first lead screw 5 is rotatably connected inside the moving chute 101, the first lead screw 5 penetrates through the moving slider 4 and is in threaded connection with the moving slider 4, a first stepping motor 6 is installed on the rear side surface of the base 1, and the rear end of the first lead screw 5 penetrates out of the base 1 and is connected with the power output end of the first stepping motor 6;
the first stepping motor 6 can drive the first lead screw 5 to rotate, the rotating first lead screw 5 can push the movable sliding block 4 to slide back and forth in the movable sliding groove 101, and meanwhile, the movable sliding block 4 sliding back and forth synchronously drives the movable plate 3 to slide back and forth, so that the lifting frame 2 can move back and forth on the base 1;
specifically, a lifting chute 201 is formed in the lifting frame 2, a lifting slider 901 is welded on the right side surface of the cylinder 9, the lifting slider 901 is located inside the lifting chute 201 and is in sliding connection with the lifting chute 201, a second lead screw 7 is rotatably connected inside the lifting chute 201, the second lead screw 7 penetrates through the lifting slider 901 and is in threaded connection with the lifting slider 901, a second stepping motor 8 is installed at the top of the lifting frame 2, and the top of the second lead screw 7 penetrates out of the lifting frame 2 and is connected with a power output end of the second stepping motor 8;
the second stepping motor 8 can drive the second lead screw 7 to rotate, and the rotating second lead screw 7 can drive the lifting slider 901 to slide up and down, so that the lifting slider 901 sliding up and down can drive the cylinder 9 to move up and down, and the tool rest 13 moves up and down synchronously along with the cylinder 9;
specifically, the power output end of the rotary cylinder 11 is connected with the right side surface of the rotary disc 10, the left end of the top of the tool rest 13 is provided with the motor 15, and the power output end of the motor 15 penetrates into the inner side of the tool rest 13 and is connected with the top of the blade 14;
the motor 15 can drive the blade 14 to rotate, so that the rotating blade 14 can cut a wall, and the two telescopic cylinders 12 can push the tool rest 13 to move left and right, so that the blade 14 can be inserted into the wall;
when the blade 14 is not located in the wall body, the rotary cylinder 11 can drive the rotary disc 10 to rotate ninety degrees, and the rotary disc 10 can drive the tool rest 13 to rotate synchronously, so that the vertical blade 14 can be turned to be in a horizontal state, as shown in fig. 2.
In conclusion, when the utility model is used, the base 1 is firstly placed close to a wall body to be cut, then the motor 15 can rotate the blade 14, after the blade 14 rotates, the telescopic cylinder 12 pushes the blade 14 to be inserted into the wall body so as to cut the wall body, and when the wall body is cut, the cylinder is enabled to move up and down along the lifting frame 2, so that the wall body can be cut in the vertical direction up and down;
when the wall needs to be cut in the front-back horizontal direction, the blade 14 is pulled out of the wall, then the turntable 10 is rotated by ninety degrees, then the blade 14 can be turned to be in a horizontal state, then the blade 14 is inserted into the wall again, then the lifting frame 2 is moved back and forth along the base 1, and then the blade 14 can be used for cutting the wall in the front-back horizontal direction.
According to the above:
through the matching arrangement of the base 1 and the lifting frame 2, the base 1 can be placed on the ground, and the tool rest 13 on the lifting frame 2 can be lifted up and down along the lifting frame 2, so that the blade 14 on the tool rest 13 can cut the wall body in the up-and-down direction;
the tool rest 13 is arranged on the rotary table 10, the rotary cylinder 11 can drive the rotary table 10 to rotate ninety degrees, so that the tool rest 13 and the blade 14 can rotate ninety degrees together, the vertical blade 14 can be turned into a horizontal state, and the horizontal blade 14 is matched with the lifting frame 2 which can move back and forth, so that the wall body can be cut in the front and back horizontal directions;
therefore, through the mode, when the wall body cutting machine is used, the wall body cutting machine does not need to be installed on a wall body, so that the wall body cutting machine is simpler in wall body cutting operation, short in time consumption and high in machining efficiency, the wall body can be cut in the vertical direction up and down when the wall body is cut, and the wall body can also be cut in the front and back horizontal direction.

Claims (8)

1.一种建筑施工用墙体切割机,包括底座(1)和升降架(2),所述升降架(2)位于底座(1)的正上方,其特征在于:1. A wall cutting machine for building construction, comprising a base (1) and a lifting frame (2), and the lifting frame (2) is located just above the base (1), characterized in that: 所述底座(1)的上表面设有能够前后滑动的移动板(3),所述升降架(2)通过螺钉安装在移动板(3)的上方,所述升降架(2)的左侧面设有能够上下滑动的圆筒(9),所述圆筒(9)内部的右侧面安装有回转气缸(11),所述圆筒(9)的左端转动连接有转盘(10),所述转盘(10)左侧面的上下两端分别安装有伸缩气缸(12),两个所述伸缩气缸(12)之间的左端安装有刀架(13),所述刀架(13)内侧的左端转动连接有刀片(14)。The upper surface of the base (1) is provided with a moving plate (3) that can slide back and forth, the lifting frame (2) is mounted above the moving plate (3) by screws, and the left side of the lifting frame (2) The surface is provided with a cylinder (9) that can slide up and down, a rotary cylinder (11) is installed on the inner right side of the cylinder (9), and a turntable (10) is rotatably connected to the left end of the cylinder (9), Telescopic cylinders (12) are respectively installed on the upper and lower ends of the left side of the turntable (10), and a tool holder (13) is installed at the left end between the two telescopic cylinders (12). The tool holder (13) A blade (14) is rotatably connected to the left end of the inner side. 2.根据权利要求1所述的一种建筑施工用墙体切割机,其特征在于:所述底座(1)的上表面开设有移动滑槽(101),所述移动滑槽(101)的内部滑动连接有移动滑块(4),所述移动滑块(4)的顶部与移动板(3)的底部焊接。2. A wall cutting machine for building construction according to claim 1, characterized in that: a moving chute (101) is provided on the upper surface of the base (1), and the moving chute (101) is A moving slider (4) is slidably connected inside, and the top of the moving slider (4) is welded with the bottom of the moving plate (3). 3.根据权利要求2所述的一种建筑施工用墙体切割机,其特征在于:所述移动滑槽(101)的内部转动连接有第一丝杠(5),所述第一丝杠(5)贯穿过移动滑块(4)并与移动滑块(4)螺纹连接。3 . The wall cutting machine for building construction according to claim 2 , wherein a first lead screw ( 5 ) is rotatably connected to the inside of the moving chute ( 101 ), and the first lead screw (5) passes through the moving slider (4) and is threadedly connected with the moving slider (4). 4.根据权利要求3所述的一种建筑施工用墙体切割机,其特征在于:所述底座(1)的后侧面安装有第一步进电机(6),所述第一丝杠(5)的后端贯穿出底座(1)并与第一步进电机(6)的动力输出端相接。4. The wall cutting machine for building construction according to claim 3, characterized in that: a first step motor (6) is installed on the rear side of the base (1), and the first lead screw ( The rear end of 5) penetrates out of the base (1) and is connected with the power output end of the first stepping motor (6). 5.根据权利要求1所述的一种建筑施工用墙体切割机,其特征在于:所述升降架(2)的内部开设有升降滑槽(201),所述圆筒(9)的右侧面焊接有升降滑块(901),所述升降滑块(901)位于升降滑槽(201)的内部并与升降滑槽(201)滑动连接。5 . The wall cutting machine for building construction according to claim 1 , wherein a lifting chute ( 201 ) is opened inside the lifting frame ( 2 ), and the right side of the cylinder ( 9 ) A lift slider (901) is welded on the side surface, and the lift slider (901) is located inside the lift chute (201) and is slidably connected with the lift chute (201). 6.根据权利要求5所述的一种建筑施工用墙体切割机,其特征在于:所述升降滑槽(201)的内部转动连接有第二丝杠(7),所述第二丝杠(7)贯穿过升降滑块(901)并与升降滑块(901)螺纹连接。6 . The wall cutting machine for building construction according to claim 5 , wherein a second lead screw ( 7 ) is rotatably connected to the inside of the lift chute ( 201 ), and the second lead screw (7) Passing through the lifting slider (901) and threadedly connected with the lifting slider (901). 7.根据权利要求6所述的一种建筑施工用墙体切割机,其特征在于:所述升降架(2)的顶部安装有第二步进电机(8),所述第二丝杠(7)的顶部贯穿出升降架(2)并与第二步进电机(8)的动力输出端相接。7. A wall cutting machine for building construction according to claim 6, characterized in that: a second stepping motor (8) is installed on the top of the lifting frame (2), and the second lead screw ( The top of 7) penetrates out of the lifting frame (2) and is connected with the power output end of the second stepping motor (8). 8.根据权利要求1所述的一种建筑施工用墙体切割机,其特征在于:所述回转气缸(11)的动力输出端与转盘(10)的右侧面相接,所述刀架(13)顶部的左端安装有电机(15),所述电机(15)的动力输出端贯穿进刀架(13)的内侧并与刀片(14)的顶部相接。8. A wall cutting machine for building construction according to claim 1, characterized in that: the power output end of the rotary cylinder (11) is connected to the right side of the turntable (10), and the tool rest (13) A motor (15) is installed at the left end of the top, and the power output end of the motor (15) penetrates the inner side of the feeder (13) and is connected to the top of the blade (14).
CN202123201577.3U 2021-12-17 2021-12-17 Wall cutting machine for construction Expired - Fee Related CN217318654U (en)

Priority Applications (1)

Application Number Priority Date Filing Date Title
CN202123201577.3U CN217318654U (en) 2021-12-17 2021-12-17 Wall cutting machine for construction

Applications Claiming Priority (1)

Application Number Priority Date Filing Date Title
CN202123201577.3U CN217318654U (en) 2021-12-17 2021-12-17 Wall cutting machine for construction

Publications (1)

Publication Number Publication Date
CN217318654U true CN217318654U (en) 2022-08-30

Family

ID=82990013

Family Applications (1)

Application Number Title Priority Date Filing Date
CN202123201577.3U Expired - Fee Related CN217318654U (en) 2021-12-17 2021-12-17 Wall cutting machine for construction

Country Status (1)

Country Link
CN (1) CN217318654U (en)

Cited By (1)

* Cited by examiner, † Cited by third party
Publication number Priority date Publication date Assignee Title
CN116277541A (en) * 2023-03-27 2023-06-23 中国五冶集团有限公司 Intelligent wall grooving device and use method

Cited By (1)

* Cited by examiner, † Cited by third party
Publication number Priority date Publication date Assignee Title
CN116277541A (en) * 2023-03-27 2023-06-23 中国五冶集团有限公司 Intelligent wall grooving device and use method

Similar Documents

Publication Publication Date Title
CN217318654U (en) Wall cutting machine for construction
CN113843425B (en) Double-cutter-disc synchronous adjusting servo cutter tower
CN221474581U (en) Chamfering processing equipment for steel pipe production
CN210878582U (en) Lifting mechanism for numerical control milling machine
CN220782350U (en) Vertical milling machine for machining
CN221819104U (en) Wire saw machine with adjustable cutting angle
CN221247028U (en) Drilling equipment is used in new energy auto-parts production
CN218983337U (en) Axostylus axostyle cutting device is used in coal breaker accessory production
CN218427120U (en) Automatic tool changing mechanism of metal shell machining machine tool
CN219005301U (en) Clamping mechanism of radial drilling machine
CN115229500B (en) Integrated caliper machining center
CN213289409U (en) Adjustable machine base for numerical control machining center
CN221560598U (en) Support seat for cutter arm shaft
CN219541815U (en) A fixed seat for alloy milling cutter processing
CN206780570U (en) Door cover CNC sawing and milling machine
CN215658054U (en) Automatic slot milling mechanism of numerical control slot milling machine
CN220992974U (en) Gear shaft production cutting device
CN221111211U (en) Float seat production polishing frock of polishing
CN221695302U (en) Device for machining any threaded hole
CN216461474U (en) A self-tapping screw thread rolling machine with automatic feeding
CN221812012U (en) Pin punching machine for glass insulator
CN222059491U (en) Milling flutes machine tool
CN223531914U (en) Boring machine with rotary worktable
CN221530817U (en) A cable outer ring cutting device
CN218425969U (en) A precise cutting device for aluminum material for metal processing

Legal Events

Date Code Title Description
GR01 Patent grant
GR01 Patent grant
CF01 Termination of patent right due to non-payment of annual fee
CF01 Termination of patent right due to non-payment of annual fee

Granted publication date: 20220830