CN216512215U - 一种线缆收放装置 - Google Patents
一种线缆收放装置 Download PDFInfo
- Publication number
- CN216512215U CN216512215U CN202122896304.9U CN202122896304U CN216512215U CN 216512215 U CN216512215 U CN 216512215U CN 202122896304 U CN202122896304 U CN 202122896304U CN 216512215 U CN216512215 U CN 216512215U
- Authority
- CN
- China
- Prior art keywords
- cable
- welding block
- plate
- shaft sleeve
- stepping motor
- Prior art date
- Legal status (The legal status is an assumption and is not a legal conclusion. Google has not performed a legal analysis and makes no representation as to the accuracy of the status listed.)
- Active
Links
- 230000007246 mechanism Effects 0.000 claims abstract description 22
- 238000003860 storage Methods 0.000 claims abstract description 16
- 238000004804 winding Methods 0.000 claims abstract description 6
- 238000003466 welding Methods 0.000 claims description 36
- 210000001503 joint Anatomy 0.000 claims 1
- 238000000034 method Methods 0.000 abstract description 12
- 238000011084 recovery Methods 0.000 abstract description 10
- 230000008569 process Effects 0.000 abstract description 9
- 238000005452 bending Methods 0.000 description 8
- 230000005540 biological transmission Effects 0.000 description 5
- 238000001514 detection method Methods 0.000 description 5
- 238000007689 inspection Methods 0.000 description 5
- 238000009434 installation Methods 0.000 description 4
- 238000010586 diagram Methods 0.000 description 3
- 239000011241 protective layer Substances 0.000 description 3
- 230000009471 action Effects 0.000 description 2
- 239000003638 chemical reducing agent Substances 0.000 description 2
- 230000004048 modification Effects 0.000 description 2
- 238000012986 modification Methods 0.000 description 2
- 230000000737 periodic effect Effects 0.000 description 2
- 230000008054 signal transmission Effects 0.000 description 2
- 239000004677 Nylon Substances 0.000 description 1
- 229910000831 Steel Inorganic materials 0.000 description 1
- 230000009286 beneficial effect Effects 0.000 description 1
- 238000005255 carburizing Methods 0.000 description 1
- 238000000227 grinding Methods 0.000 description 1
- 230000009191 jumping Effects 0.000 description 1
- 239000010410 layer Substances 0.000 description 1
- 238000003032 molecular docking Methods 0.000 description 1
- 229920001778 nylon Polymers 0.000 description 1
- 238000002360 preparation method Methods 0.000 description 1
- 238000010791 quenching Methods 0.000 description 1
- 230000000171 quenching effect Effects 0.000 description 1
- 230000015607 signal release Effects 0.000 description 1
- 239000010959 steel Substances 0.000 description 1
- 230000001629 suppression Effects 0.000 description 1
Images
Landscapes
- Storing, Repeated Paying-Out, And Re-Storing Of Elongated Articles (AREA)
Abstract
本实用新型公开了一种线缆收放装置,包括线缆储存盘、步进电机、线缆导向机构,其中,线缆储存盘包括同心设置的内圆弧板和外圆弧板,内圆弧板和外圆弧板之间的环形空间形成用于存放线缆的线缆腔,线缆腔的内壁直径大于200mm;步进电机设置于内圆弧板内;线缆导向机构包括轴套、连接杆和线缆导向组件,轴套固定套设于所述步进电机的输出轴上,线缆导向组件设置于线缆腔的上方,轴套与线缆导向组件通过连接杆固定连接。本实用新型公开的线缆收放装置,可在雷达线缆保持完整形态的前提下,实现线缆的释放和回收,使用过程中,线缆不会出现小于200mm的硬折弯。
Description
技术领域
本实用新型涉及线缆收放技术领域,具体涉及一种用于隧道检测中的长硬雷达线缆收放装置。
背景技术
隧道检测车在对隧道进行检测过程中,车辆以不大于10km/h的速度行驶。隧道检测车的伸缩臂的顶部设置有雷达装置,雷达装置通过雷达电缆与检测用主机相连接。隧道检测车通过伸缩臂举升雷达装置对隧道衬砌的内部结构进行扫描获取信息,再通过雷达电缆将信息传送至与之相连接的检测用主机。为了保证伸缩臂的顶部的雷达装置能够尽可能靠近隧道顶部,雷达电缆的长度通常情况需要满足10至20米。
现有的收放线装置多为转盘式收放线装置,该装置采用了滑环结构将线缆的固定端导线引出至转盘外,以便于整个线缆可以随转盘旋转而不影响电力传输使用。但是由于该转盘式收放线装置采用的滑环结构为机械接触滑动式构造,在使用过程中会出现滑环虚接、跳动及磨损的问题,且滑环外侧没有屏蔽保护,因此该结构无法使用于弱电信号的传输,仅在动力电传输场合上使用。此外,现有的收放线装置无法满足线缆在两端同时工作且不被损坏的前提下,实现线缆的收放功能,并且该转盘式收放线装置为手动操作,无法自动完成根据特点信号释放和回收线缆。
雷达电缆为多芯弱电信号电缆,带有屏蔽层和磁环,不仅能进行电力传输,还能稳定进行弱电信号传输。隧道检测车的伸缩臂可实现全自动运转,雷达线缆也需要与伸缩臂一并动作,自动实现收放电缆。由于雷达电缆线径较粗、硬度较大、弯折难度大,为了保持信号传输的精准性,不允许长达10至20米的雷达线缆外保护层有任何破损,并要求使用过程中不得出现雷达电缆直径小于 200mm的硬性折弯。目前缺乏一种能实现长硬线缆收放装置,且要求该装置在线缆回收和释放过程中不损坏外保护层、不得出现过大的硬性折弯。
实用新型内容
本实用新型的目的在于提供一种线缆收放装置,用以解决目前隧道检测雷达用长硬线缆在回收过程中外保护层易损坏、硬性折弯过大而降低信号传输的精准性的问题。
本实用新型公开一种线缆收放装置,包括线缆储存盘,包括同心设置的内圆弧板和外圆弧板,其中,所述内圆弧板和所述外圆弧板之间的环形空间形成用于存放线缆的线缆腔,所述线缆腔的内壁直径大于200mm;步进电机,设置于所述内圆弧板内;线缆导向机构,包括轴套、连接杆和线缆导向组件,所述轴套固定套设于所述步进电机的输出轴上,所述线缆导向组件设置于所述线缆腔的上方,所述轴套与所述线缆导向组件通过所述连接杆固定连接;所述外圆弧板的侧面设置有穿线孔,线缆的固定端穿过所述穿线孔固定于所述线缆导向组件上,当所述步进电机工作时,所述线缆导向组件以所述步进电机的输出轴为圆心做圆周运动,同时将缠绕的线缆一圈一圈地放置于所述线缆腔内。
与现有技术相比,本实用新型的有益效果是:
本实用新型公开的线缆收放装置,在雷达线缆两端均在工作传输状态下,步进电机带动雷达线缆滑动,在伸缩臂回收时,主动将雷达线缆导向至线缆储存盘的线缆腔内,在伸缩臂伸出时,被动将雷达线缆由线缆腔内导出。由于线缆腔的内壁直径大于最小折弯半径要求的200mm,在不损坏电缆和不得出现过大的硬性折弯的前提下,实现了线缆的收放功能,线缆收放过程中,释放线缆借助了伸缩臂的主动拉线,回收线缆借助步进电机间歇性拉拽,完成了整个操作过程的自动收放线功能。本实用新型公开的线缆收放装置,可在雷达线缆保持完整形态的前提下,实现线缆的释放和回收,使用过程中,线缆不会出现小于200mm的硬折弯。
附图说明
图1为本实用新型实施例1提供的线缆收放装置的三维立体结构示意图;
图2为本实用新型实施例1提供的线缆储存盘的三维立体结构示意图;
图3为本实用新型实施例1提供的线缆储存盘的俯视图;
图4为图3中A-A向剖面处的剖视图;
图5为本实用新型实施例1提供的线缆导向机构的三维立体结构示意图;
图6为本实用新型实施例1提供的线缆导向机构的俯视图;
图7为本实用新型实施例1提供的线缆导向机构的爆炸图;
图8为本实用新型实施例1提供的扭矩平衡机构的局部放大的俯视图;
图9为本实用新型实施例1提供的轴套焊接块和螺杆轴焊接块的爆炸图。
具体实施方式
本实用新型公开的线缆收放装置由线缆储存盘、步进电机、线缆导向机构、控制器等组成,步进电机位于线缆储存盘的中央,步进电机的输出轴与线缆导向机构连接,线缆导向机构的末端可将线缆导向至线缆储存盘的线缆腔内。当在伸缩臂伸出时,伸缩臂伸出信号传输给收放线装置的控制器,控制器将步进电机进行使能抑制,使步进电机在带电状态下无任何外力输出,此时,线缆可在伸缩杆外伸的强制牵引下,带动线缆导向机构被动旋转,完成线缆的释放。当在伸缩臂回收时,伸缩臂回收信号传输给收放线装置控制器,控制器使步进电机按一定的旋转规律转动,如正转120度、回转20度,带动导向机构强制将线缆下拉并放置到线缆腔内,在收线过程中,步进电机的旋转速度大于伸缩臂回收速度,回收过程线缆始终被步进电机向下拉,可以保证线缆在回收过程中,不会出现回收不及时出现的小半径弯折。
实施例1
实施例1提供一种线缆收放装置,用于隧道检测雷达中的长硬线缆的回收,下面对其结构进行详细描述。
参考图1至图4,该长硬线缆收放装置包括线缆储存盘1、步进电机2、线缆导向机构3、安装连接架4和控制器。
线缆储存盘1为圆形钢制框架结构,该线缆储存盘1由内圆弧板11和外圆弧板12、圆形顶板13、环形底板14四部分组成,其中内圆弧板11和外圆弧板12同心设置,以使内圆弧板11和外圆弧板12之间形成环形空间10,内圆弧板11的顶端焊接有圆形顶板13,环形空间10的底端焊接有环形底板14。
线缆储存盘1焊接完成后,内圆弧板11和外圆弧板12之间的环形空间10形成线缆腔100;内圆弧板11和圆形顶板13共同围成用于设置步进电机2的步进电机腔200。其中线缆腔100用于放置回收回来的线缆,为了避免出现过大的硬性折弯角度,线缆腔100的内壁直径大于或等于270mm,大于线缆的最小折弯半径200mm。
参考图5至图9,作为一种基本的实施方式,线缆导向机构3,包括轴套31、连接杆32和线缆导向组件33,轴套31固定套设于步进电机2的输出轴上,线缆导向组件33设置于线缆腔100的上方,轴套31与线缆导向组件33通过连接杆32 固定连接。具体地,轴套31与连接杆32之间、线缆导向组件33通过连接杆32之间通过焊接固定。
其中,线缆导向组件33包括线缆导向双轮331、导向轮支架332和连接螺栓 333。线缆导向双轮331包括一前一后分别设置的前轮3311和后轮3312;导向轮支架332包括左翼连接板3321和右翼连接板3322,左翼连接板3321设置于前轮 3311和后轮3312的左侧,右翼连接板3322设置于前轮3311和后轮3312的右侧;前连接螺栓3331将左翼连接板3321的前端、前轮3311和右翼连接板3322的前端连接在一起;后连接螺栓3332将左翼连接板3321的后端、后轮3312和右翼连接板3322的后端连接在一起。
为了便于线缆定向滑动,减少线性摩擦,参考图5至图7,前轮3311和后轮 3312的滚轮面中部下凹形成凹弧部330,前轮3311后端的凹弧部330与后轮3312 前端的凹弧部330拼接形成线缆导向孔335。该导向孔335可引导线缆进出线缆腔100。
左翼连接板3321和右翼连接板3322的上部分别设置有便于线缆滑向线缆导向孔335的导向滑杆334。
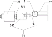
为了平衡扭矩,线缆导向机构3还包括扭矩平衡机构,扭矩平衡机构包括扭矩调节轮35、螺杆轴351和扭矩调节架34,扭矩调节架34包括轴套焊接块341 和螺杆轴焊接块342,扭矩调节轮35设置于螺杆轴351上,螺杆轴351与螺杆轴焊接块342的外端焊接;轴套焊接块341与轴套31的外壁焊接;轴套焊接块341 和螺杆轴焊接块342通过螺栓活动连接。
作为一种轴套焊接块341和螺杆轴焊接块342通过螺栓活动连接的实施方式,参考图8和图9,轴套焊接块341的外端和螺杆轴焊接块342的内端开设有旋转螺栓孔360,旋转螺栓36分别穿过轴套焊接块341和螺杆轴焊接块342的旋转螺栓孔360将两者连接,以实现两者相对位置的旋转;轴套焊接块341的上部设置有抵触螺栓孔370,抵触螺栓37穿过抵触螺栓孔370与螺杆轴焊接块342抵触,且抵触螺栓37配置有若干螺帽,用于调节抵触螺栓37与螺杆轴焊接块342抵触的松紧程度。
具体地,扭矩调节轮35和线缆导向双轮331均采用带轴承尼龙轮。
外圆弧板12的侧面设置有穿线孔120,雷达线缆的固定端穿过穿线孔120 固定于线缆导向组件33上,当步进电机2工作时,线缆导向组件33以步进电机2的输出轴为圆心做圆周运动,同时将缠绕的线缆一圈一圈地放置于线缆腔 100内。
为了方便与伸缩臂对接,外圆弧板12的外侧面焊接有安装连接架4,具体地,在安装连接架4上,开有螺栓连接孔。
为了增强自动控制能力,步进电机2设置于内圆弧板11内,控制器与步进电机2电连接。
为了进一步增强自动控制能力,步进电机2为行星减速步进电机,具有刚性高、精度高(单级可做到1分以内)、传动效率高(单级在97%-98%)、扭矩/ 体积比高等优点。具体地,步进电机2内置有行星减速器,其行星减速器内部齿轮采用20CrMnTi渗碳淬火和磨齿,是一种具有广泛通用性的减速器,具有体积小、重量轻,承载能力高,使用寿命长、运转平稳,噪声低、输出扭矩大,速比大、效率高、性能安全的特点。兼具功率分流、多齿啮合独用的特性。
为了方便步进电机2的安装,在圆形顶板13的中心处,开有步进电机输出轴孔130,该步进电机输出轴孔130的周围分别有多个用于将步进电机2安装固定于圆形顶板13的螺栓孔。
此外,本方案中的被动送线可变更为主动送线;被动送线时步进电机2使能抑制变为步进电机断电。收线过程的步进电机2可更改为伺服电机或其他主动旋转机构。收线过程中电机的正反转角度值可有不同时间组合,如正转90度反转10度。
实施例2
实施例2提供一种线缆收放装置的使用方法,该方法包括以下步骤:
1、准备工作:
使用前,首先将线缆由线缆储存盘1侧面的穿线孔120引入,并缠绕在线缆腔100内,在线缆腔100内缠绕的长度不小于伸缩臂的最大伸出量,线缆的缠绕方向为顺时针。线缆缠绕后,将线缆自由端由线缆导向孔335中穿出,并与雷达装置相连。为防止线缆升降过程中,线缆受拉扯力直接作用在线缆和雷达接头上,线缆自由端通过卡扣与伸缩臂顶部云台连接。
2、伸缩臂伸出时
当伸缩臂有伸出动作时,向线缆收放线装置的控制器发送伸出信号,控制器判断出需要进行送线,并对步进电机发出使能抑制指令,使步进电机没有保持力矩。在伸缩臂外伸时,伸缩臂带动线缆自由端外伸,此时线缆自由端拉拽整个线缆向外伸出,线缆导向机构3在线缆的拉伸作用下,被动逆时针旋转,使线缆由线缆导向孔335处不断伸出。
3、伸缩臂回收时
当伸缩臂有回收动作时,发送回收信号给控制器,控制器判断出需要进行收线,对步进电机进行周期性正反转控制,使步进电机主动以一定的力矩拉拽线缆进入线缆腔中。步进电机的周期性转动为一定时间的正转和一定时间的反转,现在成熟的参数是正转120度,反转20度。由于步进电机回收速度快于雷达线缆下落速度,线缆导向孔335会始终拉扯线缆缠绕在线缆腔的内筒壁上,当内壁缠绕线缆超过一圈后,其将影响下一圈的线缆回收,因此将步进电机反转,使收紧的内筒壁上的线缆释放到底部,然后再继续盘线。回收过程中,线缆的平均回收速度快于线缆下降速度,这样可使线缆始终处于被拉紧状态而不会出现未回收部分折弯的问题。
虽然,上文中已经用一般性说明及具体实施例对本实用新型作了详尽的描述,但在本实用新型基础上,可以对之作一些修改或改进,这对本领域技术人员而言是显而易见的。因此,在不偏离本实用新型精神的基础上所做的这些修改或改进,均属于本实用新型要求保护的范围。
Claims (10)
1.一种线缆收放装置,其特征在于,包括
线缆储存盘(1),包括同心设置的内圆弧板(11)和外圆弧板(12),其中,所述内圆弧板(11)和所述外圆弧板(12)之间的环形空间(10)形成用于存放线缆的线缆腔(100),所述线缆腔(100)的内壁直径大于200mm;
步进电机(2),设置于所述内圆弧板(11)内;
线缆导向机构(3),包括轴套(31)、连接杆(32)和线缆导向组件(33),所述轴套(31)固定套设于所述步进电机(2)的输出轴上,所述线缆导向组件(33)设置于所述线缆腔(100)的上方,所述轴套(31)与所述线缆导向组件(33)通过所述连接杆(32)固定连接;
所述外圆弧板(12)的侧面设置有穿线孔(120),线缆的固定端穿过所述穿线孔(120)固定于所述线缆导向组件(33)上,当所述步进电机(2)工作时,所述线缆导向组件(33)以所述步进电机(2)的输出轴为圆心做圆周运动,同时将缠绕的线缆一圈一圈地放置于所述线缆腔(100)内。
2.如权利要求1所述的线缆收放装置,其特征在于,所述线缆导向组件(33)包括
线缆导向双轮(331),包括一前一后分别设置的前轮(3311)和后轮(3312);
导向轮支架(332),包括左翼连接板(3321)和右翼连接板(3322),所述左翼连接板(3321)设置于所述前轮(3311)和所述后轮(3312)的左侧,所述右翼连接板(3322)设置于所述前轮(3311)和所述后轮(3312)的右侧;
前连接螺栓(3331),将所述左翼连接板(3321)的前端、所述前轮(3311)和所述右翼连接板(3322)的前端连接在一起;
后连接螺栓(3332),将所述左翼连接板(3321)的后端、所述后轮(3312)和所述右翼连接板(3322)的后端连接在一起。
3.如权利要求2所述的线缆收放装置,其特征在于,
所述前轮(3311)和所述后轮(3312)的滚轮面中部下凹形成凹弧部(330),所述前轮(3311)后端的凹弧部(330)与所述后轮(3312)前端的凹弧部(330)拼接形成线缆导向孔(335)。
4.如权利要求3所述的线缆收放装置,其特征在于,
所述左翼连接板(3321)和所述右翼连接板(3322)的上部分别设置有便于线缆滑向所述线缆导向孔(335)的导向滑杆(334)。
5.如权利要求1至4任一所述的线缆收放装置,其特征在于,所述线缆导向机构(3)还包括扭矩平衡机构,所述扭矩平衡机构包括扭矩调节轮(35)、螺杆轴(351)和扭矩调节架(34),
所述扭矩调节架(34)包括轴套焊接块(341)和螺杆轴焊接块(342),
所述扭矩调节轮(35)设置于螺杆轴(351)上,所述螺杆轴(351)与所述螺杆轴焊接块(342)的外端焊接;
所述轴套焊接块(341)与所述轴套(31)的外壁焊接;
所述轴套焊接块(341)和所述螺杆轴焊接块(342)通过螺栓活动连接。
6.如权利要求5所述的线缆收放装置,其特征在于,
所述轴套焊接块(341)的外端和所述螺杆轴焊接块(342)的内端开设有旋转螺栓孔(360),旋转螺栓(36)分别穿过所述轴套焊接块(341)和所述螺杆轴焊接块(342)的旋转螺栓孔(360)将两者连接,以实现两者相对位置的旋转;
所述轴套焊接块(341)的上部设置有抵触螺栓孔(370),抵触螺栓(37)穿过所述抵触螺栓孔(370)与所述螺杆轴焊接块(342)抵触,且抵触螺栓(37)配置有若干螺帽,用于调节所述抵触螺栓(37)与所述螺杆轴焊接块(342)抵触的松紧程度。
7.如权利要求1所述的线缆收放装置,其特征在于,所述线缆储存盘(1)还包括:圆形顶板(13)和环形底板(14);
所述环形底板(14),固定于所述环形空间(10)的底端,且与所述内圆弧板(11)、所述外圆弧板(12)共同围成所述线缆腔(100);
所述圆形顶板(13),固定于所述内圆弧板(11)的顶端,且与所述圆形顶板(13)共同围成用于设置步进电机(2)的步进电机腔(200)。
8.如权利要求1所述的线缆收放装置,其特征在于,所述线缆腔(100)的内壁直径大于或等于270mm。
9.如权利要求1所述的线缆收放装置,其特征在于,
所述外圆弧板(12)的外侧面焊接有用于与伸缩臂对接的安装连接架(4)。
10.如权利要求1所述的线缆收放装置,其特征在于,还包括控制器,
所述步进电机(2)为行星减速步进电机,所述控制器与所述步进电机(2)电连接。
Priority Applications (1)
| Application Number | Priority Date | Filing Date | Title |
|---|---|---|---|
| CN202122896304.9U CN216512215U (zh) | 2021-11-24 | 2021-11-24 | 一种线缆收放装置 |
Applications Claiming Priority (1)
| Application Number | Priority Date | Filing Date | Title |
|---|---|---|---|
| CN202122896304.9U CN216512215U (zh) | 2021-11-24 | 2021-11-24 | 一种线缆收放装置 |
Publications (1)
| Publication Number | Publication Date |
|---|---|
| CN216512215U true CN216512215U (zh) | 2022-05-13 |
Family
ID=81532273
Family Applications (1)
| Application Number | Title | Priority Date | Filing Date |
|---|---|---|---|
| CN202122896304.9U Active CN216512215U (zh) | 2021-11-24 | 2021-11-24 | 一种线缆收放装置 |
Country Status (1)
| Country | Link |
|---|---|
| CN (1) | CN216512215U (zh) |
Cited By (1)
| Publication number | Priority date | Publication date | Assignee | Title |
|---|---|---|---|---|
| CN113979240A (zh) * | 2021-11-24 | 2022-01-28 | 中国铁道科学研究院集团有限公司铁道建筑研究所 | 一种线缆收放装置及方法 |
-
2021
- 2021-11-24 CN CN202122896304.9U patent/CN216512215U/zh active Active
Cited By (2)
| Publication number | Priority date | Publication date | Assignee | Title |
|---|---|---|---|---|
| CN113979240A (zh) * | 2021-11-24 | 2022-01-28 | 中国铁道科学研究院集团有限公司铁道建筑研究所 | 一种线缆收放装置及方法 |
| CN113979240B (zh) * | 2021-11-24 | 2024-01-16 | 中国铁道科学研究院集团有限公司铁道建筑研究所 | 一种线缆收放装置及方法 |
Similar Documents
| Publication | Publication Date | Title |
|---|---|---|
| CN111926878B (zh) | 一种电缆绞盘同步的电动装载机 | |
| CN104671137A (zh) | 一种海缆埋设机收放拖曳绞车 | |
| CN106986240A (zh) | 一种电动三路同步收放线装置 | |
| CN216512215U (zh) | 一种线缆收放装置 | |
| CN112173892A (zh) | 一种无滑环双线缆收放装置及方法 | |
| CN202917925U (zh) | 飞机供电装备用电缆收放装置 | |
| CN108275505A (zh) | 一种新型的无轴多头动力放线机 | |
| CN113979240B (zh) | 一种线缆收放装置及方法 | |
| CN112332315B (zh) | 一种电缆放线器及其施工工艺 | |
| CN218754118U (zh) | 一种笼绞机内部主动放线结构 | |
| CN111675045A (zh) | 一种电缆自动盘线机 | |
| CN114229726B (zh) | 小型伺服卷扬机 | |
| CN210914827U (zh) | 龙门式收排放线装置用提升收线机构 | |
| CN116281557A (zh) | 新能源变速箱铝合金壳体加工用吊装设备 | |
| CN211508422U (zh) | 放线滑车 | |
| CN107757749B (zh) | 一种多功能电力施工车 | |
| CN223032741U (zh) | 一种马达驱动收放线盘机构 | |
| CN216548924U (zh) | 一种电力安装用放线装置 | |
| CN216583439U (zh) | 一种灵活性高的弱电工程用线缆放线装置 | |
| CN223522094U (zh) | 一种电缆收放车 | |
| CN221149723U (zh) | 一种电源线缆拧股装置 | |
| CN214879088U (zh) | 一种工程布线用绞磨机 | |
| CN222042253U (zh) | 一种电线排线架 | |
| CN222168035U (zh) | 7芯高速绞丝机 | |
| CN221739757U (zh) | 一种电动绞车 |
Legal Events
| Date | Code | Title | Description |
|---|---|---|---|
| GR01 | Patent grant | ||
| GR01 | Patent grant |