CN215943285U - 一种外模翼缘堵板固定调节装置 - Google Patents
一种外模翼缘堵板固定调节装置 Download PDFInfo
- Publication number
- CN215943285U CN215943285U CN202120722932.2U CN202120722932U CN215943285U CN 215943285 U CN215943285 U CN 215943285U CN 202120722932 U CN202120722932 U CN 202120722932U CN 215943285 U CN215943285 U CN 215943285U
- Authority
- CN
- China
- Prior art keywords
- plate
- adjusting device
- flange
- fixing
- external mold
- Prior art date
- Legal status (The legal status is an assumption and is not a legal conclusion. Google has not performed a legal analysis and makes no representation as to the accuracy of the status listed.)
- Active
Links
- 230000000903 blocking effect Effects 0.000 claims abstract description 69
- 230000003014 reinforcing effect Effects 0.000 claims abstract description 8
- 229910000831 Steel Inorganic materials 0.000 claims description 22
- 239000010959 steel Substances 0.000 claims description 22
- 239000000463 material Substances 0.000 claims description 11
- 238000000034 method Methods 0.000 claims description 7
- 229910001220 stainless steel Inorganic materials 0.000 claims description 6
- 239000010935 stainless steel Substances 0.000 claims description 6
- 238000003466 welding Methods 0.000 claims description 6
- 230000007306 turnover Effects 0.000 abstract description 3
- 238000010276 construction Methods 0.000 description 8
- 230000007547 defect Effects 0.000 description 3
- 230000008901 benefit Effects 0.000 description 2
- 230000003111 delayed effect Effects 0.000 description 2
- 238000009434 installation Methods 0.000 description 2
- 210000001503 joint Anatomy 0.000 description 2
- 230000001133 acceleration Effects 0.000 description 1
- 230000004075 alteration Effects 0.000 description 1
- 230000009286 beneficial effect Effects 0.000 description 1
- 230000001934 delay Effects 0.000 description 1
- 238000009415 formwork Methods 0.000 description 1
- 238000002789 length control Methods 0.000 description 1
- 238000012986 modification Methods 0.000 description 1
- 230000004048 modification Effects 0.000 description 1
- 230000008569 process Effects 0.000 description 1
- 238000006467 substitution reaction Methods 0.000 description 1
Images
Landscapes
- Moulds, Cores, Or Mandrels (AREA)
Abstract
本实用新型公开了一种外模翼缘堵板固定调节装置,包括外模模板、翼缘堵板、固定调节装置、平台、顶丝、定位板、第一销轴、卡座、第二销轴、加强板。所述当需要进行调节长度时,仅需旋转转动顶丝,调节顶丝收回一定距离,此时移动翼缘堵板的位置,当翼缘堵板达到所需调节位置时,此时在将两侧的顶丝将翼缘堵板固定牢固,所述调节完成后,仅需拆除第二销轴,此时定位板可以绕第一销轴向后翻转180°,此时可以拆除翼缘堵板,所述本实用新型安装与拆卸较为简单,并且拆除翼缘堵板不会对桥面施工产生影响,由此防止延缓施工进度,对桥面施工产生影响等情况出现。
Description
技术领域
本实用新型是一种外模翼缘堵板固定调节装置,具体涉及桥梁模板外模系统行业技术领域。
背景技术
随着中国发展步伐的加快,高速公路的建设逐渐向山区推移,跨河、跨山谷的桥梁数量逐渐增多,节段预制拼装公路桥梁因其优秀的成桥耐久性而得以迅速发展,越来越多的国家或地区开始大范围使用节段预制装配化施工模式,因此对桥梁模板的需求也日益凸显。在桥梁模板外模设计中,外模翼缘堵板单独设计并安装于外模翼缘模板上方,为固定外模翼缘堵板防止其移动,外模翼缘堵板一般直接通过螺栓连接将其固定与下方的外模模板上,但是目前常用的外模翼缘堵板在安装的过程中由于定位不够精准,由此需要紧凑型多次的调整,但是由于外模翼缘堵板一般直接通过螺栓连接将其固定,因此存在调整较为复杂,需要耗费大量的人力、物力以及时间,延缓施工进度。
但是关于目前常用的外模翼缘堵板在安装的过程中由于定位不够精准,由此需要紧凑型多次的调整,但是由于外模翼缘堵板一般直接通过螺栓连接将其固定,因此存在调整较为复杂,需要耗费大量的人力、物力以及时间,延缓施工进度的问题,在中国实用新型专利公开号:CN 212052266 U公开了一种可调节外模翼缘堵板,包括翼缘堵板、调节螺杆、套管和连接支座,所述翼缘堵板由面板、肋板和铰耳构成,该外模翼缘堵板可以方便进行长度调节,避免了开孔缺陷,整体结构设计简单合理,使用方便,更加安全。本新型提供的外模翼缘堵板可以方便进行长度调节,避免了开孔缺陷,但是上述专利的技术方案中的外模翼缘堵板在使用的过程中依然存在无法拆除翼缘堵板,由此导致翼缘堵板对桥面施工产生影响,延缓施工进度。
但是关于目前常用的外模翼缘堵板在安装的过程中由于定位不够精准,由此需要紧凑型多次的调整,但是由于外模翼缘堵板一般直接通过螺栓连接将其固定,因此存在调整较为复杂,需要耗费大量的人力、物力以及时间,延缓施工进度的问题,在中国实用新型专利公开号:CN 210161374 U公开了一种预制箱梁可调翼缘模板,包括底板,所述底板的两侧均通过腹板分别与顶板下表面的两侧相连接,且顶板的两侧均连接有翼缘板,所述翼缘板的上表面设置有滴水槽,且翼缘板上设置有调节孔,所述调节孔内贯穿有定位螺丝,且定位螺丝的上端连接于翼缘的下端,所述翼缘的外侧抵在螺栓的一端,且螺栓贯穿模板竖肋,并且螺栓上连接有螺母。该预制箱梁可调翼缘模板能便于调节翼缘的位置,进而能够节约模板,并且能便于节约人工费、机械费等资金,从而能便于节约成本,使得该预制箱梁可调翼缘模板具有显著的经济效益和良好的社会效益。但是上述专利的技术方案中的外模翼缘堵板依然接通过螺栓连接将其固定与下方的外模模板上,由此对于外模翼缘堵板一般直接通过螺栓连接将其固定,因此存在调整较为复杂,需要耗费大量的人力、物力以及时间,延缓施工进度等问题依然无法得到解决。
发明内容
本实用新型的目的在于解决现有技术的不足,提供一种外模翼缘堵板固定调节装置,以解决上述背景技术中提出的但是由于外模翼缘堵板一般直接通过螺栓连接将其固定,因此存在调整较为复杂,需要耗费大量的人力、物力以及时间,延缓施工进度等问题。
为实现上述目的,本实用新型提供如下技术方案:一种外模翼缘堵板固定调节装置,包括外模模板、翼缘堵板、固定调节装置、平台、顶丝、定位板、第一销轴、卡座、第二销轴、加强板、槽钢、螺母、垫板、L型板、挂篮、固定杆、顶丝孔。
优选的,所述挂篮左右两侧设置有外模模板,所述外模模板整体采用不锈钢材料设置,所述外模模板里侧设置有固定杆,所述固定杆的形状与外模模板的形状相一致。
优选的,所述固定杆伸出挂篮的左右两侧顶端设置有平台,所述外模模板的翼缘板位置处设置有翼缘堵板,所述翼缘堵板的侧壁与挂篮的侧壁相抵接,所述翼缘堵板的底部端面与外模模板的顶部端面相抵接,所述翼缘堵板垂直设置于外模模板的顶部端面。
优选的,所述翼缘堵板与平台之间通过固定调节装置相连接,所述固定调节装置由顶丝、第一销轴、第二销轴、定位板、卡座五部分组成,所述翼缘堵板整体呈梯形设置。
优选的,所述翼缘堵板的顶部端面与侧部端面设置有顶丝孔,所述顶丝贯穿顶丝孔,所述位于翼缘堵板侧部端面的顶丝贯穿固定调节装置的卡座与定位板的竖板,所述位于翼缘堵板顶部端面的顶丝贯穿定位板的横板,所述两组顶丝将翼缘堵板固定牢固。
优选的,所述固定调节装置的卡座的下侧固定焊接设置于平台的顶部端面,所述卡座与定位板均采用不锈钢材料设置,所述卡座采用具有上下两组定位孔的钢板设置,所述定位板采用具有上下两组定位孔的L型板设置。
优选的,所述卡座与定位板的定位孔相重合,并且通过第一销轴与第二销轴进行固定连接,所述第一销轴与第二销轴的设置,便于限制定位板的转动。
优选的,所述定位板由L型板、垫板、螺母组成,并且焊接为一体成为组焊件,所述垫板采用开设螺纹孔的钢板制成,并且垫板为60*10mm,所述垫板的螺纹孔与螺母配合使用,所述垫板以及螺母的材料型号规格、L型板尺寸、垫板的开孔数量及螺母数量依据翼缘堵板的实际尺寸以及调节需求进行设置。
优选的,所述卡座由槽钢、加强板、螺母、垫板组成,焊接为一体成为组焊件,所述垫板的左右两侧固定设置有槽钢,所述槽钢的上下两侧均设置有垫板,所述垫板采用开设螺纹孔的钢板制成,并且垫板为60*10mm,所述垫板的螺纹孔与螺母配合使用。
本实用新型提供了一种外模翼缘堵板固定调节装置,具备以下有益效果:所述本实用新型翼缘堵板的调节方法为:首先按照图一与图五所示,首先将翼缘堵板与固定调节装置进行固定设置,所述外模模板的翼缘板位置处设置有翼缘堵板,所述翼缘堵板的侧壁与挂篮的侧壁相抵接,所述翼缘堵板的底部端面与外模模板的顶部端面相抵接,所述翼缘堵板垂直设置于外模模板的顶部端面。所述当需要进行调节长度时,仅需旋转转动顶丝,调节顶丝收回一定距离,此时移动翼缘堵板的位置,当翼缘堵板达到所需调节位置时,此时在将两侧的顶丝将翼缘堵板固定牢固,所述调节完成后,仅需拆除第二销轴,此时定位板可以绕第一销轴向后翻转180°,此时可以拆除翼缘堵板,所述本实用新型安装与拆卸较为简单,并且拆除翼缘堵板不会对桥面施工产生影响,由此防止延缓施工进度,对桥面施工产生影响等情况出现。
附图说明
附图用来提供对本实用新型的进一步理解,并且构成说明书的一部分,与本实用新型的实施例一起用于解释本实用新型,并不构成对本实用新型的限制,在附图中:
图1为本实用新型提出的一种外模翼缘堵板固定调节装置结构示意图;
图2为本实用新型提出的一种外模翼缘堵板固定调节装置部分结构示意图;
图3为本实用新型提出的一种外模翼缘堵板固定调节装置卡座结构示意图;
图4为本实用新型提出的一种外模翼缘堵板固定调节装置的L型板部分结构示意图;
图5为本实用新型提出的一种外模翼缘堵板固定调节装置的旋向结构示意图;
图6为本实用新型提出的一种外模翼缘堵板固定调节装置的部分结构示意图;
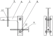
图中:1、外模模板;2、翼缘堵板;3、固定调节装置;4、平台;5、顶丝;6、定位板;7、第一销轴;8、卡座;9、第二销轴;10、加强板;11、槽钢;12、螺母;13、垫板;14、L型板;15、挂篮;16、固定杆;17、顶丝孔。
具体实施方式
下面将结合本实用新型实施例中的附图,对本实用新型实施例中的技术方案进行清楚、完整地描述,显然,所描述的实施例仅仅是本实用新型一部分实施例,而不是全部的实施例。基于本实用新型中的实施例,本领域普通技术人员在没有做出创造性劳动前提下所获得的所有其他实施例,都属于本实用新型保护的范围。
请参阅图1-6,本实用新型提供以下一种技术方案:本实用新型一种外模翼缘堵板固定调节装置,包括包括外模模板1、翼缘堵板2、固定调节装置3、平台4、顶丝5、定位板6、第一销轴7、卡座8、第二销轴9、加强板10、槽钢11、螺母12、垫板13、L型板14、挂篮15、固定杆16。
如图1所示,本实施例提供了一种外模翼缘堵板固定调节装置,所述挂篮15左右两侧设置有外模模板1,所述外模模板1整体采用不锈钢材料设置,所述外模模板1里侧设置有固定杆16,所述固定杆16的形状与外模模板1的形状相一致。
如图1和图6所示,本实施例提供了一种外模翼缘堵板固定调节装置,所述固定杆16伸出挂篮15的左右两侧顶端设置有平台4,所述外模模板1的翼缘板位置处设置有翼缘堵板2,所述翼缘堵板2的侧壁与挂篮15的侧壁相抵接,所述翼缘堵板2的底部端面与外模模板1的顶部端面相抵接,所述翼缘堵板2垂直设置于外模模板1的顶部端面。
如图1-2所示,本实施例提供了一种外模翼缘堵板固定调节装置,所述翼缘堵板2与平台4之间通过固定调节装置3相连接,所述固定调节装置3由顶丝5、第一销轴7、第二销轴9、定位板6、卡座8五部分组成,所述翼缘堵板2整体呈梯形设置。
如图2所示,本实施例提供了一种外模翼缘堵板固定调节装置,所述翼缘堵板2的顶部端面与侧部端面设置有顶丝孔17,所述顶丝5贯穿顶丝孔17,所述位于翼缘堵板2侧部端面的顶丝5贯穿固定调节装置3的卡座8与定位板6的竖板,所述位于翼缘堵板2顶部端面的顶丝5贯穿定位板6的横板,所述两组顶丝5将翼缘堵板2固定牢固。
如图1-2所示,本实施例提供了一种外模翼缘堵板固定调节装置,所述固定调节装置3的卡座8的下侧固定焊接设置于平台4的顶部端面,所述卡座8与定位板6均采用不锈钢材料设置,所述卡座8采用具有上下两组定位孔的钢板设置,所述定位板6采用具有上下两组定位孔的L型板设置。
如图2所示,本实施例提供了一种外模翼缘堵板固定调节装置,其特征在于:所述卡座8与定位板6的定位孔相重合,并且通过第一销轴7与第二销轴9进行固定连接,所述第一销轴7与第二销轴9的设置,便于限制定位板6的转动。
如图3-5所示,本实施例提供了一种外模翼缘堵板固定调节装置,其特征在于:所述定位板6由L型板14、垫板13、螺母12组成,并且焊接为一体成为组焊件,所述垫板13采用开设螺纹孔的钢板制成,并且垫板13为60*10mm,所述垫板13的螺纹孔与螺母12配合使用,所述垫板13以及螺母12的材料型号规格、L型板14尺寸、垫板13的开孔数量及螺母12数量依据翼缘堵板2的实际尺寸以及调节需求进行设置。
如图3所示,本实施例提供了一种外模翼缘堵板固定调节装置,其特征在于:所述卡座8由槽钢11、加强板10、螺母12、垫板13组成,焊接为一体成为组焊件,所述垫板13的左右两侧固定设置有槽钢11,所述槽钢11的上下两侧均设置有垫板13,所述垫板13采用开设螺纹孔的钢板制成,并且垫板13为60*10mm,所述垫板13的螺纹孔与螺母12配合使用。
本实用新型的使用流程:所述本实用新型翼缘堵板的调节方法为:首先按照图一与图五所示,首先将翼缘堵板2与固定调节装置3进行固定设置,所述外模模板1的翼缘板位置处设置有翼缘堵板2,所述翼缘堵板2的侧壁与挂篮15的侧壁相抵接,所述翼缘堵板2的底部端面与外模模板1的顶部端面相抵接,所述翼缘堵板2垂直设置于外模模板1的顶部端面。所述当需要进行调节长度时,仅需旋转转动顶丝5,调节顶丝收回一定距离,此时移动翼缘堵板2的位置,当翼缘堵板达到所需调节位置时,此时在将两侧的顶丝将翼缘堵板2固定牢固,所述调节完成后,仅需拆除第二销轴9,此时定位板6可以绕第一销轴7向后翻转180°,此时可以拆除翼缘堵板2,所述本实用新型安装与拆卸较为简单,并且拆除翼缘堵板2不会对桥面施工产生影响,由此防止延缓施工进度,对桥面施工产生影响等情况出现,由此减少了施工投入,避免资源浪费,节省大量使用成本。
尽管已经示出和描述了本实用新型的实施例,对于本领域的普通技术人员而言,可以理解在不脱离本实用新型的原理和精神的情况下可以对这些实施例进行多种变化、修改、替换和变型,本实用新型的范围由所附权利要求及其等同物限定。
Claims (7)
1.一种外模翼缘堵板固定调节装置,包括外模模板(1)、翼缘堵板(2)、固定调节装置(3)、平台(4)、顶丝(5)、定位板(6)、第一销轴(7)、卡座(8)、第二销轴(9)、加强板(10)、槽钢(11)、螺母(12)、垫板(13)、L型板(14)、挂篮(15)、固定杆(16)、顶丝孔(17);其特征在于:所述挂篮(15)左右两侧设置有外模模板(1),所述外模模板(1)的翼缘板位置处设置有翼缘堵板(2),所述翼缘堵板(2)与平台(4)之间通过固定调节装置(3)相连接,所述固定调节装置(3)由顶丝(5)、第一销轴(7)、第二销轴(9)、定位板(6)、卡座(8)五部分组成,所述翼缘堵板(2)整体呈梯形设置,所述固定调节装置(3)的卡座(8)的下侧固定焊接设置于平台(4)的顶部端面,所述卡座(8)与定位板(6)均采用不锈钢材料设置,所述定位板(6)由L型板(14)、垫板(13)、螺母(12)组成,并且焊接为一体成为组焊件,所述卡座(8)由槽钢(11)、加强板(10)、螺母(12)、垫板(13)组成,焊接为一体成为组焊件。
2.根据权利要求1所述一种外模翼缘堵板固定调节装置,其特征在于:所述外模模板(1)整体采用不锈钢材料设置,所述外模模板(1)里侧设置有固定杆(16),所述固定杆(16)的形状与外模模板(1)的形状相一致。
3.根据权利要求1所述一种外模翼缘堵板固定调节装置,其特征在于:所述固定杆(16)伸出挂篮(15)的左右两侧顶端设置有平台(4),所述翼缘堵板(2)的侧壁与挂篮(15)的侧壁相抵接,所述翼缘堵板(2)的底部端面与外模模板(1)的顶部端面相抵接,所述翼缘堵板(2)垂直设置于外模模板(1)的顶部端面。
4.根据权利要求1所述一种外模翼缘堵板固定调节装置,其特征在于:所述翼缘堵板(2)的顶部端面与侧部端面设置有顶丝孔(17),所述顶丝(5)贯穿顶丝孔(17),所述位于翼缘堵板(2)侧部端面的顶丝(5)贯穿固定调节装置(3)的卡座(8)与定位板(6)的竖板,所述位于翼缘堵板(2)顶部端面的顶丝(5)贯穿定位板(6)的横板,所述两组顶丝(5)将翼缘堵板(2)固定牢固。
5.根据权利要求1所述一种外模翼缘堵板固定调节装置,其特征在于:所述卡座(8)采用具有上下两组定位孔的钢板设置,所述定位板(6)采用具有上下两组定位孔的L型板(14)设置,所述卡座(8)与定位板(6)的定位孔相重合,并且通过第一销轴(7)与第二销轴(9)进行固定连接。
6.根据权利要求1所述一种外模翼缘堵板固定调节装置,其特征在于:所述垫板(13)采用开设螺纹孔的钢板制成,并且垫板(13)为60*10mm,所述垫板(13)的螺纹孔与螺母(12)配合使用, 所述垫板(13)以及螺母(12)的材料型号规格、L型板(14)尺寸、垫板(13)的开孔数量及螺母(12)数量依据翼缘堵板(2)实际尺寸以及调节需求进行设置。
7.根据权利要求1所述一种外模翼缘堵板固定调节装置,其特征在于:所述垫板(13)的左右两侧固定设置有槽钢(11),所述槽钢(11)的上下两侧均设置有垫板(13),所述垫板(13)采用开设螺纹孔的钢板制成,并且垫板(13)为60*10mm,所述垫板(13)的螺纹孔与螺母(12)配合使用。
Priority Applications (1)
| Application Number | Priority Date | Filing Date | Title |
|---|---|---|---|
| CN202120722932.2U CN215943285U (zh) | 2021-04-09 | 2021-04-09 | 一种外模翼缘堵板固定调节装置 |
Applications Claiming Priority (1)
| Application Number | Priority Date | Filing Date | Title |
|---|---|---|---|
| CN202120722932.2U CN215943285U (zh) | 2021-04-09 | 2021-04-09 | 一种外模翼缘堵板固定调节装置 |
Publications (1)
| Publication Number | Publication Date |
|---|---|
| CN215943285U true CN215943285U (zh) | 2022-03-04 |
Family
ID=80505800
Family Applications (1)
| Application Number | Title | Priority Date | Filing Date |
|---|---|---|---|
| CN202120722932.2U Active CN215943285U (zh) | 2021-04-09 | 2021-04-09 | 一种外模翼缘堵板固定调节装置 |
Country Status (1)
| Country | Link |
|---|---|
| CN (1) | CN215943285U (zh) |
Cited By (1)
| Publication number | Priority date | Publication date | Assignee | Title |
|---|---|---|---|---|
| CN112936521A (zh) * | 2021-04-09 | 2021-06-11 | 山东博远重工有限公司 | 一种外模翼缘堵板固定调节装置 |
-
2021
- 2021-04-09 CN CN202120722932.2U patent/CN215943285U/zh active Active
Cited By (1)
| Publication number | Priority date | Publication date | Assignee | Title |
|---|---|---|---|---|
| CN112936521A (zh) * | 2021-04-09 | 2021-06-11 | 山东博远重工有限公司 | 一种外模翼缘堵板固定调节装置 |
Similar Documents
| Publication | Publication Date | Title |
|---|---|---|
| CN215943285U (zh) | 一种外模翼缘堵板固定调节装置 | |
| CN205954965U (zh) | 一种新型钢骨架轻型楼板的节点 | |
| CN112459472A (zh) | 一种二次砌体结构完成后的构造柱的施工方法 | |
| CN112936521A (zh) | 一种外模翼缘堵板固定调节装置 | |
| CN209010983U (zh) | 预制防撞墙连接段的安装装置 | |
| CN110747743A (zh) | 一种钢-混凝土桥梁梁体浇筑施工工艺 | |
| CN205908034U (zh) | 一种src柱底板定位支架 | |
| CN221778641U (zh) | 一种绿色建筑物的钢结构支撑架组件 | |
| CN210164106U (zh) | 一种钢龙骨单元式幕墙底端连接装置 | |
| CN218813200U (zh) | 一种上跨即有道路梁板安装的精准定位装置 | |
| CN218264956U (zh) | 一种用于方圆扣的工具式辅助支架 | |
| CN206873270U (zh) | 一种预制预应力桁架式钢骨砼箱 | |
| CN215366689U (zh) | 一种滑调式砼道路侧模对扣承插支撑体系 | |
| CN211948919U (zh) | 一种固定于空间结构支座的预埋件的定位装置 | |
| CN110905107B (zh) | 一种曲面幕墙龙骨施工方法 | |
| CN222414117U (zh) | 一种用于精准对接竖向钢结构柱的微调装置 | |
| CN113680981A (zh) | 一种连铸机结晶器振动装置定位工具及使用方法 | |
| CN210738077U (zh) | 防水反沿铝合金吊模 | |
| CN220353079U (zh) | 一种支撑定位可调支座 | |
| CN208005948U (zh) | 高速铁路预制箱梁可调节装配式绑扎胎具 | |
| CN216810639U (zh) | 一种斜支撑杆固定点可调节装置 | |
| CN223608169U (zh) | 一种悬挑式型钢梁上脚手架立杆固定装置 | |
| CN218375395U (zh) | 一种厂房钢柱标高的调整装置 | |
| CN222847845U (zh) | 一种止水钢板免焊接的固定装置 | |
| CN216740018U (zh) | 一种钢结构节点的可调节连接结构 |
Legal Events
| Date | Code | Title | Description |
|---|---|---|---|
| GR01 | Patent grant | ||
| GR01 | Patent grant |