CN214832481U - Water conservancy tunnel groundwater accuse row device - Google Patents

Water conservancy tunnel groundwater accuse row device Download PDF

Info

Publication number
CN214832481U
CN214832481U CN202120546094.8U CN202120546094U CN214832481U CN 214832481 U CN214832481 U CN 214832481U CN 202120546094 U CN202120546094 U CN 202120546094U CN 214832481 U CN214832481 U CN 214832481U
Authority
CN
China
Prior art keywords
welded
pipe
valve
groundwater
flange plate
Prior art date
Legal status (The legal status is an assumption and is not a legal conclusion. Google has not performed a legal analysis and makes no representation as to the accuracy of the status listed.)
Expired - Fee Related
Application number
CN202120546094.8U
Other languages
Chinese (zh)
Inventor
潘亚辉
付海峰
杨静芸
保庆顺
Current Assignee (The listed assignees may be inaccurate. Google has not performed a legal analysis and makes no representation or warranty as to the accuracy of the list.)
Individual
Original Assignee
Individual
Priority date (The priority date is an assumption and is not a legal conclusion. Google has not performed a legal analysis and makes no representation as to the accuracy of the date listed.)
Filing date
Publication date
Application filed by Individual filed Critical Individual
Priority to CN202120546094.8U priority Critical patent/CN214832481U/en
Application granted granted Critical
Publication of CN214832481U publication Critical patent/CN214832481U/en
Expired - Fee Related legal-status Critical Current
Anticipated expiration legal-status Critical

Links

Images

Classifications

    • YGENERAL TAGGING OF NEW TECHNOLOGICAL DEVELOPMENTS; GENERAL TAGGING OF CROSS-SECTIONAL TECHNOLOGIES SPANNING OVER SEVERAL SECTIONS OF THE IPC; TECHNICAL SUBJECTS COVERED BY FORMER USPC CROSS-REFERENCE ART COLLECTIONS [XRACs] AND DIGESTS
    • Y02TECHNOLOGIES OR APPLICATIONS FOR MITIGATION OR ADAPTATION AGAINST CLIMATE CHANGE
    • Y02EREDUCTION OF GREENHOUSE GAS [GHG] EMISSIONS, RELATED TO ENERGY GENERATION, TRANSMISSION OR DISTRIBUTION
    • Y02E10/00Energy generation through renewable energy sources
    • Y02E10/20Hydro energy

Landscapes

  • Excavating Of Shafts Or Tunnels (AREA)

Abstract

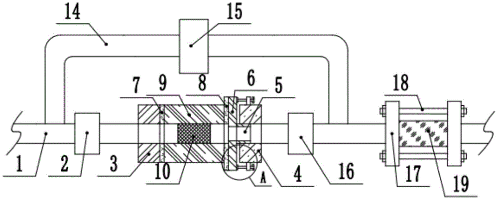
一种水利隧洞地下水控排装置,包括排水管,排水管管身左侧固定连接有阀门a,排水管管身中间位置左侧焊接有法兰板a,排水管管身中间位置右侧焊接有法兰板b,法兰板b内部滑动连接有连接管,连接管左端焊接有夹板,法兰板a右侧壁固定连接有密封垫a,夹板左侧壁固定连接有密封垫b,密封垫a与密封垫b之间共同夹紧固定有过滤管,过滤管内部设有滤芯,法兰板b外壁呈圆形阵列焊接有多个连接板,每个连接板中心位置均由螺纹结构连接有转杆,每个转杆左端均焊接有压板;本实用新型可具有过滤地下水的功能,有效防止出现堵塞情况,使用效果较佳且本实用新型设有的过滤管还可具有便于拆装的功能,便于工作人员清洗更换,便于使用。

Figure 202120546094

The utility model relates to a groundwater control and drainage device for a water conservancy tunnel, comprising a drain pipe, a valve a is fixedly connected to the left side of the drain pipe body, a flange plate a is welded on the left side of the middle position of the drain pipe pipe body, and a flange plate a is welded on the right side of the middle position of the drain pipe pipe body. Flange plate b, a connecting pipe is slidably connected inside the flange plate b, a splint is welded on the left end of the connecting pipe, a gasket a is fixedly connected to the right side wall of the flange plate a, and a gasket b is fixedly connected to the left side wall of the splint plate, and the gasket A filter tube is clamped and fixed between a and the gasket b. The filter tube is provided with a filter element. The outer wall of the flange plate b is welded with a plurality of connecting plates in a circular array. The center of each connecting plate is connected by a threaded structure. The left end of each rotating rod is welded with a pressure plate; the utility model can have the function of filtering groundwater, effectively preventing clogging, and the use effect is good, and the filter tube provided by the utility model can also have the function of facilitating disassembly and assembly , easy for staff to clean and replace, easy to use.

Figure 202120546094

Description

Water conservancy tunnel groundwater accuse row device
Technical Field
The utility model relates to a hydraulic engineering field especially relates to a water conservancy tunnel groundwater accuse row device.
Background
Hydraulic engineering, also known as water engineering, is an engineering built for controlling and allocating surface water and underground water in the nature to achieve the purposes of removing harm and benefiting the interest; water is a valuable resource essential to human production and life, but the naturally existing state of the water does not completely meet the needs of human beings, and only when water conservancy projects are built, water flow can be controlled, flood disasters are prevented, and water quantity is regulated and distributed to meet the needs of the people's life and production on water resources.
Water conservancy tunnel groundwater needs to use among the prior art and controls the row device, but the accuse row device that is used for tunnel groundwater among the prior art realizes the accuse row purpose to groundwater mostly through the cooperation of level sensor and valve, and the principle is comparatively simple, and the function is single, because groundwater inside contains a large amount of silt, consequently when controlling row to groundwater, often causes groundwater to control the row device and takes place the condition of blockking up, leads to groundwater to control the row device and damage, unable normal work.
In order to solve the problem, the application provides a water conservancy tunnel groundwater accuse row device.
SUMMERY OF THE UTILITY MODEL
Objects of the invention
For solving the technical problem that exists among the background art, the utility model provides a water conservancy tunnel groundwater accuse row device, the utility model discloses a drain pipe, valve an, flange board b, connecting pipe, splint, sealed pad an, sealed pad b, filter tube, filter core, connecting plate, bull stick, the cooperation of clamp plate that are equipped with is used for tunnel groundwater is when discharging through the drain pipe, can be effectively filtered by the inside filter core that is equipped with of filter tube to silt in the filtering groundwater, promptly the utility model discloses can have the function of filtering groundwater, effectively prevent the jam condition, guarantee smooth accuse of groundwater and arrange, the result of use preferred just the filter tube that is equipped with the utility model discloses the filter tube still can have the function of the dismouting of being convenient for, thereby the staff of being convenient for washs the change, convenient to use.
(II) technical scheme
In order to solve the problem, the utility model provides a water conservancy tunnel groundwater accuse row device, including the drain pipe, drain pipe shaft left side fixedly connected with valve an, the welding of drain pipe shaft intermediate position left side has flange board an, and the welding of drain pipe shaft intermediate position right side has flange board b, the inside sliding connection of flange board b has the connecting pipe, and the welding of connecting pipe left end has splint, the sealed a of flange board a right side wall fixedly connected with fills up, and the sealed b of splint left side wall fixedly connected with fills up, and it is fixed with the filter tube to press from both sides jointly between sealed a and the sealed b of pad, and the filter tube is inside to be equipped with the filter core, flange board b outer wall is circular array welding has a plurality of connecting plates, and every connecting plate central point puts and is connected with the bull stick by helicitic texture, and every bull stick left end has all welded the clamp plate.
Preferably, the left side of the drainage pipe body is welded with a left end of a C-shaped bypass, the left end of the C-shaped bypass is positioned on the left side of the valve a, and the middle position of the C-shaped bypass is fixedly connected with a valve b.
Preferably, the middle position of the drain pipe body is fixedly connected with a valve c, and the valve c is positioned on the right side of the flange plate b.
Preferably, the right end of the C-shaped bypass is welded in the middle of the drainage pipe body, and the right end of the C-shaped bypass is located on the right side of the valve C.
Preferably, a set of flange plates c are welded on the right side of the drain pipe body, and the number of the set of flange plates c is two.
Preferably, a plurality of fixing bolts penetrate through the edge positions of the two flange plates c together in a circular array.
Preferably, the central positions of the two flange plates c are fixedly connected with a glass tube together.
The above technical scheme of the utility model has following profitable technological effect:
1. the utility model discloses a drain pipe, valve a, flange board b, connecting pipe, splint, sealed pad a, sealed pad b, filter tube, filter core, connecting plate, bull stick, clamp plate that are equipped with use cooperatively, make tunnel groundwater when discharging through the drain pipe, can be effectively filtered by the filter core that is equipped with inside the filter tube to filter silt in the groundwater, namely the utility model discloses can have the function of filtering groundwater, effectively prevent the jam condition from appearing, guarantee the smooth accuse of groundwater to arrange, the result of use is preferred and the utility model discloses the filter tube that is equipped with still can have the function of the dismouting of being convenient for, thereby the staff of being convenient for washs the change, convenient to use;
2. the utility model discloses a cooperation use of C shape bypass, valve b, valve C that are equipped with for the staff when wasing the filter tube and changing, can open valve b, close valve a and valve C, make groundwater discharge by C shape bypass, even get the utility model when wasing the change filter tube, can not influence the normal accuse of groundwater and arrange the operation, make the utility model discloses structural design is reasonable, improves the usability of the utility model;
3. the utility model discloses a cooperation of a set of flange board c, fixing bolt, glass pipe that is equipped with is used, can make the utility model discloses have the staff of being convenient for and observe groundwater flow, groundwater by the function of filter effect to whether the staff of being convenient for judges that whether should wash and change the filter tube, the utility model discloses novel structure, reasonable in design has higher practicality and usability, suitable using widely.
Drawings
Fig. 1 is the utility model provides a water conservancy tunnel groundwater accuse row device's local structure cross-sectional view.
Fig. 2 is the utility model provides a water conservancy tunnel groundwater accuse row device's structure elevation view.
Fig. 3 is an enlarged view of a portion a in fig. 1.
Reference numerals: 1. a drain pipe; 2. a valve a; 3. a flange plate a; 4. a flange plate b; 5. a connecting pipe; 6. a splint; 7. a gasket a; 8. a gasket b; 9. a filter tube; 10. a filter element; 11. a connecting plate; 12. a rotating rod; 13. pressing a plate; 14. c-shaped bypass; 15. a valve b; 16. a valve c; 17. a flange plate c; 18. fixing the bolt; 19. a glass tube.
Detailed Description
In order to make the objects, technical solutions and advantages of the present invention more apparent, the present invention will be described in detail with reference to the accompanying drawings. It should be understood that the description is intended to be illustrative only and is not intended to limit the scope of the present invention. Moreover, in the following description, descriptions of well-known structures and techniques are omitted so as to not unnecessarily obscure the concepts of the present invention.
As shown in fig. 1-3, the utility model provides a water conservancy tunnel groundwater accuse row device, including drain pipe 1, drain pipe 1 shaft left side fixedly connected with valve a2, drain pipe 1 shaft intermediate position left side welding has flange board a3, drain pipe 1 shaft intermediate position right side welding has flange board b4, the inside sliding connection of flange board b4 has connecting pipe 5, so connecting pipe 5 can stretch out and draw back in flange board b4, connecting pipe 5 left end welding has splint 6, flange board a3 right side wall fixedly connected with sealed pad a7, splint 6 left side wall fixedly connected with sealed pad b8, sealed pad a7 and sealed pad b8 between clamp together and be fixed with filter tube 9, so under the sealed effect of sealed pad a7 and sealed pad b8, the circumstances that can effectively prevent groundwater from appearing leaking when passing through filter tube 9, filter core 10 is equipped with in filter tube 9, can filter the groundwater, thus filtering the silt in the groundwater, namely the utility model can have the function of filtering the groundwater, effectively preventing the blocking condition, ensuring the smooth control and discharge of the groundwater, and having better use effect, the outer wall of the flange plate b4 is welded with a plurality of connecting plates 11 in a circular array, the central position of each connecting plate 11 is connected with a rotating rod 12 by a screw structure, the left end of each rotating rod 12 is welded with a pressing plate 13, so that the worker can rotate the rotating rod 12, control the rotating rod 12 to drive the pressing plate 13 to move leftwards, thereby driving the clamping plate 6 to move leftwards, thereby leading the filter pipe 9 to be clamped and fixed by the clamping plate 6 and the flange plate a3, and similarly, reversely rotating the rotating rod 12, thus relieving the clamping force of the clamping plate 6 and the flange plate a3 on the filter pipe 9, thereby being convenient for the worker to dismantle the filter pipe 9, therefore, the filter pipe 9 provided by the utility model can also have the function of being convenient for disassembly and assembly, thereby being convenient for workers to clean and replace and convenient to use;
the left side of the pipe body of the drainage pipe 1 is further welded with the left end of a C-shaped bypass 14, the left end of the C-shaped bypass 14 is positioned on the left side of a valve a2, the middle position of the C-shaped bypass 14 is fixedly connected with a valve b15, the middle position of the pipe body of the drainage pipe 1 is also fixedly connected with a valve C16, the valve C16 is positioned on the right side of a flange plate b4, the right end of the C-shaped bypass 14 is welded on the middle position of the pipe body of the drainage pipe 1, and the right end of the C-shaped bypass 14 is positioned on the right side of a valve C16, so that when a worker cleans and replaces the filter pipe 9, the valve b15 can be opened, the valve a2 and the valve C16 are closed, the underground water can be discharged by the C-shaped bypass 14, even if the utility model is obtained, the normal discharge control operation of the underground water can not be influenced when the filter pipe 9 is cleaned and replaced, and the utility model has reasonable structural design and improves the usability of the utility model;
the welding of 1 pipe shaft right side of drain pipe has a set of flange board c17, and a set of flange board c17 quantity is two, two flange board c17 border position is that circular array runs through jointly has a plurality of fixing bolt 18, two the common fixedly connected with glass pipe 19 of flange board c17 central point position can make the utility model discloses have the staff of being convenient for observe groundwater flow, groundwater by the function of filter effect to be convenient for the staff judges whether should wash change filter tube 9, the utility model discloses novel structure, reasonable in design has higher practicality and usability, suitable using widely.
The utility model discloses the theory of operation: when the utility model works normally, the worker opens the valve a2 and the valve c16, closes the valve b15, so that the groundwater flows through the filter pipe 9 through the drain pipe 1, namely, the groundwater can be effectively filtered by the filter element 10 arranged inside the filter pipe 9 when being discharged through the drain pipe 1, thereby filtering silt in the groundwater, namely, the utility model has the function of filtering the groundwater, effectively preventing blocking condition, ensuring smooth control and discharge of the groundwater, the use effect is better, the filtered groundwater can flow through the glass pipe 19, the worker can observe groundwater flow through the observation glass pipe 19, the groundwater is filtered, when the worker finds that the groundwater flow is reduced or the filtering effect is not good, the filter pipe 9 can be judged to be cleaned and replaced, when the worker needs to clean and replace the filter pipe 9, the valve b15 can be opened, the valve a2 and the valve c16 are closed, so that the groundwater can be discharged by the C-shaped bypass 14, namely, when the filtering pipe 9 is cleaned and replaced, the normal control and discharge operation of the groundwater can not be influenced, the structural design of the utility model is reasonable, the workability of the utility model is improved, then the staff rotates the rotating rod 12, so that the rotating rod 12 drives the pressing plate 13 to move to the right, thereby the clamping force of the clamping plate 6 and the flange plate a3 on the filtering pipe 9 is eliminated, the filtering pipe 9 can be disassembled, when the staff needs to reinstall the filtering pipe 9, only the rotating rod 12 needs to be reversely rotated, the rotating rod 12 is controlled to drive the pressing plate 13 to move to the left, thereby the clamping plate 6 is driven to move to the left, thereby the filtering pipe 9 can be clamped and fixed by the clamping plate 6 and the flange plate a3, therefore, the filtering pipe 9 provided by the utility model can also have the function of convenient disassembly and assembly, thereby the staff can clean and replacement conveniently use, when the filter pipe 9 is reinstalled, the staff opens the valve a2 and the valve c16 again and closes the valve b15, so that the groundwater flows through the filter pipe 9 again.
It is to be understood that the above-described embodiments of the present invention are merely illustrative of or explaining the principles of the invention and are not to be construed as limiting the invention. Therefore, any modification, equivalent replacement, improvement and the like made without departing from the spirit and scope of the present invention should be included in the protection scope of the present invention. Further, it is intended that the appended claims cover all such variations and modifications as fall within the scope and boundaries of the appended claims or the equivalents of such scope and boundaries.

Claims (7)

1.一种水利隧洞地下水控排装置,包括排水管(1),排水管(1)管身左侧固定连接有阀门a(2),其特征在于,所述排水管(1)管身中间位置左侧焊接有法兰板a(3),排水管(1)管身中间位置右侧焊接有法兰板b(4),所述法兰板b(4)内部滑动连接有连接管(5),连接管(5)左端焊接有夹板(6),所述法兰板a(3)右侧壁固定连接有密封垫a(7),夹板(6)左侧壁固定连接有密封垫b(8),密封垫a(7)与密封垫b(8)之间共同夹紧固定有过滤管(9),过滤管(9)内部设有滤芯(10),所述法兰板b(4)外壁呈圆形阵列焊接有多个连接板(11),每个连接板(11)中心位置均由螺纹结构连接有转杆(12),每个转杆(12)左端均焊接有压板(13)。1. A water conservancy tunnel underground water control and drainage device, comprising a drain pipe (1), the left side of the drain pipe (1) body is fixedly connected with a valve a (2), it is characterized in that, the middle of the pipe body of the drain pipe (1) A flange plate a (3) is welded on the left side of the position, and a flange plate b (4) is welded on the right side of the middle position of the drain pipe (1). The flange plate b (4) is slidably connected with a connecting pipe ( 5), the left end of the connecting pipe (5) is welded with a splint (6), the right side wall of the flange plate a (3) is fixedly connected with a sealing gasket a (7), and the left side wall of the splint (6) is fixedly connected with a sealing gasket b(8), a filter tube (9) is clamped and fixed between the gasket a(7) and the gasket b(8), the filter tube (9) is provided with a filter element (10) inside, and the flange plate b (4) A plurality of connecting plates (11) are welded on the outer wall in a circular array, the center position of each connecting plate (11) is connected with a rotating rod (12) by a threaded structure, and the left end of each rotating rod (12) is welded with a rotating rod (12). platen (13). 2.根据权利要求1所述的一种水利隧洞地下水控排装置,其特征在于,所述排水管(1)管身左侧还焊接有C形旁通(14)的左端,C形旁通(14)左端位于阀门a(2)左侧,C形旁通(14)中间位置固定连接有阀门b(15)。2. A water conservancy tunnel groundwater control and drainage device according to claim 1, wherein the left end of the C-shaped bypass (14) is welded on the left side of the drain pipe (1), and the C-shaped bypass (14) The left end is located on the left side of the valve a (2), and the middle position of the C-shaped bypass (14) is fixedly connected with the valve b (15). 3.根据权利要求1所述的一种水利隧洞地下水控排装置,其特征在于,所述排水管(1)管身中间位置还固定连接有阀门c(16),阀门c(16)位于法兰板b(4)右侧。3. A water conservancy tunnel groundwater control and drainage device according to claim 1, characterized in that, a valve c (16) is also fixedly connected to the middle position of the pipe body of the drainage pipe (1), and the valve c (16) is located at the Right side of blue plate b(4). 4.根据权利要求2所述的一种水利隧洞地下水控排装置,其特征在于,所述C形旁通(14)右端焊接在排水管(1)管身中间位置,C形旁通(14)右端位于阀门c(16)右侧。4. A water conservancy tunnel groundwater control and drainage device according to claim 2, wherein the right end of the C-shaped bypass (14) is welded at the middle position of the drain pipe (1), and the C-shaped bypass (14) ) on the right side of valve c(16). 5.根据权利要求1所述的一种水利隧洞地下水控排装置,其特征在于,所述排水管(1)管身右侧焊接有一组法兰板c(17),一组法兰板c(17)数量为两个。5. A water conservancy tunnel groundwater control and drainage device according to claim 1, characterized in that, a group of flange plates c (17) are welded on the right side of the pipe body of the drainage pipe (1), and a group of flange plates c (17) The quantity is two. 6.根据权利要求5所述的一种水利隧洞地下水控排装置,其特征在于,所述法兰板c(17)边缘位置呈圆形阵列共同贯穿有多个固定螺栓(18)。6 . The underground water control and drainage device of a water conservancy tunnel according to claim 5 , wherein the flange plate c ( 17 ) has a plurality of fixing bolts ( 18 ) passing through it in a circular array at the edge position. 7 . 7.根据权利要求5所述的一种水利隧洞地下水控排装置,其特征在于,所述法兰板c(17)中心位置共同固定连接有玻璃管(19)。7 . The groundwater control and drainage device for a water conservancy tunnel according to claim 5 , wherein a glass tube ( 19 ) is fixedly connected to the center of the flange plate c ( 17 ). 8 .
CN202120546094.8U 2021-03-16 2021-03-16 Water conservancy tunnel groundwater accuse row device Expired - Fee Related CN214832481U (en)

Priority Applications (1)

Application Number Priority Date Filing Date Title
CN202120546094.8U CN214832481U (en) 2021-03-16 2021-03-16 Water conservancy tunnel groundwater accuse row device

Applications Claiming Priority (1)

Application Number Priority Date Filing Date Title
CN202120546094.8U CN214832481U (en) 2021-03-16 2021-03-16 Water conservancy tunnel groundwater accuse row device

Publications (1)

Publication Number Publication Date
CN214832481U true CN214832481U (en) 2021-11-23

Family

ID=78758372

Family Applications (1)

Application Number Title Priority Date Filing Date
CN202120546094.8U Expired - Fee Related CN214832481U (en) 2021-03-16 2021-03-16 Water conservancy tunnel groundwater accuse row device

Country Status (1)

Country Link
CN (1) CN214832481U (en)

Similar Documents

Publication Publication Date Title
CN213176961U (en) Valve with filtering and cleaning functions
CN214832481U (en) Water conservancy tunnel groundwater accuse row device
CN108951567A (en) A kind of upper-turn-type flap gate
CN204973255U (en) Fibre filter cloth filter
CN214880363U (en) Utilize resin treatment effluent plant
CN212533988U (en) Water stopping device for hydraulic engineering construction
CN218493920U (en) Anti-leakage hydraulic reversing valve
CN218833720U (en) Production wastewater drainage system convenient to impurity filtering
CN216809799U (en) Tunnel runner structure for water conservancy hydropower station
CN114215027B (en) Automatic garbage salvaging device for water area
CN216200603U (en) A hydrophobic means for hydraulic engineering
CN213912585U (en) Drainage filter equipment for water conservancy construction
CN221441429U (en) Intelligent sluice gate for hydraulic engineering
CN108797529A (en) Water conservancy project gate water purification edulcoration device
CN218539335U (en) Compound high-efficient filter core
CN215052620U (en) A hydrophobic means for hydraulic engineering
CN218130328U (en) Environment-friendly water quality purification circulating filter device
CN217651931U (en) Super high-rise construction floor water interception structure
CN221919178U (en) A throttling device for water conservancy construction
CN218911682U (en) Waterproof drainage device
CN214783684U (en) River course gate with clear away silt function
CN221196566U (en) Water conservancy pipeline for water conservancy engineering
CN223411033U (en) Drainage device for construction engineering
CN223202443U (en) Anti-blocking drainage device for water conservancy projects
CN219794076U (en) Water supply equipment sewage device

Legal Events

Date Code Title Description
GR01 Patent grant
GR01 Patent grant
CF01 Termination of patent right due to non-payment of annual fee
CF01 Termination of patent right due to non-payment of annual fee

Granted publication date: 20211123