CN214692098U - A carton separation device - Google Patents

A carton separation device Download PDF

Info

Publication number
CN214692098U
CN214692098U CN202120315701.XU CN202120315701U CN214692098U CN 214692098 U CN214692098 U CN 214692098U CN 202120315701 U CN202120315701 U CN 202120315701U CN 214692098 U CN214692098 U CN 214692098U
Authority
CN
China
Prior art keywords
carton
cartons
scraping
lifting platform
separating device
Prior art date
Legal status (The legal status is an assumption and is not a legal conclusion. Google has not performed a legal analysis and makes no representation as to the accuracy of the status listed.)
Active
Application number
CN202120315701.XU
Other languages
Chinese (zh)
Inventor
尹德华
谢曙辉
陈立明
欧阳斌
胡晨曦
贺小亮
Current Assignee (The listed assignees may be inaccurate. Google has not performed a legal analysis and makes no representation or warranty as to the accuracy of the list.)
China Tobacco Hunan Industrial Co Ltd
Original Assignee
China Tobacco Hunan Industrial Co Ltd
Priority date (The priority date is an assumption and is not a legal conclusion. Google has not performed a legal analysis and makes no representation as to the accuracy of the date listed.)
Filing date
Publication date
Application filed by China Tobacco Hunan Industrial Co Ltd filed Critical China Tobacco Hunan Industrial Co Ltd
Priority to CN202120315701.XU priority Critical patent/CN214692098U/en
Application granted granted Critical
Publication of CN214692098U publication Critical patent/CN214692098U/en
Active legal-status Critical Current
Anticipated expiration legal-status Critical

Links

Images

Landscapes

  • Sheets, Magazines, And Separation Thereof (AREA)

Abstract

本申请涉及纸箱重复利用技术领域,提供一种纸箱分离装置,包括升降平台,用于放置纸箱;安装支架,设置有两个且分别设于升降平台的两侧;分离组件,各安装支架上至少设置有一个;以及,升降吸取组件,位于码垛的上方并每次吸取最上层的纸箱,升降吸取组件吸取纸箱上升时,两个分离组件之间的间距小于纸箱的宽度,以使分离组件将码垛上的纸箱与被吸取上升的纸箱相刮离。由于两个分离组件之间的间距小于纸箱的宽度,被吸取的纸箱经过分离组件时会被阻挡,使其先变形再通过分离组件,而与被吸取的纸箱相粘连的纸箱会被分离组件阻挡,使得码垛上的纸箱与被吸取的纸箱相分离,有效避免了纸箱出现粘连现象,从而提高了生产效率。

Figure 202120315701

The present application relates to the technical field of carton recycling, and provides a carton separation device, comprising a lifting platform for placing cartons; two mounting brackets, which are provided on both sides of the lifting platform; One is provided; and, a lifting and suction component is located above the stacking and picks up the uppermost carton each time. When the lifting and suction component picks up the carton to rise, the distance between the two separation components is smaller than the width of the carton, so that the separation component will The cartons on the pallet are scraped off from the cartons that are lifted up by suction. Since the distance between the two separation components is smaller than the width of the carton, the sucked carton will be blocked when passing through the separation component, so that it deforms first and then passes through the separation component, and the carton that is adhered to the sucked carton will be blocked by the separation component , so that the cartons on the pallet are separated from the sucked cartons, which effectively avoids the sticking phenomenon of the cartons, thereby improving the production efficiency.

Figure 202120315701

Description

Carton separating device
Technical Field
The application belongs to the technical field of carton reuse, and more specifically relates to a carton separator.
Background
In order to save cost, reduce consumption and realize cost reduction and efficiency improvement of enterprises, tobacco enterprises put forward the requirement of recycling the cigarette carton from 2017. The carton is gradually increased from 2 times of recycling to 4 times of recycling in the implementation process, the consumption of the carton is greatly reduced after implementation, and the product packaging cost is greatly reduced.
But when the circulation carton used, old carton becomes the pile up neatly and places, because can leave a large amount of non-setting adhesives when sealing adhesive tape, bar code etc. on old carton surface demolish, put into the recycling back, adhesion phenomenon can appear between the old carton, seriously influences production efficiency and product quality.
SUMMERY OF THE UTILITY MODEL
An object of the embodiment of this application is to provide a carton separator to there is the adhesion and influences production efficiency's technical problem in the carton of solving among the prior art used repeatedly.
In order to achieve the purpose, the technical scheme adopted by the application is as follows: there is provided a carton separating device comprising:
the lifting platform is used for placing a plurality of stacked cartons to form a stack;
the two mounting brackets are arranged and are respectively arranged on two sides of the lifting platform;
at least one separating assembly is arranged on each mounting bracket; and the number of the first and second groups,
the lifting suction assembly is located above the stacking device and sucks the uppermost layer of the carton at each time, when the carton is lifted, the distance between the two separating assemblies is smaller than the width of the carton, so that the separating assemblies can scrape the carton on the stacking device and the carton lifted by suction.
In one embodiment, the separating assembly includes a driving member disposed on the mounting bracket and a scraping member disposed on the driving member, wherein the driving member can drive the scraping member to approach or separate from the carton.
In one embodiment, the driving member is an air cylinder, and the scraping member is arranged on a piston rod of the air cylinder.
In one embodiment, the scraping part comprises a connecting plate and a plurality of scraping needles arranged on the connecting plate at intervals, and the connecting plate is connected with a piston rod of the air cylinder.
In one embodiment, a side of the scraping needle adjacent to the carton is an inclined surface.
In one embodiment, the scraping pin is a conical metal pin.
In one embodiment, the lifting and sucking assembly at least comprises a mechanical arm and a suction cup arranged on the mechanical arm.
In one embodiment, the lift platform is a scissor lift platform or a rail chain lift platform.
In one embodiment, a pallet is arranged on the lifting platform, and the stacking machine is placed on the pallet.
The application provides a carton separator's beneficial effect lies in: when the lift absorption assembly absorbs the carton of the superiors and rises, because the interval between two separating assemblies is less than the width of carton, the carton that is absorbed can be blockked when the separating assembly passes through, make it warp earlier and pass through separating assembly again, and can be blockked by separating assembly with the carton that is absorbed carton looks adhesion, should block the adhesion power that the power is greater than the carton for carton on the pile up neatly and the carton phase separation by the absorption have effectively avoided the carton adhesion phenomenon to appear, thereby improved production efficiency.
Drawings
In order to more clearly illustrate the technical solutions in the embodiments of the present application, the drawings needed to be used in the embodiments or the prior art descriptions will be briefly described below, and it is obvious that the drawings in the following description are only some embodiments of the present application, and it is obvious for those skilled in the art to obtain other drawings based on these drawings without inventive exercise.
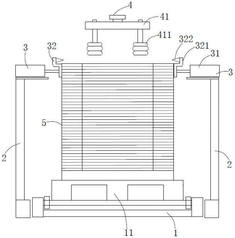
Fig. 1 is a front view of a carton separating device according to an embodiment of the present disclosure;
fig. 2 is a schematic top view of a carton separating device according to an embodiment of the present disclosure.
Wherein, in the figures, the respective reference numerals:
1. a lifting platform; 11. a pallet; 2. mounting a bracket; 3. a separation assembly; 31. a drive member; 32. a scraping member; 321. a connecting plate; 322. scraping off the needle; 4. a lifting suction assembly; 41. a suction cup; 411. a suction nozzle; 5. and (6) stacking.
Detailed Description
In order to make the technical problems, technical solutions and advantageous effects to be solved by the present application clearer, the present application is further described in detail below with reference to the accompanying drawings and embodiments. It should be understood that the specific embodiments described herein are merely illustrative of the present application and are not intended to limit the present application.
It will be understood that when an element is referred to as being "secured to" or "disposed on" another element, it can be directly on the other element or be indirectly on the other element. When an element is referred to as being "connected to" another element, it can be directly connected to the other element or be indirectly connected to the other element.
It will be understood that the terms "length," "width," "upper," "lower," "front," "rear," "left," "right," "vertical," "horizontal," "top," "bottom," "inner," "outer," and the like, as used herein, refer to an orientation or positional relationship indicated in the drawings that is solely for the purpose of facilitating the description and simplifying the description, and do not indicate or imply that the device or element being referred to must have a particular orientation, be constructed and operated in a particular orientation, and thus should not be considered as limiting the present application.
Furthermore, the terms "first", "second" and "first" are used for descriptive purposes only and are not to be construed as indicating or implying relative importance or implicitly indicating the number of technical features indicated. Thus, a feature defined as "first" or "second" may explicitly or implicitly include one or more of that feature. In the description of the present application, "a plurality" means two or more unless specifically limited otherwise.
Referring to fig. 1 and 2, a carton separating device according to an embodiment of the present application will be described in detail. The carton separating device is used for separating stacked cartons one by one. Specifically, the carton separating device comprises a lifting platform 1, a mounting bracket 2, a separating component 3 and a lifting suction component 4.
Wherein, lift platform 1 is used for placing pile up neatly 5 that forms by a plurality of cartons, and lift platform 1 can go up and down pile up neatly 5. Installing support 2 is provided with two, and two installing support 2 are located lift platform 1's both sides respectively, and two installing support 2 symmetries set up installing support 2 and are the metal stand, adopt a plurality of square union couplings to form. The separating assemblies 3 are at least two, at least one separating assembly 3 is arranged on each mounting bracket 2, and the distance between the separating assemblies 3 on the two mounting brackets 2 is smaller than the width of the carton, so that the two separating assemblies 3 can be matched with each other to block and separate the carton. The lifting suction assembly 4 is used for sucking the uppermost carton of the stacking device 5 and transferring the carton to other stations for use. Because 5 both sides of pile up neatly and the interval between two relative separating assembly 3 is less than the width of carton, when the lift absorbs subassembly 4 and absorbs the carton rise, the carton that is absorbed is because of the blocking of separating assembly 3 and is out of shape, then make separating assembly 3 block the carton with the carton adhesion of the carton that is absorbed through separating assembly 3 again, should block the adhesion power that the power is greater than between the carton, so that separating assembly 3 scrapes away the carton on 5 of pile up neatly and the carton that is absorbed and rises mutually, reach the purpose that the carton shifts the use one by one, guarantee production efficiency.
The embodiment of the application provides a carton separator, when the lift absorbs the carton of subassembly 4 absorption superiors and rises, because the interval between two separating assembly 3 is less than the width of carton, the carton that is absorbed can be blockked when separating assembly 3, make it warp earlier and pass through separating assembly 3 again, and can be blockked by separating assembly 3 with the carton that is absorbed carton looks adhesion, should block the adhesion power that the power is greater than between the carton, make carton and the carton phase separation that is absorbed on the pile up neatly 5, the adhesion phenomenon has effectively been avoided appearing in the carton, thereby production efficiency has been improved.
In this embodiment, the separating assembly 3 comprises a driving member 31 disposed on the mounting bracket 2, and a scraping member 32 disposed on the driving member 31, wherein the driving member 31 can drive the scraping member 32 to approach or separate from the carton. The driving member 31 drives the scraping members 32 to reciprocate horizontally, so that the distance between the two scraping members 32 on two sides of the carton can be adjusted, and the carton can be suitable for cartons with different width sizes.
Preferably, the driving member 31 is a cylinder and the scraping member 32 is provided on a piston rod of the cylinder. The cylinder is a double-piston rod cylinder. In other embodiments, the drive 31 may be a hydraulic cylinder, an electric push rod, and a lead screw assembly.
Preferably, the scraping element 32 comprises a connecting plate 321 and a plurality of scraping pins 322 arranged at intervals on the connecting plate 321, and the connecting plate 321 is connected with a piston rod of the air cylinder. The scraping pins 322 are provided in a plurality of, preferably three, so that the scraping effect on the carton can be ensured. In other embodiments, a plurality of air cylinders are provided, one scraping-off member 32 is provided on one air cylinder, the scraping-off member 32 comprises a connecting plate 321 and one scraping-off needle 322, and one scraping-off needle 322 is provided, so that the number of the separating assemblies 3 required to work can be selected according to the length of the cartons, and the number of the cartons blocked by the scraping-off needles 322 can be adjusted, so that the sucked cartons can pass through the separating assemblies 3, and the cartons on the stacking machine 5 can be blocked by the scraping-off needles 322 to realize one-by-one conveying of the cartons.
Preferably, the side of the scraping needle 322 adjacent to the carton is beveled. The inclined plane has the guide effect, can conveniently be crooked by the carton of absorption like this, also can not cause the damage to the carton simultaneously. Specifically, scrape away needle 322 and be conical metal needle, the metal needle is the steel needle, makes like this to scrape away needle 322 and has certain structural strength for scrape away the effect that needle 322 can effectively play and scrape away the carton.
In this embodiment, connecting plate 321 is the trip board, roughly Z style of calligraphy structure, and connecting plate 321 includes first riser, diaphragm and second riser, and the piston rod of first riser and cylinder is connected, and one side that the cylinder was kept away from to the first riser can the butt pile up neatly 5 side, can make pile up neatly 5 become neat by two first riser centre grippings of both sides like this, guarantees the quality that the carton absorbs. The second riser is used for the installation to scrape from needle 322, scrapes the length that is greater than the diaphragm from needle 322, when the side of first riser butt pile up neatly 5 like this, scrapes from needle 322 and can play the effect of blockking to the carton of the superiors.
In the present embodiment, the lifting and lowering assembly 4 includes at least a robot (not shown) and a suction cup 41 disposed on the robot. The manipulator is an existing manipulator, such as a four-axis manipulator, a five-axis manipulator or a six-axis manipulator, or the manipulator adopts an XYZ three-axis displacement platform, and the XYZ three-axis displacement platform is realized by matching a screw rod assembly and an air cylinder, and the specific structure of the manipulator is not described in detail herein. The suction plate 41 is provided with a plurality of suction nozzles 411, the suction nozzles 411 are vacuum suction nozzles, and the plurality of suction nozzles 411 are used for ensuring enough suction force for the carton.
In this embodiment, the lifting platform 1 is a lifting platform 1 on the existing conveying production line, and the lifting platform 1 may be a scissor-fork type lifting platform or a rail chain type lifting platform, and preferably, the lifting platform 1 is a rail chain type lifting platform. The effect of lift platform 1 is that the carton of superiors is drawn away the back and is driven remaining carton and rise a station to the carton of superiors is drawn next time to lift suction assembly 4, and when pile up neatly 5 rose, the cylinder drove to scrape and leaves needle 322 and keep away from the carton, can avoid the carton and scrape and leave needle 322 and collide with each other.
In this embodiment, the lifting platform 1 is provided with a pallet 11, and the pallet 5 is placed on the pallet 11. Under normal conditions, pile up neatly 5 is placed on pallet 11 earlier, then utilizes fork truck to shift pallet 11 to lift platform 1 on, and the purpose of doing so is the material loading of convenient pile up neatly 5.
The carton separator that this application embodiment provided can carry out good separation to reuse's carton, and has simple structure, and the energy consumption is low, advantage that the maintenance cost is little.
The above description is only exemplary of the present application and should not be taken as limiting the present application, as any modification, equivalent replacement, or improvement made within the spirit and principle of the present application should be included in the protection scope of the present application.

Claims (9)

1.一种纸箱分离装置,其特征在于,包括:1. a carton separation device, is characterized in that, comprises: 升降平台(1),用于放置多个纸箱堆叠而成的码垛(5);A lifting platform (1) for placing a pallet (5) formed by stacking a plurality of cartons; 安装支架(2),设置有两个且分别设于所述升降平台(1)的两侧;Two mounting brackets (2) are provided and are respectively arranged on both sides of the lifting platform (1); 分离组件(3),各所述安装支架(2)上至少设置有一个;以及,a separation assembly (3), at least one of which is provided on each of the mounting brackets (2); and, 升降吸取组件(4),位于所述码垛(5)的上方并每次吸取最上层的所述纸箱,所述升降吸取组件(4)吸取所述纸箱上升时,两个所述分离组件(3)之间的间距小于所述纸箱的宽度,以使所述分离组件(3)将所述码垛(5)上的所述纸箱与被吸取上升的所述纸箱相刮离。The lifting and suction assembly (4) is located above the stacking (5) and sucks the uppermost carton each time. 3) The distance between them is smaller than the width of the cartons, so that the separating assembly (3) scrapes the cartons on the stack (5) away from the cartons being sucked up. 2.如权利要求1所述的纸箱分离装置,其特征在于:所述分离组件(3)包括设于所述安装支架(2)上的驱动件(31),以及设于所述驱动件(31)上的刮离件(32),所述驱动件(31)能驱使所述刮离件(32)靠近或远离所述纸箱。2. The carton separating device according to claim 1, wherein the separating assembly (3) comprises a driving member (31) provided on the mounting bracket (2), and a driving member (31) provided on the mounting bracket (2). 31) on the scraping member (32), the driving member (31) can drive the scraping member (32) close to or away from the carton. 3.如权利要求2所述的纸箱分离装置,其特征在于:所述驱动件(31)为气缸,所述刮离件(32)设于所述气缸的活塞杆上。3 . The carton separating device according to claim 2 , wherein the driving member ( 31 ) is an air cylinder, and the scraping member ( 32 ) is arranged on a piston rod of the air cylinder. 4 . 4.如权利要求3所述的纸箱分离装置,其特征在于:所述刮离件(32)包括连接板(321)以及多个间隔设置在所述连接板(321)上的刮离针(322),所述连接板(321)和所述气缸的活塞杆连接。4. The carton separating device according to claim 3, wherein the scraping member (32) comprises a connecting plate (321) and a plurality of scraping needles (321) arranged at intervals on the connecting plate (321). 322), the connecting plate (321) is connected with the piston rod of the cylinder. 5.如权利要求4所述的纸箱分离装置,其特征在于:所述刮离针(322)靠近所述纸箱的一侧为倾斜面。5. The carton separating device according to claim 4, characterized in that: a side of the scraping needle (322) close to the carton is an inclined surface. 6.如权利要求5所述的纸箱分离装置,其特征在于:所述刮离针(322)为圆锥形金属针。6. The carton separating device according to claim 5, wherein the scraping needle (322) is a conical metal needle. 7.如权利要求1-6中任一项所述的纸箱分离装置,其特征在于:所述升降吸取组件(4)至少包括机械手以及设于所述机械手上的吸盘(41)。7. The carton separating device according to any one of claims 1 to 6, wherein the lifting and suction assembly (4) at least comprises a manipulator and a suction cup (41) provided on the manipulator. 8.如权利要求1-6中任一项所述的纸箱分离装置,其特征在于:所述升降平台(1)为剪叉式升降平台或导轨链条式升降平台。8. The carton separating device according to any one of claims 1-6, wherein the lifting platform (1) is a scissor-type lifting platform or a guide rail chain-type lifting platform. 9.如权利要求8所述的纸箱分离装置,其特征在于:所述升降平台(1)上设有栈板(11),所述码垛(5)放置于所述栈板(11)上。9. The carton separating device according to claim 8, characterized in that: a pallet (11) is provided on the lifting platform (1), and the pallet (5) is placed on the pallet (11). .
CN202120315701.XU 2021-02-03 2021-02-03 A carton separation device Active CN214692098U (en)

Priority Applications (1)

Application Number Priority Date Filing Date Title
CN202120315701.XU CN214692098U (en) 2021-02-03 2021-02-03 A carton separation device

Applications Claiming Priority (1)

Application Number Priority Date Filing Date Title
CN202120315701.XU CN214692098U (en) 2021-02-03 2021-02-03 A carton separation device

Publications (1)

Publication Number Publication Date
CN214692098U true CN214692098U (en) 2021-11-12

Family

ID=78566461

Family Applications (1)

Application Number Title Priority Date Filing Date
CN202120315701.XU Active CN214692098U (en) 2021-02-03 2021-02-03 A carton separation device

Country Status (1)

Country Link
CN (1) CN214692098U (en)

Cited By (1)

* Cited by examiner, † Cited by third party
Publication number Priority date Publication date Assignee Title
CN114313989A (en) * 2022-01-26 2022-04-12 深圳品图视觉科技有限公司 Feeding device and automatic optical detection equipment

Cited By (1)

* Cited by examiner, † Cited by third party
Publication number Priority date Publication date Assignee Title
CN114313989A (en) * 2022-01-26 2022-04-12 深圳品图视觉科技有限公司 Feeding device and automatic optical detection equipment

Similar Documents

Publication Publication Date Title
CN207608066U (en) A kind of band forces the charging tray conveying device of separation
CN207467730U (en) Empty pallet release in packing case automatic stacking machine, conveying mechanism
CN113955501A (en) PCB board separates paper board collecting machine
CN214692098U (en) A carton separation device
CN216103023U (en) Automatic paperboard stacking device
CN104649020B (en) Low-table drink filled can stacking machine
CN221419929U (en) Automatic loading and stacking equipment for panel products
CN110203727A (en) Textile material sending machine and issuing method
CN114772201A (en) A production line unit of automatic plate changing device
CN219116694U (en) A paper separating device
CN210453916U (en) Reinforcing plate conveying mechanism of carton machine
CN210026628U (en) Sheet silk screen printing machine and sheet separator thereof
CN118046444A (en) Whole stack breaking device for stacked corrugated boards
CN216945299U (en) High-efficient single-arm servo hacking machine
CN111115251A (en) Plate picker fixture and method of using the same
CN217477752U (en) High-efficient packaging production line of brick pillar
CN211254397U (en) Product equipment is got to tray
CN216400689U (en) An automatic packaging production line
CN209988686U (en) Full-automatic material supply and receiving mechanism capable of realizing feeding and discharging of stacked material plates
CN116620875A (en) Automatic stacking mechanism for cartons
CN223199474U (en) Device for taking down plastic box from male die and stacking
CN214692172U (en) A kind of plate automatic stacking and placing equipment
CN222410429U (en) Continuous paperboard collection device
CN219948691U (en) Boxing mechanism
CN218538704U (en) Paperboard stacking equipment

Legal Events

Date Code Title Description
GR01 Patent grant
GR01 Patent grant