CN214520351U - A potato dicing machine - Google Patents

A potato dicing machine Download PDF

Info

Publication number
CN214520351U
CN214520351U CN202120725236.7U CN202120725236U CN214520351U CN 214520351 U CN214520351 U CN 214520351U CN 202120725236 U CN202120725236 U CN 202120725236U CN 214520351 U CN214520351 U CN 214520351U
Authority
CN
China
Prior art keywords
main body
disc cutter
potato
cylindrical drum
motor
Prior art date
Legal status (The legal status is an assumption and is not a legal conclusion. Google has not performed a legal analysis and makes no representation as to the accuracy of the status listed.)
Expired - Fee Related
Application number
CN202120725236.7U
Other languages
Chinese (zh)
Inventor
孙斌书
杨然兵
陈栋泉
王志超
田雅婷
王婕
王朝田
Current Assignee (The listed assignees may be inaccurate. Google has not performed a legal analysis and makes no representation or warranty as to the accuracy of the list.)
Qingdao Agricultural University
Original Assignee
Qingdao Agricultural University
Priority date (The priority date is an assumption and is not a legal conclusion. Google has not performed a legal analysis and makes no representation as to the accuracy of the date listed.)
Filing date
Publication date
Application filed by Qingdao Agricultural University filed Critical Qingdao Agricultural University
Priority to CN202120725236.7U priority Critical patent/CN214520351U/en
Application granted granted Critical
Publication of CN214520351U publication Critical patent/CN214520351U/en
Expired - Fee Related legal-status Critical Current
Anticipated expiration legal-status Critical

Links

Images

Landscapes

  • Sowing (AREA)

Abstract

本实用新型涉及一种马铃薯种薯切块机,它包括机架主体,所述机架主体包括上下两层,上层的机架主体内固定设置有传送装置,下层的机架主体内固定设有电动机一,所述电动机一的输出轴端连接二级减速装置,所述下料斗内底部设有进料口,所述进料口下方设有圆柱滚筒,所述圆柱滚筒的中心轴转动连接下料斗内壁,所述圆柱滚筒前侧设有圆盘切刀,所述圆盘切刀的中心轴转动连接固定在下料斗前端的侧板,所述二级减速装置的输出轴端分别传动连接圆柱滚筒和圆盘切刀的中心轴,所述圆柱滚筒和圆盘切刀的正下方设置传送装置。本实用新型克服现有技术缺点,提供一种马铃薯种薯切块机,结构合理,功能多样,该马铃薯种薯切块机可完成切块、喷药、收集的工作。

Figure 202120725236

The utility model relates to a potato seed potato dicing machine, which comprises a frame main body, the frame main body comprises upper and lower layers, a conveying device is fixedly arranged in the upper frame main body, and a lower frame main body is fixedly arranged with Motor 1, the output shaft end of the motor 1 is connected to the secondary speed reduction device, the inner bottom of the lower hopper is provided with a feeding port, and a cylindrical drum is provided below the feeding port, and the central shaft of the cylindrical drum is rotated and connected to the lower hopper. On the inner wall of the hopper, the front side of the cylindrical drum is provided with a disc cutter, the central axis of the disc cutter is rotatably connected to the side plate fixed at the front end of the lower hopper, and the output shaft ends of the secondary speed reduction device are respectively connected to the cylindrical drum. and the central axis of the disc cutter, and a conveying device is arranged just below the cylindrical drum and the disc cutter. The utility model overcomes the shortcomings of the prior art and provides a potato seed potato dicing machine, which has a reasonable structure and various functions. The potato seed potato dicing machine can complete the work of dicing, spraying and collecting.

Figure 202120725236

Description

Seed potato dicer
Technical Field
The utility model relates to the technical field of agricultural machinery, in particular to a seed potato dicer.
Background
The potato is favored and regarded by people in the world by the characteristics of drought resistance, barren tolerance, high yield, high efficiency, wide adaptability, full and rich nutrient components, long industrial chain length and the like. In recent years, the potato planting area in China also tends to rise continuously, and is the country with the largest potato planting area in the world, but the average unit yield in China is still lower than the average level in the world, and the potato industry in China still lacks competitiveness in the international market due to poor quality of potatoes, laggard cultivation technology and the like, and the quality are relatively poor.
In vast land, when potato seeds are treated, most of growers manually cut and mix the seeds to prepare the potato seeds by a traditional method, the efficiency is low, the disinfection is not strict, a large amount of manpower and material resources are consumed on the premise of ensuring the quality of the prepared potato seeds, a large batch of potato seed treatment production chain is not formed, and the development of the potato planting industry is partially limited, so the improvement is urgently needed.
SUMMERY OF THE UTILITY MODEL
The to-be-solved technical problem of the utility model is to overcome prior art shortcoming, provide a kind of potato seed potato slabbing machine, rational in infrastructure, the function is various, this kind of potato seed potato slabbing machine can accomplish the stripping and slicing, spout the work of medicine, collection.
In order to solve the technical problem, the utility model provides a technical scheme does: a potato seed dicer comprises a frame main body, wherein the frame main body comprises an upper layer and a lower layer, a conveying device is fixedly arranged in the upper layer of the frame main body, a first motor is fixedly arranged in the lower layer of the frame main body, the output shaft end of the first motor is connected with a second-stage speed reducer, a blanking hopper is arranged at the upper end of the frame main body, a feeding hole is arranged at the bottom in the blanking hopper, a cylindrical roller is arranged below the feeding hole, the central shaft of the cylindrical roller is rotatably connected with the inner wall of the blanking hopper, a disc cutter is arranged at the front side of the cylindrical roller, the central shaft of the disc cutter is rotatably connected with a side plate fixed at the front end of the blanking hopper, the output shaft end of the second-stage speed reducer is respectively connected with the central shafts of the cylindrical roller and the disc cutter in a transmission manner, a conveying device is arranged under the cylindrical roller and the disc cutter, and comprises a horizontal conveying belt, the conveyer belt passes through the conveying support to be fixed in the frame main part, the conveyer belt is connected through fixing two drives of motor on the conveying support, the frame main part extends to the conveyer belt front end, and the below is equipped with collection device, conveyer belt front end top is equipped with the powder spray head.
Furthermore, a plurality of the disc cutters and a plurality of the cylindrical rollers are arranged in a staggered mode.
Furthermore, a transparent baffle is arranged on the front side of the discharging hopper.
Furthermore, one end of the central shaft of the cylindrical roller is provided with a double gear which is respectively connected with a gear connected with the output end of the secondary speed reducer and a gear at one end of the central shaft of the disc cutter through a gear chain.
Further, the medicine spraying head is connected with the outlet end of the gear pump through a medicine pipe, the inlet end of the gear pump is connected with the medicine box, and the gear pump is connected with the drive through a motor.
Furthermore, the edge of the disc cutter is provided with cutting edges which are uniformly distributed along the circumferential direction of the disc cutter.
The utility model has the advantages of as follows: the utility model discloses a potato seed potato slabbing machine through designing collective frame, feed arrangement, conveyer, stripping device in proper order, spouting medicine device, categorised collection device, can realize potato seed potato from stripping device to the intensification of collection, mechanization and high efficiency, reduces artifical the input, improves the operating efficiency.
The utility model discloses well collection device has adopted artifical supplementary mode, and after a series of above-mentioned machining, the potato seed tuber passes through the conveyer belt transportation and reachs the collection device part, needs the manual work at this moment to place the container that holds the potato seed tuber in the collection device below, makes it get into the container smoothly, utilizes for the storage in later stage and provides convenience.
Drawings
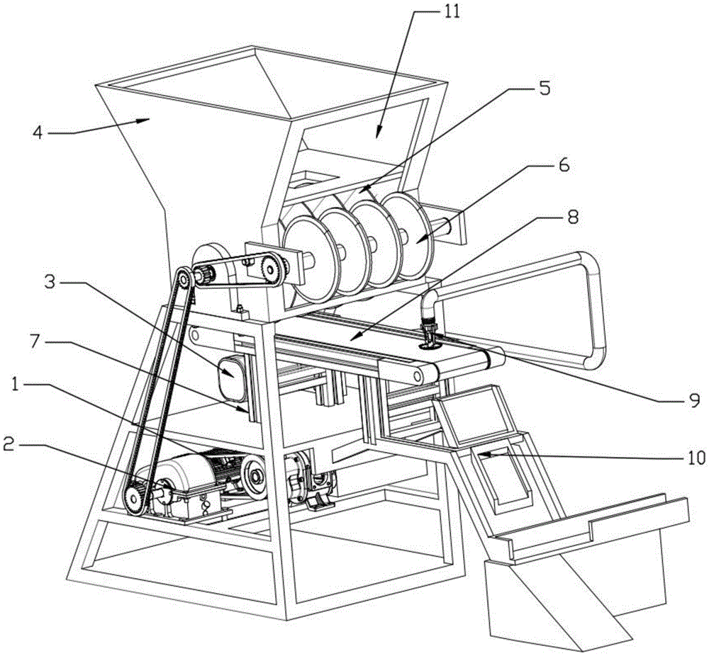
Fig. 1 is a schematic view of the overall three-dimensional structure of the present invention.
Fig. 2 is a schematic diagram of the structure of the side of the whole machine of the present invention.
Fig. 3 is a schematic structural view of the disc cutter of the present invention.
Fig. 4 is a schematic structural view of the cross section of the lower part of the middle and lower hopper of the utility model.
Fig. 5 is a schematic structural view of the connection of the pesticide spraying head of the utility model.
As shown in the figure: 1. the device comprises a first motor, a second speed reducer, a third motor, a fourth motor, a blanking hopper, a fifth motor, a sixth motor, a seventh motor, a sixth motor, a seventh motor, a sixth motor, a seventh motor, a sixth motor, a seventh motor, a sixth motor, a fifth motor, a sixth motor, a fifth, a sixth motor, a fourth motor, a fifth motor, a fifth, a sixth motor, a fifth wheel, a fourth motor, a fourth, a fifth wheel, a fourth conveyor, a fifth wheel, a.
Detailed Description
The present invention will be described in further detail with reference to examples.
The utility model relates to a potato seed dicer, which comprises a frame main body, wherein the frame main body comprises an upper layer and a lower layer, a transmission device 7 is fixedly arranged in the upper layer of the frame main body, a motor 1 is fixedly arranged in the lower layer of the frame main body, the output shaft end of the motor 1 is connected with a second-level speed reducer 2, a blanking hopper 4 is arranged at the upper end of the frame main body, a feed inlet is arranged at the bottom in the blanking hopper 4, a transparent baffle plate 11 is arranged at the front side of the blanking hopper 4, a cylindrical roller 5 is arranged below the feed inlet, the central shaft of the cylindrical roller 5 is rotatably connected with the inner wall of the blanking hopper 4, a disc cutter 6 is arranged at the front side of the cylindrical roller 5, cutting blades 21 which are uniformly distributed along the circumferential direction of the disc cutter 6 are arranged at the edge of the disc cutter 6, a plurality of the disc cutter 6 and a plurality of the cylindrical rollers 5 are arranged in a staggered way, the central shaft of the disc cutter 6 is rotatably connected with a side plate fixed at the front end of the blanking hopper 4, the output shaft end of the secondary speed reducer 2 is respectively in transmission connection with central shafts of a cylindrical drum 5 and a disc cutter 6, one end of the central shaft of the cylindrical drum 5 is provided with a double gear, the double gear is respectively connected with a gear connected with the output end of the secondary speed reducer 2 and a gear at one end of the central shaft of the disc cutter 6 through a gear chain, a conveyer 7 is arranged under the cylindrical drum 5 and the disc cutter 6, the conveyer 7 comprises a horizontal conveyer belt 8, the conveyer belt 8 is fixed on a rack main body through a conveyer bracket, the conveyer belt 8 is in driving connection with a motor II 3 fixed on the conveyer bracket, the front end of the conveyer belt 8 extends out of the rack main body and is provided with a collecting device 10 below, a medicine spraying head 9 is arranged above the front end of the conveyer belt 8, the medicine spraying head 9 is connected with the outlet end of a gear pump 42 through a medicine pipe 43, and the inlet end of the gear pump 42 is connected with a medicine chest 41, the gear pump 42 is driven by the motor 1.
As shown in figure 2, the utility model discloses a potato seed dicer includes motor 1, second grade decelerator 2, and the rotational speed of motor 1 makes cylinder 5 and disc cutter 6's rotational speed control within reasonable scope through 2 rethread gear chain transmissions of second grade decelerator. The potato seed tubers enter from the feed inlets in the discharge hoppers 4 in the running process of the device, are cut into uniform potato tubers through the cutting devices (the cylindrical rollers 5 and the disc cutters 6) below the feed inlets, then fall on the conveyor belts 8 of the conveyor 7 driven by the motor II 3, pass through the lower parts of the pesticide spraying heads 9 through the conveying of the conveyor belts 8, are subjected to uniform pesticide spraying treatment by the pesticide spraying heads 9, and fall into the collecting devices 10 below the potato tubers through the conveying of the conveyor belts 8, so that a series of continuous machining is completed.
As shown in figure 4, the potato falls from the feed inlet, is cut into the tuber by the quick efficient continuous cutting of cutter when cylinder drum 5 and cutter clearance, and the cutter uses discoid design, and its cutting edge 21 is the cockscomb structure, reduces the strike of being interrupted and prevents the damage of cutting surface and surface edge, guarantees the quality of potato kind tuber, the storage transportation in the later stage of being convenient for.
As shown in figure 5, the pesticide spraying device consists of a pesticide box 41, a gear pump 42, a pesticide pipe 43 and a pesticide spraying head 9, when the cut potato tubers are conveyed to the position below the pesticide spraying head 9 through a conveyor belt, a motor I1 drives the gear pump 42, the gear pump conveys pesticide liquid to the pesticide spraying head 9 through the pesticide pipe, the pesticide spraying head 9 adopts a rotary type spray head, the rotary type spray head is driven to rotate through the force generated by the flowing of liquid, the rotary type spray head can uniformly spray the pesticide liquid on the potato tubers, and the situation that the pesticide is leaked to spray is avoided.
Although the invention has been described in detail with respect to the general description and the specific embodiments, it will be apparent to those skilled in the art that modifications and improvements can be made based on the invention. Therefore, such modifications and improvements are intended to be within the scope of the invention as claimed.

Claims (6)

1.一种马铃薯种薯切块机,其特征在于:它包括机架主体,所述机架主体包括上下两层,上层的机架主体内固定设置有传送装置(7),下层的机架主体内固定设有电动机一(1),所述电动机一(1)的输出轴端连接二级减速装置(2),所述机架主体上端设有下料斗(4),所述下料斗(4)内底部设有进料口,所述进料口下方设有圆柱滚筒(5),所述圆柱滚筒(5)的中心轴转动连接下料斗(4)内壁,所述圆柱滚筒(5)前侧设有圆盘切刀(6),所述圆盘切刀(6)的中心轴转动连接固定在下料斗(4)前端的侧板,所述二级减速装置(2)的输出轴端分别传动连接圆柱滚筒(5)和圆盘切刀(6)的中心轴,所述圆柱滚筒(5)和圆盘切刀(6)的正下方设置传送装置(7),所述传送装置(7)包括水平的传送带(8),所述传送带(8)通过传送支架固定在机架主体上,所述传送带(8)通过固定在传送支架上的电动机二(3)驱动连接,所述传送带(8)前端延伸出机架主体,且下方设有收集装置(10),所述传送带(8)前端上方设有喷药头(9)。1. a potato seed potato dicing machine is characterized in that: it comprises a frame main body, and the described frame main body comprises upper and lower two layers, and a conveying device (7) is fixedly provided in the frame main body of the upper layer, and the frame of the lower layer is provided with a conveyor (7). A motor 1 (1) is fixed in the main body, the output shaft end of the motor 1 (1) is connected to a secondary speed reduction device (2), and a lower hopper (4) is arranged on the upper end of the frame main body, and the lower hopper ( 4) A feeding port is provided at the inner bottom, and a cylindrical drum (5) is arranged below the feeding port. The central axis of the cylindrical drum (5) is rotated and connected to the inner wall of the lower hopper (4). The cylindrical drum (5) The front side is provided with a disc cutter (6), the central axis of the disc cutter (6) is rotatably connected to the side plate at the front end of the lower hopper (4), and the output shaft end of the secondary reduction device (2) The central shafts of the cylindrical drum (5) and the disc cutter (6) are respectively driven and connected, and a conveying device (7) is arranged directly below the cylindrical drum (5) and the disc cutter (6), and the conveying device ( 7) Including a horizontal conveyor belt (8), the conveyor belt (8) is fixed on the frame main body through a transmission bracket, and the conveyor belt (8) is driven and connected by a motor two (3) fixed on the transmission bracket, the conveyor belt (8) (8) The front end extends out of the main body of the frame, and a collecting device (10) is arranged below, and a spray head (9) is arranged above the front end of the conveyor belt (8). 2.根据权利要求1所述的一种马铃薯种薯切块机,其特征在于:若干个所述圆盘切刀(6)和若干个圆柱滚筒(5)交错设置。2. A potato seed potato dicing machine according to claim 1, characterized in that: a plurality of the disc cutters (6) and a plurality of cylindrical drums (5) are arranged in a staggered manner. 3.根据权利要求1所述的一种马铃薯种薯切块机,其特征在于:所述下料斗(4)前侧设有透明挡板(11)。3. A potato seed potato dicing machine according to claim 1, characterized in that: a transparent baffle plate (11) is provided on the front side of the lower hopper (4). 4.根据权利要求1所述的一种马铃薯种薯切块机,其特征在于:所述圆柱滚筒(5)中心轴一端设有双齿轮,且分别通过齿轮链条连接二级减速装置(2)的输出端连接的齿轮和圆盘切刀(6)中心轴一端的齿轮。4. A potato seed potato dicing machine according to claim 1, characterized in that: one end of the central shaft of the cylindrical drum (5) is provided with double gears, and is connected to the secondary reduction gear (2) through a gear chain respectively. The gear connected to the output end of the disc cutter (6) is connected to the gear at one end of the central axis of the disc cutter (6). 5.根据权利要求1所述的一种马铃薯种薯切块机,其特征在于:所述喷药头(9)通过药管(43)连接齿轮泵(42)的出口端,所述齿轮泵(42)的进口端连接药箱(41),所述齿轮泵(42)通过电动机一(1)连接驱动。5. A potato seed potato dicing machine according to claim 1, characterized in that: the spray head (9) is connected to the outlet end of the gear pump (42) through the medicine pipe (43), and the gear pump The inlet end of (42) is connected to the medicine box (41), and the gear pump (42) is connected and driven by the motor one (1). 6.根据权利要求1所述的一种马铃薯种薯切块机,其特征在于:所述圆盘切刀(6)的边缘处设有沿其周向均匀分布的切刀刃(21)。6 . The potato seed potato dicing machine according to claim 1 , wherein the edge of the disc cutter ( 6 ) is provided with cutting edges ( 21 ) that are evenly distributed along its circumferential direction. 7 .
CN202120725236.7U 2021-04-09 2021-04-09 A potato dicing machine Expired - Fee Related CN214520351U (en)

Priority Applications (1)

Application Number Priority Date Filing Date Title
CN202120725236.7U CN214520351U (en) 2021-04-09 2021-04-09 A potato dicing machine

Applications Claiming Priority (1)

Application Number Priority Date Filing Date Title
CN202120725236.7U CN214520351U (en) 2021-04-09 2021-04-09 A potato dicing machine

Publications (1)

Publication Number Publication Date
CN214520351U true CN214520351U (en) 2021-10-29

Family

ID=78272646

Family Applications (1)

Application Number Title Priority Date Filing Date
CN202120725236.7U Expired - Fee Related CN214520351U (en) 2021-04-09 2021-04-09 A potato dicing machine

Country Status (1)

Country Link
CN (1) CN214520351U (en)

Cited By (1)

* Cited by examiner, † Cited by third party
Publication number Priority date Publication date Assignee Title
CN112959372A (en) * 2021-04-09 2021-06-15 青岛农业大学 Seed potato dicer

Cited By (1)

* Cited by examiner, † Cited by third party
Publication number Priority date Publication date Assignee Title
CN112959372A (en) * 2021-04-09 2021-06-15 青岛农业大学 Seed potato dicer

Similar Documents

Publication Publication Date Title
CN207493816U (en) A kind of agricultural machinery crushes filtration pressure grain device with feed
CN112959372A (en) Seed potato dicer
CN214520351U (en) A potato dicing machine
CN110839409B (en) Green pricklyash peel threshing and branch crushing device and green pricklyash peel threshing method
CN104584786A (en) Vertical shaft disc type straw header device for combine harvester
CN108811801A (en) A kind of banana stalk is ground into type all-in-one machine
CN218125369U (en) Potato seed cutting machine
CN207463143U (en) A kind of agricultural fertilizer producing equipment
CN211937739U (en) Screening plant for crops
CN211612982U (en) Novel file mill that production starch was used
CN209473025U (en) Novel potato harvester
CN119286631A (en) Environmentally friendly enzyme production equipment
CN217144343U (en) Rice seedling raising slurry preparation device based on multiple sensors
CN114531994A (en) Intelligent slicing system for seed potatoes
CN117296494A (en) A kind of soil miscellaneous root plowing equipment for forest tree planting
CN213427452U (en) Waste edible fungus bag separation production line for uniform edible fungi
CN221386745U (en) Organic fertilizer processing reducing mechanism
CN113973591A (en) Agricultural biomass material recovery plant based on environment-friendly biological asphalt
CN214155447U (en) Agricultural straw is packing apparatus for recovery
CN219780945U (en) Crop cutting agricultural machinery
CN205865097U (en) Pineapple leaf cuts up still field machine
CN212284302U (en) Quick reducing mechanism of fertilizer for agricultural
CN216415126U (en) A forced push device for miscellaneous residues of peanut harvester
CN207605997U (en) A kind of beneficiation machine of steel ball
CN223700980U (en) Automatic processing device for bio-based materials

Legal Events

Date Code Title Description
GR01 Patent grant
GR01 Patent grant
CF01 Termination of patent right due to non-payment of annual fee
CF01 Termination of patent right due to non-payment of annual fee

Granted publication date: 20211029