CN214262672U - Peanut screening and collecting device for food processing - Google Patents

Peanut screening and collecting device for food processing Download PDF

Info

Publication number
CN214262672U
CN214262672U CN202022636021.6U CN202022636021U CN214262672U CN 214262672 U CN214262672 U CN 214262672U CN 202022636021 U CN202022636021 U CN 202022636021U CN 214262672 U CN214262672 U CN 214262672U
Authority
CN
China
Prior art keywords
screening
fixedly installed
plate
peanut
food processing
Prior art date
Legal status (The legal status is an assumption and is not a legal conclusion. Google has not performed a legal analysis and makes no representation as to the accuracy of the status listed.)
Expired - Fee Related
Application number
CN202022636021.6U
Other languages
Chinese (zh)
Inventor
曾红洪
Current Assignee (The listed assignees may be inaccurate. Google has not performed a legal analysis and makes no representation or warranty as to the accuracy of the list.)
Wusu Xikui Food Co ltd
Original Assignee
Individual
Priority date (The priority date is an assumption and is not a legal conclusion. Google has not performed a legal analysis and makes no representation as to the accuracy of the date listed.)
Filing date
Publication date
Application filed by Individual filed Critical Individual
Priority to CN202022636021.6U priority Critical patent/CN214262672U/en
Application granted granted Critical
Publication of CN214262672U publication Critical patent/CN214262672U/en
Expired - Fee Related legal-status Critical Current
Anticipated expiration legal-status Critical

Links

Images

Landscapes

  • Apparatuses For Bulk Treatment Of Fruits And Vegetables And Apparatuses For Preparing Feeds (AREA)

Abstract

本实用新型公开了一种食品加工用花生筛选收集装置,涉及食品加工技术领域。该食品加工用花生筛选收集装置,包括固定座,所述固定座的内侧顶部设置有移动板,移动板的顶部设置有筛选箱,筛选箱的底部固定安装有伸缩套筒,伸缩套筒的一端与移动板的顶部固定安装,伸缩套筒上套设安装有第一弹簧,第一弹簧的一端与筛选箱的底部固定安装。该食品加工用花生筛选收集装置,通过电机、转动柱、圆盘、连动杆、固定框、滑动块、连接杆和震动电机的配合使用,通过晃动机构和震动电机的设置,在晃动和震动的过程中,能够对花生进行筛选分类,通过震动降低了花生堵塞的情况发生,提高了筛选的效率。

Figure 202022636021

The utility model discloses a peanut screening and collecting device for food processing, which relates to the technical field of food processing. The peanut screening and collecting device for food processing includes a fixed seat, a moving plate is arranged on the inner top of the fixed seat, a screening box is arranged on the top of the moving plate, a telescopic sleeve is fixedly installed at the bottom of the screening box, and one end of the telescopic sleeve is installed It is fixedly installed with the top of the moving plate, a first spring is sleeved and installed on the telescopic sleeve, and one end of the first spring is fixedly installed with the bottom of the screening box. The peanut screening and collecting device for food processing is used in conjunction with a motor, a rotating column, a disc, a link rod, a fixed frame, a sliding block, a connecting rod and a vibration motor. In the process of screening, the peanuts can be screened and classified, and the blockage of peanuts can be reduced through vibration, and the screening efficiency can be improved.

Figure 202022636021

Description

Peanut screening and collecting device for food processing
Technical Field
The utility model relates to a food processing technology field specifically is a peanut screening collection device for food processing.
Background
The peanut fruit contains protein, fat, saccharide, vitamin A, vitamin B6, vitamin E, vitamin K, mineral calcium, phosphorus, iron and other nutrients, contains 8 kinds of amino acids and unsaturated fatty acids essential for human body, lecithin, choline, carotene, coarse fiber and other matters, has fat content of 44-45%, protein content of 24-36% and sugar content of about 20%, and contains rich vitamins B2, PP, A, D, E, calcium, iron, etc. as well as thiamine, riboflavin, nicotinic acid and other vitamins, and has the functions of promoting human brain cell development and strengthening memory.
The peanut is at the in-process of processing, need filter the classification to the peanut to improve the practicality of peanut, reach different application method, the screening of present part peanut is mainly filtered through the manual work on the one hand, to workman's amount of labour greatly increased like this, wastes time and energy moreover, and production efficiency is low, and on the other hand leads to the screening board to block up when filtering the peanut again, influences the efficiency of screening easily.
SUMMERY OF THE UTILITY MODEL
An object of the utility model is to provide a peanut screening collection device for food processing to solve the problem that proposes in the above-mentioned background art.
In order to achieve the above object, the utility model provides a following technical scheme: a peanut screening and collecting device for food processing comprises a fixed seat, wherein a movable plate is arranged at the top of the inner side of the fixed seat, a screening box is arranged at the top of the movable plate, a telescopic sleeve is fixedly arranged at the bottom of the screening box, one end of the telescopic sleeve is fixedly arranged with the top of the movable plate, a first spring is sleeved on the telescopic sleeve, one end of the first spring is fixedly arranged with the bottom of the screening box, one end of the first spring is fixedly arranged with the top of the movable plate, a shaking mechanism is arranged at the bottom of the inner side of the fixed seat, a second spring is fixedly arranged at one side of the movable plate, one end of the second spring is fixedly arranged with the inner wall of one side of the fixed seat, a feeding pipe is fixedly arranged at the bottom of the screening box, the feeding pipe is communicated with the interior of the screening box, a first screening plate, a second screening plate and an inclined plate are fixedly arranged on the inner wall of one side of the screening box, and the first screening plate is positioned above the second screening plate, the second screening board is located the top of hang plate, and the opening has all been seted up to the both sides of screening case, and the top fixed mounting of fixing base has first riser and second riser.
Preferably, the bottom of the inner side of the fixed seat is provided with a sliding groove, a sliding block is arranged in the sliding groove in a sliding mode, the top of the sliding block is fixedly installed with the bottom of the movable plate, and the movable plate is installed with the fixed seat in a sliding mode.
Preferably, rocking mechanism is including the motor, the rotation post, the disc, the trace, fixed frame, sliding block and connecting rod, the inboard bottom fixed mounting of fixing base has the motor, the output shaft of motor has the rotation post through shaft coupling fixed mounting, the one end fixed mounting who rotates the post has the disc, the articulated trace of installing of the front side outer wall of disc, the inboard bottom fixed mounting of fixing base has fixed frame, the inside of fixed frame is provided with the sliding block, the one end of trace and the articulated installation of one side of sliding block, one side fixed mounting of sliding block has the connecting rod, one side of connecting rod and one side fixed mounting of movable plate, through rocking mechanism and shock dynamo's setting, at the in-process of rocking and vibrations, can screen classification the peanut, the condition that has reduced the peanut jam through vibrations takes place, the efficiency of screening has been improved.
Preferably, the guide plates are fixedly mounted on one sides of the first screening plate, the second screening plate and the inclined plate.
Preferably, the equal fixed mounting in adjacent one side of first riser and second riser has the board of placing, the top of placing the board is fixed and is placed first collection frame and second collection frame, the third collection frame has been placed at the top of fixing base, first collection frame, second collection frame and third collection frame all are in the below of stock guide, through the setting of first screening plate and second screening plate, utilize the hole size to the bottom on the screening plate, carry out the size separation to the peanut, reach the purpose to the screening of peanut classification, and through first collection frame, second collection frame and third collection frame carry out the categorised collection to the peanut, effectual classification efficiency that has improved, production efficiency has been accelerated.
Preferably, the equal fixed mounting in both sides inner wall of screening case has shock dynamo, through shock dynamo's setting, can carry out quick screening to the peanut through vibrations.
Compared with the prior art, the beneficial effects of the utility model are that:
(1) this peanut screening collection device for food processing uses through motor, rotation post, disc, trace, fixed frame, sliding block, connecting rod and shock dynamo's cooperation, through the setting of rocking mechanism and shock dynamo, rocking and the in-process of vibrations, can filter the classification to the peanut, has reduced the condition emergence that the peanut blockked up through vibrations, has improved the efficiency of screening.
(2) This peanut screening collection device for food processing, through first screening plate, the second screening plate, the hang plate, the stock guide, first collection frame, the cooperation that frame and third were collected to the second is used, setting through first screening plate and second screening plate, utilize the hole size from top to bottom of screening plate, carry out size separation to the peanut, reach the purpose to the screening of peanut classification, and through first collection frame, frame and third are collected to the second and the peanut is carried out classification collection, the effectual classification efficiency that has improved, and production efficiency is accelerated.
Drawings
Fig. 1 is a schematic structural view of the present invention;
FIG. 2 is a left side view of the disc of the present invention;
FIG. 3 is an enlarged view of part A of the present invention;
fig. 4 is a front view of the present invention.
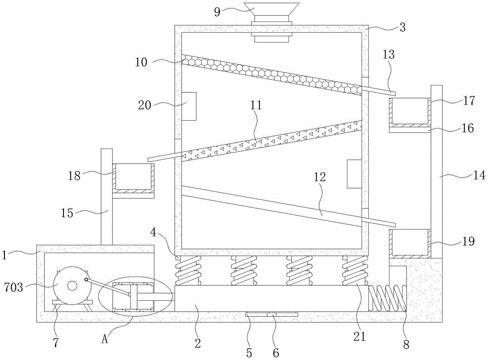
In the figure: 1 fixing base, 2 movable plates, 3 screening casees, 4 first spring, 5 spouts, 6 sliders, 7 rock the mechanism, 701 motor, 702 rotation post, 703 disc, 704 trace, 705 fixed frame, 706 slider, 707 connecting rod, 8 second spring, 9 inlet pipes, 10 first screening boards, 11 second screening boards, 12 hang plates, 13 stock guide, 14 first riser, 15 second riser, 16 place the board, 17 first collection frame, 18 second collection frame, 19 third collection frame, 20 shock dynamo, 21 telescopic sleeve.
Detailed Description
The technical solutions in the embodiments of the present invention will be described clearly and completely with reference to the accompanying drawings in the embodiments of the present invention, and it is obvious that the described embodiments are only some embodiments of the present invention, not all embodiments. Based on the embodiments in the present invention, all other embodiments obtained by a person skilled in the art without creative work belong to the protection scope of the present invention.
Referring to fig. 1-4, the present invention provides a technical solution: the utility model provides a peanut screening collection device for food processing, including fixing base 1, the inboard top of fixing base 1 is provided with movable plate 2, the top of movable plate 2 is provided with screening case 3, the bottom fixed mounting of screening case 3 has telescopic sleeve 21, the one end of telescopic sleeve 21 and the top fixed mounting of movable plate 2, telescopic sleeve 21 is gone up to establish and is installed first spring 4, the one end of first spring 4 and the bottom fixed mounting of screening case 3, the one end of first spring 4 and the top fixed mounting of movable plate 2, the inboard bottom of fixing base 1 is provided with rocks mechanism 7, one side fixed mounting of movable plate 2 has second spring 8, the one end of second spring 8 and one side inner wall fixed mounting of fixing base 1, the bottom fixed mounting of screening case 3 has inlet pipe 9, inlet pipe 9 communicates with each other with the inside of screening case 3, one side inner wall fixed mounting of screening case 3 has first screening board 10, Second screening board 11 and hang plate 12, first screening board 10 is located the top of second screening board 11, and second screening board 11 is located the top of hang plate 12, and the opening has all been seted up to the both sides of screening case 3, and the top fixed mounting of fixing base 1 has first riser 14 and second riser 15.
The bottom of the inner side of the fixed seat 1 is provided with a sliding groove 5, the inside of the sliding groove 5 is provided with a sliding block 6 in a sliding way, the top of the sliding block 6 is fixedly installed with the bottom of the movable plate 2, the movable plate 2 is slidably installed with the fixed seat 1, the shaking mechanism 7 comprises a motor 701, a rotating column 702, a disc 703, a linkage rod 704, a fixed frame 705, a sliding block 706 and a connecting rod 707, the bottom of the inner side of the fixed seat 1 is fixedly installed with the motor 701, the output shaft of the motor 701 is fixedly installed with the rotating column 702 through a coupler, one end of the rotating column 702 is fixedly installed with the disc 703, the outer wall of the front side of the disc 703 is hinged with the linkage rod 704, the bottom of the inner side of the fixed seat 1 is fixedly installed with the fixed frame 705, the sliding block 706 is arranged inside the fixed frame 705, one end of the linkage rod 704 is hinged with one side of the sliding block 706, one side of the sliding block 706 is fixedly installed with the connecting rod 707, one side of the movable plate is fixedly installed with one side of the connecting rod 2, the shelled peanuts are poured into the feeding pipe 9, the motor 701 is started, the motor 701 drives the disc 703 on the rotating column 702 to rotate, the linkage rod 704 drives the sliding block 706 to slide, the screening box 3 on the moving plate 2 is driven to shake through the connecting rod 707, the peanuts can be screened and classified in the shaking and vibrating process through the arrangement of the shaking mechanism 7, the occurrence of peanut blockage is reduced through vibration, the screening efficiency is improved, the material guide plate 13 is fixedly arranged on one side of each of the first screening plate 10, the second screening plate 11 and the inclined plate 12, the placing plate 16 is fixedly arranged on the adjacent side of each of the first vertical plate 14 and the second vertical plate 15, the first collecting frame 17 and the second collecting frame 18 are fixedly arranged on the top of the placing plate 16, the third collecting frame 19 is arranged on the top of the fixed seat 1, the first collecting frame 17, the second collecting frame 18 and the third collecting frame 19 are all positioned below the material guide plate 13, the peanuts with larger shaking are conveyed from the material guide plate 13 to the inside of the first collection frame 17, the rest peanuts fall from the first screening plate 10 to the second screening plate 11, the medium peanuts are conveyed from the material guide plate 13 on the second screening plate 11 to the inside of the second collection frame 18, the rest peanuts fall on the inclined plate 12 and are conveyed to the inside of the third collection frame 19 through the material guide plate 13, the peanuts are separated in size through the arrangement of the first screening plate 10 and the second screening plate 11 by utilizing the sizes of holes from the upper part to the lower part of the screening plates, the purpose of sorting and screening the peanuts is achieved, the peanuts are sorted and collected through the first collection frame 17, the second collection frame 18 and the third collection frame 19, the sorting efficiency is effectively improved, the production efficiency is accelerated, the inner walls on the two sides of the screening box 3 are fixedly provided with the shaking motors 20, the shaking motors 20 are started, the screening box 3 is driven to shake through the shaking motors 20, through vibrating motor 20's setting, can carry out quick screening to the peanut through vibrations.
The working principle is as follows: the peanuts after husking are poured into the peanut husking machine through the feeding pipe 9, the motor 701 is started, the motor 701 drives the disc 703 on the rotating column 702 to rotate, the linkage rod 704 drives the sliding block 706 to slide, the screening box 3 on the moving plate 2 is driven to shake through the connecting rod 707, the vibration motor 20 is started at the same time, the screening box 3 is driven to shake through the vibration motor 20, the larger peanuts are conveyed to the inside of the first collecting frame 17 from the material guide plate 13, the rest peanuts fall onto the second screening plate 11 from the first screening plate 10, the medium peanuts are conveyed to the inside of the second collecting frame 18 from the material guide plate 13 on the second screening plate 11, and the rest peanuts fall onto the inclined plate 12 and are conveyed to the inside of the third collecting frame 19 through the material guide plate 13.
Although embodiments of the present invention have been shown and described, it will be appreciated by those skilled in the art that changes, modifications, substitutions and alterations can be made in these embodiments without departing from the principles and spirit of the invention, the scope of which is defined in the appended claims and their equivalents.

Claims (6)

1.一种食品加工用花生筛选收集装置,包括固定座(1),其特征在于:所述固定座(1)的内侧顶部设置有移动板(2),移动板(2)的顶部设置有筛选箱(3),筛选箱(3)的底部固定安装有伸缩套筒(21),伸缩套筒(21)的一端与移动板(2)的顶部固定安装,伸缩套筒(21)上套设安装有第一弹簧(4),第一弹簧(4)的一端与筛选箱(3)的底部固定安装,第一弹簧(4)的一端与移动板(2)的顶部固定安装,固定座(1)的内侧底部设置有晃动机构(7),移动板(2)的一侧固定安装有第二弹簧(8),第二弹簧(8)的一端与固定座(1)的一侧内壁固定安装,筛选箱(3)的底部固定安装有进料管(9),进料管(9)与筛选箱(3)的内部相通,筛选箱(3)的一侧内壁固定安装有第一筛选板(10)、第二筛选板(11)和倾斜板(12),第一筛选板(10)位于第二筛选板(11)的上方,第二筛选板(11)位于倾斜板(12)的上方,筛选箱(3)的两侧均开设有开口,固定座(1)的顶部固定安装有第一竖板(14)和第二竖板(15)。1. A peanut screening and collecting device for food processing, comprising a fixed seat (1), characterized in that: the inner top of the fixed seat (1) is provided with a moving plate (2), and the top of the moving plate (2) is provided with The screening box (3) is fixedly installed with a telescopic sleeve (21) at the bottom of the screening box (3), one end of the telescopic sleeve (21) is fixedly installed with the top of the moving plate (2), and the telescopic sleeve (21) is covered with A first spring (4) is installed, one end of the first spring (4) is fixedly installed with the bottom of the screening box (3), one end of the first spring (4) is fixedly installed with the top of the moving plate (2), and the fixed seat The inner bottom of (1) is provided with a shaking mechanism (7), a second spring (8) is fixedly installed on one side of the moving plate (2), and one end of the second spring (8) is connected to the inner wall of one side of the fixed seat (1). Fixed installation, a feeding pipe (9) is fixedly installed at the bottom of the screening box (3), the feeding pipe (9) is communicated with the interior of the screening box (3), and a first inner wall of the screening box (3) is fixedly installed on one side. A screening board (10), a second screening board (11) and an inclined board (12), the first screening board (10) is located above the second screening board (11), and the second screening board (11) is positioned on the inclined board (12) ), openings are provided on both sides of the screening box (3), and a first vertical plate (14) and a second vertical plate (15) are fixedly installed on the top of the fixing seat (1). 2.根据权利要求1所述的一种食品加工用花生筛选收集装置,其特征在于:所述固定座(1)的内侧底部开设有滑槽(5),滑槽(5)的内部滑动安装有滑块(6),滑块(6)的顶部与移动板(2)的底部固定安装,移动板(2)与固定座(1)滑动安装。2. A peanut screening and collecting device for food processing according to claim 1, characterized in that: a chute (5) is provided at the inner bottom of the fixed seat (1), and the interior of the chute (5) is slidably installed There is a slider (6), the top of the slider (6) is fixedly installed with the bottom of the moving plate (2), and the moving plate (2) is slidably installed with the fixed seat (1). 3.根据权利要求1所述的一种食品加工用花生筛选收集装置,其特征在于:所述晃动机构(7)包括有电机(701)、转动柱(702)、圆盘(703)、连动杆(704)、固定框(705)、滑动块(706)和连接杆(707),固定座(1)的内侧底部固定安装有电机(701),电机(701)的输出轴通过联轴器固定安装有转动柱(702),转动柱(702)的一端固定安装有圆盘(703),圆盘(703)的前侧外壁铰接安装有连动杆(704),固定座(1)的内侧底部固定安装有固定框(705),固定框(705)的内部设置有滑动块(706),连动杆(704)的一端与滑动块(706)的一侧铰接安装,滑动块(706)的一侧固定安装有连接杆(707),连接杆(707)的一侧与移动板(2)的一侧固定安装。3. The peanut screening and collecting device for food processing according to claim 1, wherein the shaking mechanism (7) comprises a motor (701), a rotating column (702), a disc (703), a connecting The moving rod (704), the fixing frame (705), the sliding block (706) and the connecting rod (707), the motor (701) is fixedly installed on the inner bottom of the fixing seat (1), and the output shaft of the motor (701) passes through the coupling shaft A rotating column (702) is fixedly installed on the device, a disc (703) is fixedly installed at one end of the rotating column (702), and a linkage rod (704) is hingedly installed on the front outer wall of the disc (703). The fixed seat (1) A fixing frame (705) is fixedly installed at the inner bottom of the inner side of the fixing frame (705), and a sliding block (706) is arranged inside the fixing frame (705). A connecting rod (707) is fixedly installed on one side of 706), and one side of the connecting rod (707) is fixedly installed with one side of the moving plate (2). 4.根据权利要求1所述的一种食品加工用花生筛选收集装置,其特征在于:所述第一筛选板(10)、第二筛选板(11)和倾斜板(12)的一侧均固定安装有导料板(13)。4. A kind of peanut screening and collecting device for food processing according to claim 1, characterized in that: one side of the first screening plate (10), the second screening plate (11) and the inclined plate (12) are all on one side. A material guide plate (13) is fixedly installed. 5.根据权利要求1所述的一种食品加工用花生筛选收集装置,其特征在于:所述第一竖板(14)和第二竖板(15)的相邻一侧均固定安装有放置板(16),放置板(16)的顶部固定放置有第一收集框(17)和第二收集框(18),固定座(1)的顶部放置有第三收集框(19),第一收集框(17)、第二收集框(18)和第三收集框(19)均处于导料板(13)的下方。5. A peanut screening and collecting device for food processing according to claim 1, characterized in that: the adjacent sides of the first vertical plate (14) and the second vertical plate (15) are fixedly installed with placement Plate (16), a first collection frame (17) and a second collection frame (18) are fixedly placed on the top of the placing plate (16), and a third collection frame (19) is placed on the top of the fixed seat (1). The collecting frame (17), the second collecting frame (18) and the third collecting frame (19) are all located below the guide plate (13). 6.根据权利要求1所述的一种食品加工用花生筛选收集装置,其特征在于:所述筛选箱(3)的两侧内壁均固定安装有震动电机(20)。6 . The peanut screening and collecting device for food processing according to claim 1 , wherein vibration motors ( 20 ) are fixedly installed on both inner walls of the screening box ( 3 ). 7 .
CN202022636021.6U 2020-11-13 2020-11-13 Peanut screening and collecting device for food processing Expired - Fee Related CN214262672U (en)

Priority Applications (1)

Application Number Priority Date Filing Date Title
CN202022636021.6U CN214262672U (en) 2020-11-13 2020-11-13 Peanut screening and collecting device for food processing

Applications Claiming Priority (1)

Application Number Priority Date Filing Date Title
CN202022636021.6U CN214262672U (en) 2020-11-13 2020-11-13 Peanut screening and collecting device for food processing

Publications (1)

Publication Number Publication Date
CN214262672U true CN214262672U (en) 2021-09-24

Family

ID=77775428

Family Applications (1)

Application Number Title Priority Date Filing Date
CN202022636021.6U Expired - Fee Related CN214262672U (en) 2020-11-13 2020-11-13 Peanut screening and collecting device for food processing

Country Status (1)

Country Link
CN (1) CN214262672U (en)

Cited By (1)

* Cited by examiner, † Cited by third party
Publication number Priority date Publication date Assignee Title
CN115569846A (en) * 2022-10-17 2023-01-06 南通北新新能科技股份有限公司 A sorting and recycling device for waste batteries

Cited By (1)

* Cited by examiner, † Cited by third party
Publication number Priority date Publication date Assignee Title
CN115569846A (en) * 2022-10-17 2023-01-06 南通北新新能科技股份有限公司 A sorting and recycling device for waste batteries

Similar Documents

Publication Publication Date Title
CN214262672U (en) Peanut screening and collecting device for food processing
CN209985737U (en) A sieve reason device for rice finish machining
CN113559982A (en) Grain processing is with integrating equipment
CN200977505Y (en) Vibrating sifter
CN208146439U (en) Pneumatic separation device is used in a kind of processing of melon seeds
CN112718457A (en) Impurity screening plant for food processing
CN215542757U (en) A classified screening automatic control device for rice processing
CN205833634U (en) A kind of beans sifting device
CN215744753U (en) Plate production line cuts garbage collection device
CN213078793U (en) Iron impurity removing device for bean pulp feed production
CN222778417U (en) A vibrating screening device for walnut kernel production
CN220072363U (en) Dry dust-free processing device
CN208839947U (en) A kind of meal replacement powder processing screening installation
CN220611324U (en) High-efficient corn stoner
CN218835181U (en) Rice crust crushed aggregates divides screen (ing) machine
CN217069623U (en) Screening and classifying device for processing Chinese herbal pieces
CN221674929U (en) Seed sieving mechanism is planted to prickly ash
CN216964701U (en) Stone removing machine for wheat flour milling
CN220295218U (en) Green soy bean grader
CN112056601A (en) All-in-one is carried with filtering to feed processing
CN219965556U (en) Pumpkin seed assembly line removes stone device
CN221468986U (en) Soybean belt cleaning device is used in soybean milk production
CN216323395U (en) Prickly ash proportion sorting unit
CN118789469B (en) Auxiliary dust removal device for shot blasting machine
CN223300066U (en) Centralized screening control device for coal washery production

Legal Events

Date Code Title Description
GR01 Patent grant
GR01 Patent grant
TR01 Transfer of patent right

Effective date of registration: 20230908

Address after: 833300 East of Vehicle Management Office, Kuihe Office, Wusu City, Tacheng Prefecture, Xinjiang Uygur Autonomous Region (No. 782 Haihe East Road)

Patentee after: Wusu Xikui Food Co.,Ltd.

Address before: 510000 No. 24, Changzhong South Road, Changsha Pu, Zhongluotan, Baiyun District, Guangzhou, Guangdong

Patentee before: Zeng Honghong

TR01 Transfer of patent right
CF01 Termination of patent right due to non-payment of annual fee

Granted publication date: 20210924

CF01 Termination of patent right due to non-payment of annual fee