CN213010976U - Automatic paper tape winding machine - Google Patents

Automatic paper tape winding machine Download PDF

Info

Publication number
CN213010976U
CN213010976U CN202020853552.8U CN202020853552U CN213010976U CN 213010976 U CN213010976 U CN 213010976U CN 202020853552 U CN202020853552 U CN 202020853552U CN 213010976 U CN213010976 U CN 213010976U
Authority
CN
China
Prior art keywords
paper tape
winding
base
turntable
guide
Prior art date
Legal status (The legal status is an assumption and is not a legal conclusion. Google has not performed a legal analysis and makes no representation as to the accuracy of the status listed.)
Expired - Fee Related
Application number
CN202020853552.8U
Other languages
Chinese (zh)
Inventor
李奇中
Current Assignee (The listed assignees may be inaccurate. Google has not performed a legal analysis and makes no representation or warranty as to the accuracy of the list.)
Suzhou Qijingda Electronic Technology Co ltd
Original Assignee
Suzhou Qijingda Electronic Technology Co ltd
Priority date (The priority date is an assumption and is not a legal conclusion. Google has not performed a legal analysis and makes no representation as to the accuracy of the date listed.)
Filing date
Publication date
Application filed by Suzhou Qijingda Electronic Technology Co ltd filed Critical Suzhou Qijingda Electronic Technology Co ltd
Priority to CN202020853552.8U priority Critical patent/CN213010976U/en
Application granted granted Critical
Publication of CN213010976U publication Critical patent/CN213010976U/en
Expired - Fee Related legal-status Critical Current
Anticipated expiration legal-status Critical

Links

Images

Landscapes

  • Replacement Of Web Rolls (AREA)

Abstract

本实用新型提供一种纸带自动收卷机,属于收卷机设备技术领域。本实用新型包括导向夹紧机构、收卷机构以及底座,导向夹紧机构纵向设置在底座上端面一侧,导向夹紧机构包括下支架和上支架,下支架两端上端面设置有导杆,上支架两端开孔套设在下支架两端的导杆上,下支架上端面中间和上支架底面中间均设置有导向辊,收卷机构设置在底座上端面的导向夹紧机构的右侧,收卷机构包括安装板,安装板横向竖直设置在底座上端面,安装板一侧表面设置有转盘,转盘侧面连接复数根连杆,连杆远离转盘的一端设置有收卷辊,底座上端面还设置有胶水盒,胶水盒设置在转盘正下方,胶水盒一侧设置有切断机构,有效提高了收卷机的工作效率,降低了作业人员的劳动强度。

Figure 202020853552

The utility model provides an automatic paper tape winder, which belongs to the technical field of winder equipment. The utility model comprises a guide clamping mechanism, a winding mechanism and a base, the guide clamping mechanism is longitudinally arranged on one side of the upper end face of the base, the guide clamping mechanism comprises a lower bracket and an upper bracket, and guide rods are arranged on the upper end surfaces of both ends of the lower bracket, The openings at both ends of the upper bracket are sleeved on the guide rods at both ends of the lower bracket, guide rollers are arranged in the middle of the upper end surface of the lower bracket and the middle of the bottom surface of the upper bracket, and the winding mechanism is arranged on the right side of the guide clamping mechanism on the upper end surface of the base. The winding mechanism includes an installation plate, the installation plate is horizontally and vertically arranged on the upper end face of the base, a turntable is arranged on one side of the installation plate, a plurality of connecting rods are connected to the side of the turntable, and the end of the connecting rod away from the turntable is provided with a winding roller, and the upper end face of the base is also provided with a winding roller. A glue box is arranged, the glue box is arranged directly under the turntable, and a cutting mechanism is arranged on one side of the glue box, which effectively improves the working efficiency of the winder and reduces the labor intensity of the operators.

Figure 202020853552

Description

Automatic paper tape winding machine
Technical Field
The utility model relates to an automatic rolling machine of paper tape belongs to rolling machine equipment technical field.
Background
The receipts material part of coil stock processing lines rolls up into the coil stock through mechanical system to raw and other materials, and extensive application is in the scroll, the yardage roll, and the plastic material is rolled up, and on the metal coil processing lines, according to actual technological requirement design diversification, it is common to have simple and easy rolling machine, hydraulic pressure rolling machine, and the rolling machine generally has a book internal diameter to the material, rolls up the external diameter, and coil stock thickness, width all have strict demands.
The in-process of rolling is carried out the coil stock to current rolling machine, finishes the back when the coil stock rolling, needs the manual coil stock that cuts off of operating personnel, then changes the reel, attaches the coil stock on the reel of change again, and the restart machine carries out the rolling operation, adopts the change mode of this kind of reel, and the time that consumes is slight big, and operating personnel's work is slight big, and can also appear some dangerous circumstances in the reel change operation, and danger coefficient is high, and rolling work efficiency is low.
SUMMERY OF THE UTILITY MODEL
In view of the above prior art's shortcoming, an object of the utility model is to provide a paper tape automatic winding machine for solve the in-process that current rolling machine carries out the rolling to the coil stock among the prior art, after the coil stock rolling finishes, need the manual coil stock that cuts off of operating personnel, then change the reel, attach the coil stock on the reel of change again, restart machine carries out the rolling operation, adopt the change mode of this kind of reel, the time that consumes is long, operating personnel's work is slightly big, and can also appear some dangerous circumstances in the reel change operation, the danger coefficient is high, the problem that rolling work efficiency is low.
In order to realize the above-mentioned purpose and other relevant purposes, the utility model provides a paper tape automatic winding machine includes: the winding mechanism is arranged on the right side of the guiding clamping mechanism on the upper end surface of the base, the mounting plate is transversely and vertically arranged on the upper end surface of the base, a turntable is arranged on one side surface of the mounting plate, the side surface of the turntable is connected with a plurality of connecting rods, the winding roller is arranged at one end of each connecting rod, which is far away from the turntable, a glue box is also arranged on the upper end surface of the base, and the glue box is arranged under the turntable, one side of the glue box is provided with a cutting mechanism, and the cutting mechanism and the mounting plate are symmetrically arranged.
By adopting the technical scheme: when the paper tape is wound, firstly, the paper tape penetrates through the middle of an upper support and a lower support, the paper tape is attached to a guide roller in the middle of the lower support, then a paper tube is sleeved outside a winding roller on a winding mechanism, glue is coated outside the paper tube, the paper tape is stretched and attached to the outside of the leftmost paper tube, the winding roller rotates to drive the paper tube to rotate, so that the paper tape is wound on the paper tube, when the leftmost paper tube is wound to a set number of paper tape layers, a turntable rotates clockwise to drive a connecting rod to move rightwards, the wound winding roller moves rightwards, another winding roller to be wound moves to a winding station, an upper support in a guide clamping mechanism moves downwards along a guide rod, the guide roller in the middle of the upper support and the lower support is contacted to clamp the paper tape tightly, the paper tape extends in the process and is attached to the paper tube wound on the winding roller of the winding station, and the paper bag and the winding roller move due, the tension in the paper tape becomes large, when the winding roller which finishes winding moves rightwards, the paper tape is driven to be in contact with a cutting mechanism, the tension of the paper tape is cut off after the winding roller which finishes winding is in contact with the cutting mechanism, the winding roller which finishes winding continuously rotates to wind the rest of the paper tape onto the paper tube, the winding roller which finishes winding starts to run simultaneously at a winding station, an upper support in a guide clamping mechanism moves upwards, the paper tape is loosened, the winding roller which finishes winding starts to wind the paper tape, when the winding roller which finishes winding moves rightwards, the winding roller which waits for the winding station below drives the paper tube to enter a glue box, when the paper tube passes through the glue box, glue is attached to the surface, the winding operation is waited for winding operation, the steps are repeated, and therefore the winding operation of the automatic paper tube.
In an embodiment of the present invention, the bottom surfaces of the two ends of the lower bracket are further provided with a cylinder, and the telescopic rod of the cylinder passes through the lower bracket to be connected with the bottom surface of the upper bracket.
By adopting the technical scheme: when the guiding and clamping mechanism clamps the paper tape, the cylinder is started to drive the telescopic rod to contract and move downwards, the telescopic rod drives the upper support to move downwards along the guide rod, so that the upper support and the guide roller inside the lower support are in contact to clamp the paper tape, and in the same way, when the paper tape is loosened, the cylinder drives the telescopic rod to move upwards, the guide roller between the upper support and the lower support is separated from the lower support, and the paper tape is loosened.
In an embodiment of the present invention, the mounting plate opposite side is provided with a driving motor, and the turntable passes through the mounting plate and is connected with the driving motor through a driving belt.
By adopting the technical scheme: when the wind-up roll is replaced, the driving motor is started, the driving belt drives the turntable to rotate, and the driving turntable rotates clockwise.
In an embodiment of the utility model, the connecting rod on keep away from a side surface of wind-up roll and be provided with micro motor, the last rotation axis of micro motor passes the connecting rod and is connected with wind-up roll one end.
By adopting the technical scheme: when the winding roller carries out the rolling operation, micro motor starts, drives the winding roller through the rotation axis and rotates, and the winding roller drives the fiber container and rotates to the realization is to the rolling operation of paper tape.
In an embodiment of the utility model, the shutdown mechanism include vertical support, a side surface relative with the mounting panel on the vertical support is provided with horizontal support, horizontal support and wind-up roll parallel arrangement just set up in the centre of two wind-up rolls, horizontal support up end is provided with the blade.
By adopting the technical scheme: the blade sets up on horizontal support, because the motion that direction clamping mechanism pressed from both sides tight and wind-up roll to the container bag, the tensile force grow in the paper tape, and when the wind-up roll that the rolling was accomplished moved right, the blade that drives paper tape and shutdown mechanism contacted, was cut off after touching the blade on the shutdown mechanism greatly to the paper tape tensile force.
As above, the utility model discloses an automatic rolling machine of paper tape has following beneficial effect:
the utility model discloses in through setting up carousel, connecting rod and wind-up roll, the rotation through the carousel drives the wind-up roll motion, realized the automatic wind-up roll operation of changing, and be provided with a plurality of wind-up rolls on the winding mechanism, alternate operation in turn, and realized gluing the automation of paper tape to the automation of fiber container through setting up glue box and shutdown mechanism and cut off, effectively improved the work efficiency of rolling machine, reduced operation personnel's intensity of labour, improve the security of operation personnel work, and install simple structure, easy and simple to handle.
Drawings
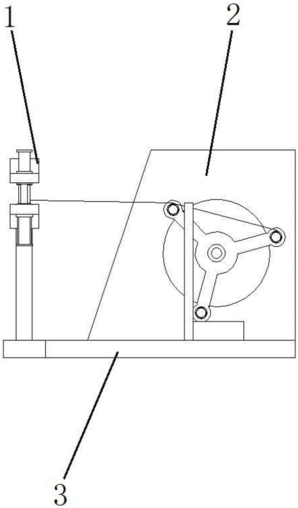
Fig. 1 shows the overall structure schematic diagram of an automatic paper tape winding machine in the embodiment of the present invention.
Fig. 2 shows that the embodiment of the utility model provides an in the embodiment of a winding mechanism right side of paper tape automatic winding machine looks at the schematic diagram.
Fig. 3 shows that the embodiment of the utility model provides an in the embodiment of a direction clamping mechanism of paper tape automatic winding machine looks structural diagram to the right.
Fig. 4 shows a schematic view of the main-view internal structure of the guiding and clamping mechanism of the automatic paper tape winding machine according to the embodiment of the present invention.
Fig. 5 shows a schematic view of a wind-up roll structure of an automatic paper tape wind-up machine in an embodiment of the present invention.
Fig. 6 shows a schematic structural view of a cutting mechanism of an automatic paper tape winding machine according to an embodiment of the present invention.
Wherein, 1, a guide clamping mechanism; 2. a winding mechanism; 3. a base; 4. a wind-up roll; 5. a cutting mechanism; 51. a blade; 52. A vertical support; 53. a transverse support; 6. a turntable; 7. a glue box; 8. mounting a plate; 9. a connecting rod; 10. a transmission belt; 11. A drive motor; 12. a guide bar; 13. an upper bracket; 14. a guide roller; 15. a lower bracket; 16. a telescopic rod; 17. a cylinder; 18. A support bar; 19. a micro motor; 20. a paper tube; 21. a rotating shaft.
Detailed Description
The following description is provided for illustrative purposes, and other advantages and features of the present invention will become apparent to those skilled in the art from the following detailed description.
Please refer to fig. 1 to 6. It should be understood that the structure, ratio, size and the like shown in the drawings attached to the present specification are only used for matching with the content disclosed in the specification, so as to be known and read by those skilled in the art, and are not used for limiting the limit conditions that the present invention can be implemented, so that the present invention has no technical essential meaning, and any structure modification, ratio relationship change or size adjustment should still fall within the scope that the technical content disclosed in the present invention can cover without affecting the function that the present invention can produce and the purpose that the present invention can achieve. Meanwhile, the terms such as "upper", "lower", "left", "right", "middle" and "one" used in the present specification are for convenience of description, and are not intended to limit the scope of the present invention, and changes or adjustments of the relative relationship thereof may be made without substantial technical changes, and the present invention is also regarded as the scope of the present invention.
Referring to fig. 1, the present invention provides an automatic paper tape winding machine, including: the winding mechanism 2 is arranged on the right side of the guiding clamping mechanism 1 on the upper end surface of the base 3, the winding mechanism 2 comprises a mounting plate 8, the mounting plate 8 is transversely and vertically arranged on the upper end surface of the base 3, a rotary disc 6 is arranged on one side surface of the mounting plate 8, a plurality of connecting rods 9 are connected on the side surface of the rotary disc 6, one end of each connecting rod 9, which is far away from the rotary disc 6, is provided with a winding roller 4, the base 3 up end still is provided with glue box 7, and glue box 7 sets up under carousel 6, and 7 one sides of glue box are provided with shutdown mechanism 5, and shutdown mechanism 5 sets up with 8 symmetries of mounting panel.
The bottom surfaces of two ends of the lower bracket 15 are also provided with air cylinders 17, and telescopic rods 16 of the air cylinders 17 penetrate through the lower bracket 15 to be connected with the bottom surface of the upper bracket 13.
The other side of the mounting plate 8 is provided with a driving motor 11, and the turntable 6 penetrates through the mounting plate 8 and is connected with the driving motor 11 through a driving belt 10.
The surface of one side of the connecting rod 9 far away from the winding roller 4 is provided with a micro motor 19, and a rotating shaft 21 on the micro motor 19 penetrates through the connecting rod 9 to be connected with one end of the winding roller 4.
The cutting mechanism 5 comprises a vertical support 52, a transverse support 53 is arranged on the surface of one side, opposite to the mounting plate 8, of the vertical support 52, the transverse support 53 is arranged in parallel with the winding rollers 4 and is arranged between the two winding rollers 4, and a blade 51 is arranged on the upper end face of the transverse support 53.
To sum up, the utility model discloses in through setting up carousel, connecting rod and wind-up roll, drive the wind-up roll motion through the rotation of carousel, realized the automatic wind-up roll operation of changing, and be provided with a plurality of wind-up rolls on the winding mechanism, alternate operation in turn to realized gluing the automation of paper tape and cutting off through setting up glue box and shutdown mechanism to the automation of fiber container, effectively improved the work efficiency of rolling machine, reduced operation personnel's intensity of labour, improve the security of operation personnel work, and install simple structure, easy and simple to handle. Therefore, the utility model effectively overcomes various defects in the prior art and has high industrial utilization value.
The above embodiments are merely illustrative of the principles and effects of the present invention, and are not to be construed as limiting the invention. Modifications and variations can be made to the above-described embodiments by those skilled in the art without departing from the spirit and scope of the present invention. Accordingly, it is intended that all equivalent modifications or changes which may be made by those skilled in the art without departing from the spirit and technical spirit of the present invention be covered by the claims of the present invention.

Claims (5)

1.一种纸带自动收卷机,其特征在于,所述一种纸带自动收卷机包括:导向夹紧机构(1)、收卷机构(2)以及底座(3),所述的导向夹紧机构(1)纵向设置在底座(3)上端面一侧,导向夹紧机构(1)包括下支架(15)和上支架(13),下支架(15)两端底面通过支撑杆(18)连接底座(3),下支架(15)两端上端面设置有导杆(12),上支架(13)两端开孔套设在下支架(15)两端的导杆(12)上,且沿导杆(12)自由上下运动,下支架(15)上端面中间和上支架(13)底面中间均设置有导向辊(14),所述的收卷机构(2)设置在底座(3)上端面的导向夹紧机构(1)的右侧,收卷机构(2)包括安装板(8),安装板(8)横向竖直设置在底座(3)上端面,安装板(8)一侧表面设置有转盘(6),转盘(6)侧面连接复数根连杆(9),连杆(9)远离转盘(6)的一端设置有收卷辊(4),底座(3)上端面还设置有胶水盒(7),胶水盒(7)设置在转盘(6)正下方,胶水盒(7)一侧设置有切断机构(5),切断机构(5)与安装板(8)对称设置。1. A paper tape automatic winder, characterized in that, the paper tape automatic winder comprises: a guide clamping mechanism (1), a winding mechanism (2) and a base (3), the described The guide clamping mechanism (1) is longitudinally arranged on one side of the upper end surface of the base (3), the guide clamping mechanism (1) includes a lower bracket (15) and an upper bracket (13), and the bottom surfaces of both ends of the lower bracket (15) pass through support rods (18) Connecting the base (3), guide rods (12) are provided on the upper end surfaces of both ends of the lower support (15), and the openings at both ends of the upper support (13) are sleeved on the guide rods (12) at both ends of the lower support (15). , and freely move up and down along the guide rod (12), the middle of the upper end surface of the lower bracket (15) and the middle of the bottom surface of the upper bracket (13) are provided with guide rollers (14), and the winding mechanism (2) is arranged on the base ( 3) On the right side of the guide clamping mechanism (1) on the upper end face, the winding mechanism (2) includes a mounting plate (8), the mounting plate (8) is horizontally and vertically arranged on the upper end face of the base (3), and the mounting plate (8) ) is provided with a turntable (6) on one side surface, the side of the turntable (6) is connected with a plurality of connecting rods (9), and the end of the connecting rod (9) away from the turntable (6) is provided with a winding roller (4), the base (3) The upper end face is also provided with a glue box (7), the glue box (7) is arranged directly below the turntable (6), and a cutting mechanism (5) is arranged on one side of the glue box (7), the cutting mechanism (5) and the mounting plate (8) ) symmetrical settings. 2.根据权利要求1所述的一种纸带自动收卷机,其特征在于:所述的下支架(15)两端底面还设置有气缸(17),气缸(17)的伸缩杆(16)穿过下支架(15)与上支架(13)底面相连接。2. A paper tape automatic winder according to claim 1, characterized in that: the bottom surfaces of both ends of the lower bracket (15) are also provided with air cylinders (17), and a telescopic rod (16) of the air cylinder (17) ) is connected with the bottom surface of the upper bracket (13) through the lower bracket (15). 3.根据权利要求1所述的一种纸带自动收卷机,其特征在于:所述的安装板(8)另一侧设置有驱动电机(11),转盘(6)穿过安装板(8)通过传动带(10)与驱动电机(11)相连接。3. A paper tape automatic winder according to claim 1, characterized in that: the other side of the mounting plate (8) is provided with a drive motor (11), and the turntable (6) passes through the mounting plate (8). 8) Connect with the drive motor (11) through the transmission belt (10). 4.根据权利要求1所述的一种纸带自动收卷机,其特征在于:所述的连杆(9)上远离收卷辊(4)的一侧表面设置有微型电机(19),微型电机(19)上的旋转轴(21)穿过连杆(9)与收卷辊(4)一端相连接。4. A paper tape automatic winder according to claim 1, characterized in that: a micromotor (19) is provided on the side surface of the connecting rod (9) away from the winding roller (4), The rotating shaft (21) on the micro motor (19) is connected with one end of the winding roller (4) through the connecting rod (9). 5.根据权利要求1所述的一种纸带自动收卷机,其特征在于:所述的切断机构(5)包括竖直支架(52),竖直支架(52)上与安装板(8)相对的一侧表面设置有横向支架(53),横向支架(53)与收卷辊(4)平行设置且设置在两个收卷辊(4)的中间,横向支架(53)上端面设置有刀片(51)。5 . The automatic paper tape winder according to claim 1 , wherein the cutting mechanism ( 5 ) comprises a vertical support ( 52 ), and the vertical support ( 52 ) is connected to a mounting plate ( 8 ). 6 . ) is provided with a transverse support (53) on the opposite side surface, the transverse support (53) is arranged in parallel with the winding roller (4) and is arranged in the middle of the two winding rollers (4), and the upper end surface of the transverse support (53) is provided with There are blades (51).
CN202020853552.8U 2020-05-20 2020-05-20 Automatic paper tape winding machine Expired - Fee Related CN213010976U (en)

Priority Applications (1)

Application Number Priority Date Filing Date Title
CN202020853552.8U CN213010976U (en) 2020-05-20 2020-05-20 Automatic paper tape winding machine

Applications Claiming Priority (1)

Application Number Priority Date Filing Date Title
CN202020853552.8U CN213010976U (en) 2020-05-20 2020-05-20 Automatic paper tape winding machine

Publications (1)

Publication Number Publication Date
CN213010976U true CN213010976U (en) 2021-04-20

Family

ID=75488721

Family Applications (1)

Application Number Title Priority Date Filing Date
CN202020853552.8U Expired - Fee Related CN213010976U (en) 2020-05-20 2020-05-20 Automatic paper tape winding machine

Country Status (1)

Country Link
CN (1) CN213010976U (en)

Cited By (1)

* Cited by examiner, † Cited by third party
Publication number Priority date Publication date Assignee Title
CN113788341A (en) * 2021-09-14 2021-12-14 宁波勤邦新材料科技有限公司 Multifunctional film winding equipment

Cited By (2)

* Cited by examiner, † Cited by third party
Publication number Priority date Publication date Assignee Title
CN113788341A (en) * 2021-09-14 2021-12-14 宁波勤邦新材料科技有限公司 Multifunctional film winding equipment
CN113788341B (en) * 2021-09-14 2023-08-18 宁波勤邦新材料科技股份有限公司 Multifunctional film winding equipment

Similar Documents

Publication Publication Date Title
CN213010976U (en) Automatic paper tape winding machine
CN216403256U (en) Side cut waste collection device
CN214003509U (en) Automatic cutting and roll changing for melt-blowing
CN221700587U (en) Automatic spinning winding device convenient for replacing winding drum
CN215592235U (en) Coiling mechanism of chemical fiber silk
CN213011013U (en) Automatic disc changing and winding device for slitting mechanism
CN215557583U (en) A crimping device for modified asphalt waterproofing membrane production
CN213976415U (en) Constant tension active wire withdrawing machine
CN117585521A (en) A carbon fiber dual-station twin-spindle winding machine and its yarn cutting control method
CN214003470U (en) Sealing tape winding device on chip mounter
CN214166801U (en) Unloader of coating machine
CN210411976U (en) Automatic broken roll winding equipment for aluminum rolled plate without shutdown
CN112878019A (en) Fabric cutting device for textile mill
CN218707918U (en) Winding is stabilized and is cut accurate non-woven fabrics production line
CN223201247U (en) Non-stop winding equipment for woven fabric
CN222945754U (en) Paper production slitting device
CN215923921U (en) Tension winding machine for plastic sheets
CN206305527U (en) Aluminium sheet cutting device
CN220148706U (en) Film winding machine with static electricity removing structure
CN221165189U (en) High-speed rolling unreeling mechanism of non-woven fabrics
CN219729961U (en) Coil stock mechanism for film blowing device
CN212832117U (en) Novel full-automatic winder
CN222374023U (en) Yarn conveying and carding device
CN221165301U (en) A full-automatic cutting machine for wall paper
CN218560721U (en) Automatic doffing device of chemical fiber winding system

Legal Events

Date Code Title Description
GR01 Patent grant
GR01 Patent grant
CF01 Termination of patent right due to non-payment of annual fee

Granted publication date: 20210420

CF01 Termination of patent right due to non-payment of annual fee