CN213000814U - Paint spraying device for civil air defense door - Google Patents

Paint spraying device for civil air defense door Download PDF

Info

Publication number
CN213000814U
CN213000814U CN202021109082.0U CN202021109082U CN213000814U CN 213000814 U CN213000814 U CN 213000814U CN 202021109082 U CN202021109082 U CN 202021109082U CN 213000814 U CN213000814 U CN 213000814U
Authority
CN
China
Prior art keywords
paint
air defense
defense door
spray booth
civil air
Prior art date
Legal status (The legal status is an assumption and is not a legal conclusion. Google has not performed a legal analysis and makes no representation as to the accuracy of the status listed.)
Expired - Fee Related
Application number
CN202021109082.0U
Other languages
Chinese (zh)
Inventor
高玉贵
徐道峰
Current Assignee (The listed assignees may be inaccurate. Google has not performed a legal analysis and makes no representation or warranty as to the accuracy of the list.)
Cathay Pacific Civil Air Defense Equipment Co ltd
Original Assignee
Cathay Pacific Civil Air Defense Equipment Co ltd
Priority date (The priority date is an assumption and is not a legal conclusion. Google has not performed a legal analysis and makes no representation as to the accuracy of the date listed.)
Filing date
Publication date
Application filed by Cathay Pacific Civil Air Defense Equipment Co ltd filed Critical Cathay Pacific Civil Air Defense Equipment Co ltd
Priority to CN202021109082.0U priority Critical patent/CN213000814U/en
Application granted granted Critical
Publication of CN213000814U publication Critical patent/CN213000814U/en
Expired - Fee Related legal-status Critical Current
Anticipated expiration legal-status Critical

Links

Images

Landscapes

  • Details Or Accessories Of Spraying Plant Or Apparatus (AREA)

Abstract

本实用新型公开了一种人防门喷漆装置,包括喷涂室,在喷涂室的两侧外壁上均连接第一电机,每个第一电机的输出轴均穿过喷涂室的侧壁连接夹持装置,在喷涂室的底部设有滑轨,在滑轨上滑动连接油漆箱,在油漆箱的上方连接两个电动推杆,在两个电动推杆的上方连接喷漆管,喷漆管水平设置,在喷漆管上连接一组喷头,在喷漆管的下方连接输送管,输送管的下端穿过所述油漆箱的侧壁,在输送管的端部连接油漆泵,油漆泵设置在所述油漆箱内。本实用新型的优点:本装置通过夹持装置夹持住人防门,然后通过第一电机带动人防门进行旋转,再通过喷头对人防门进行喷漆,实现了人防门的双面喷漆,而且还设置了过滤装置,能够对油漆产生的毒气进行吸附过滤。

Figure 202021109082

The utility model discloses a paint spraying device for an air defense door, which comprises a spraying room, first motors are connected to the outer walls on both sides of the spraying room, and the output shaft of each first motor is connected to a clamping device through the side walls of the spraying room , There is a slide rail at the bottom of the spraying room, the paint box is slidably connected on the slide rail, two electric push rods are connected above the paint box, and the paint spray pipe is connected above the two electric push rods. A set of spray heads are connected to the paint spray pipe, and a conveying pipe is connected below the spraying pipe. The lower end of the conveying pipe passes through the side wall of the paint box, and the end of the conveying pipe is connected to a paint pump, and the paint pump is arranged in the paint box. . The advantages of the utility model: the device clamps the air defense door through the clamping device, then drives the air defense door to rotate through the first motor, and then sprays the air defense door through the nozzle, so as to realize the double-sided painting of the air defense door, and also set It is equipped with a filter device, which can adsorb and filter the poisonous gas generated by the paint.

Figure 202021109082

Description

Paint spraying device for civil air defense door
Technical Field
The utility model relates to a civil air defense engineering production facility technical field especially relates to a civil air defense door paint spraying apparatus.
Background
The air defense is measures and actions taken by governments to mobilize and organize people to prevent enemy air attacks and eliminate consequences, called civil air defense for short, a civil air defense door is one of common hardware, the surface of the civil air defense door needs to be painted in the manufacturing process, so that the surface of the civil air defense door becomes more attractive, at present, the civil air defense door is usually painted on a placing table, one surface of the civil air defense door is painted by using a painting tool, after the painted surface is dry, the civil air defense door is turned over and then the other surface is painted, and the painting efficiency is low.
SUMMERY OF THE UTILITY MODEL
The utility model aims at solving the defects existing in the prior art and providing a civil air defense door paint spraying device.
In order to achieve the above purpose, the utility model adopts the following technical scheme:
the utility model provides a people's air defense door paint spraying apparatus, includes the spray booth, all connects the motor on the both sides outer wall of spray booth, and the output shaft of every first motor all passes the lateral wall of spray booth all connects clamping device on the output shaft of every first motor, and two clamping device all set up in the spray booth and relative setting are equipped with the slide rail in the bottom of spray booth, and sliding connection paint box is connected to sliding connection on the slide rail in the top of paint box, connects the paint spraying pipe in the top of two electric putter, and the paint spraying pipe level sets up, connects a set of shower nozzle on the paint spraying pipe, connects the conveyer pipe in the below of the pipe that sprays paint, and the lower extreme of conveyer pipe passes the lateral wall of paint box is at the end connection paint pump of conveyer pipe, and the paint pump sets up in the paint box.
Preferably, the top of spray booth still sets up filter equipment, and filter equipment includes the shell, and the shell passes the top lateral wall of spray booth, and the filter screen is connected to the below in the shell, sets up the suction fan in the top of filter screen, and the suction fan passes through the cross and connects the inside of shell.
Preferably, two rows of dust-proof plates are arranged at the inlet and the outlet of the spraying chamber, the two rows of dust-proof plates are arranged oppositely, and the dust-proof plates are rubber plates.
Preferably, the clamping device comprises a vertical plate, two support plates are connected to the side faces of the vertical plate, a hydraulic cylinder is arranged on one support plate, a piston rod of the hydraulic cylinder penetrates through the corresponding support plate, a pressing plate is connected to a driving rod of the hydraulic cylinder, and the pressing plate is arranged between the two support plates.
Preferably, the lower side of the paint box is connected with a sliding block, a sliding groove is arranged below the sliding block, and the sliding block slides on the sliding rail through the sliding groove.
Preferably, the two sides of the sliding block are both connected with second motors, the output shaft of each second motor is connected with a gear, the bottom in the spraying chamber is connected with two racks, and the racks are meshed with the corresponding gears.
The utility model has the advantages that: the utility model provides a pair of people's air defense door paint spraying apparatus passes through clamping device and grasps people's air defense door, then drives people's air defense door through first motor and rotates, and the rethread shower nozzle sprays paint to people's air defense door, has realized that people's air defense door's two-sided sprays paint, has still set up filter equipment moreover, can adsorb the filtration to the poison gas that paint produced.
Drawings
FIG. 1 is a schematic structural diagram of a painting device for a civil air defense door provided by the utility model;
FIG. 2 is a schematic view of the internal structure of the spray booth;
fig. 3 is a schematic view of the structure of the filter device.
Detailed Description
In order to make the objects, technical solutions and advantages of the present invention more clearly understood, the present invention is further described in detail below with reference to the accompanying drawings and embodiments. It should be understood that the specific embodiments described herein are merely illustrative of the invention and are not intended to limit the invention.
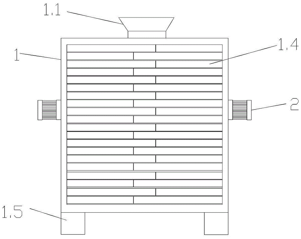
As shown in fig. 1, the utility model provides a pair of people's air defense door paint spraying apparatus, including spray booth 1, equal joint support post 1.5 in four corners in spray booth 1's below, four support columns 1.5 are used for supporting spray booth 1, all pass through two rows of dust guards 1.4 of bolt fastening in the entrance and exit department of spray booth 1, two rows of dust guards 1.4 set up relatively, dust guard 1.4 is the rubber slab, two rows of dust guards 1.4 not only can prevent when the spraying that outside dust from getting into in spray booth 1, can also prevent that paint and the smell in the spray booth 1 from spilling over, but also can not obstruct people's air defense door and get into in spray booth 1.
As shown in fig. 3, in order to prevent paint and toxic gas from diffusing to the outside air of spray booth 1 when spray booth 1 sprays people's air defense door, the top at spray booth 1 sets up the mounting hole, at the fixed filter equipment of mounting hole grafting, filter equipment includes shell 1.1, shell 1.1 welds in the mounting hole, below welding filter screen 1.2 in shell 1.1, filter screen 1.2 is the active carbon filter screen in this embodiment, can adsorb poison gas and peculiar smell, set up suction fan 1.3 in the top of filter screen 1.2, suction fan 1.3 connects through cross 1.4 the inside of shell 1.1, cross 1.4 welds the inside at shell 1.1 promptly, suction fan 1.3 passes through the bolt fastening on cross 1.4.
As shown in fig. 2, the first motors 2 are fixed on the outer walls of two sides of the spray booth 1 through bolts, the output shaft of each first motor 2 penetrates through the side wall of the spray booth 1, the output shaft of each first motor 2 is connected with the clamping device 3, the two clamping devices 3 are arranged in the spray booth 1 and are arranged oppositely, each clamping device 3 comprises a vertical plate 3.1, the vertical plate 3.1 is welded on the output shaft of the corresponding first motor 2, the two support plates 3.2 are welded on the side surface of the vertical plate 3.1, the two support plates 3.2 are arranged symmetrically up and down, the hydraulic cylinder 3.3 is fixed above the upper support plate 3.2 through bolts, the piston rod of the hydraulic cylinder 3.3 penetrates through the corresponding support plate 3.2, the pressing plate 3.4 is welded on the driving rod of the hydraulic cylinder 3.3, the pressing plate 3.4 is arranged between the two support plates 3.2, the civil air defense door is placed on the two support plates 3.2 below, then start hydraulic cylinder 3.3 and drive clamp plate 3.4 downstream, clamp plate 3.4 presses on the people's air defense door to compress tightly fixedly people's air defense door.
Be equipped with slide rail 4 in the bottom of spray booth 1, sliding connection paint box 5 on slide rail 4, at the below side welding sliding block 5.1 of paint box 5, set up the sliding tray in sliding tray 5.1's below, sliding block 5.1 is in through the sliding tray slide on the slide rail 4.
The two sides of the sliding block 5.1 are fixed with second motors 5.2 through bolts, the output shaft of each second motor 5.2 is welded with a gear 5.3, the bottom in the spraying chamber 1 is welded with two racks 5.4, the racks 5.4 are meshed with the corresponding gears 5.3, and the second motors 5.2 drive the gears 5.3 to be meshed and driven on the racks 5.4, so that the paint boxes 5 are driven to move.
Two electric putter 6 of bolt fastening are passed through in the top of paint case 5, and at two electric putter 6's top welding paint spraying pipe 7, the 7 level settings of pipe that sprays paint, a set of shower nozzle 8 of intercommunication on the pipe 7 that sprays paint, connect conveyer pipe 9 in the below of the pipe 7 that sprays paint, and the lower extreme of conveyer pipe 9 passes the lateral wall of paint case 5, at the end connection paint pump of conveyer pipe 9, the paint pump sets up in paint case 5, spray paint to the civil air defense door through shower nozzle 8.
The working principle is as follows: first place the people's air defense door on two backup pads 3.2 that are in the below, then start hydraulic cylinder 3.3 and drive clamp plate 3.4 downstream, clamp plate 3.4 presses on the people's air defense door, thereby compress tightly fixedly the people's air defense door, then start second motor 5.2 and drive gear 5.3 and rotate, make gear 5.3 and rack 5.4 meshing transmission, thereby drive paint can 5 and remove, then start the paint pump and draw out the paint, spray paint through shower nozzle 8 to the one side of people's air defense door, after one side has sprayed paint, then start first motor 2 and drive people's air defense door and rotate, make another side set up downwards, then start second motor 5.2 and drive shower nozzle 8 and return, shower nozzle 8 sprays paint to the another side of people's air defense door in the picture that returns.

Claims (6)

1. The utility model provides a people's air defense door paint spraying apparatus which characterized in that: including spray booth (1), all connect first motor (2) on the both sides outer wall of spray booth (1), the output shaft of every first motor (2) all passes the lateral wall of spray booth (1), all connect clamping device (3) on the output shaft of every first motor (2), two clamping device (3) all set up in spray booth (1) and relative setting are equipped with slide rail (4) in the bottom of spray booth (1), sliding connection paint box (5) on slide rail (4), connect two electric putter (6) in the top of paint box (5), connect paint spraying pipe (7) in the top of two electric putter (6), paint spraying pipe (7) level sets up, connects a set of shower nozzle (8) on paint spraying pipe (7), connects conveyer pipe (9) in the below of paint spraying pipe (7), the lower extreme of conveyer pipe (9) passes the lateral wall of paint box (5), the end part of the conveying pipe (9) is connected with a paint pump, and the paint pump is arranged in the paint box (5).
2. The painting apparatus for a civil air defense door according to claim 1, wherein: the top of spray booth (1) still sets up filter equipment, and filter equipment includes shell (1.1), and shell (1.1) passes the top lateral wall of spray booth (1), below in shell (1.1) is connected filter screen (1.2), sets up suction fan (1.3) in the top of filter screen (1.2), and suction fan (1.3) are connected through cross (1.4) the inside of shell (1.1).
3. The painting apparatus for a civil air defense door according to claim 1, wherein: the inlet and outlet department of spray booth (1) all sets up two rows of dust guards (1.4), and two rows of dust guards (1.4) set up relatively, and dust guard (1.4) are the rubber slab, all connect support column (1.5) in four corners in the bottom of spray booth (1).
4. The painting apparatus for a civil air defense door according to claim 1, wherein: clamping device (3) include riser (3.1), connect two backup pad (3.2) on the side of riser (3.1), set up pneumatic cylinder (3.3) on one of them backup pad (3.2), the piston rod of pneumatic cylinder (3.3) passes correspondingly backup pad (3.2), connect clamp plate (3.4) on the actuating lever of pneumatic cylinder (3.3), clamp plate (3.4) set up two between backup pad (3.2).
5. The painting apparatus for a civil air defense door according to claim 1, wherein: sliding block (5.1) are connected to the below side of paint case (5), set up the sliding tray in the below of sliding block (5.1), and sliding block (5.1) are in through the sliding tray slide on slide rail (4).
6. The painting apparatus for a civil air defense door according to claim 5, wherein: the two sides of the sliding block (5.1) are connected with second motors (5.2), the output shaft of each second motor (5.2) is connected with a gear (5.3), the bottom in the spraying chamber (1) is connected with two racks (5.4), and the racks (5.4) are meshed with the corresponding gears (5.3).
CN202021109082.0U 2020-06-16 2020-06-16 Paint spraying device for civil air defense door Expired - Fee Related CN213000814U (en)

Priority Applications (1)

Application Number Priority Date Filing Date Title
CN202021109082.0U CN213000814U (en) 2020-06-16 2020-06-16 Paint spraying device for civil air defense door

Applications Claiming Priority (1)

Application Number Priority Date Filing Date Title
CN202021109082.0U CN213000814U (en) 2020-06-16 2020-06-16 Paint spraying device for civil air defense door

Publications (1)

Publication Number Publication Date
CN213000814U true CN213000814U (en) 2021-04-20

Family

ID=75496019

Family Applications (1)

Application Number Title Priority Date Filing Date
CN202021109082.0U Expired - Fee Related CN213000814U (en) 2020-06-16 2020-06-16 Paint spraying device for civil air defense door

Country Status (1)

Country Link
CN (1) CN213000814U (en)

Cited By (4)

* Cited by examiner, † Cited by third party
Publication number Priority date Publication date Assignee Title
CN113560074A (en) * 2021-07-27 2021-10-29 安徽金三环金属科技有限公司 Automatic spraying device of sheet metal goods
CN114192314A (en) * 2021-12-17 2022-03-18 南京林业大学 A varnish electric heat treatment and coating equipment for furniture
CN114472018A (en) * 2022-02-17 2022-05-13 安徽职业技术学院 Polyhedral panel paint spraying apparatus is used to building engineering fitment
CN115301473A (en) * 2022-08-11 2022-11-08 高杰 Multilayer anticorrosion civil air defense door and processing device thereof

Cited By (6)

* Cited by examiner, † Cited by third party
Publication number Priority date Publication date Assignee Title
CN113560074A (en) * 2021-07-27 2021-10-29 安徽金三环金属科技有限公司 Automatic spraying device of sheet metal goods
CN113560074B (en) * 2021-07-27 2023-09-05 佛山市中辉集装箱有限公司 Automatic spraying device for sheet metal product
CN114192314A (en) * 2021-12-17 2022-03-18 南京林业大学 A varnish electric heat treatment and coating equipment for furniture
CN114472018A (en) * 2022-02-17 2022-05-13 安徽职业技术学院 Polyhedral panel paint spraying apparatus is used to building engineering fitment
CN114472018B (en) * 2022-02-17 2022-11-22 安徽职业技术学院 Polyhedral panel paint spraying apparatus is used to building engineering fitment
CN115301473A (en) * 2022-08-11 2022-11-08 高杰 Multilayer anticorrosion civil air defense door and processing device thereof

Similar Documents

Publication Publication Date Title
CN213000814U (en) Paint spraying device for civil air defense door
CN109675752B (en) A kind of spraying device for centrifugal pump casing processing
CN222232225U (en) A steel structure detection device
CN107297672A (en) A kind of building board is from dedusting polishing and grinding apparatus
CN211542738U (en) Composite sheet bonding closing device for construction
CN209772494U (en) Panel paint spraying apparatus for construction
CN109701792A (en) One kind being used for machine frame of speed reducing machine spray equipment
CN106903012A (en) A kind of paint spraying apparatus of finishing
CN218282338U (en) Steel structure coating equipment with pre-cleaning function
CN214684914U (en) Equipment for welding steel structure
CN210846862U (en) Dedicated environmental protection high efficiency flush coater of construction machinery
CN209735885U (en) paint spraying apparatus is used in furniture production
CN223197611U (en) Heavy high-pressure cleaning machine with six-face spraying function
CN211726326U (en) An automatic low-row paint spraying device
CN211865617U (en) Magnesium alloy casting product processing apparatus that sprays paint
CN115487971A (en) Automatic paint spraying device of steel structure
CN210545857U (en) Coating device for glass of range hood
CN209967982U (en) A atomizing dust collector for building site
CN213497303U (en) Aluminum template welding system
CN222829940U (en) Multifunctional spraying equipment
CN216125890U (en) Coating equipment for processing automobile parts
CN215784346U (en) Spraying pump based on fire-resistant spray coating
CN221063213U (en) Fireproof door spraying device
CN212598728U (en) Pressure head structure of core shooter
CN219052202U (en) Dust collector is produced to domestic cabinet door

Legal Events

Date Code Title Description
GR01 Patent grant
GR01 Patent grant
CF01 Termination of patent right due to non-payment of annual fee
CF01 Termination of patent right due to non-payment of annual fee

Granted publication date: 20210420