CN212706656U - Multifunctional workbench for machining - Google Patents

Multifunctional workbench for machining Download PDF

Info

Publication number
CN212706656U
CN212706656U CN202021478254.1U CN202021478254U CN212706656U CN 212706656 U CN212706656 U CN 212706656U CN 202021478254 U CN202021478254 U CN 202021478254U CN 212706656 U CN212706656 U CN 212706656U
Authority
CN
China
Prior art keywords
fixedly connected
machining
threaded rod
inner cavity
box
Prior art date
Legal status (The legal status is an assumption and is not a legal conclusion. Google has not performed a legal analysis and makes no representation as to the accuracy of the status listed.)
Expired - Fee Related
Application number
CN202021478254.1U
Other languages
Chinese (zh)
Inventor
丁欢喜
丁若南
Current Assignee (The listed assignees may be inaccurate. Google has not performed a legal analysis and makes no representation or warranty as to the accuracy of the list.)
Taicang Xihao Precision Hardware Products Co ltd
Original Assignee
Taicang Xihao Precision Hardware Products Co ltd
Priority date (The priority date is an assumption and is not a legal conclusion. Google has not performed a legal analysis and makes no representation as to the accuracy of the date listed.)
Filing date
Publication date
Application filed by Taicang Xihao Precision Hardware Products Co ltd filed Critical Taicang Xihao Precision Hardware Products Co ltd
Priority to CN202021478254.1U priority Critical patent/CN212706656U/en
Application granted granted Critical
Publication of CN212706656U publication Critical patent/CN212706656U/en
Expired - Fee Related legal-status Critical Current
Anticipated expiration legal-status Critical

Links

Images

Landscapes

  • Jigs For Machine Tools (AREA)

Abstract

本实用新型公开了一种机加工用多功能工作台,包括加工台,所述加工台内腔表面的两端均固定连接有滑杆,两个所述滑杆之间活动连接有升降平台,所述升降平台底部的四周均通过轴承活动连接有活动轮。本实用新型通过中央控制器、第一电机、第二电机、鼓风机、升降螺纹杆、升降平台、滑杆、活动轮、加工台、双向螺纹杆、夹紧板、夹紧台、鼓风机、操作箱、吸尘罩、过滤箱与灰尘过滤网以及排气管之间相互配合的作用下,实现了加工台便于移动的同时,能够对加工零件进行快速的夹紧固定与加工过程中进行除尘的目的,集多功能于一体,极大的满足了使用者所使用的机械加工用工作台的功能需求。

Figure 202021478254

The utility model discloses a multifunctional working table for machining, which comprises a processing table. Both ends of the inner cavity surface of the processing table are fixedly connected with sliding rods, and a lifting platform is movably connected between the two sliding rods. All around the bottom of the lifting platform are movably connected with movable wheels through bearings. The utility model adopts a central controller, a first motor, a second motor, a blower, a lifting threaded rod, a lifting platform, a sliding rod, a movable wheel, a processing table, a two-way threaded rod, a clamping plate, a clamping table, a blower, and an operation box. , Under the action of the mutual cooperation between the dust cover, the filter box, the dust filter screen and the exhaust pipe, the processing table is easy to move, and the processing parts can be quickly clamped and fixed and the purpose of dust removal during processing is realized. , which integrates multiple functions into one, which greatly meets the functional requirements of the machining workbench used by users.

Figure 202021478254

Description

Multifunctional workbench for machining
Technical Field
The utility model relates to the technical field of machining, specifically be a multifunctional workbench is used in machining.
Background
At present, machining means the process that changes the overall dimension or the performance of work piece through a mechanical equipment, in the middle of the process of processing, need use present machining workstation, and the placing of the workstation is comparatively firm for machining that exists in the existing market, but is not convenient for remove, can't carry out quick clamp to fix when processing to the part simultaneously, and can't carry out effectual dust removal to the processing environment in the parts machining process.
SUMMERY OF THE UTILITY MODEL
An object of the utility model is to provide a multi-functional workstation is used in machining possesses multi-functional advantage, has solved placing of the workstation is used in machining that exists in the existing market comparatively firm, but is not convenient for remove, can't carry out quick clamp to fix man-hour simultaneously to the part, and can't carry out the problem of effectively removing dust to the processing environment in the course of the part machining.
In order to achieve the above object, the utility model provides a following technical scheme: a multifunctional workbench for machining comprises a machining table, wherein two ends of the surface of an inner cavity of the machining table are fixedly connected with slide rods, a lifting platform is movably connected between the two slide rods, the periphery of the bottom of the lifting platform is movably connected with movable wheels through bearings, a first motor is fixedly installed at the middle end of the top of the inner cavity of the machining table through a support, an output end of the first motor is fixedly connected with a lifting threaded rod, the surface of the lifting threaded rod is in threaded connection with the middle end of the lifting platform, the middle end of the top of the machining table is fixedly connected with a clamping table, a second motor is fixedly installed on the right side of the outer surface of the clamping table, an output end of the second motor is fixedly connected with a bidirectional threaded rod, two ends of the surface of the bidirectional threaded rod are movably connected with the middle ends of two sides of the inner cavity of the clamping table through, the top fixedly connected with control box of processing platform, the left lower extreme fixed mounting of control box surface has central controller, the right-hand member fixed mounting at control box surface top has the air-blower, the input fixedly connected with suction hood of air-blower, and support fixed mounting is passed through in the middle-end at control box inner chamber top in the top of suction hood, the output fixedly connected with rose box of air-blower, and the left side fixed connection of rose box surface in the right side of control box surface, the equal fixedly connected with dust filter screen in both ends of rose box inner chamber, the lower extreme fixedly connected with blast pipe on rose box right side.
Preferably, the two ends of the bottom of the outer surface of the processing table are fixedly connected with anti-skidding bottom plates, and the anti-skidding bottom plates are made of rubber.
Preferably, both ends of the top of the processing table are fixedly connected with a discharging pipe, and the bottom of the discharging pipe is in threaded connection with a crushed material collecting box.
Preferably, the both sides on processing platform positive surface all have the maintenance door through hinge swing joint, the observation window has been seted up on the surface of maintenance door, and the inboard of observation window is including transparent glass.
Preferably, the top of the clamping table is provided with a guide hole, the bottom of the inner cavity of the clamping table is provided with a sliding groove, and the lower end of the surface of the clamping table is movably connected to the surface of the sliding groove.
Preferably, the lighting lamps are fixedly mounted at the two ends of the top of the inner cavity of the operating box, the placing plates are fixedly connected to the middle ends of the two sides of the inner cavity of the operating box, and the tool placing boxes are fixedly connected to the top of the placing plates.
Preferably, both ends of the top of the outer surface of the processing table are fixedly connected with material guide plates, and one side of the surface of each material guide plate is fixedly connected to the lower end of the surface of the inner cavity of the operation box.
Compared with the prior art, the beneficial effects of the utility model are as follows:
1. the utility model controls the first motor, the second motor and the blower to work through the central controller, the first motor works to drive the lifting threaded rod to rotate, the lifting threaded rod rotates to drive the lifting platform to move downwards along the sliding rod, the lifting platform moves downwards to drive the movable wheel to move downwards, under the state that the first motor works continuously, after the movable wheel is contacted with the ground, the processing table is lifted upwards, at the moment, a user can push the processing table to move, the two-way threaded rod is driven to rotate through the second motor, the clamping plates on two sides are driven to approach to the middle end of the clamping table while the two-way threaded rod rotates until one side of the clamping plate is tightly attached to the processing part on the top of the clamping table, the processing part on the top of the clamping table can be rapidly clamped and fixed, the air flow which can drive a large amount of processing dust in the operation box through the blower flows to the filter box through the dust hood, because the inside of rose box is provided with the dust filter screen, can fully filter the dust in the air current that the air-blower carried, the air current after filtering is under the continuous transport of air-blower, discharge to the external world from the blast pipe, under holistic cooperation, when having realized the processing platform and being convenient for to remove, can carry out quick clamp to the processing part and fix the purpose of removing dust in with the course of working, collect multi-functionally in an organic whole, the very big machining that has satisfied the user used uses the functional demand of workstation, it is comparatively firm to have solved placing of workstation for the machining that exists in the existing market, but be not convenient for remove, simultaneously can't carry out quick clamp to fix man-hour to the part, and can't carry out the problem of effectively removing dust to the processing environment in the part machining process.
Drawings
FIG. 1 is a schematic structural view of the present invention;
FIG. 2 is a schematic front view of the present invention;
fig. 3 is the schematic view of the sectional structure of the clamping table of the present invention.
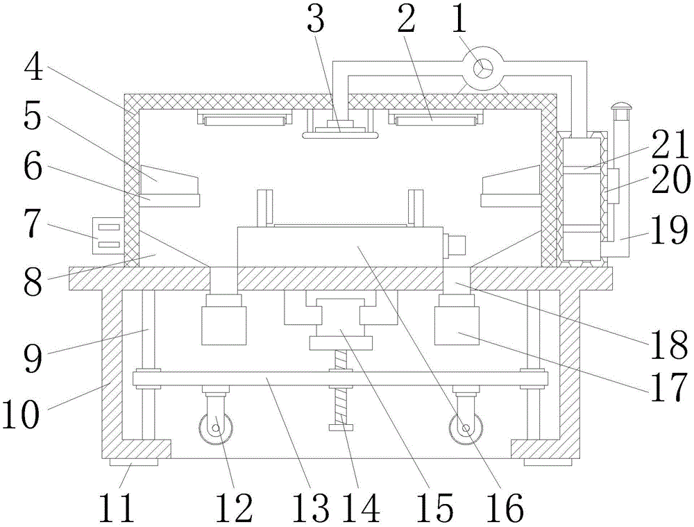
In the figure: 1. a blower; 2. an illuminating lamp; 3. a dust hood; 4. an operation box; 5. a tool storage case; 6. placing the plate; 7. a central controller; 8. a material guide plate; 9. a slide bar; 10. a processing table; 11. an anti-skid bottom plate; 12. a movable wheel; 13. a lifting platform; 14. lifting a threaded rod; 15. a first motor; 16. a clamping table; 17. a crushed material collecting box; 18. a discharging pipe; 19. an exhaust pipe; 20. a filter box; 21. a dust filter screen; 22. repairing the door; 23. an observation window; 24. a second motor; 25. a chute; 26. a bidirectional threaded rod; 27. a guide hole; 28. and (5) clamping the plate.
Detailed Description
The technical solutions in the embodiments of the present invention will be described clearly and completely with reference to the accompanying drawings in the embodiments of the present invention, and it is obvious that the described embodiments are only some embodiments of the present invention, not all embodiments. Based on the embodiments in the present invention, all other embodiments obtained by a person skilled in the art without creative work belong to the protection scope of the present invention.
In the description herein, it is to be understood that the terms "center," "upper," "lower," "front," "rear," "left," "right," "vertical," "horizontal," "top," "bottom," "inner," "outer," and the like are used in the orientations and positional relationships indicated in the drawings to facilitate the description of the patent and to simplify the description, but do not indicate or imply that the referenced device or element must have a particular orientation, be constructed and operated in a particular orientation, and thus are not to be considered limiting of the patent. In the description of the present application, it should be noted that unless otherwise explicitly stated or limited, the terms "mounted," "connected," and "disposed" are to be construed broadly and can, for example, be fixedly connected, disposed, detachably connected, disposed, or integrally connected and disposed. The specific meaning of the above terms in this patent may be understood by those of ordinary skill in the art as appropriate.
Referring to fig. 1-3, a multifunctional worktable for machining includes a machining table 10, both ends of the bottom of the outer surface of the machining table 10 are fixedly connected with anti-skid bottom plates 11, the anti-skid bottom plates 11 are made of rubber, both sides of the front surface of the machining table 10 are movably connected with maintenance doors 22 through hinges, the surface of the maintenance doors 22 is provided with observation windows 23, the inner sides of the observation windows 23 include transparent glass, both ends of the surface of the inner cavity of the machining table 10 are fixedly connected with slide bars 9, a lifting platform 13 is movably connected between the two slide bars 9, the periphery of the bottom of the lifting platform 13 is movably connected with movable wheels 12 through bearings, the middle end of the top of the inner cavity of the machining table 10 is fixedly provided with a first motor 15 through a bracket, the output end of the first motor 15 is fixedly connected with a lifting threaded rod 14, and the surface of the lifting threaded rod 14, the two ends of the top of the processing table 10 are fixedly connected with a blanking pipe 18, the bottom of the blanking pipe 18 is in threaded connection with a crushed aggregate collecting box 17, the middle end of the top of the processing table 10 is fixedly connected with a clamping table 16, the right side of the outer surface of the clamping table 16 is fixedly provided with a second motor 24, the output end of the second motor 24 is fixedly connected with a bidirectional threaded rod 26, the two ends of the surface of the bidirectional threaded rod 26 are movably connected with the middle ends of the two sides of the inner cavity of the clamping table 16 through bearings, the two ends of the surface of the bidirectional threaded rod 26 are in threaded connection with clamping plates 28, the top of the clamping table 16 is provided with a guide hole 27, the bottom of the inner cavity of the clamping table 16 is provided with a sliding groove 25, the lower end of the surface of the clamping plate 28 is movably connected with the surface of the sliding groove 25, the top of the processing table 10 is fixedly connected with an, the lamp 2 is fixedly arranged at two ends of the top of the inner cavity of the operation box 4, the placing plate 6 is fixedly connected with the middle ends of two sides of the inner cavity of the operation box 4, the tool placing box 5 is fixedly connected with the top of the placing plate 6, the central controller 7 is fixedly arranged at the left lower end of the outer surface of the operation box 4, the air blower 1 is fixedly arranged at the right end of the top of the outer surface of the operation box 4, the dust suction hood 3 is fixedly connected with the input end of the air blower 1, the top of the dust suction hood 3 is fixedly arranged at the middle end of the top of the inner cavity of the operation box 4 through a support, the filter box 20 is fixedly connected with the output end of the air blower 1, the left side of the outer surface of the filter box 20 is fixedly connected with the right side of the outer surface of the operation box 4, the dust filter screens, The second motor 24 and the blower 1 work, the first motor 15 works to drive the lifting threaded rod 14 to rotate, the lifting threaded rod 14 rotates to drive the lifting platform 13 to move downwards along the sliding rod 9, the lifting platform 13 moves downwards to drive the movable wheel 12 to move downwards, the processing table 10 is lifted up after the movable wheel 12 is in contact with the ground under the condition that the first motor 15 continuously works, at the moment, a user can push the processing table 10 to move, the second motor 24 works to drive the two-way threaded rod 26 to rotate, the two-way threaded rod 26 rotates and simultaneously drives the clamping plates 28 at two sides to approach to the middle end of the clamping table 16 until one side of the clamping plate 28 is tightly attached to a processing part at the top of the clamping table 16, the processing part at the top of the clamping table 16 can be rapidly clamped and fixed, the blower 1 works to drive the air flow carrying a large amount of processing dust in the operation box 4 to flow to the filter box 20 through the dust hood 3, because the inside of rose box 20 is provided with dust filter screen 21, can fully filter the dust in the air current that air-blower 1 carried, the air current after filtering is under the continuous transport of air-blower 1, discharge to the external world from blast pipe 19, under holistic cooperation, when having realized that processing platform 10 is convenient for remove, can carry out the quick clamp to the processing part and fix the purpose of removing dust in with the course of working, collect multi-functional in an organic whole, very big satisfied the functional requirement of the workstation for the machining that the user used, place comparatively firm of the workstation for the machining who exists in having solved present market, but be not convenient for remove, can't carry out quick clamp to the part man-hour simultaneously and fix, and can't carry out the problem of effectively removing dust to the processing environment in the part machining process.
All the components in the utility model are universal standard components or components known by technicians in the field, the structure and principle of the components are known by technicians in the technical manual or known by conventional experimental methods, standard parts used in the application document can be purchased from the market, the components in the application document can be customized according to the description of the specification and the accompanying drawings, the specific connection mode of each component adopts conventional means such as bolts, rivets, welding and the like mature in the prior art, machines, parts and equipment adopt conventional models in the prior art, the control mode is automatically controlled by a controller, a control circuit of the controller can be realized by simple programming of technicians in the field, the components belong to the common knowledge in the field, and the application document is mainly used for protecting mechanical devices, so the control mode and circuit connection are not explained in detail in the application document, no specific description will be made herein.
When the machine is used, the central controller 7 controls the first motor 15, the second motor 24 and the blower 1 to work, the first motor 15 works to drive the lifting threaded rod 14 to rotate, the lifting threaded rod 14 rotates to drive the lifting platform 13 to move downwards along the sliding rod 9, the lifting platform 13 moves downwards to drive the movable wheel 12 to move downwards, under the condition that the first motor 15 continuously works, after the movable wheel 12 is in contact with the ground, the processing table 10 is erected upwards, at the moment, a user can push the processing table 10 to move, the second motor 24 works to drive the bidirectional threaded rod 26 to rotate, the bidirectional threaded rod 26 rotates and simultaneously drives the clamping plates 28 on two sides to approach to the middle end of the clamping table 16 until one side of the clamping plates 28 is tightly attached to a processing part on the top of the clamping table 16, and the processing part on the top of the clamping table 16 can be rapidly clamped and fixed, can drive the inside air current that carries a large amount of processing dusts of control box 4 through 1 work of air-blower and pass through 3 flow direction rose box 20 of suction hood, because rose box 20's inside is provided with dust filter screen 21, can fully filter the dust in the air current of air-blower 1 transport, the air current after filtering is under the continuous transport of air-blower 1, discharge to the external world from blast pipe 19, under holistic cooperation, when having realized that processing platform 10 is convenient for remove, can carry out the quick clamp to the processing part and fix the purpose of removing dust in with the course of working, collect multi-functional in an organic whole, very big satisfied the functional demand of the machining that the user used workstation.
Although embodiments of the present invention have been shown and described, it will be appreciated by those skilled in the art that changes, modifications, substitutions and alterations can be made in these embodiments without departing from the principles and spirit of the invention, the scope of which is defined in the appended claims and their equivalents.

Claims (7)

1.一种机加工用多功能工作台,包括加工台(10),其特征在于:所述加工台(10)内腔表面的两端均固定连接有滑杆(9),两个所述滑杆(9)之间活动连接有升降平台(13),所述升降平台(13)底部的四周均通过轴承活动连接有活动轮(12),所述加工台(10)内腔顶部的中端通过支架固定安装有第一电机(15),所述第一电机(15)的输出端固定连接有升降螺纹杆(14),且升降螺纹杆(14)的表面螺纹连接于升降平台(13)的中端,所述加工台(10)顶部的中端固定连接有夹紧台(16),所述夹紧台(16)外表面的右侧固定安装有第二电机(24),所述第二电机(24)的输出端固定连接有双向螺纹杆(26),且双向螺纹杆(26)表面的两端通过轴承活动连接于夹紧台(16)内腔两侧的中端,所述双向螺纹杆(26)表面的两端均螺纹连接有夹紧板(28),所述加工台(10)的顶部固定连接有操作箱(4),所述操作箱(4)外表面左侧的下端固定安装有中央控制器(7),所述操作箱(4)外表面顶部的右端固定安装有鼓风机(1),所述鼓风机(1)的输入端固定连接有吸尘罩(3),且吸尘罩(3)的顶部通过支架固定安装于操作箱(4)内腔顶部的中端,所述鼓风机(1)的输出端固定连接有过滤箱(20),且过滤箱(20)外表面的左侧固定连接于操作箱(4)外表面的右侧,所述过滤箱(20)内腔的两端均固定连接有灰尘过滤网(21),所述过滤箱(20)右侧的下端固定连接有排气管(19)。1. A multifunctional workbench for machining, comprising a machining table (10), characterized in that: both ends of the inner cavity surface of the machining table (10) are fixedly connected with sliding rods (9), and the two said A lifting platform (13) is movably connected between the sliding rods (9), and movable wheels (12) are movably connected around the bottom of the lifting platform (13) through bearings. A first motor (15) is fixedly installed at the end through a bracket, the output end of the first motor (15) is fixedly connected with a lifting threaded rod (14), and the surface of the lifting threaded rod (14) is threadedly connected to the lifting platform (13) ), the middle end of the top of the processing table (10) is fixedly connected with a clamping table (16), and a second motor (24) is fixedly installed on the right side of the outer surface of the clamping table (16). The output end of the second motor (24) is fixedly connected with a bidirectional threaded rod (26), and both ends of the surface of the bidirectional threaded rod (26) are movably connected to the middle ends on both sides of the inner cavity of the clamping table (16) through bearings, Both ends of the surface of the bidirectional threaded rod (26) are screwed with clamping plates (28), and an operation box (4) is fixedly connected to the top of the processing table (10). The outer surface of the operation box (4) A central controller (7) is fixedly installed at the lower end of the left side, a blower (1) is fixedly installed at the right end of the top of the outer surface of the operation box (4), and a dust hood (1) is fixedly connected to the input end of the blower (1). 3), and the top of the dust hood (3) is fixedly installed on the middle end of the top of the inner cavity of the operation box (4) through a bracket, the output end of the blower (1) is fixedly connected with a filter box (20), and the filter box (20) The left side of the outer surface is fixedly connected to the right side of the outer surface of the operation box (4). Both ends of the inner cavity of the filter box (20) are fixedly connected with dust filter screens (21). 20) An exhaust pipe (19) is fixedly connected to the lower end of the right side. 2.根据权利要求1所述的一种机加工用多功能工作台,其特征在于:所述加工台(10)外表面底部的两端均固定连接有防滑底板(11),所述防滑底板(11)的材质为橡胶。2. The multifunctional workbench for machining according to claim 1, wherein both ends of the bottom of the outer surface of the processing table (10) are fixedly connected with a non-slip base plate (11), and the non-slip base plate (11). (11) is made of rubber. 3.根据权利要求1所述的一种机加工用多功能工作台,其特征在于:所述加工台(10)顶部的两端均固定连接有下料管(18),所述下料管(18)的底部螺纹连接有碎料收集盒(17)。3. The multifunctional workbench for machining according to claim 1, characterized in that: both ends of the top of the processing table (10) are fixedly connected with a feeding tube (18), and the feeding tube The bottom of (18) is screwed with a scrap collection box (17). 4.根据权利要求1所述的一种机加工用多功能工作台,其特征在于:所述加工台(10)正表面的两侧均通过合页活动连接有维修门(22),所述维修门(22)的表面开设有观察窗(23),且观察窗(23)的内侧包括有透明玻璃。4 . The multifunctional workbench for machining according to claim 1 , wherein the two sides of the front surface of the machining table (10) are movably connected with maintenance doors (22) through hinges, and the An observation window (23) is opened on the surface of the maintenance door (22), and the inner side of the observation window (23) includes transparent glass. 5.根据权利要求1所述的一种机加工用多功能工作台,其特征在于:所述夹紧台(16)的顶部开设有导孔(27),所述夹紧台(16)内腔的底部开设有滑槽(25),且夹紧板(28)表面的下端活动连接于滑槽(25)的表面。5. The multifunctional workbench for machining according to claim 1, characterized in that: a guide hole (27) is opened on the top of the clamping table (16), and a guide hole (27) is formed in the top of the clamping table (16). The bottom of the cavity is provided with a chute (25), and the lower end of the surface of the clamping plate (28) is movably connected to the surface of the chute (25). 6.根据权利要求1所述的一种机加工用多功能工作台,其特征在于:所述操作箱(4)内腔顶部的两端均固定安装有照明灯(2),所述操作箱(4)内腔两侧的中端均固定连接有放置板(6),所述放置板(6)的顶部固定连接有工具放置盒(5)。6. The multifunctional workbench for machining according to claim 1, characterized in that: both ends of the top of the inner cavity of the operation box (4) are fixedly installed with lighting lamps (2). (4) A placing plate (6) is fixedly connected to the middle ends of both sides of the inner cavity, and a tool placing box (5) is fixedly connected to the top of the placing plate (6). 7.根据权利要求1所述的一种机加工用多功能工作台,其特征在于:所述加工台(10)外表面顶部的两端均固定连接有导料板(8),且导料板(8)表面的一侧固定连接于操作箱(4)内腔表面的下端。7. A multifunctional workbench for machining according to claim 1, characterized in that: both ends of the top of the outer surface of the machining table (10) are fixedly connected with a material guide plate (8), and the material guides One side of the surface of the plate (8) is fixedly connected to the lower end of the inner cavity surface of the operation box (4).
CN202021478254.1U 2020-07-24 2020-07-24 Multifunctional workbench for machining Expired - Fee Related CN212706656U (en)

Priority Applications (1)

Application Number Priority Date Filing Date Title
CN202021478254.1U CN212706656U (en) 2020-07-24 2020-07-24 Multifunctional workbench for machining

Applications Claiming Priority (1)

Application Number Priority Date Filing Date Title
CN202021478254.1U CN212706656U (en) 2020-07-24 2020-07-24 Multifunctional workbench for machining

Publications (1)

Publication Number Publication Date
CN212706656U true CN212706656U (en) 2021-03-16

Family

ID=74909489

Family Applications (1)

Application Number Title Priority Date Filing Date
CN202021478254.1U Expired - Fee Related CN212706656U (en) 2020-07-24 2020-07-24 Multifunctional workbench for machining

Country Status (1)

Country Link
CN (1) CN212706656U (en)

Cited By (1)

* Cited by examiner, † Cited by third party
Publication number Priority date Publication date Assignee Title
CN113681523A (en) * 2021-08-30 2021-11-23 安徽智鸥驱动科技有限公司 Tool clamp for maintaining servo motor driver

Cited By (2)

* Cited by examiner, † Cited by third party
Publication number Priority date Publication date Assignee Title
CN113681523A (en) * 2021-08-30 2021-11-23 安徽智鸥驱动科技有限公司 Tool clamp for maintaining servo motor driver
CN113681523B (en) * 2021-08-30 2022-09-13 安徽智鸥驱动科技有限公司 Tool clamp for maintaining servo motor driver

Similar Documents

Publication Publication Date Title
CN111451907A (en) Efficient automobile parts grinding device
CN212042727U (en) A drilling machine for easy chip removal
CN212706656U (en) Multifunctional workbench for machining
CN214134219U (en) Automobile fastener cutting device
CN212526299U (en) A sawing automatic adjustment mechanism for a metal circular saw
CN219359619U (en) Trimming device for processing automotive plastic plate interior trim
CN218192559U (en) Hydraulic press with detachable protective cover
CN212975497U (en) Cutting device for metal casting
CN217702792U (en) A ceramic machining dust device of polishing for 5G communication
CN215903796U (en) Cutting device for graphite processing
CN214134662U (en) Automobile door welding device
CN216183551U (en) Utilize laminating machine laminating glass apron's liquid crystal module assembly
CN212622475U (en) Multifunctional environment detection table
CN115741418A (en) Polishing equipment for processing nixing pottery
CN210209643U (en) Battery apron mills and uses dust collector
CN220575509U (en) Automobile plastic accessory polishing device convenient for absorbing scraps
CN210791581U (en) Fixing device is used in processing of famous and precious jewelry
CN210413966U (en) Mechanical die surface grinding processing apparatus
CN221246408U (en) A high efficiency dust removal device
CN114273943A (en) Metal cutting machine tool with workpiece anti-falling and waste material collecting structure
CN218452679U (en) Vision positioning laser welding device
CN221696245U (en) Sharpening machine for transverse bar milling cutter of roller
CN214559407U (en) Processing equipment is used in production of electronic passenger ladder car
CN214136108U (en) Industrial robot that work efficiency is high
CN222710933U (en) Intelligent production equipment for inspection robot

Legal Events

Date Code Title Description
GR01 Patent grant
GR01 Patent grant
CF01 Termination of patent right due to non-payment of annual fee
CF01 Termination of patent right due to non-payment of annual fee

Granted publication date: 20210316