CN211839051U - A kind of bran screening device in rice processing - Google Patents
A kind of bran screening device in rice processing Download PDFInfo
- Publication number
- CN211839051U CN211839051U CN202020170543.9U CN202020170543U CN211839051U CN 211839051 U CN211839051 U CN 211839051U CN 202020170543 U CN202020170543 U CN 202020170543U CN 211839051 U CN211839051 U CN 211839051U
- Authority
- CN
- China
- Prior art keywords
- screening
- rice
- air
- screening tank
- air inlet
- Prior art date
- Legal status (The legal status is an assumption and is not a legal conclusion. Google has not performed a legal analysis and makes no representation as to the accuracy of the status listed.)
- Active
Links
Images
Landscapes
- Combined Means For Separation Of Solids (AREA)
Abstract
本实用新型公开了一种大米加工中筛糠装置,涉及一种透光表皮技术领域,包括立柱、筛选罐、进风箱和电机箱,所述筛选罐的进料管和漏斗内安装有带有搅拌叶的转轴,通过搅拌叶对进入漏斗的大米进行搅拌,使得米糠尽可能的分离开来,更加有利于筛选罐对大米的筛糠操作,增加了装置筛糠的可靠性,同时通过设置的鼓风机和空气加热器,将干燥的空气通过喷头均匀的对大米进行风力筛选,将较轻的糠从大米中吹出,实现米糠的一次筛选,同时空气加热器避免了潮湿的空气进入装置,将米糠粘黏在一起,保证了筛选效率;同时通过设置的震动电机带动震动筛网对大米进行震动筛选,对大米进行二次筛选,保证了筛选完成的大米的纯洁性,增加了装置的实用性。
The utility model discloses a bran sieving device in rice processing, which relates to the technical field of light-transmitting skin, comprising a vertical column, a screening tank, an air inlet box and a motor box. The rotating shaft of the blade stirs the rice entering the funnel through the stirring blade, so that the rice bran is separated as much as possible, which is more conducive to the screening operation of the rice bran by the screening tank, and increases the reliability of the device for screening bran. Heater, the dry air is evenly screened by the wind through the nozzle, and the lighter bran is blown out of the rice to realize the first screening of the rice bran. At the same time, the air heater prevents the humid air from entering the device and sticks the rice bran on At the same time, the screening efficiency is ensured; at the same time, the vibrating screen is driven by the set vibration motor to vibrate and screen the rice, and the rice is screened twice, which ensures the purity of the screened rice and increases the practicability of the device.
Description
技术领域technical field
本实用新型涉及筛糠装置技术领域,具体是一种大米加工中筛糠装置。The utility model relates to the technical field of bran screening devices, in particular to a bran screening device in rice processing.
背景技术Background technique
大米在加工过程中会有米糠混入在大米中,如果不将其筛选分开来会影响大米的口感,同时国内外的研究结果和资料表明,米糠中富含各种营养素和生理活性物质。现在美国等发达国家已经有食用米糠问世,中国也有类似产品被发明,即应用现代食品加工精准碾制技术将米糠中的不益食物质(稻壳、果皮、种皮、灰尘、微生物等)与益食营养物质(胚、糊粉层等外层胚乳)在洁净的生产车间里进行精准碾磨分离,此分离技术可将米糠分级为饲料级米糠和食品级米糠两部分,其中食品级米糠约占米糠总重量的80%,营养的90%以上。因为食品级米糠虽然只占稻谷重量的6%,且占稻谷营养的约60%,是大米碾白过程中的碾下物,所以其也被人们称为“米珍”或是“米粕”。Rice bran will be mixed into the rice during the processing. If it is not screened and separated, it will affect the taste of the rice. At the same time, research results and data at home and abroad show that rice bran is rich in various nutrients and physiologically active substances. Now the United States and other developed countries have come out with edible rice bran, and China has also invented similar products, that is, the application of modern food processing precision milling technology to the unhealthy food substances in rice bran (rice husk, peel, seed coat, dust, microorganisms, etc.) with Food-friendly nutrients (embryo, aleurone and other outer endosperm) are precisely milled and separated in a clean production workshop. This separation technology can classify rice bran into feed-grade rice bran and food-grade rice bran, of which food-grade rice bran is approximately It accounts for 80% of the total weight of rice bran and more than 90% of the nutrition. Although food-grade rice bran only accounts for 6% of the weight of the rice, and accounts for about 60% of the nutrition of the rice, it is the milled material during the whitening process of the rice, so it is also known as "mizhen" or "rice meal". .
因此将大米和米糠筛选出来非常有必要,但是现有技术中直接对大米进行筛糠,因为米糠与大米贴合比较紧,筛选过程比较慢,效率低,同时大多装置只采用单一震动筛选,筛选效率低,同时筛选结果不尽如人意。Therefore, it is very necessary to screen out the rice and rice bran, but in the prior art, the rice is directly screened for bran, because the rice bran is tightly attached to the rice, the screening process is relatively slow, and the efficiency is low. At the same time, most devices only use a single vibration screening, and the screening efficiency low, and the screening results are not satisfactory.
实用新型内容Utility model content
针对现有技术中存在的问题,本实用新型的目的在于提供一种大米加工中筛糠装置,该装置采用热风吹拂和震动筛网对大米进行二次筛糠操作,筛选效果好,增加了装置的实用性。In view of the problems existing in the prior art, the purpose of this utility model is to provide a bran sieving device in rice processing, which adopts hot air blowing and vibrating screen to carry out secondary bran sieving operation on rice, the screening effect is good, and the practicality of the device is increased. sex.
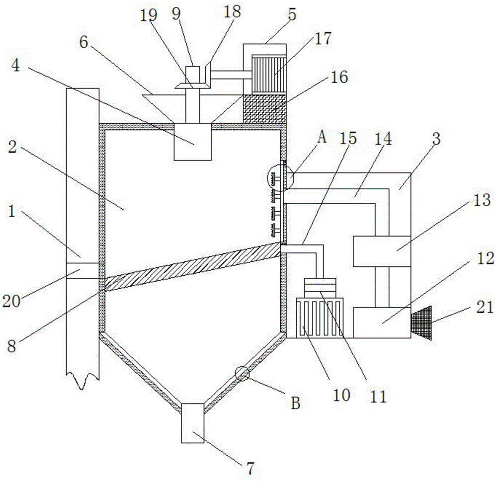
为实现上述目的,本实用新型提供如下技术方案:包括立柱、筛选罐、进风箱和电机箱,所述立柱通过底部安装的配重块,固定在工作地面上,同时立柱的右侧面固定安装有筛选罐,所述筛选罐的上层设置成圆柱体结构,下层设置成锥形结构,通过锥形结构更加方便对筛选完的大米进行收集,避免了大米在装置底部堆积的情况,提高了装置的收集效率,同时筛选罐的锥形底端螺纹安装有出料管;同时筛选罐的顶部中间安装有进料管,进料管的底部伸入筛选罐的内部,同时进料管的顶部和筛选罐的顶部在同一条水平线上,并螺纹连接有漏斗,同时在进料管的内部设置有转轴,转轴通过连杆转动安装在漏斗的侧壁上,同时转轴通过第二锥齿轮和第一锥齿轮齿轮连接在一起,第一锥齿轮固定安装在旋转电机的输出轴上,同时旋转电机通过固定座固定安装在电机箱的底部,所述电机箱螺栓安装在筛选罐的顶部远离立柱的一侧,用来保护旋转电机;同时筛选罐的右侧壁上固定安装有进风箱,同时在筛选罐内部倾斜安装有震动筛网,其中震动筛网的右侧端高于左侧,同时在筛选罐安装有震动筛网的左侧壁开设有出糠口,出糠口从立柱的内部穿过,用来将筛选的米糠从筛选罐内排出。In order to achieve the above purpose, the utility model provides the following technical solutions: including a column, a screening tank, an air inlet box and a motor box, the column is fixed on the working ground through a counterweight block installed at the bottom, and the right side of the column is fixedly installed at the same time. There is a screening tank, the upper layer of the screening tank is arranged in a cylindrical structure, and the lower layer is arranged in a conical structure. The conical structure is more convenient to collect the screened rice, avoids the accumulation of rice at the bottom of the device, and improves the device. At the same time, the tapered bottom end thread of the screening tank is installed with a discharge pipe; at the same time, a feeding pipe is installed in the middle of the top of the screening tank, and the bottom of the feeding pipe extends into the interior of the screening tank, and the top of the feeding pipe and the The top of the screening tank is on the same horizontal line, and a funnel is threadedly connected. At the same time, a rotating shaft is arranged inside the feeding pipe. The rotating shaft is rotated and installed on the side wall of the funnel through a connecting rod. The bevel gears are connected together, the first bevel gear is fixedly installed on the output shaft of the rotating motor, and the rotating motor is fixedly installed at the bottom of the motor box through the fixing seat, and the motor box bolts are installed on the top of the screening tank away from the column. At the same time, the air inlet box is fixedly installed on the right side wall of the screening tank, and a vibrating screen is installed obliquely inside the screening tank, and the right end of the vibrating screen is higher than the left side. A bran outlet is provided on the left side wall of the tank on which the vibrating screen is installed, and the bran outlet passes through the interior of the column to discharge the screened rice bran from the screening tank.
作为本实用新型进一步的方案:所述进风箱包括震动电机、鼓风机和空气加热器,其中震动电机安装在进风箱的左侧底部,同时震动电机的输出轴通过联轴器连接有传动杆,传动杆通过筛选罐的侧壁和震动筛网传动连接在一起,通过震动电机带动震动筛网进行震动,对大米进行筛选;同时空气加热器和鼓风机从上到下依次安装在进风箱的右侧壁上,同时鼓风机的进气口连接有空气净化器,空气净化器安装在进风箱的外侧面上,同时鼓风机的出风口和空气加热器的进风口连接在一起,空气加热器的出风口通过进风管连接在筛选罐侧壁上,通过空气加热器保证了通入筛选罐内的空气为干燥的空气,防止潮湿的空气吹入筛选罐,将大米和米糠粘黏在一起,影响筛选效率。As a further scheme of the present utility model: the air inlet box includes a vibration motor, a blower and an air heater, wherein the vibration motor is installed at the bottom of the left side of the air inlet box, and the output shaft of the vibration motor is connected with a transmission rod through a coupling. The rod is connected together by the side wall of the screening tank and the vibrating screen, and the vibrating screen is driven by the vibrating motor to vibrate to screen the rice; at the same time, the air heater and blower are installed on the right side wall of the air inlet box from top to bottom. At the same time, the air purifier is connected to the air inlet of the blower, and the air purifier is installed on the outer side of the air inlet box. At the same time, the air outlet of the blower and the air inlet of the air heater are connected together. The air duct is connected to the side wall of the screening tank. The air heater ensures that the air entering the screening tank is dry air, preventing moist air from blowing into the screening tank and sticking the rice and rice bran together, which affects the screening efficiency.
作为本实用新型进一步的方案:所述筛选罐连接有进风管的侧壁设置为储风层和保护层两部分,其中储风层靠近筛选罐的内腔,同时进风管和储风层连接在一起,将热风储存在储风层内,同时储风层靠近筛选罐内腔的一侧面螺栓安装有若干喷头,用来将储风层内的热风均匀的吹至筛选罐的内腔内,对米糠进行筛选;同时保护层靠近筛选罐的外侧,保护层和筛选罐外壳均采用铁质材料制成,用来保护筛选罐。As a further scheme of the present invention: the side wall of the screening tank connected with the air inlet pipe is set as two parts of the air storage layer and the protective layer, wherein the air storage layer is close to the inner cavity of the screening tank, and the air inlet pipe and the air storage layer are at the same time. Connected together, the hot air is stored in the air storage layer. At the same time, a number of nozzles are bolted on the side of the air storage layer close to the inner cavity of the screening tank to blow the hot air in the air storage layer into the inner cavity of the screening tank evenly. , screen the rice bran; at the same time, the protective layer is close to the outside of the screening tank, and the protective layer and the outer shell of the screening tank are made of iron materials to protect the screening tank.
作为本实用新型进一步的方案:所述筛选罐的锥型结构的侧壁设置为缓冲层和保护层两部分,其中缓冲层位于保护层和筛选罐内腔之间,同时缓冲层的外侧安装有若干凸块,凸块的半径小于大米的厚底,防止大米卡在凸块的夹缝中,同时缓冲层和凸块材料选用海绵材料制成,用来保护筛选完成的大米,防止大米在坠落过程中撞击到筛选罐的侧壁发生碎裂。As a further solution of the present utility model: the side wall of the conical structure of the screening tank is provided with two parts: a buffer layer and a protective layer, wherein the buffer layer is located between the protective layer and the inner cavity of the screening tank, and the outer side of the buffer layer is installed with a Several bumps, the radius of the bumps is smaller than the thick bottom of the rice, to prevent the rice from getting stuck in the gaps of the bumps, and the buffer layer and the bump material are made of sponge material to protect the screened rice and prevent the rice from falling during the process of falling. It shattered upon impact on the side wall of the screening tank.
作为本实用新型进一步的方案:所述转轴在漏斗和进料管的部分安装设置有搅拌叶。As a further solution of the present invention, the rotating shaft is provided with a stirring blade at the part of the funnel and the feeding pipe.
作为本实用新型再进一步的方案:所述震动筛网的倾斜角度为30度。As a further solution of the present utility model: the inclination angle of the vibrating screen is 30 degrees.
与现有技术相比,本实用新型的有益效果是:Compared with the prior art, the beneficial effects of the present utility model are:
1、本实用新型通过设置带有搅拌叶的转轴,对进入漏斗的大米进行搅拌,使得米糠尽可能的分离开来,更加有利于筛选罐对大米的筛糠操作,增加了装置筛糠的可靠性。1. The utility model stirs the rice entering the funnel by arranging a rotating shaft with a stirring blade, so that the rice bran is separated as much as possible, which is more conducive to the screening operation of the rice bran by the screening tank, and increases the reliability of the device for screening the bran.
2、本实用新型通过设置的鼓风机和空气加热器,将干燥的空气通过喷头均匀的对大米进行风力筛选,将较轻的糠从大米中吹出,实现米糠的一次筛选,同时空气加热器避免了潮湿的空气进入装置,将米糠粘黏在一起,保证了筛选效率。2. The utility model uses the provided blower and air heater to evenly screen the rice with dry air through the nozzle, and blows the lighter bran from the rice to realize the primary screening of the rice bran, and the air heater avoids the Moist air enters the device and sticks the rice bran together, ensuring the screening efficiency.
3、本实用新型通过设置的震动电机带动震动筛网对大米进行震动筛选,对大米进行二次筛选,保证了筛选完成的大米的纯洁性,增加了装置的实用性。3. The utility model drives the vibrating screen to vibrate and screen the rice through the set vibrating motor, and the rice is screened twice, which ensures the purity of the screened rice and increases the practicability of the device.
附图说明Description of drawings
图1为本实用新型的结构示意图。Figure 1 is a schematic structural diagram of the utility model.
图2为本实用新型的进料管结构示意图。Figure 2 is a schematic diagram of the structure of the feed pipe of the present invention.
图3为本实用新型的A处放大示意图。Fig. 3 is the enlarged schematic diagram of the A part of the utility model.
图4为本实用新型的B处放大示意图。Fig. 4 is the enlarged schematic diagram of B of the utility model.
如图所示:1、立柱,2、筛选罐,201、储风层,202、保护层,203、喷头,204、缓冲层,205、凸块,3、进风箱,4、进料管,5、电机箱,6、漏斗,7、出料管,8、震动筛网,9、转轴,901、搅拌叶,10、震动电机,11、联轴器,12、鼓风机,13、空气加热器,14、进风管,15、传动杆,16、固定座,17、旋转电机,18、第一锥齿轮,19、第二锥齿轮,20、出糠口,21、空气净化器。As shown in the picture: 1. Upright column, 2. Screening tank, 201, Air storage layer, 202, Protective layer, 203, Nozzle, 204, Buffer layer, 205, Bump, 3. Air inlet box, 4. Feed pipe, 5. Motor box, 6. Funnel, 7. Discharge pipe, 8. Vibrating screen, 9. Shaft, 901, Stirring blade, 10. Vibrating motor, 11. Coupling, 12. Blower, 13. Air heater , 14, air inlet pipe, 15, transmission rod, 16, fixed seat, 17, rotating motor, 18, first bevel gear, 19, second bevel gear, 20, chaff outlet, 21, air purifier.
具体实施方式Detailed ways
下面将结合本实用新型实施例中的附图,对本实用新型实施例中的技术方案进行清楚、完整地描述,显然,所描述的实施例仅仅是本实用新型一部分实施例,而不是全部的实施例。基于本实用新型中的实施例,本领域普通技术人员在没有做出创造性劳动前提下所获得的所有其他实施例,都属于本实用新型保护的范围。The technical solutions in the embodiments of the present utility model will be clearly and completely described below with reference to the accompanying drawings in the embodiments of the present utility model. Obviously, the described embodiments are only a part of the embodiments of the present utility model, rather than all the implementations. example. Based on the embodiments of the present invention, all other embodiments obtained by those of ordinary skill in the art without creative work fall within the protection scope of the present invention.
在本实用新型的描述中,需要说明的是,除非另有明确的规定和限定,术语“安装”、“设置有”、“套设/接”、“连接”等,应做广义理解,例如“连接”,可以是固定连接,也可以是可拆卸连接,或一体地连接;可以是机械连接,也可以是电连接;可以是直接相连,也可以通过中间媒介间接相连,可以是两个元件内部的连通。对于本领域的普通技术人员而言,可以具体情况理解上述术语在本实用新型中的具体含义。In the description of the present invention, it should be noted that, unless otherwise expressly specified and limited, the terms "installation", "provided with", "sleeve/connection", "connection", etc., should be understood in a broad sense, such as "Connection" can be a fixed connection, a detachable connection, or an integral connection; it can be a mechanical connection or an electrical connection; it can be a direct connection or an indirect connection through an intermediate medium, and it can be two elements Internal connectivity. For those of ordinary skill in the art, the specific meanings of the above terms in the present invention can be understood in specific situations.
请参阅图1~4,本实用新型实施例中,一种大米加工中筛糠装置,包括立柱1、筛选罐2、进风箱3和电机箱5,所述立柱1通过底部安装的配重块,固定在工作地面上,同时立柱1的右侧面固定安装有筛选罐2,所述筛选罐2的上层设置成圆柱体结构,下层设置成锥形结构,通过锥形结构更加方便对筛选完的大米进行收集,避免了大米在装置底部堆积的情况,提高了装置的收集效率,同时筛选罐2的锥形底端螺纹安装有出料管7;同时筛选罐2的顶部中间安装有进料管4,进料管4的底部伸入筛选罐2的内部,同时进料管4的顶部和筛选罐2的顶部在同一条水平线上,并螺纹连接有漏斗6,同时在进料管4 的内部设置有转轴9,转轴9通过连杆转动安装在漏斗的侧壁上,同时转轴9通过第二锥齿轮19和第一锥齿轮18齿轮连接在一起,第一锥齿轮18固定安装在旋转电机17的输出轴上,同时旋转电机17通过固定座16固定安装在电机箱5的底部,所述电机箱5螺栓安装在筛选罐2的顶部远离立柱的一侧,用来保护旋转电机17;同时筛选罐2的右侧壁上固定安装有进风箱3,同时在筛选罐2内部倾斜安装有震动筛网8,其中震动筛网8的右侧端高于左侧,同时在筛选罐2安装有震动筛网8的左侧壁开设有出糠口20,出糠口20从立柱1的内部穿过,用来将筛选的米糠从筛选罐2内排出。Please refer to FIGS. 1 to 4. In the embodiment of the present utility model, a bran sieving device in rice processing includes a vertical column 1, a
其中,所述进风箱3包括震动电机10、鼓风机12和空气加热器13,其中震动电机10安装在进风箱3的左侧底部,同时震动电机10的输出轴通过联轴器11连接有传动杆15,传动杆15通过筛选罐2的侧壁和震动筛网8传动连接在一起,通过震动电机10带动震动筛网8进行震动,对大米进行筛选;同时空气加热器13和鼓风机12从上到下依次安装在进风箱3的右侧壁上,同时鼓风机12的进气口连接有空气净化器21,空气净化器21安装在进风箱3的外侧面上,同时鼓风机12的出风口和空气加热器13的进风口连接在一起,空气加热器13的出风口通过进风管14连接在筛选罐2侧壁上,通过空气加热器13保证了通入筛选罐2内的空气为干燥的空气,防止潮湿的空气吹入筛选罐2,将大米和米糠粘黏在一起,影响筛选效率。Wherein, the air inlet box 3 includes a
优选的,所述筛选罐2连接有进风管14的侧壁设置为储风层201和保护层202两部分,其中储风层201靠近筛选罐2的内腔,同时进风管14和储风层201连接在一起,将热风储存在储风层201内,同时储风层201靠近筛选罐2内腔的一侧面螺栓安装有若干喷头203,用来将储风层201内的热风均匀的吹至筛选罐2的内腔内,对米糠进行筛选;同时保护层202靠近筛选罐2的外侧,保护层202和筛选罐2外壳均采用铁质材料制成,用来保护筛选罐。Preferably, the side wall of the
优选的,所述筛选罐2的锥型结构的侧壁设置为缓冲层204和保护层202两部分,其中缓冲层204位于保护层202和筛选罐2内腔之间,同时缓冲层204的外侧安装有若干凸块205,凸块205的半径小于大米的厚底,防止大米卡在凸块205的夹缝中,同时缓冲层 204和凸块205材料选用海绵材料制成,用来保护筛选完成的大米,防止大米在坠落过程中撞击到筛选罐2的侧壁发生碎裂。Preferably, the sidewall of the tapered structure of the
优选的,所述转轴9在漏斗和进料管4的部分安装设置有搅拌叶901,通过搅拌叶901 对大米的搅拌,使得米糠尽可能的分离开来,更加有利于筛选罐2对大米的筛糠操作。Preferably, the
优选的,所述震动筛网8的倾斜角度为30度,能有效防止大米顺着震动筛网8滚落的同时更好的将米糠从出糠口20排出。Preferably, the inclination angle of the vibrating
需要说明的是,所述震动筛网8的工作原理和安装方式均采用现有技术,为本技术领域人员的公知常识,在此就不做赘述。It should be noted that the working principle and installation method of the vibrating
操作人员在使用本实用新型时,将需要筛选的大米从漏斗6上倒入筛选罐,首先打开旋转电机17,搅拌叶901对大米进行搅拌,使得米糠尽可能的分离开来,然后打开震动电机10和鼓风机12,通过震动筛网8和喷头203喷出的热风对大米进行二次筛选,将米糠从出糠口20排出,实现对大米的筛糠操作,同时采用二次筛选,筛选效果好。When using the utility model, the operator pours the rice to be screened into the screening tank from the funnel 6, firstly turns on the
尽管参照前述实施例对本实用新型进行了详细的说明,对于本领域的技术人员来说,其依然可以对前述各实施例所记载的技术方案进行修改,或者对其中部分技术特征进行等同替换,凡在本实用新型的精神和原则之内,所作的任何修改、等同替换、改进等,均应包含在本实用新型的保护范围之内,且本说明书中未作详细描述的内容均属于本领域专业技术人员公知的现有技术。Although the present invention has been described in detail with reference to the foregoing embodiments, for those skilled in the art, it is still possible to modify the technical solutions described in the foregoing embodiments, or perform equivalent replacements for some of the technical features. Within the spirit and principle of the present invention, any modifications, equivalent replacements, improvements, etc. made should be included in the protection scope of the present invention, and the content not described in detail in this specification belongs to the professional in the field State of the art known to the skilled person.
Claims (5)
Priority Applications (1)
| Application Number | Priority Date | Filing Date | Title |
|---|---|---|---|
| CN202020170543.9U CN211839051U (en) | 2020-02-14 | 2020-02-14 | A kind of bran screening device in rice processing |
Applications Claiming Priority (1)
| Application Number | Priority Date | Filing Date | Title |
|---|---|---|---|
| CN202020170543.9U CN211839051U (en) | 2020-02-14 | 2020-02-14 | A kind of bran screening device in rice processing |
Publications (1)
| Publication Number | Publication Date |
|---|---|
| CN211839051U true CN211839051U (en) | 2020-11-03 |
Family
ID=73247713
Family Applications (1)
| Application Number | Title | Priority Date | Filing Date |
|---|---|---|---|
| CN202020170543.9U Active CN211839051U (en) | 2020-02-14 | 2020-02-14 | A kind of bran screening device in rice processing |
Country Status (1)
| Country | Link |
|---|---|
| CN (1) | CN211839051U (en) |
Cited By (2)
| Publication number | Priority date | Publication date | Assignee | Title |
|---|---|---|---|---|
| CN113776993A (en) * | 2021-07-28 | 2021-12-10 | 深圳市麦稻智联科技有限公司 | A kind of rice online detection system, detection method and detection equipment |
| KR20220085907A (en) * | 2020-12-15 | 2022-06-23 | 대한민국(농촌진흥청장) | Grain selector having a stone separator |
-
2020
- 2020-02-14 CN CN202020170543.9U patent/CN211839051U/en active Active
Cited By (3)
| Publication number | Priority date | Publication date | Assignee | Title |
|---|---|---|---|---|
| KR20220085907A (en) * | 2020-12-15 | 2022-06-23 | 대한민국(농촌진흥청장) | Grain selector having a stone separator |
| KR102458453B1 (en) | 2020-12-15 | 2022-10-27 | 대한민국 | Grain selector having a stone separator |
| CN113776993A (en) * | 2021-07-28 | 2021-12-10 | 深圳市麦稻智联科技有限公司 | A kind of rice online detection system, detection method and detection equipment |
Similar Documents
| Publication | Publication Date | Title |
|---|---|---|
| CN102960833B (en) | Camellia seed shelling machine | |
| CN203830051U (en) | Vertical type emery roller rice husking machine | |
| CN103734877B (en) | A kind of silybum marianum seed shelling and method of separating hull and kernel | |
| CN207271381U (en) | Sandstone screening plant | |
| CN208407098U (en) | A kind of rice mill the wind-borne dust device | |
| CN110237885B (en) | Rice mill for agricultural machine | |
| CN208540693U (en) | A kind of agricultural and sideline product roughing peanut peeling separating screen device | |
| CN207325233U (en) | A kind of Chinese medicine cylinder screen device easy to dedusting | |
| CN108421498A (en) | A kind of dry granulating machine of feed processing | |
| CN207287641U (en) | Traditional Chinese powder medicine crushing and screening system | |
| CN108554806A (en) | A kind of agricultural intermittent blanking formula cereal removal of impurities drying device | |
| CN211839051U (en) | A kind of bran screening device in rice processing | |
| CN213555407U (en) | A enrichment facility for rivaroxaban midbody | |
| CN105983533A (en) | Efficient rice cooling and screening machine | |
| CN105234064A (en) | Efficient grain cleaning machine | |
| CN201147697Y (en) | Combined rice mill | |
| CN108243738A (en) | A kind of corn threshing dust-extraction unit | |
| CN108636805A (en) | Chaff powder screening machine | |
| CN108636486A (en) | Cereal dejacketer | |
| CN217369254U (en) | A raw material cleaning device for processing wheat germ flakes and oat flakes | |
| CN217527653U (en) | A milling equipment for wheat bran powder production | |
| CN2492303Y (en) | Minuature combined rice hulling and sieving mill | |
| CN205386462U (en) | Rice milling equipment | |
| CN107309008A (en) | A kind of rice mill broken rice-oil bran separating device | |
| CN211134048U (en) | Small-size rice machine of beating |
Legal Events
| Date | Code | Title | Description |
|---|---|---|---|
| GR01 | Patent grant | ||
| GR01 | Patent grant | ||
| EE01 | Entry into force of recordation of patent licensing contract | ||
| EE01 | Entry into force of recordation of patent licensing contract |
Assignee: Dongying Huake Agricultural Technology Co.,Ltd. Assignor: DONGYING KENLI WANLONG AGRICULTURE AND FORESTRY ECONOMY AND TRADE Co.,Ltd. Contract record no.: X2022980011476 Denomination of utility model: A kind of bran screening device in rice processing Granted publication date: 20201103 License type: Exclusive License Record date: 20220729 |
|
| PE01 | Entry into force of the registration of the contract for pledge of patent right | ||
| PE01 | Entry into force of the registration of the contract for pledge of patent right |
Denomination of utility model: A chaff screening device in rice processing Effective date of registration: 20230525 Granted publication date: 20201103 Pledgee: Shandong Kenli Rural Commercial Bank Co.,Ltd. Pledgor: DONGYING KENLI WANLONG AGRICULTURE AND FORESTRY ECONOMY AND TRADE Co.,Ltd. Registration number: Y2023980041723 |
|
| PC01 | Cancellation of the registration of the contract for pledge of patent right |
Granted publication date: 20201103 Pledgee: Shandong Kenli Rural Commercial Bank Co.,Ltd. Pledgor: DONGYING KENLI WANLONG AGRICULTURE AND FORESTRY ECONOMY AND TRADE Co.,Ltd. Registration number: Y2023980041723 |
|
| PE01 | Entry into force of the registration of the contract for pledge of patent right | ||
| PE01 | Entry into force of the registration of the contract for pledge of patent right |
Denomination of utility model: A screening device for rice bran in rice processing Granted publication date: 20201103 Pledgee: Shandong Kenli Rural Commercial Bank Co.,Ltd. Pledgor: DONGYING KENLI WANLONG AGRICULTURE AND FORESTRY ECONOMY AND TRADE Co.,Ltd. Registration number: Y2024980018453 |
|
| PC01 | Cancellation of the registration of the contract for pledge of patent right | ||
| PC01 | Cancellation of the registration of the contract for pledge of patent right |
Granted publication date: 20201103 Pledgee: Shandong Kenli Rural Commercial Bank Co.,Ltd. Pledgor: DONGYING KENLI WANLONG AGRICULTURE AND FORESTRY ECONOMY AND TRADE Co.,Ltd. Registration number: Y2024980018453 |
