CN211389716U - A reducing mechanism for foamed plastic retrieves - Google Patents
A reducing mechanism for foamed plastic retrieves Download PDFInfo
- Publication number
- CN211389716U CN211389716U CN201921992943.1U CN201921992943U CN211389716U CN 211389716 U CN211389716 U CN 211389716U CN 201921992943 U CN201921992943 U CN 201921992943U CN 211389716 U CN211389716 U CN 211389716U
- Authority
- CN
- China
- Prior art keywords
- bin
- crushing
- tearing
- discharging
- rollers
- Prior art date
- Legal status (The legal status is an assumption and is not a legal conclusion. Google has not performed a legal analysis and makes no representation as to the accuracy of the status listed.)
- Expired - Fee Related
Links
- 229920003023 plastic Polymers 0.000 title claims abstract description 35
- 239000004033 plastic Substances 0.000 title claims abstract description 35
- 238000007599 discharging Methods 0.000 claims abstract description 36
- 239000006260 foam Substances 0.000 claims abstract description 34
- 238000004064 recycling Methods 0.000 claims abstract description 18
- 239000000463 material Substances 0.000 claims abstract description 17
- 238000010298 pulverizing process Methods 0.000 claims description 49
- 238000011084 recovery Methods 0.000 claims description 5
- 239000002245 particle Substances 0.000 claims description 3
- 238000007789 sealing Methods 0.000 claims 1
- 238000000605 extraction Methods 0.000 abstract description 14
- 239000012535 impurity Substances 0.000 abstract description 6
- 230000005611 electricity Effects 0.000 description 3
- 230000003068 static effect Effects 0.000 description 3
- 238000010521 absorption reaction Methods 0.000 description 2
- 238000003912 environmental pollution Methods 0.000 description 2
- 238000000034 method Methods 0.000 description 2
- 238000001179 sorption measurement Methods 0.000 description 2
- 238000010586 diagram Methods 0.000 description 1
- 238000009413 insulation Methods 0.000 description 1
- 238000004519 manufacturing process Methods 0.000 description 1
- 238000012986 modification Methods 0.000 description 1
- 230000004048 modification Effects 0.000 description 1
- 239000002861 polymer material Substances 0.000 description 1
- 239000000843 powder Substances 0.000 description 1
- 230000035939 shock Effects 0.000 description 1
- 239000007787 solid Substances 0.000 description 1
- 239000011232 storage material Substances 0.000 description 1
- 239000002699 waste material Substances 0.000 description 1
Images
Classifications
-
- Y—GENERAL TAGGING OF NEW TECHNOLOGICAL DEVELOPMENTS; GENERAL TAGGING OF CROSS-SECTIONAL TECHNOLOGIES SPANNING OVER SEVERAL SECTIONS OF THE IPC; TECHNICAL SUBJECTS COVERED BY FORMER USPC CROSS-REFERENCE ART COLLECTIONS [XRACs] AND DIGESTS
- Y02—TECHNOLOGIES OR APPLICATIONS FOR MITIGATION OR ADAPTATION AGAINST CLIMATE CHANGE
- Y02W—CLIMATE CHANGE MITIGATION TECHNOLOGIES RELATED TO WASTEWATER TREATMENT OR WASTE MANAGEMENT
- Y02W30/00—Technologies for solid waste management
- Y02W30/50—Reuse, recycling or recovery technologies
- Y02W30/52—Mechanical processing of waste for the recovery of materials, e.g. crushing, shredding, separation or disassembly
-
- Y—GENERAL TAGGING OF NEW TECHNOLOGICAL DEVELOPMENTS; GENERAL TAGGING OF CROSS-SECTIONAL TECHNOLOGIES SPANNING OVER SEVERAL SECTIONS OF THE IPC; TECHNICAL SUBJECTS COVERED BY FORMER USPC CROSS-REFERENCE ART COLLECTIONS [XRACs] AND DIGESTS
- Y02—TECHNOLOGIES OR APPLICATIONS FOR MITIGATION OR ADAPTATION AGAINST CLIMATE CHANGE
- Y02W—CLIMATE CHANGE MITIGATION TECHNOLOGIES RELATED TO WASTEWATER TREATMENT OR WASTE MANAGEMENT
- Y02W30/00—Technologies for solid waste management
- Y02W30/50—Reuse, recycling or recovery technologies
- Y02W30/62—Plastics recycling; Rubber recycling
Landscapes
- Crushing And Pulverization Processes (AREA)
- Separation, Recovery Or Treatment Of Waste Materials Containing Plastics (AREA)
Abstract
本实用新型属于泡沫塑料回收设备技术领域,公开一种用于泡沫塑料回收的粉碎装置,包括粉碎仓、撕裂仓、出料仓、集灰仓和储料仓,撕裂仓顶部设有与其连通的进料斗和离子风机,撕裂仓内设有撕裂组件,撕裂仓底部设有出料口,粉碎仓顶部设有进料口、底部设有出料口,撕裂仓的出料口与粉碎仓的进料口相连,粉碎仓内设有粉碎组件,出料仓的进料口与粉碎仓的出料口相连,出料仓的底部为筛板,出料仓的一侧设有推料组件,出料仓上与推料组件相对的一侧设有出料口,出料仓的出料口通过挡板与储料仓相连,出料仓的底部与集灰仓相连,集灰仓下部设有出灰口,集灰仓上部连通有抽气装置,储料仓下部设有出料口。该粉碎装置粉碎效率高,并可进行初步除杂。
The utility model belongs to the technical field of foam plastic recycling equipment, and discloses a crushing device for foam plastic recycling, comprising a crushing bin, a tearing bin, a discharging bin, an ash collecting bin and a storage bin. The feeding hopper and the ion fan are connected, the tearing bin is provided with a tearing component, the bottom of the tearing bin is provided with a discharge port, the top of the crushing bin is provided with a feeding port, and the bottom is provided with a discharging port. The feeding port is connected with the feeding port of the crushing bin. The crushing bin is equipped with a crushing component. The feeding port of the discharging bin is connected to the discharging port of the grinding bin. The bottom of the discharging bin is a sieve plate, and one side of the discharging bin is There is a pusher assembly, and a discharge port is provided on the side opposite to the pusher assembly on the discharge bin, the discharge port of the discharge bin is connected to the storage bin through a baffle, and the bottom of the discharge bin is connected to the ash collection bin The lower part of the ash collecting bin is provided with an ash outlet, the upper part of the ash collecting bin is connected with an air extraction device, and the lower part of the storage bin is provided with a material outlet. The crushing device has high crushing efficiency and can perform preliminary impurity removal.
Description
技术领域technical field
本实用新型属于泡沫塑料回收设备技术领域,具体涉及一种用于泡沫塑料回收的粉碎装置。The utility model belongs to the technical field of foam plastic recycling equipment, in particular to a crushing device for foam plastic recycling.
背景技术Background technique
泡沫塑料是由大量气体微孔分散于固体塑料中而形成的一类高分子材料。具有质轻、隔热、吸音、减震等特性,由于泡沫塑料具有诸多良好的性能,大量的泡沫塑料被生产并应用到市场上,在生活中我们能经常看到,例如物品的包裹,防止物品在运送过程中发生损坏,然而被用过的泡沫塑料如果随便丢弃,那么将会造成环境的污染和资源的浪费,对泡沫塑料回收再利用可以减少环境污染,同时也能为企业节约生产成本。Foamed plastics are a class of polymer materials formed by dispersing a large number of gas micropores in solid plastics. It has the characteristics of light weight, heat insulation, sound absorption, shock absorption, etc. Due to the good properties of foam plastics, a large number of foam plastics are produced and applied to the market. Items are damaged during transportation. However, if the used foam is discarded casually, it will cause environmental pollution and waste of resources. Recycling foam can reduce environmental pollution and save production costs for enterprises. .
回收的泡沫塑料首先需要对其进行粉碎处理,然后再进行后续的除杂等步骤,由于泡沫塑料本身具有可形变的特点,在用常规的刀片切割粉碎时,很容易出现挤压变形而堵塞,造成粉碎效率低。另外,由于泡沫塑料在粉碎过程中很容易带电吸附在粉碎腔壁上,影响粉碎物料的排出。The recycled foam needs to be pulverized first, and then the subsequent steps such as impurity removal are carried out. Because the foam itself is deformable, when it is cut and pulverized with a conventional blade, it is easy to be squeezed and deformed and blocked. Causes low crushing efficiency. In addition, because the foamed plastic is easily charged and adsorbed on the wall of the crushing cavity during the crushing process, the discharge of the crushed material is affected.
实用新型内容Utility model content
针对上述情况,本实用新型的目的是提供一种用于泡沫塑料回收的粉碎装置,通过合理的结构设置,可将粉碎后的泡沫塑料顺利排出粉碎装置,并进行初步除杂,粉碎效率较高。In view of the above-mentioned situation, the purpose of this utility model is to provide a pulverizing device for the recovery of foamed plastics. Through reasonable structural settings, the pulverized foamed plastics can be smoothly discharged from the pulverizing device, and preliminary impurity removal can be performed, and the pulverizing efficiency is high. .
为实现上述目的,本实用新型采用如下技术方案:To achieve the above object, the utility model adopts the following technical solutions:
一种用于泡沫塑料回收的粉碎装置,包括粉碎仓、撕裂仓、出料仓、集灰仓和储料仓,所述撕裂仓顶部分别设有与其连通的进料斗和离子风机,所述撕裂仓内设有撕裂组件,所述撕裂仓底部设有出料口,所述粉碎仓顶部设有进料口、底部设有出料口,所述撕裂仓的出料口与粉碎仓的进料口相连,所述粉碎仓内设有粉碎组件,所述出料仓的进料口与所述粉碎仓的出料口相连,所述出料仓的底部为筛板,所述出料仓的一侧设有推料组件,所述出料仓上与推料组件相对的一侧设有出料口,所述出料仓的出料口通过挡板与储料仓相连,所述出料仓的底部与集灰仓相连,所述集灰仓下部设有出灰口,所述集灰仓上部连通有抽气装置,所述储料仓下部设有出料口。A pulverizing device for recycling foamed plastics, comprising a pulverizing bin, a tearing bin, a discharging bin, an ash collecting bin and a storage bin, wherein the top of the tearing bin is respectively provided with a feeding hopper and an ion fan communicated with it, The tearing bin is provided with a tearing component, the bottom of the tearing bin is provided with a discharge port, the top of the pulverizing bin is provided with a feeding port, and the bottom is provided with a discharging port, and the discharging port of the tearing bin is provided. The port is connected with the feeding port of the pulverizing bin, and the pulverizing bin is provided with a pulverizing component, the feeding port of the discharging bin is connected with the discharging port of the pulverizing bin, and the bottom of the discharging bin is a sieve plate , one side of the discharge bin is provided with a pushing component, and the side opposite to the pushing component is provided with a discharge port, and the discharge port of the discharge bin is connected to the storage material through a baffle plate. The silo is connected, the bottom of the discharge silo is connected with the ash collection silo, the lower part of the ash collection silo is provided with an ash outlet, the upper part of the ash collection silo is connected with an air extraction device, and the lower part of the storage silo is provided with a discharge mouth.
优选地,所述离子风机设有两个,且分别位于进料斗的两侧,所述离子风机的出风口与撕裂仓相连通。所述离子风机采用现有技术的常规设置,通过离子风机与抽气装置相配合使用,可对粉碎后的泡沫塑料消静电,更有利于物料的排出,同时可以对泡沫塑料进行初步除尘。Preferably, two ion fans are provided, and they are located on both sides of the feeding hopper respectively, and the air outlet of the ion fan is communicated with the tearing bin. The ion blower adopts the conventional setting of the prior art, and the ion blower is used in conjunction with the air extraction device, which can eliminate static electricity of the pulverized foam plastic, which is more conducive to the discharge of materials, and at the same time, the foam plastic can be preliminarily dedusted.
优选地,所述撕裂组件包括撕裂钩齿、两个水平且平行设置的第一辊和第一驱动装置,所述撕裂钩齿沿两个第一辊的辊面周向分布,且撕裂钩齿的钩为自由端,所述撕裂钩齿将两个第一辊、两个第一辊与撕裂仓侧壁之间的缝隙布满,所述第一驱动装置包括分别与两个第一辊的转轴相连接的第一驱动电机。第一驱动电机驱动两个第一辊朝相反的方向转动,优选地向两个第一辊之间转动,撕裂钩齿可将泡沫塑料撕碎,撕成小块的泡沫塑料再进行刀粉,不容易堵塞到刀缝或辊之间,有助于粉碎效率的提高。Preferably, the tearing assembly comprises tearing hook teeth, two horizontal and parallel first rollers and a first driving device, the tearing hook teeth are distributed along the circumference of the roller surfaces of the two first rollers, and The hook of the tearing hook tooth is a free end, the tearing hook tooth fills the gap between the two first rollers, the two first rollers and the side wall of the tearing bin, and the first driving device includes A first drive motor connected to the rotating shafts of the two first rollers. The first drive motor drives the two first rollers to rotate in opposite directions, preferably between the two first rollers, the tearing hook teeth can tear the foam plastic, and tear the foam plastic into small pieces and then carry out knife powder. , it is not easy to block into the slit or between the rollers, which helps to improve the crushing efficiency.
优选地,所述粉碎组件包括第一粉碎刀片、第二粉碎刀片、两个水平且平行设置的第二辊和第二驱动装置,所述第一粉碎刀片沿两个第二辊的辊面周向分布,所述第二粉碎刀片分布在与第二辊平行的粉碎仓侧壁上,且所述第一粉碎刀片和第二粉碎刀片的刃部为自由端,所述第一粉碎刀片和第二粉碎刀片将两个第二辊、两个第二辊与粉碎仓侧壁之间的缝隙布满,所述第二驱动装置包括分别与两个第二辊的转轴相连接的第二驱动电机。第二驱动电机驱动两个第二辊转动,优选的两第二辊转动方向相反且朝向两辊之间,撕碎后的泡沫塑料在刀片的作用下被粉碎。Preferably, the pulverizing assembly includes a first pulverizing blade, a second pulverizing blade, two horizontal and parallel second rollers and a second driving device, and the first pulverizing blade is along the circumference of the roller surfaces of the two second rollers The second pulverizing blade is distributed on the side wall of the pulverizing chamber parallel to the second roller, and the edges of the first pulverizing blade and the second pulverizing blade are free ends, the first pulverizing blade and the second pulverizing blade are free ends. The two pulverizing blades fill the gaps between the two second rollers, the two second rollers and the side wall of the pulverizing bin, and the second driving device includes a second driving motor respectively connected with the rotating shafts of the two second rollers . The second driving motor drives the two second rollers to rotate, preferably the two second rollers rotate in opposite directions and face between the two rollers, and the torn foam plastic is crushed under the action of the blade.
本实用新型中,所述筛板的孔径小于粉碎后泡沫塑料的粒径。粉碎后泡沫塑料中的杂质可由筛板落至集灰仓中。In the utility model, the aperture of the sieve plate is smaller than the particle size of the foamed plastic after crushing. The impurities in the foamed plastic after crushing can be dropped into the ash collection bin by the sieve plate.
优选地,所述推料组件包括气缸和推板,所述气缸位于出料仓的一侧壁外侧,其活塞杆的自由端伸至出料仓内且相交处密封连接,所述推板位于出料仓内,所述推板垂直连接于活塞杆的自由端,所述推板的大小和与其平行的出料仓侧壁相匹配。粉碎后的物料在推料组件的作用下推至储料仓中。Preferably, the pusher assembly includes a cylinder and a push plate, the cylinder is located outside one side wall of the discharge bin, and the free end of the piston rod extends into the discharge bin and is sealed at the intersection, and the push plate is located at the outer side of the discharge bin. In the discharge bin, the push plate is vertically connected to the free end of the piston rod, and the size of the push plate matches the parallel side wall of the discharge bin. The pulverized material is pushed into the storage bin under the action of the pusher component.
本实用新型中,挡板的设置可使物料顺利被推至储料仓,同时可避免在抽气装置的作用下,物料被抽回,实现一个单向阀门的作用。优选地,所述挡板盖设在所述出料仓的出料口上,挡板的顶部铰接于出料口的顶端,所述挡板的底部低于出料仓的出料口。In the utility model, the setting of the baffle plate can smoothly push the material to the storage bin, and at the same time, it can avoid the material being drawn back under the action of the air extraction device, so as to realize the function of a one-way valve. Preferably, the baffle cover is provided on the discharge port of the discharge bin, the top of the baffle is hinged to the top of the discharge port, and the bottom of the baffle is lower than the discharge port of the discharge bin.
优选地,所述抽气装置包括抽风机,抽气装置与集灰仓的连接处设有过滤网。过滤网可根据需要进行更换。Preferably, the air extraction device includes an air extraction fan, and a filter screen is provided at the connection between the air extraction device and the ash collecting bin. The filter can be replaced as needed.
本实用新型中还包括能够使该用于泡沫塑料回收的粉碎装置正常使用的其它组件,均属于本领域的常规选择,例如储料仓的出料口、出灰口、粉碎仓的出料口上均设有阀门,第一辊和第二辊均通过固定座固定,第一驱动电机、第二驱动电机、气缸、抽气装置均设置在支架上等。另外,本实用新型中未加限定的装置或组件均采用本领域中的常规手段,例如,第一驱动电机和第二驱动电机的结构及控制、各阀门的开启及关闭控制、气缸的结构等均是现有技术的常规设置。The utility model also includes other components that can make the pulverizing device used for the recovery of foamed plastics to be used normally, all of which are conventional choices in the field, such as the discharge port of the storage bin, the ash discharge port, and the discharge port of the pulverizing bin. Valves are provided, the first roller and the second roller are fixed by a fixed seat, and the first drive motor, the second drive motor, the air cylinder, and the air extraction device are all arranged on the bracket. In addition, the devices or components not limited in the present invention all adopt conventional means in the field, for example, the structure and control of the first drive motor and the second drive motor, the opening and closing control of each valve, the structure of the cylinder, etc. All are conventional settings in the prior art.
本实用新型的用于泡沫塑料回收的粉碎装置的作用原理包括:泡沫塑料由进料斗进入撕裂仓中,开启离子风机、第一驱动装置、第二驱动装置和抽风装置,泡沫塑料依次被撕碎、切割,粉碎后的泡沫塑料进入出料仓,待粉碎的泡沫塑料接近推板高度时,关闭粉碎仓出料口处的阀门,启动推料组件,将粉碎的泡沫塑料推至储料仓,待推料组件归位后,将粉碎仓出料口处的阀门打开,粉碎后的泡沫塑料继续落至出料仓内,集灰仓根据需要定时排灰,储料仓根据需要出料。The working principle of the pulverizing device for the recovery of foamed plastics of the present invention includes: the foamed plastics enter the tearing bin from the feeding hopper, turn on the ion blower, the first driving device, the second driving device and the air extraction device, and the foamed plastics are sequentially removed. Shred, cut, and the crushed foam enters the discharge bin. When the crushed foam is close to the height of the push plate, close the valve at the discharge port of the crush bin, start the push component, and push the crushed foam to the storage. After the pusher component is returned to its position, the valve at the outlet of the crushing bin is opened, and the crushed foam continues to fall into the discharging bin. .
本实用新型用于泡沫塑料回收的粉碎装置根据泡沫塑料回收的实际需要及泡沫塑料的特点进行设计,具有较高的粉碎效率,同时可以进行初步除杂,而且通过设置离心风机可以消除静电,避免物料在撕裂仓、粉碎仓和出料仓上的吸附。The pulverizing device used for the recycling of foamed plastics of the utility model is designed according to the actual needs of the recycling of foamed plastics and the characteristics of the foamed plastics, has high pulverization efficiency, can carry out preliminary impurity removal at the same time, and can eliminate static electricity by arranging a centrifugal fan to avoid Adsorption of materials on tearing bin, crushing bin and discharging bin.
附图说明Description of drawings
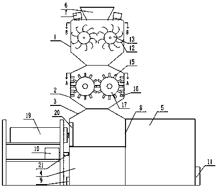
图1为实施例的用于泡沫塑料回收的粉碎装置的结构示意图。FIG. 1 is a schematic structural diagram of a pulverizing device for recycling foamed plastics according to an embodiment.
图2为图1中撕裂仓的B-B视图。FIG. 2 is a B-B view of the tearing cartridge of FIG. 1 .
图3为图1中粉碎仓的A-A视图。FIG. 3 is an A-A view of the crushing bin of FIG. 1 .
具体实施方式Detailed ways
下面将结合本实用新型实施例对本实用新型的技术方案进行清楚、完整地描述,显然,所描述的实施例仅仅是本实用新型一部分实施例,而不是全部的实施例。The technical solutions of the present invention will be clearly and completely described below with reference to the embodiments of the present invention. Obviously, the described embodiments are only a part of the embodiments of the present invention, rather than all the embodiments.
实施例Example
如图1-3所示,一种用于泡沫塑料回收的粉碎装置,包括粉碎仓2、撕裂仓1、出料仓3、集灰仓4和储料仓5,所述撕裂仓1顶部分别设有与其连通的进料斗6和离子风机7,所述撕裂仓1内设有撕裂组件,所述撕裂仓1底部设有出料口,所述粉碎仓2顶部设有进料口、底部设有出料口,所述撕裂仓1的出料口与粉碎仓2的进料口相连,所述粉碎仓2内设有粉碎组件,所述出料仓3的进料口与所述粉碎仓2的出料口相连,所述出料仓3的底部为筛板,所述筛板的孔径小于粉碎后泡沫塑料的粒径,所述出料仓3的一侧设有推料组件,所述出料仓3上与推料组件相对的一侧设有出料口,所述出料仓3的出料口通过挡板8与储料仓5相连,所述出料仓3的底部与集灰仓4相连,所述集灰仓4下部设有出灰口9,所述集灰仓4上部连通有抽气装置10,所述储料仓5下部设有出料口11。As shown in Figures 1-3, a crushing device for foam plastic recycling includes crushing bin 2, tearing bin 1, discharging
所述离子风机7设有两个,且分别位于进料斗6的两侧,所述离子风机7的出风口与撕裂仓1相连通。Two ion fans 7 are provided, and they are located on both sides of the feeding hopper 6 respectively, and the air outlet of the ion fan 7 is communicated with the tearing bin 1 .
所述撕裂组件包括撕裂钩齿12、两个水平且平行设置的第一辊13和第一驱动装置,所述撕裂钩齿12沿两个第一辊13的辊面周向分布,且撕裂钩齿12的钩为自由端,所述撕裂钩齿12将两个第一辊13、两个第一辊13与撕裂仓1侧壁之间的缝隙布满,所述第一驱动装置包括分别与两个第一辊13的转轴相连接的第一驱动电机14。The tearing assembly includes tearing
所述粉碎组件包括第一粉碎刀片15、第二粉碎刀片16、两个水平且平行设置的第二辊17和第二驱动装置,所述第一粉碎刀片15沿两个第二辊17的辊面周向分布,所述第二粉碎刀片16分布在与第二辊17平行的粉碎仓2侧壁上,且所述第一粉碎刀片15和第二粉碎刀片16的刃部为自由端,所述第一粉碎刀片15和第二粉碎刀片16将两个第二辊17、两个第二辊17与粉碎仓2侧壁之间的缝隙布满,所述第二驱动装置包括分别与两个第二辊17的转轴相连接的第二驱动电机18。The pulverizing assembly includes a
所述推料组件包括气缸19和推板20,所述气缸19位于出料仓3的一侧壁外侧,其活塞杆的自由端伸至出料仓3内且相交处密封连接,所述推板20位于出料仓3内,所述推板20垂直连接于活塞杆的自由端,所述推板20的大小和与其平行的出料仓3侧壁相匹配。The pusher assembly includes a
所述挡板8盖设在所述出料仓3的出料口上,挡板8的顶部铰接于出料口的顶端,所述挡板8的底部低于出料仓3的出料口。The
所述抽气装置10包括抽风机,抽气装置10与集灰仓4的连接处设有过滤网21。The
该用于泡沫塑料回收的粉碎装置的作用原理包括:泡沫塑料由进料斗6进入撕裂仓1中,开启离子风机7、第一驱动装置、第二驱动装置和抽风装置10,泡沫塑料依次被撕碎、切割,粉碎后的泡沫塑料进入出料仓3,待粉碎的泡沫塑料接近推板20高度时,关闭粉碎仓2出料口处的阀门,启动推料组件,将粉碎的泡沫塑料推至储料仓5,待推料组件归位后,将粉碎仓2出料口处的阀门打开,粉碎后的泡沫塑料继续落至出料仓3内,集灰仓4根据需要定时排灰,储料仓5根据需要出料。The working principle of the pulverizing device for the recovery of foamed plastics includes: the foamed plastics enter the tearing bin 1 from the feeding hopper 6, turn on the ion fan 7, the first driving device, the second driving device and the
该用于泡沫塑料回收的粉碎装置具有较高的粉碎效率,同时可以进行初步除杂,而且通过设置离心风机7可以消除静电,避免物料在撕裂仓1、粉碎仓2和出料仓3上的吸附。The pulverizing device for foam plastic recycling has high pulverizing efficiency, and at the same time, it can carry out preliminary impurity removal, and by setting centrifugal fan 7, static electricity can be eliminated, and materials can be avoided from tearing bin 1, pulverizing bin 2 and discharging
以上已经描述了本实用新型的实施例,上述说明是示例性的,并非穷尽性的,并且也不限于所披露的实施例。在不偏离所说明实施例的范围和精神的情况下,对于本技术领域的普通技术人员来说许多修改和变更都是显而易见的。Embodiments of the present invention have been described above, and the foregoing description is exemplary, not exhaustive, and not limiting of the disclosed embodiments. Numerous modifications and variations will be apparent to those skilled in the art without departing from the scope and spirit of the described embodiments.
Claims (8)
Priority Applications (1)
| Application Number | Priority Date | Filing Date | Title |
|---|---|---|---|
| CN201921992943.1U CN211389716U (en) | 2019-11-19 | 2019-11-19 | A reducing mechanism for foamed plastic retrieves |
Applications Claiming Priority (1)
| Application Number | Priority Date | Filing Date | Title |
|---|---|---|---|
| CN201921992943.1U CN211389716U (en) | 2019-11-19 | 2019-11-19 | A reducing mechanism for foamed plastic retrieves |
Publications (1)
| Publication Number | Publication Date |
|---|---|
| CN211389716U true CN211389716U (en) | 2020-09-01 |
Family
ID=72221905
Family Applications (1)
| Application Number | Title | Priority Date | Filing Date |
|---|---|---|---|
| CN201921992943.1U Expired - Fee Related CN211389716U (en) | 2019-11-19 | 2019-11-19 | A reducing mechanism for foamed plastic retrieves |
Country Status (1)
| Country | Link |
|---|---|
| CN (1) | CN211389716U (en) |
Cited By (6)
| Publication number | Priority date | Publication date | Assignee | Title |
|---|---|---|---|---|
| CN112847958A (en) * | 2021-01-23 | 2021-05-28 | 王许仙 | Antistatic adsorption's foamed plastic retrieves granulation melting equipment |
| CN113103467A (en) * | 2021-03-30 | 2021-07-13 | 海南铭晟农业发展有限公司 | Integrated processing system is recycled to foamed plastic packing box |
| CN114029135A (en) * | 2021-10-11 | 2022-02-11 | 谢宝龙 | A processing apparatus for FPC circuit board production waste material |
| CN114643664A (en) * | 2022-04-01 | 2022-06-21 | 资阳聚塑环保科技有限公司 | a crushing mechanism |
| CN118304992A (en) * | 2024-06-04 | 2024-07-09 | 中山市长盈包装材料有限公司 | A foam plastic board crushing device |
| CN118682938A (en) * | 2024-07-22 | 2024-09-24 | 江苏志能纺织科技有限公司 | A granulating device for recycling waste textile materials |
-
2019
- 2019-11-19 CN CN201921992943.1U patent/CN211389716U/en not_active Expired - Fee Related
Cited By (8)
| Publication number | Priority date | Publication date | Assignee | Title |
|---|---|---|---|---|
| CN112847958A (en) * | 2021-01-23 | 2021-05-28 | 王许仙 | Antistatic adsorption's foamed plastic retrieves granulation melting equipment |
| CN113103467A (en) * | 2021-03-30 | 2021-07-13 | 海南铭晟农业发展有限公司 | Integrated processing system is recycled to foamed plastic packing box |
| CN114029135A (en) * | 2021-10-11 | 2022-02-11 | 谢宝龙 | A processing apparatus for FPC circuit board production waste material |
| CN114643664A (en) * | 2022-04-01 | 2022-06-21 | 资阳聚塑环保科技有限公司 | a crushing mechanism |
| CN118304992A (en) * | 2024-06-04 | 2024-07-09 | 中山市长盈包装材料有限公司 | A foam plastic board crushing device |
| CN118304992B (en) * | 2024-06-04 | 2024-08-20 | 中山市长盈包装材料有限公司 | A foam plastic board crushing device |
| CN118682938A (en) * | 2024-07-22 | 2024-09-24 | 江苏志能纺织科技有限公司 | A granulating device for recycling waste textile materials |
| CN118682938B (en) * | 2024-07-22 | 2024-12-13 | 江苏志能纺织科技有限公司 | Granulating device for recycling waste textile materials |
Similar Documents
| Publication | Publication Date | Title |
|---|---|---|
| CN211389716U (en) | A reducing mechanism for foamed plastic retrieves | |
| CN206703350U (en) | A kind of waste or used plastics product automatic crushing device | |
| CN201815345U (en) | Household garbage crusher | |
| CN108748799A (en) | A kind of rubber pulverizing device | |
| CN204974021U (en) | Rubbing crusher with function is retrieved to dust | |
| CN218250701U (en) | A multifunctional pulverizer for compound fertilizer processing | |
| CN221184157U (en) | Waste recycling device for packaging carton processing | |
| CN202803347U (en) | Plastic mill | |
| CN216261067U (en) | Biomass fuel forces broken separator | |
| CN206996764U (en) | A kind of multi-functional environment-protection refuse disposal installation | |
| CN110653046A (en) | Garbage collection's high-efficient environmental protection shredding device | |
| CN215464905U (en) | Plastic products raw materials reducing mechanism | |
| CN214416656U (en) | Vertical mill machine of convenient operation | |
| CN208529497U (en) | A kind of rubber pulverizing device | |
| CN213825054U (en) | Building rubbish reducing mechanism | |
| CN214390554U (en) | A collection device for an ore pulverizer | |
| CN210058530U (en) | A convenient raw material pulverizer based on biomass particles | |
| CN208912190U (en) | A kind of novel new energy materials environment protection pulverizer | |
| CN206253205U (en) | A kind of rubbish crushes dust arrester | |
| CN215389779U (en) | A reducing mechanism for plastic woven sack | |
| CN208019118U (en) | Interior decoration Waste sorting recycle case | |
| CN219132900U (en) | Crushing apparatus is used in regeneration sponge recovery | |
| CN221268350U (en) | Lithium battery pulverizer | |
| CN218924902U (en) | Archive file grinder | |
| CN208232146U (en) | A kind of plastic strip pulverizer |
Legal Events
| Date | Code | Title | Description |
|---|---|---|---|
| GR01 | Patent grant | ||
| GR01 | Patent grant | ||
| CF01 | Termination of patent right due to non-payment of annual fee |
Granted publication date: 20200901 |
|
| CF01 | Termination of patent right due to non-payment of annual fee |
