CN211250981U - A recycling device for medical care waste - Google Patents
A recycling device for medical care waste Download PDFInfo
- Publication number
- CN211250981U CN211250981U CN201922092636.4U CN201922092636U CN211250981U CN 211250981 U CN211250981 U CN 211250981U CN 201922092636 U CN201922092636 U CN 201922092636U CN 211250981 U CN211250981 U CN 211250981U
- Authority
- CN
- China
- Prior art keywords
- motor
- crushing
- pivot
- sprocket
- medical care
- Prior art date
- Legal status (The legal status is an assumption and is not a legal conclusion. Google has not performed a legal analysis and makes no representation as to the accuracy of the status listed.)
- Expired - Fee Related
Links
- 239000002699 waste material Substances 0.000 title claims abstract description 12
- 238000004064 recycling Methods 0.000 title claims abstract description 10
- 230000008878 coupling Effects 0.000 claims abstract description 7
- 238000010168 coupling process Methods 0.000 claims abstract description 7
- 238000005859 coupling reaction Methods 0.000 claims abstract description 7
- 239000000463 material Substances 0.000 claims description 3
- 238000011084 recovery Methods 0.000 claims description 2
- 238000000034 method Methods 0.000 abstract description 4
- 230000000474 nursing effect Effects 0.000 abstract 1
- 239000004033 plastic Substances 0.000 description 12
- 229920003023 plastic Polymers 0.000 description 12
- 239000000645 desinfectant Substances 0.000 description 10
- 239000002245 particle Substances 0.000 description 9
- 239000002906 medical waste Substances 0.000 description 8
- 239000000203 mixture Substances 0.000 description 8
- 238000010298 pulverizing process Methods 0.000 description 8
- 238000007789 sealing Methods 0.000 description 3
- 238000010586 diagram Methods 0.000 description 2
- 238000012986 modification Methods 0.000 description 2
- 230000004048 modification Effects 0.000 description 2
- 230000009286 beneficial effect Effects 0.000 description 1
- 230000033228 biological regulation Effects 0.000 description 1
- 230000007423 decrease Effects 0.000 description 1
- 239000010791 domestic waste Substances 0.000 description 1
- 239000002901 radioactive waste Substances 0.000 description 1
- 239000010819 recyclable waste Substances 0.000 description 1
- 238000000926 separation method Methods 0.000 description 1
Images
Classifications
-
- Y—GENERAL TAGGING OF NEW TECHNOLOGICAL DEVELOPMENTS; GENERAL TAGGING OF CROSS-SECTIONAL TECHNOLOGIES SPANNING OVER SEVERAL SECTIONS OF THE IPC; TECHNICAL SUBJECTS COVERED BY FORMER USPC CROSS-REFERENCE ART COLLECTIONS [XRACs] AND DIGESTS
- Y02—TECHNOLOGIES OR APPLICATIONS FOR MITIGATION OR ADAPTATION AGAINST CLIMATE CHANGE
- Y02W—CLIMATE CHANGE MITIGATION TECHNOLOGIES RELATED TO WASTEWATER TREATMENT OR WASTE MANAGEMENT
- Y02W30/00—Technologies for solid waste management
- Y02W30/50—Reuse, recycling or recovery technologies
- Y02W30/52—Mechanical processing of waste for the recovery of materials, e.g. crushing, shredding, separation or disassembly
-
- Y—GENERAL TAGGING OF NEW TECHNOLOGICAL DEVELOPMENTS; GENERAL TAGGING OF CROSS-SECTIONAL TECHNOLOGIES SPANNING OVER SEVERAL SECTIONS OF THE IPC; TECHNICAL SUBJECTS COVERED BY FORMER USPC CROSS-REFERENCE ART COLLECTIONS [XRACs] AND DIGESTS
- Y02—TECHNOLOGIES OR APPLICATIONS FOR MITIGATION OR ADAPTATION AGAINST CLIMATE CHANGE
- Y02W—CLIMATE CHANGE MITIGATION TECHNOLOGIES RELATED TO WASTEWATER TREATMENT OR WASTE MANAGEMENT
- Y02W30/00—Technologies for solid waste management
- Y02W30/50—Reuse, recycling or recovery technologies
- Y02W30/62—Plastics recycling; Rubber recycling
Landscapes
- Crushing And Pulverization Processes (AREA)
Abstract
本实用新型公开了一种医学护理废弃物用回收装置,包括底座和粉碎箱,所述粉碎箱的侧面安装有第一电机,所述第一电机的输出端通过联轴器与第一转轴连接,所述第一转轴上安装有若干个粉碎刀,所述粉碎刀位于粉碎箱的内腔,所述粉碎箱的下端设有锥斗,所述锥斗的下端与卸料阀固定连接,所述卸料阀包括壳体和第二转轴,所述第二转轴贯穿壳体并与其转动连接,所述第二转轴上安装有叶轮,所述第二转轴上安装有第二链轮,所述底座通过支架安装有第二电机,所述第二电机输出轴上安装有第一链轮,所述第一链轮通过链条与第二链轮连接。本实用新型整合了粉碎机构和分离机构,简化工艺流程,提高效率。
The utility model discloses a recycling device for medical nursing waste, which comprises a base and a crushing box. A first motor is installed on the side of the crushing box, and an output end of the first motor is connected with a first rotating shaft through a coupling. , a number of crushing knives are installed on the first rotating shaft, the crushing knives are located in the inner cavity of the crushing box, the lower end of the crushing box is provided with a cone, and the lower end of the cone is fixedly connected with the discharge valve, so The discharge valve comprises a casing and a second rotating shaft, the second rotating shaft penetrates through the casing and is rotatably connected with it, an impeller is installed on the second rotating shaft, a second sprocket is installed on the second rotating shaft, and the second rotating shaft is installed on the second rotating shaft. A second motor is installed on the base through a bracket, a first sprocket is installed on the output shaft of the second motor, and the first sprocket is connected with the second sprocket through a chain. The utility model integrates the crushing mechanism and the separating mechanism, which simplifies the technological process and improves the efficiency.
Description
技术领域technical field
本实用新型涉及医疗废物处理技术领域,具体为一种医学护理废弃物用回收装置。The utility model relates to the technical field of medical waste treatment, in particular to a recovery device for medical care waste.
背景技术Background technique
目前随着人们对医疗废物危害认识的逐步加深,我国对医疗废物的监管也愈发严格。按照国家对医疗废物的分类处理规定,医疗垃圾分为放射性垃圾、医疗垃圾、可回收垃圾及生活垃圾,其中可回收垃圾包括:未沾染病人血液、体液的液体袋、塑料输液瓶等。这些废弃物经过粉碎消毒后,可对其进行回收利用,而目前的粉碎装置,在粉碎完成后无法将塑料颗粒与消毒液分离,需要将排出的混合物再经过一次离心处理,耗费时间和人工。At present, with the gradual deepening of people's understanding of the hazards of medical waste, my country's supervision of medical waste has become more and more strict. According to the national regulations on the classification and treatment of medical waste, medical waste is divided into radioactive waste, medical waste, recyclable waste and domestic waste. These wastes can be recycled after being pulverized and sterilized. However, the current pulverization device cannot separate the plastic particles from the disinfectant after the pulverization is completed, and the discharged mixture needs to be centrifuged again, which is time-consuming and labor-intensive.
实用新型内容Utility model content
本实用新型的目的在于提供一种医学护理废弃物用回收装置,以解决上述背景技术中提出的问题。The purpose of the present utility model is to provide a recycling device for medical care wastes, so as to solve the problems raised in the above-mentioned background art.
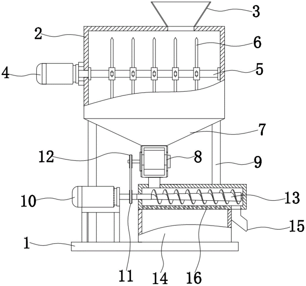
为实现上述目的,本实用新型提供如下技术方案:一种医学护理废弃物用回收装置,包括底座和粉碎箱,所述粉碎箱的侧面安装有第一电机,所述第一电机的输出端通过联轴器与第一转轴连接,所述第一转轴上安装有若干个粉碎刀,所述粉碎刀位于粉碎箱的内腔,所述粉碎箱的下端设有锥斗,所述锥斗的下端与卸料阀固定连接,所述卸料阀包括壳体和第二转轴,所述第二转轴贯穿壳体并与其转动连接,所述第二转轴上安装有叶轮,所述第二转轴上安装有第二链轮,所述底座通过支架安装有第二电机,所述第二电机输出轴上安装有第一链轮,所述第一链轮通过链条与第二链轮连接,所述底座上安装有收集箱,所述收集箱上安装有筒体,所述筒体的内腔通过轴承安装有绞龙,所述绞龙的轴直径从左到右逐渐增大。In order to achieve the above purpose, the utility model provides the following technical solutions: a medical care waste recycling device, comprising a base and a pulverizing box, a first motor is installed on the side of the pulverizing box, and the output end of the first motor passes through the device. The coupling is connected with the first rotating shaft, and several crushing knives are installed on the first rotating shaft. The crushing knives are located in the inner cavity of the crushing box. The lower end of the crushing box is provided with a cone, and the lower end of the cone is It is fixedly connected with the discharge valve, the discharge valve includes a casing and a second rotating shaft, the second rotating shaft penetrates the casing and is rotatably connected with it, an impeller is installed on the second rotating shaft, and an impeller is installed on the second rotating shaft There is a second sprocket, a second motor is installed on the base through a bracket, a first sprocket is installed on the output shaft of the second motor, the first sprocket is connected with the second sprocket through a chain, and the base A collection box is installed on the collection box, a cylinder is installed on the collection box, an auger is installed in the inner cavity of the cylinder through a bearing, and the shaft diameter of the auger gradually increases from left to right.
优选的,所述粉碎箱的上侧安装有进料斗,所述第一转轴与粉碎箱的侧壁之间通过轴承转动连接。Preferably, a feeding hopper is installed on the upper side of the crushing box, and the first rotating shaft and the side wall of the crushing box are rotatably connected through a bearing.
优选的,所述叶轮位于壳体的内腔,所述叶轮的叶片前端安装有密封垫,所述壳体的上下两端设有进出料口。Preferably, the impeller is located in the inner cavity of the casing, the front ends of the blades of the impeller are provided with sealing gaskets, and the upper and lower ends of the casing are provided with inlet and outlet ports.
优选的,所述锥斗和底座之间固定连接有支撑杆,所述卸料阀的下端与筒体的内腔通过连接管接通。Preferably, a support rod is fixedly connected between the cone and the base, and the lower end of the discharge valve is connected to the inner cavity of the cylinder through a connecting pipe.
优选的,所述第二电机的输出轴与绞龙的转轴通过联轴器固定连接,所述筒体的右端安装有排料管。Preferably, the output shaft of the second motor is fixedly connected with the rotating shaft of the auger through a coupling, and a discharge pipe is installed on the right end of the cylinder.
优选的,所述筒体的下侧设有若干个与收集箱连通的圆孔,所述圆孔的直径为3~5mm。Preferably, the lower side of the cylinder body is provided with a plurality of circular holes communicating with the collecting box, and the diameter of the circular holes is 3-5 mm.
与现有技术相比,本实用新型的有益效果是:本实用新型通过第一电机驱动粉碎刀旋转对医疗废弃塑料进行粉碎,粉碎箱内注入有消毒液,对粉碎后的塑料颗粒进行消毒,粉碎完全后,启动第二电机,塑料颗粒与消毒液的混合物通过卸料阀进入筒体内,筒体内的绞龙在向右输送混合物的同时进行分离,被分离后塑料颗粒从排料管排出。因此本实用新型整合了粉碎机构和分离机构,简化工艺流程,提高效率。Compared with the prior art, the beneficial effects of the present utility model are: the utility model uses the first motor to drive the pulverizing knife to rotate to pulverize the medical waste plastics, and the pulverizing box is filled with disinfectant to sterilize the pulverized plastic particles, After the pulverization is complete, start the second motor, the mixture of plastic particles and disinfectant enters the cylinder through the discharge valve, the auger in the cylinder separates the mixture while conveying the mixture to the right, and the separated plastic particles are discharged from the discharge pipe. Therefore, the utility model integrates the crushing mechanism and the separating mechanism, which simplifies the technological process and improves the efficiency.
附图说明Description of drawings
图1为本实用新型结构示意图;Fig. 1 is the structural representation of the utility model;
图2为本实用新型侧视结构示意图;Fig. 2 is the side view structure schematic diagram of the utility model;
图3为本实用新型卸料阀结构示意图。Figure 3 is a schematic diagram of the structure of the discharge valve of the present invention.
图中:1底座、2粉碎箱、3进料斗、4第一电机、5第一转轴、6粉碎刀、7锥斗、8卸料阀、81壳体、82第二转轴、83叶轮、84密封垫、9支撑杆、10第二电机、11第一链轮、12第二链轮、13绞龙、14收集箱、15排料管、16筒体。In the picture: 1 base, 2 crushing box, 3 feeding hopper, 4 first motor, 5 first shaft, 6 crushing knife, 7 cone, 8 discharge valve, 81 shell, 82 second shaft, 83 impeller, 84 gasket, 9 support rod, 10 second motor, 11 first sprocket, 12 second sprocket, 13 auger, 14 collection box, 15 discharge pipe, 16 cylinder.
具体实施方式Detailed ways
下面将结合本实用新型实施例中的附图,对本实用新型实施例中的技术方案进行清楚、完整地描述,显然,所描述的实施例仅仅是本实用新型一部分实施例,而不是全部的实施例。基于本实用新型中的实施例,本领域普通技术人员在没有做出创造性劳动前提下所获得的所有其他实施例,都属于本实用新型保护的范围。The technical solutions in the embodiments of the present utility model will be clearly and completely described below with reference to the accompanying drawings in the embodiments of the present utility model. Obviously, the described embodiments are only a part of the embodiments of the present utility model, rather than all the implementations. example. Based on the embodiments of the present invention, all other embodiments obtained by those of ordinary skill in the art without creative work fall within the protection scope of the present invention.
请参阅图1-3,本实用新型提供一种技术方案:一种医学护理废弃物用回收装置,包括底座1和粉碎箱2,所述粉碎箱2的侧面安装有第一电机4,所述第一电机4的输出端通过联轴器与第一转轴5连接,所述第一转轴5上安装有若干个粉碎刀6,所述粉碎刀6位于粉碎箱2的内腔,所述粉碎箱2的下端设有锥斗7,所述锥斗7的下端与卸料阀8固定连接,所述卸料阀8包括壳体81和第二转轴82,所述第二转轴82贯穿壳体81并与其转动连接,所述第二转轴82上安装有叶轮83,所述第二转轴82上安装有第二链轮12,所述底座1通过支架安装有第二电机10,所述第二电机10输出轴上安装有第一链轮11,所述第一链轮11通过链条与第二链轮12连接,所述底座1上安装有收集箱14,所述收集箱14上安装有筒体16,所述筒体16的内腔通过轴承安装有绞龙13,所述绞龙13的轴直径从左到右逐渐增大。1-3, the present utility model provides a technical solution: a medical care waste recycling device, comprising a
具体的,所述粉碎箱2的上侧安装有进料斗3,所述第一转轴5与粉碎箱2的侧壁之间通过轴承转动连接。Specifically, a
具体的,所述叶轮83位于壳体81的内腔,所述叶轮83的叶片前端安装有密封垫84,密封垫84为橡胶材质,减小消毒液向下渗漏,所述壳体81的上下两端设有进出料口。Specifically, the
具体的,所述锥斗7和底座1之间固定连接有支撑杆9,所述卸料阀8的下端与筒体16的内腔通过连接管接通,在粉碎时,卸料阀8关闭,从而混合物无法流入筒体16。Specifically, a
具体的,所述第二电机10的输出轴与绞龙13的转轴通过联轴器固定连接,所述筒体16的右端安装有排料管15,所述排料管15用于排出粉碎后的塑料颗粒。Specifically, the output shaft of the
具体的,所述筒体16的下侧设有若干个与收集箱14连通的圆孔,所述圆孔的直径为3~5mm,在塑料颗粒和消毒液混合物被绞龙13向右输送的过程中,因绞龙13的直径逐渐增大,所以混合受挤压,消毒液从圆孔流入收集箱14内,将塑料颗粒与消毒液分开。Specifically, the lower side of the
工作原理:在使用时启动第一电机4,从进料斗3向粉碎箱2内加入医疗废弃塑料,并且注入适量的消毒液,第一电机4驱动粉碎刀6旋转对塑料经行粉碎,粉碎后的塑料颗粒与消毒液接触充分,从而能够被有效的消毒灭菌。在粉碎完全后,启动第二电机10,第二电机10带动叶轮83、绞龙13转动,卸料阀8的叶轮83旋转,塑料颗粒和消毒液的混合物从锥斗7向筒体16输送,混合物进入筒体16内,由绞龙13向右端输送,因绞龙13的轴从左到右直径逐渐增大,所以空隙逐渐减小,混合物受挤压,消毒液从筒体16下侧的圆孔进入收集箱14内,塑料颗粒从右端的排料管15排出,实现分离。Working principle: start the
尽管已经示出和描述了本实用新型的实施例,对于本领域的普通技术人员而言,可以理解在不脱离本实用新型的原理和精神的情况下可以对这些实施例进行多种变化、修改、替换和变型,本实用新型的范围由所附权利要求及其等同物限定。Although the embodiments of the present invention have been shown and described, it will be understood by those skilled in the art that various changes and modifications can be made to these embodiments without departing from the principles and spirit of the present invention , alternatives and modifications, the scope of the present invention is defined by the appended claims and their equivalents.
Claims (6)
Priority Applications (1)
| Application Number | Priority Date | Filing Date | Title |
|---|---|---|---|
| CN201922092636.4U CN211250981U (en) | 2019-11-28 | 2019-11-28 | A recycling device for medical care waste |
Applications Claiming Priority (1)
| Application Number | Priority Date | Filing Date | Title |
|---|---|---|---|
| CN201922092636.4U CN211250981U (en) | 2019-11-28 | 2019-11-28 | A recycling device for medical care waste |
Publications (1)
| Publication Number | Publication Date |
|---|---|
| CN211250981U true CN211250981U (en) | 2020-08-14 |
Family
ID=71953502
Family Applications (1)
| Application Number | Title | Priority Date | Filing Date |
|---|---|---|---|
| CN201922092636.4U Expired - Fee Related CN211250981U (en) | 2019-11-28 | 2019-11-28 | A recycling device for medical care waste |
Country Status (1)
| Country | Link |
|---|---|
| CN (1) | CN211250981U (en) |
Cited By (2)
| Publication number | Priority date | Publication date | Assignee | Title |
|---|---|---|---|---|
| CN112842550A (en) * | 2021-01-12 | 2021-05-28 | 毛新宇 | Automatic device of packing of surgical medical waste liquid |
| CN116600898A (en) * | 2021-08-26 | 2023-08-15 | 株式会社吉恩科创 | Waste treatment device and waste treatment method using the same |
-
2019
- 2019-11-28 CN CN201922092636.4U patent/CN211250981U/en not_active Expired - Fee Related
Cited By (3)
| Publication number | Priority date | Publication date | Assignee | Title |
|---|---|---|---|---|
| CN112842550A (en) * | 2021-01-12 | 2021-05-28 | 毛新宇 | Automatic device of packing of surgical medical waste liquid |
| CN116600898A (en) * | 2021-08-26 | 2023-08-15 | 株式会社吉恩科创 | Waste treatment device and waste treatment method using the same |
| CN116600898B (en) * | 2021-08-26 | 2024-05-07 | 株式会社吉恩科创 | Waste treatment device and waste treatment method using same |
Similar Documents
| Publication | Publication Date | Title |
|---|---|---|
| CN207169908U (en) | A kind of elastic extruding type diaper reducing mechanism | |
| CN112452460A (en) | Multiple reducing mechanism of solid-state waste material | |
| CN211190342U (en) | Kitchen waste crushing equipment | |
| CN211250981U (en) | A recycling device for medical care waste | |
| CN202491335U (en) | Thin film smashing machine with recovery device | |
| CN202410783U (en) | Leakage-preventing crushing system for traditional Chinese medicinal materials | |
| CN219540537U (en) | A kind of financial accounting used as waste bill processing device | |
| CN210079721U (en) | Herbal pieces-reducing mechanism | |
| CN209866224U (en) | Anti-blocking mechanism of crushing device for solid waste treatment | |
| CN211660200U (en) | A kind of high-efficiency mashing equipment for medicine | |
| CN209715335U (en) | Grinding device is used in a kind of preparation of lavender oil | |
| CN113149804B (en) | Lycopene extraction device and method | |
| CN217748617U (en) | Kitchen is reducing mechanism for refuse treatment | |
| CN104815730A (en) | Kitchen waste disposer | |
| CN216673923U (en) | Novel forage is smashed for livestock-raising device | |
| CN210082194U (en) | Plastic packaging bottle smashing and recycling device | |
| CN208912190U (en) | A kind of novel new energy materials environment protection pulverizer | |
| CN210875717U (en) | A kind of medicine powder grinding machine | |
| CN205269815U (en) | Medical plastic reducing mechanism | |
| CN219568456U (en) | Waste recovery device | |
| CN221449193U (en) | Full-automatic straw plastic film splitter | |
| CN221639041U (en) | Kitchen waste crusher | |
| CN216322414U (en) | Double-knife occlusion tearing machine | |
| CN217016878U (en) | High-efficient crushing apparatus of medicinal material | |
| CN215029682U (en) | Kitchen waste treatment system |
Legal Events
| Date | Code | Title | Description |
|---|---|---|---|
| GR01 | Patent grant | ||
| GR01 | Patent grant | ||
| TR01 | Transfer of patent right | ||
| TR01 | Transfer of patent right |
Effective date of registration: 20210111 Address after: No.165 Wangcheng Road, shigu District, Hengyang City, Hunan Province 421001 Patentee after: HUNAN POLYTECHNIC OF ENVIRONMENT AND BIOLOGY Address before: 421000, 514, building 2, No. 93, Xianfeng Road, Yanfeng District, Hengyang City, Hunan Province Patentee before: Liu Qiong |
|
| CF01 | Termination of patent right due to non-payment of annual fee | ||
| CF01 | Termination of patent right due to non-payment of annual fee |
Granted publication date: 20200814 |
