CN210067217U - 一种装配式大悬挑钢结构 - Google Patents

一种装配式大悬挑钢结构 Download PDF

Info

Publication number
CN210067217U
CN210067217U CN201920089816.4U CN201920089816U CN210067217U CN 210067217 U CN210067217 U CN 210067217U CN 201920089816 U CN201920089816 U CN 201920089816U CN 210067217 U CN210067217 U CN 210067217U
Authority
CN
China
Prior art keywords
steel
plate
section
prestressed
beam body
Prior art date
Legal status (The legal status is an assumption and is not a legal conclusion. Google has not performed a legal analysis and makes no representation as to the accuracy of the status listed.)
Expired - Fee Related
Application number
CN201920089816.4U
Other languages
English (en)
Inventor
徐成荣
江山
金磊
王静峰
胡舜
王新乐
黄星海
高翔
Current Assignee (The listed assignees may be inaccurate. Google has not performed a legal analysis and makes no representation or warranty as to the accuracy of the list.)
Third Construction Co Ltd of China Construction Eighth Engineering Divison Co Ltd
Original Assignee
Third Construction Co Ltd of China Construction Eighth Engineering Divison Co Ltd
Priority date (The priority date is an assumption and is not a legal conclusion. Google has not performed a legal analysis and makes no representation as to the accuracy of the date listed.)
Filing date
Publication date
Application filed by Third Construction Co Ltd of China Construction Eighth Engineering Divison Co Ltd filed Critical Third Construction Co Ltd of China Construction Eighth Engineering Divison Co Ltd
Priority to CN201920089816.4U priority Critical patent/CN210067217U/zh
Application granted granted Critical
Publication of CN210067217U publication Critical patent/CN210067217U/zh
Expired - Fee Related legal-status Critical Current
Anticipated expiration legal-status Critical

Links

Images

Landscapes

  • Joining Of Building Structures In Genera (AREA)

Abstract

本实用新型涉及一种装配式大悬挑钢结构。本实用新型包括工字型钢梁本体以及预应力钢索,钢梁本体包括沿钢梁本体跨度方向依次布置的尾段、中间段以及悬挑段,尾段与中间段以及中间段与悬挑段分别通过螺栓固定连接,钢梁本体的腹板两侧安装有沿钢梁本体跨度方向延伸布置的预应力钢索,预应力钢索通过钢梁本体两端的锚具进行锚固以实现对钢梁本体施加预应力。本实用新型大大减少高空焊接作业量,安装难度小,施工工期短,结构安全性高,有效控制钢结构的应力和变形沉降,与此同时利用预应力钢索给钢梁本体合理的施加预应力可调整钢梁本体结构变形和应力分布,提高钢梁本体承载力,有效减少用钢量,实现结构大跨度跨越。

Description

一种装配式大悬挑钢结构
技术领域
本实用新型涉及钢结构技术领域,具体是涉及一种装配式大悬挑钢结构。
背景技术
目前在国内的许多大悬挑钢结构工程中,焊接工程量十分浩大,为了保证大量的高空焊接作业的安全性需要有效的控制高处坠落、触电、火灾、物体打击等危险因素,在确保高空焊接作业安全的前提下必须保障焊接质量,同时避免事故的发生。由于焊接时会产生残余应力和残余变形,残余应力会使构件的变形增大、刚度降低,从而降低构件的承载能力,在低温条件下,还会加速构件的脆性破坏。
实用新型内容
为解决上述技术问题,本实用新型提供了一种装配式大悬挑钢结构。该结构可以有效地减少钢梁焊接连接带来的弊端,大大减少高空焊接作业量以及控制钢结构的应力和变形沉降,同时布置预应力钢索可以优化结构的受力合理性和安全性,提高承载力,有效减少用钢量,实现结构大跨度跨越。
为实现上述目的,本实用新型采用了以下技术方案:
一种装配式大悬挑钢结构,包括大悬挑钢梁,所述大悬挑钢梁包括工字型钢梁本体以及预应力钢索,所述钢梁本体包括沿钢梁本体跨度方向依次布置的尾段、中间段以及悬挑段,所述尾段与中间段以及中间段与悬挑段分别通过螺栓固定连接,所述钢梁本体的腹板两侧安装有沿钢梁本体跨度方向延伸布置的所述预应力钢索,所述预应力钢索通过钢梁本体两端的锚具进行锚固以实现对钢梁本体施加预应力。
进一步的技术方案:所述钢梁本体的腹板上固定有多个沿钢梁本体跨度方向间隔布置且用于安装所述预应力钢索的索夹具,所述索夹具包括对称布置的第一安装单元以及第二安装单元,所述第一安装单元、第二安装单元各自包括安装板以及与所述安装板一体成型的夹板,所述夹板包括圆弧形的弯曲板段,所述第一安装单元、第二安装单元的安装板分别与所述腹板平行固定,所述第一安装单元的夹板与第二安装单元的夹板相互固定后所述第一安装单元的弯曲板段与第二安装单元的弯曲板段形成供所述预应力钢索通过的通道,所述安装板与夹板之间还焊接有用于加强安装板与夹板连接强度的支撑板。
进一步的技术方案:该结构还包括竖向安装的自复位FRP-钢管组合型钢柱以及倾斜安装在所述自复位FRP-钢管组合型钢柱上的三根屈曲约束支撑,所述自复位FRP-钢管组合型钢柱通过所述屈曲约束支撑为所述大悬挑钢梁提供支撑;所述自复位FRP-钢管组合型钢柱包括同轴安装的FRP外管、钢制内管以及位于所述钢制内管内侧的“H”形钢,所述钢制内管与“H”形钢之间安装有沿钢制内管长度方向布置的预应力筋,所述FRP外管与钢制内管之间以及钢制内管与“H”形钢之间分别通过混凝土灌浆料浇筑为一体。
进一步的技术方案:所述尾段与中间段上分别焊接有便于将尾段与中间段进行螺栓连接的端板,所述中间段与悬挑段上分别焊接有便于将中间段与悬挑段进行螺栓连接的端板,所述端板上开设有便于预应力钢索穿过的通孔。
进一步的技术方案:所述钢梁本体的尾段以及悬挑段的下翼缘上表面分别安装有便于预应力钢索安装时滑动的螺栓式钢索滚筒。
进一步的技术方案:所述钢梁本体的腹板两侧分别设有用于增强钢梁本体抗弯承载力且沿钢梁本体跨度方向布置的第一加劲肋以及沿垂直于钢梁本体跨度方向布置的第二加劲肋。
进一步的技术方案:所述锚具包括锚板以及由三瓣夹片构成的锥筒形夹具,所述锚板与所述钢梁本体两端分别设有缓冲垫板,所述缓冲垫板、锚板上分别开设有对应的以供所述预应力钢索穿过的通孔,所述夹具在预应力钢索拉紧时与锚板上的通孔楔紧配合。
进一步的技术方案:所述预应力钢索端头固定有防止预应力钢索松弛且与预应力钢索螺纹配合的钢棒。
进一步的技术方案:所述屈曲约束支撑包括同轴布置的矩形钢管套筒以及位于所述矩形钢管套筒内侧的十字型钢材芯柱,所述矩形钢管套筒与十字型钢材芯柱之间通过混凝土灌浆料浇筑为一体。
进一步的技术方案:所述自复位FRP-钢管组合型钢柱端部设有连接端板,所述FRP外管与钢制内管之间的浇注料上预留有用于安装所述连接端板的螺栓孔,其中第一根屈曲约束支撑与第二根屈曲约束支撑呈“V”形安装在所述连接端板上以分别支撑所述尾段与中间段,所述自复位FRP-钢管组合型钢柱侧面设有连接侧板,其中第三根屈曲约束支撑安装在所述连接侧板上以支撑所述尾段。
上述技术方案的有益效果主要体现在以下几个方面:
(1)本实用新型将工字型钢梁本体分为尾段、中间段、悬挑段三段并采用螺栓连接可以有效地减少焊接连接带来的弊端,大大减少高空焊接作业量,安装难度小,施工工期短,结构安全性高,有效控制钢结构的应力和变形沉降,避免传统焊缝带来的残余应力引起结构的脆性变化,保证结构的受力合理性和安全性,与此同时利用预应力钢索给钢梁本体合理的施加预应力可调整钢梁本体结构变形和应力分布,提高钢梁本体承载力,有效减少用钢量,实现结构大跨度跨越。本实用新型适用于悬挑跨度较大的体育场钢结构以及类似工程。
(2)所述索夹具可以限制预应力钢索的安装位置,保证预应力钢索沿钢梁本体跨度方向延伸实现传力路径的准确性,大大提高了装配式大悬挑钢结构的稳定性;同时所述索夹具使得预应力钢索可以将钢梁本体的尾段、中间段、悬挑段进行有效连接,防止尾段、中间段、悬挑段螺栓连接后由于螺栓疲劳断裂或失稳后导致钢梁本体使用过程发生危险;索夹具还可避免预应力钢索与钢梁本体之间摩擦而造成的磨损;另外,所述索夹具还具有便于拆卸、安装且结构强度高等特点。
(3)本实用新型创新的采用了矩形钢制内管和矩形FRP外管(纤维增强复合塑料)组合的自复位FRP-钢管组合型钢柱,当自复位FRP-钢管组合型钢柱受到上部压力作用时混凝土会发生横向膨胀变形,对矩形钢制内管产生拉应力从而产生变形,而具有良好抗拉性能的矩形FRP外管可以约束钢制内管的变形,从而可以对型钢混凝土核心起到双重约束作用,大大增加自复位FRP-钢管组合型钢柱的抗侧刚度,同时预应力筋用锚具固定之后的初始拉应力可以将结构震后的残余变形降到最低。即竖向的自复位FRP-钢管组合型钢柱可以很好地发挥预应力筋的抗拉性能和型钢混凝土的抗压性能以及FRP外管(纤维增强复合塑料)和钢制内管的组合约束作用。
本实用新型斜向安装的屈曲约束支撑可以对上方的钢梁本体起到类似弹簧的缓震作用,当斜向屈曲约束支撑受到上部结构的压力作用时,十字型钢材芯柱和高强灌浆料同时受力,当灌浆料达到受压强度之后十字钢材芯柱发生屈服从而产生侧向屈曲变形,矩形钢管套筒具有较强的刚度可以约束十字型钢材芯柱的屈曲变形,对斜向支撑起到强化作用,最终将结构震后的竖向变形降到最低。即斜向安装的屈曲约束支撑可以发挥变形性能强、滞回性能好的性能,大大增加大悬挑钢结构的抗侧刚度。
本实用新型采用预应力钢索—屈曲约束支撑—自复位FRP-钢管组合型钢柱形成三道抗震防线可以有效地增加大悬挑钢结构的抗震性能和抗侧刚度,具有在地震作用之后可以恢复原始形状或者减少残余变形的特性,设立多道抗震防线可以大大缓冲地震对于大悬挑钢结构的破坏作用,保证小震不修。
(4)所述螺栓式钢索滚筒用于滑动预应力钢索,使得预应力钢索更加省力地穿过索夹具上的通道并沿钢梁本体跨度方向进行布置,这样可以大大减少吊装预应力钢索的时间,同时也能减少预应力钢索在安装时与钢梁本体之间因为摩擦而造成的磨损。
(5)所述第一加劲肋、第二加劲肋可以增加钢梁本体的抗弯承载力,保证该装配式大悬挑钢大悬挑钢结构的抗倾覆能力。
(6)所述缓冲垫板有利于减少预应力钢索张拉端预应力的损失,同时在预应力钢索端头连接一带有螺纹的钢棒,该钢棒形成第二道防治预应力钢索松弛的措施,即通过新型锚具进一步提高装配式大悬挑钢结构的稳定性以及使用安全性。
附图说明
图1为本实用新型安装结构示意图。
图2为尾段、中间段、悬挑段螺栓连接处结构示意图。
图3为预应力钢索张拉端锚固示意图。
图4为索夹具结构示意图。
图5钢索滚筒结构示意图。
图6、7为自复位FRP-钢管组合型钢柱结构示意图。
图8为连接端板结构示意图。
图9、10为屈曲约束支撑结构示意图。
图中标注符号的含义如下:
10-钢梁本体;11-尾段;12-中间段;13-悬挑段;14-端板;141-通孔;15-第一加劲肋;16-第二加劲肋;20-预应力钢索;30-锚具;31-锚板;32-夹片;33-缓冲垫板;34-钢棒;40-索夹具;41-安装板;42-夹板;421-弯曲板段;422-通道;43-支撑板;50-钢索滚筒;51-滚轮;52-端板;53-固定底板;60-屈曲约束支撑;61-钢管套筒;62-十字型钢材芯柱;63-安装板;64-连接孔;70-自复位FRP-钢管组合型钢柱;71-FRP外管;72-钢制内管;73-“H”形钢;74-预应力筋;75-连接端板;76-螺栓孔;77-连接侧板;A-混凝土灌浆料。
具体实施方式
现结合附图说明本实用新型的结构特点:
如图1所示:本实用新型包括工字型钢梁本体10以及预应力钢索20,所述钢梁本体10包括沿钢梁本体跨度方向依次布置的尾段11、中间段12以及悬挑段13,所述尾段11与中间段12以及中间段12与悬挑段13分别通过螺栓固定连接,所述钢梁本体10的腹板两侧安装有沿钢梁本体跨度方向延伸布置的所述预应力钢索20,所述预应力钢索20通过钢梁本体10两端的锚具30进行锚固以实现对钢梁本体10施加预应力。
如图4所示:所述钢梁本体10的腹板上固定有多个沿钢梁本体跨度方向间隔布置且用于安装所述预应力钢索的索夹具40,所述索夹具40包括对称布置的第一安装单元以及第二安装单元,所述第一安装单元、第二安装单元各自包括安装板41以及与所述安装板41一体成型的夹板42,所述夹板42包括圆弧形的弯曲板段421,所述第一安装单元、第二安装单元的安装板41分别与所述腹板平行固定,所述第一安装单元的夹板42与第二安装单元的夹板42相互固定后所述第一安装单元的弯曲板段421与第二安装单元的弯曲板段421形成供所述预应力钢索20通过的通道422,所述安装板41与夹板42之间还焊接有用于加强安装板与夹板连接强度的支撑板43。
如图2所示:所述尾段11与中间段12上分别焊接有便于将尾段11与中间段12进行螺栓连接的端板14,所述中间段12与悬挑段13上分别焊接有便于将中间段12与悬挑段13进行螺栓连接的端板14,所述端板14上开设有便于预应力钢索20穿过的通孔141。
如图5所示:所述钢梁本体的尾段11以及悬挑段13的下翼缘上表面分别安装有便于预应力钢索20滑动的螺栓式钢索滚筒50。所述钢索滚筒50由一个圆柱形的滚轮51和两侧的端板52以及下部的固定底板53组成,底板上预留螺栓孔以安装于钢梁本体10下翼缘的上表面。
所述钢梁本体10的腹板两侧分别设有用于增强钢梁本体10抗弯承载力且沿钢梁本体跨度方向布置的第一加劲肋15以及沿垂直于钢梁本体跨度方向布置的第二加劲肋16。
如图3所示:所述锚具30包括锚板31以及由三瓣夹片构成的锥筒形夹具32,所述锚板31与所述钢梁本体10两端分别设有缓冲垫板33,所述缓冲垫板33上开设有供所述预应力钢索20穿过的通孔,所述夹具32在预应力钢索20拉紧时与锚板31上的通孔楔紧配合。根据锥形楔紧原理,使用千斤顶张拉预应力钢索达到设计预应力值,千斤顶慢慢松开,通过均匀收缩移动的预应力钢索将夹具32带入锚板的通孔中形成锚固单元。预应力钢索的应力通过锚板和夹具32、缓冲垫板33传递到钢梁本体形成永久的预应力。
所述预应力钢索20端头固定有防止预应力钢索20松弛且与预应力钢索20螺纹配合的钢棒34。
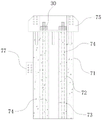
本实用新型还包括竖向安装的自复位FRP-钢管组合型钢柱70以及倾斜安装在所述自复位FRP-钢管组合型钢柱70上的三根屈曲约束支撑60。
如图6、7、8所示:所述自复位FRP-钢管组合型钢柱70通过所述屈曲约束支撑60为所述大悬挑钢梁提供支撑;所述自复位FRP-钢管组合型钢柱70包括同轴安装的FRP外管71、钢制内管72以及位于所述钢制内管72内侧的“H”形钢73,所述钢制内管72与“H”形钢73之间安装有沿钢制内管72长度方向布置的预应力筋74,所述FRP外管71与钢制内管72之间以及钢制内管72与“H”形钢73之间分别通过混凝土灌浆料A浇筑为一体。
所述自复位FRP-钢管组合型钢柱70端部设有连接端板76,所述FRP外管71与钢制内管72之间的浇注料上预留有用于安装所述连接端板76的螺栓孔77,其中第一根屈曲约束支撑与第二根屈曲约束支撑呈“V”形安装在所述连接端板76上以分别支撑所述尾段11与中间段12,所述自复位FRP-钢管组合型钢柱70侧面设有连接侧板78,其中第三根屈曲约束支撑安装在所述连接侧板78上以支撑所述尾段11。
所述FRP外管71由纤维材料与基体材料(树脂)按一定的比例混合后形成的高性能型材料,具有质轻而硬,不导电,机械强度高,回收利用少,耐腐蚀的特点。
如图9、10所示:所述屈曲约束支撑60包括同轴布置的矩形钢管套筒61以及位于所述矩形钢管套筒61内侧的十字型钢材芯柱62,所述矩形钢管套筒61与十字型钢材芯柱62之间通过混凝土灌浆料A浇筑为一体。所述屈曲约束支撑60端部也对应设有与所述连接端板76或连接侧板78进行螺栓连接的安装板63。
本实用新型安装方法如下:
首先进行预应力钢索的制作,不仅要满足相应规范的材料要求,还必须采取系列技术措施,满足预应力钢索的安装和张拉要求,保证结构张拉成型。本实用新型所采用的预应力钢索采用1670级的高强度镀锌铝钢丝束组成的成品索,可以保证预应力钢索的受力性能,减少预应力在张拉过程的损失;所述预应力钢索20表面进行了环漆喷涂和镀锌铝处理,外包双层PE防护从而实现防腐蚀。
在成品预应力钢索20组装之前,应对预应力钢索20进行预张拉,以消除非弹性变形。在预应力钢索20组装之后,对其进行超张拉实验。
当钢罩棚主体结构安装完毕,即当分段工字型钢梁本体10、屈曲约束支撑60、自复位FRP-钢管组合型钢柱70等主要钢结构构件吊装完毕之后,对于预应力钢索20进行成盘运输到施工现场。
用起重机进行预应力钢索20的吊装与安装,用起重机将预应力钢索20下端吊起放置在滚筒50上,通过牵引将预应力钢索20穿过索夹具40,固定在指定位置,防止在安装过程中预应力钢索20发生摩擦损伤。预应力钢索20安装之前要检查索端节点的质量以及缓冲垫板与钢梁的焊接情况等。
将索夹具40固定在工字型钢梁的腹板表面从而对预应力钢索20进行固定以便于预应力的张拉。用千斤顶等液压装置在预应力钢索20一端进行张拉,保证预应力钢索20在张拉过程中与锚具连接的稳定性,张拉之后对预应力钢索20的伸长量进行记录与比较。
将预应力钢索20拉完毕之后,切断多余钢索,卸下千斤顶,同时在预应力钢索端头连接一个有螺纹的钢棒,该钢棒与预应力钢索20端部螺纹配合以形成第二道防止预应力钢索20松弛的措施。

Claims (10)

1.一种装配式大悬挑钢结构,其特征在于:包括大悬挑钢梁,所述大悬挑钢梁包括工字型钢梁本体(10)以及预应力钢索(20),所述钢梁本体(10)包括沿钢梁本体跨度方向依次布置的尾段(11)、中间段(12)以及悬挑段(13),所述尾段(11)与中间段(12)以及中间段(12)与悬挑段(13)分别通过螺栓固定连接,所述钢梁本体(10)的腹板两侧安装有沿钢梁本体跨度方向延伸布置的所述预应力钢索(20),所述预应力钢索(20)通过钢梁本体(10)两端的锚具(30)进行锚固以实现对钢梁本体(10)施加预应力。
2.如权利要求1所述的装配式大悬挑钢结构,其特征在于:所述钢梁本体(10)的腹板上固定有多个沿钢梁本体跨度方向间隔布置且用于安装所述预应力钢索的索夹具(40),所述索夹具(40)包括对称布置的第一安装单元以及第二安装单元,所述第一安装单元、第二安装单元各自包括安装板(41)以及与所述安装板(41)一体成型的夹板(42),所述夹板(42)包括圆弧形的弯曲板段(421),所述第一安装单元、第二安装单元的安装板(41)分别与所述腹板平行固定,所述第一安装单元的夹板(42)与第二安装单元的夹板(42)相互固定后所述第一安装单元的弯曲板段(421)与第二安装单元的弯曲板段(421)形成供所述预应力钢索(20)通过的通道(422),所述安装板(41)与夹板(42)之间还焊接有用于加强安装板与夹板连接强度的支撑板(43)。
3.如权利要求1所述的装配式大悬挑钢结构,其特征在于:该结构还包括竖向安装的自复位FRP-钢管组合型钢柱(70)以及倾斜安装在所述自复位FRP-钢管组合型钢柱(70)上的三根屈曲约束支撑(60),所述自复位FRP-钢管组合型钢柱(70)通过所述屈曲约束支撑(60)为所述大悬挑钢梁提供支撑;所述自复位FRP-钢管组合型钢柱(70)包括同轴安装的FRP外管(71)、钢制内管(72)以及位于所述钢制内管(72)内侧的“H”形钢(73),所述钢制内管(72)与“H”形钢(73)之间安装有沿钢制内管(72)长度方向布置的预应力筋(74),所述FRP外管(71)与钢制内管(72)之间以及钢制内管(72)与“H”形钢(73)之间分别通过混凝土灌浆料(A)浇筑为一体。
4.如权利要求1所述的装配式大悬挑钢结构,其特征在于:所述尾段(11)与中间段(12)上分别焊接有便于将尾段(11)与中间段(12)进行螺栓连接的端板(14),所述中间段(12)与悬挑段(13)上分别焊接有便于将中间段(12)与悬挑段(13)进行螺栓连接的端板(14),所述端板(14)上开设有便于预应力钢索(20)穿过的通孔(141)。
5.如权利要求1所述的装配式大悬挑钢结构,其特征在于:所述钢梁本体的尾段(11)以及悬挑段(13)的下翼缘上表面分别安装有便于预应力钢索(20)安装时滑动的螺栓式钢索滚筒(50)。
6.如权利要求1所述的装配式大悬挑钢结构,其特征在于:所述钢梁本体(10)的腹板两侧分别设有用于增强钢梁本体(10)抗弯承载力且沿钢梁本体跨度方向布置的第一加劲肋(15)以及沿垂直于钢梁本体跨度方向布置的第二加劲肋(16)。
7.如权利要求1所述的装配式大悬挑钢结构,其特征在于:所述锚具(30)包括锚板(31)以及由三瓣夹片构成的锥筒形夹具(32),所述锚板(31)与所述钢梁本体(10)两端分别设有缓冲垫板(33),所述缓冲垫板(33)、锚板(31)上分别开设有对应的以供所述预应力钢索(20)穿过的通孔,所述夹具(32)在预应力钢索(20)拉紧时与锚板(31)上的通孔楔紧配合。
8.如权利要求1所述的装配式大悬挑钢结构,其特征在于:所述预应力钢索(20)端头固定有防止预应力钢索(20)松弛且与预应力钢索(20)螺纹配合的钢棒(34)。
9.如权利要求3所述的装配式大悬挑钢结构,其特征在于:所述屈曲约束支撑(60)包括同轴布置的矩形钢管套筒(61)以及位于所述矩形钢管套筒(61)内侧的十字型钢材芯柱(62),所述矩形钢管套筒(61)与十字型钢材芯柱(62)之间通过混凝土灌浆料(A)浇筑为一体。
10.如权利要求3所述的装配式大悬挑钢结构,其特征在于:所述自复位FRP-钢管组合型钢柱(70)端部设有连接端板(75),所述FRP外管(71)与钢制内管(72)之间的浇注料上预留有用于安装所述连接端板(75)的螺栓孔(76),其中第一根屈曲约束支撑与第二根屈曲约束支撑呈“V”形安装在所述连接端板(75)上以分别支撑所述尾段(11)与中间段(12),所述自复位FRP-钢管组合型钢柱(70)侧面设有连接侧板(77),其中第三根屈曲约束支撑安装在所述连接侧板(77)上以支撑所述尾段(11)。
CN201920089816.4U 2019-01-18 2019-01-18 一种装配式大悬挑钢结构 Expired - Fee Related CN210067217U (zh)

Priority Applications (1)

Application Number Priority Date Filing Date Title
CN201920089816.4U CN210067217U (zh) 2019-01-18 2019-01-18 一种装配式大悬挑钢结构

Applications Claiming Priority (1)

Application Number Priority Date Filing Date Title
CN201920089816.4U CN210067217U (zh) 2019-01-18 2019-01-18 一种装配式大悬挑钢结构

Publications (1)

Publication Number Publication Date
CN210067217U true CN210067217U (zh) 2020-02-14

Family

ID=69424732

Family Applications (1)

Application Number Title Priority Date Filing Date
CN201920089816.4U Expired - Fee Related CN210067217U (zh) 2019-01-18 2019-01-18 一种装配式大悬挑钢结构

Country Status (1)

Country Link
CN (1) CN210067217U (zh)

Cited By (2)

* Cited by examiner, † Cited by third party
Publication number Priority date Publication date Assignee Title
CN109750791A (zh) * 2019-01-18 2019-05-14 中建八局第三建设有限公司 一种装配式大悬挑钢结构
CN116905712A (zh) * 2023-05-29 2023-10-20 中铁建工集团有限公司 一种花瓣状仿生钢结构屋盖

Cited By (4)

* Cited by examiner, † Cited by third party
Publication number Priority date Publication date Assignee Title
CN109750791A (zh) * 2019-01-18 2019-05-14 中建八局第三建设有限公司 一种装配式大悬挑钢结构
CN109750791B (zh) * 2019-01-18 2024-03-01 中建八局第三建设有限公司 一种装配式大悬挑钢结构
CN116905712A (zh) * 2023-05-29 2023-10-20 中铁建工集团有限公司 一种花瓣状仿生钢结构屋盖
CN116905712B (zh) * 2023-05-29 2024-03-26 中铁建工集团有限公司 一种花瓣状仿生钢结构屋盖

Similar Documents

Publication Publication Date Title
CN101942904B (zh) 预应力钢绞线加固混凝土受弯构件钢板式张拉锚固系统
AU2015409344B2 (en) Assembled type pier column member with steel-concrete composite structure
CN109750791B (zh) 一种装配式大悬挑钢结构
CN101215824B (zh) 大跨径连续钢构桥后期挠度调控的体外横张预应力装置
KR101171039B1 (ko) 주경간 긴장수단을 이용한 일부 및 전부 타정식 사장교와 그 시공 방법
CN201746774U (zh) 一种带组合锚固装置的斜拉桥索塔锚固区钢牛腿
CN103388408B (zh) 一种建筑结构体外预应力筋加固转向块
CN106702910A (zh) 一种双塔双索面矮塔斜拉桥的主梁施工工艺
CN102926333B (zh) 旧桥体外预应力加固结构及其施工方法
CN103741601A (zh) 一种塔、梁以及索同步成桥工艺
US4144686A (en) Metallic beams reinforced by higher strength metals
CN104032891A (zh) 一种预应力双拼胶合木梁
CN101812924A (zh) 一种预应力钢绞线加固混凝土柱体的张拉锚固系统
CN104060542B (zh) 组合梁斜拉桥横桥向预应力施加装置及其施加方法
CN101122177A (zh) 预应力纤维薄板在混凝土建筑物中的应用方法
CN108999088A (zh) 一种斜拉桥的施工方法
CN106284103B (zh) 钢‑混组合梁顶板钢筋砼高空悬臂浇筑施工方法
CN113605771A (zh) 一种预应力装配式框架结构体系
CN210067217U (zh) 一种装配式大悬挑钢结构
CN203947421U (zh) 组合梁斜拉桥横桥向预应力施加装置
CN115928606A (zh) 高墩“y”型盖梁的施工方法及其施工用托架
CN100478521C (zh) 张拉锚跨丝股施工悬索桥的方法
CN111705623A (zh) 一种超大跨径悬索桥的拱形钢管中央扣结构
CN107178214B (zh) 一种体外预应力整体加固的电站锅炉大板梁结构及其加固方法
CN115787921A (zh) 一种具有高耐用性的抗风张弦梁结构及其施工方法

Legal Events

Date Code Title Description
GR01 Patent grant
GR01 Patent grant
CF01 Termination of patent right due to non-payment of annual fee
CF01 Termination of patent right due to non-payment of annual fee

Granted publication date: 20200214

Termination date: 20210118