CN203019727U - 轻量化蜂窝型汽车备胎盖板材料 - Google Patents

轻量化蜂窝型汽车备胎盖板材料 Download PDF

Info

Publication number
CN203019727U
CN203019727U CN 201320051484 CN201320051484U CN203019727U CN 203019727 U CN203019727 U CN 203019727U CN 201320051484 CN201320051484 CN 201320051484 CN 201320051484 U CN201320051484 U CN 201320051484U CN 203019727 U CN203019727 U CN 203019727U
Authority
CN
China
Prior art keywords
cover plate
spare tire
carpet
layer
honeycomb type
Prior art date
Legal status (The legal status is an assumption and is not a legal conclusion. Google has not performed a legal analysis and makes no representation as to the accuracy of the status listed.)
Expired - Lifetime
Application number
CN 201320051484
Other languages
English (en)
Inventor
戴初发
程先涛
毛小柯
Current Assignee (The listed assignees may be inaccurate. Google has not performed a legal analysis and makes no representation or warranty as to the accuracy of the list.)
NINGBO SUNLIGHT MOTOR PARTS CO Ltd
Original Assignee
NINGBO XINGKE AUTOMOBILE NEW MATERIAL TECHNOLOGY Co Ltd
Priority date (The priority date is an assumption and is not a legal conclusion. Google has not performed a legal analysis and makes no representation as to the accuracy of the date listed.)
Filing date
Publication date
Application filed by NINGBO XINGKE AUTOMOBILE NEW MATERIAL TECHNOLOGY Co Ltd filed Critical NINGBO XINGKE AUTOMOBILE NEW MATERIAL TECHNOLOGY Co Ltd
Priority to CN 201320051484 priority Critical patent/CN203019727U/zh
Application granted granted Critical
Publication of CN203019727U publication Critical patent/CN203019727U/zh
Anticipated expiration legal-status Critical
Expired - Lifetime legal-status Critical Current

Links

Images

Landscapes

  • Laminated Bodies (AREA)
  • Passenger Equipment (AREA)

Abstract

本实用新型的技术解决方案是,提供一种以下结构的轻量化蜂窝型汽车备胎盖板材料,它包括用作基板层的蜂窝板,蜂窝板的上下两面均设有用作过渡层的PP-GF复合板材,上PP-GF复合板材上设有用作包覆层的地毯,地毯的边缘设有弯折部,弯折部将地毯下面各层的断面包覆,上述各层之间经粘接层粘接固定。

Description

轻量化蜂窝型汽车备胎盖板材料
技术领域:
本实用新型涉及汽车配件领域,具体讲是一种轻量化蜂窝型汽车备胎盖板材料。
背景技术:
申请人在实践过程中发现常见的汽车备胎盖板材料大多采用硬质纤维板胶粘复合地毯冲裁成型、PP木粉板复合面料热压成型等材料和生产工艺进行制作的,这种,汽车备胎盖板材料比较重、受高温易变形,而且使用时的隔音降噪效果不好,承载能力也有限,因此,随着汽车材料技术的发展及汽车消费者理念的不断变化和成熟,目前常见的汽车备胎盖板材料已不能满足汽车厂家及消费者对汽车的耐久性、安全性、舒适性、环保性和经济性等方面的要求。
实用新型内容:
本实用新型要解决的技术问题是,提供一种可以载荷大、轻量化的轻量化蜂窝型汽车备胎盖板材料。
本实用新型的技术解决方案是,提供一种以下结构的轻量化蜂窝型汽车备胎盖板材料,它包括用作基板层的蜂窝板,蜂窝板的上下两面均设有用作过渡层的PP-GF复合板材,上PP-GF复合板材上设有用作包覆层的地毯,地毯的边缘设有弯折部,弯折部将地毯下面各层的断面包覆,上述各层之间经粘接层粘接固定。
作为改进,所述的弯折部的端部伸到下PP-GF复合板材的下面。
作为优选,所述的各层之间的粘接层为PP膜或者PE膜。
采用以上结构后与现有技术相比,本实用新型具有以下优点:
首先是结构比较简单,制造成本比较低,蜂窝板材质轻且具有较好的强度,因此该备胎盖板具有较大的载荷量,地毯的包覆结构对冲裁后暴露在外的断面进行包覆,在外形上以及使用手感上都有较大的提升,而且,冲裁后的断面毛刺也比较多,使用时存在割伤使用者的风险,包覆后安全性也比较好,其中的粘接层选用PP膜或者PE膜,使得该结构的备胎盖板可以通过直接烘烤后经模压而成,不但简化制造工序,而且材料本身也比较环保。
附图说明:
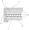
图1为本实用新型的轻量化蜂窝型汽车备胎盖板材料的截面剖视图。
具体实施方式:
下面结合附图和具体实施方式对本实用新型作进一步说明:
如图1所示,本实用新型的轻量化蜂窝型汽车备胎盖板材料,其结构为由多层不同功能的板材层积组成。
具体结构如下:它包括用作基板层的蜂窝板1,蜂窝板1的上下两面均设有用作过渡层的PP-GF复合板材2,上PP-GF复合板材2上设有用作包覆层的地毯3,地毯3的边缘设有弯折部3.1,弯折部3.1将地毯3下面各层的断面包覆,上述各层之间经粘接层4粘接固定。地毯3对下面各层的包覆,可以是单边包覆,也可以是整体包覆。具体结构根据实际需要进行选择使用。在生产过程中,地毯3可以选择针刺地毯或者簇绒地毯。
所述的弯折部3.1的端部伸到下PP-GF复合板材2的下面,此种包覆结构更为可靠,避免边缘被轻易撕开。
作为优选方案,上述的各层之间的粘接层4为PP膜(聚丙烯膜)或者PE膜(聚乙烯膜)。在制造时,通过加热使PP膜或者PE膜具有粘性,就可以将各层粘接固定。

Claims (3)

1.一种轻量化蜂窝型汽车备胎盖板材料,其特征在于:它包括用作基板层的蜂窝板(1),蜂窝板(1)的上下两面均设有用作过渡层的PP-GF复合板材(2),上PP-GF复合板材(2)上设有用作包覆层的地毯(3),地毯(3)的边缘设有弯折部(3.1),弯折部(3.1)将地毯(3)下面各层的断面包覆,上述各层之间经粘接层(4)粘接固定。
2.根据权利要求1所述的轻量化蜂窝型汽车备胎盖板材料,其特征在于:所述的弯折部(3.1)的端部伸到下PP复合板材(2)的下面。
3.根据权利要求2所述的轻量化蜂窝型汽车备胎盖板材料,其特征在于:所述的各层之间的粘接层(4)为PP膜或者PE膜。
CN 201320051484 2013-01-28 2013-01-28 轻量化蜂窝型汽车备胎盖板材料 Expired - Lifetime CN203019727U (zh)

Priority Applications (1)

Application Number Priority Date Filing Date Title
CN 201320051484 CN203019727U (zh) 2013-01-28 2013-01-28 轻量化蜂窝型汽车备胎盖板材料

Applications Claiming Priority (1)

Application Number Priority Date Filing Date Title
CN 201320051484 CN203019727U (zh) 2013-01-28 2013-01-28 轻量化蜂窝型汽车备胎盖板材料

Publications (1)

Publication Number Publication Date
CN203019727U true CN203019727U (zh) 2013-06-26

Family

ID=48643736

Family Applications (1)

Application Number Title Priority Date Filing Date
CN 201320051484 Expired - Lifetime CN203019727U (zh) 2013-01-28 2013-01-28 轻量化蜂窝型汽车备胎盖板材料

Country Status (1)

Country Link
CN (1) CN203019727U (zh)

Cited By (4)

* Cited by examiner, † Cited by third party
Publication number Priority date Publication date Assignee Title
CN103085344A (zh) * 2013-01-28 2013-05-08 宁波兴柯汽车新材料科技有限公司 汽车备胎盖板材料
CN103407502A (zh) * 2013-08-09 2013-11-27 无锡吉兴汽车声学部件科技有限公司 Pp蜂窝板备胎盖板四周封边的生产工艺
CN106945372A (zh) * 2017-04-24 2017-07-14 武汉林骏汽车饰件有限公司 一种pp蜂窝板末端与合页结构及其处理工艺
CN118494623A (zh) * 2024-07-17 2024-08-16 上海华迎汽车零部件有限公司 一种备胎盖板及其加工工艺

Cited By (6)

* Cited by examiner, † Cited by third party
Publication number Priority date Publication date Assignee Title
CN103085344A (zh) * 2013-01-28 2013-05-08 宁波兴柯汽车新材料科技有限公司 汽车备胎盖板材料
CN103407502A (zh) * 2013-08-09 2013-11-27 无锡吉兴汽车声学部件科技有限公司 Pp蜂窝板备胎盖板四周封边的生产工艺
CN103407502B (zh) * 2013-08-09 2015-10-14 无锡吉兴汽车声学部件科技有限公司 Pp蜂窝板备胎盖板四周封边的生产工艺
CN106945372A (zh) * 2017-04-24 2017-07-14 武汉林骏汽车饰件有限公司 一种pp蜂窝板末端与合页结构及其处理工艺
CN106945372B (zh) * 2017-04-24 2019-12-06 武汉林骏汽车饰件有限公司 一种pp蜂窝板末端与合页结构及其处理工艺
CN118494623A (zh) * 2024-07-17 2024-08-16 上海华迎汽车零部件有限公司 一种备胎盖板及其加工工艺

Similar Documents

Publication Publication Date Title
JP6480962B2 (ja) ハニカムコア構造
CN203019727U (zh) 轻量化蜂窝型汽车备胎盖板材料
CN201970502U (zh) 一种汽车顶篷用碳纤维聚氨酯复合板结构
CN203019768U (zh) 高载荷汽车备胎盖板材料
CN203126040U (zh) 隔音汽车备胎盖板材料
CN203157879U (zh) 轻量化汽车备胎盖板
CN207643824U (zh) 一种pp蜂窝复合板材
CN206306555U (zh) 一种用于汽车行李箱的地毯
CN203004458U (zh) 隔音蜂窝型汽车备胎盖板材料
CN203046332U (zh) 高载荷蜂窝型汽车备胎盖板材料
CN207225231U (zh) 一种汽车衣帽架
CN203046331U (zh) 轻量化蜂窝型汽车备胎盖板材料
CN203019725U (zh) 高载荷蜂窝型汽车备胎盖板材料
CN203331511U (zh) 轻量化汽车备胎盖板材料
CN203019726U (zh) 隔音蜂窝型汽车备胎盖板材料
CN103085344A (zh) 汽车备胎盖板材料
CN210454568U (zh) 一种集成式车用地毯
JP6041378B2 (ja) 車両用天井内装材の製造方法
CN202987307U (zh) 隔音汽车备胎盖板材料
CN202572546U (zh) 集装箱底板用复合地板
CN203198870U (zh) 高载荷汽车备胎盖板材料
CN206374272U (zh) 一种新型轻量化车顶装饰复合材料
CN202965356U (zh) 增强型层积纸板复合材料
CN204196389U (zh) 一种带天窗的顶棚板材半成品
CN205836680U (zh) 一种行李箱备胎盖板

Legal Events

Date Code Title Description
C14 Grant of patent or utility model
GR01 Patent grant
C41 Transfer of patent application or patent right or utility model
TR01 Transfer of patent right

Effective date of registration: 20160308

Address after: Yinzhou District Lianfeng road 315175 Zhejiang city of Ningbo province (No. 889 Ningbo Sunshine Auto Parts Co., Ltd.)

Patentee after: NINGBO SUNLIGHT MOTOR PARTS Co.,Ltd.

Address before: Yinzhou District Lianfeng road 315175 Ningbo city in Zhejiang province Ningbo City No. 889

Patentee before: NINGBO XINGKE AUTOMOBILE NEW MATERIAL TECHNOLOGY Co.,Ltd.

CP02 Change in the address of a patent holder

Address after: 889 Lianfeng Middle Road, Gaoqiao Town, Haishu District, Ningbo City, Zhejiang Province

Patentee after: NINGBO SUNLIGHT MOTOR PARTS Co.,Ltd.

Address before: 889 Lianfeng Middle Road, Yinzhou District, Ningbo City, Zhejiang Province (Ningbo Sunshine Auto Parts Co., Ltd.)

Patentee before: NINGBO SUNLIGHT MOTOR PARTS Co.,Ltd.

CP02 Change in the address of a patent holder
CX01 Expiry of patent term

Granted publication date: 20130626

CX01 Expiry of patent term