CN202985317U - 六轴联动数控抛光机 - Google Patents

六轴联动数控抛光机 Download PDF

Info

Publication number
CN202985317U
CN202985317U CN 201220571695 CN201220571695U CN202985317U CN 202985317 U CN202985317 U CN 202985317U CN 201220571695 CN201220571695 CN 201220571695 CN 201220571695 U CN201220571695 U CN 201220571695U CN 202985317 U CN202985317 U CN 202985317U
Authority
CN
China
Prior art keywords
polishing
axis
numerical control
wax
fuselage
Prior art date
Legal status (The legal status is an assumption and is not a legal conclusion. Google has not performed a legal analysis and makes no representation as to the accuracy of the status listed.)
Expired - Fee Related
Application number
CN 201220571695
Other languages
English (en)
Inventor
刘思金
Current Assignee (The listed assignees may be inaccurate. Google has not performed a legal analysis and makes no representation or warranty as to the accuracy of the list.)
SHENZHEN SHENFENGTAI MOULD CO Ltd
Original Assignee
SHENZHEN SHENFENGTAI MOULD CO Ltd
Priority date (The priority date is an assumption and is not a legal conclusion. Google has not performed a legal analysis and makes no representation as to the accuracy of the date listed.)
Filing date
Publication date
Application filed by SHENZHEN SHENFENGTAI MOULD CO Ltd filed Critical SHENZHEN SHENFENGTAI MOULD CO Ltd
Priority to CN 201220571695 priority Critical patent/CN202985317U/zh
Application granted granted Critical
Publication of CN202985317U publication Critical patent/CN202985317U/zh
Anticipated expiration legal-status Critical
Expired - Fee Related legal-status Critical Current

Links

Images

Landscapes

  • Grinding-Machine Dressing And Accessory Apparatuses (AREA)

Abstract

本实用新型涉及一种六轴联动数控抛光机,实现六轴联动,即X、Y、Z三轴基本运动,A、B、C三轴插补运动,对非线性曲面、异形曲面、自由曲面,依靠含有磨粒抛光轮高速旋转对其表面凸出部分快速磨削抛光,从而得到高质量、高精度的表面,尤其是本新型增加了自动给蜡器和除尘排污装置,其中自动给蜡器由支架、安装座、抛光蜡组成,机身的外面罩有机身罩,排污装置使水通过水泵进行循环,水质恶化后通过排污阀排出。污水处理水箱可以实时移动进行清洗排污,从而达到环保节能的目的。由于实现机器自动给蜡,缩短了工作时间,提高了机床工作效率,产品质量稳定可靠,且环保。

Description

六轴联动数控抛光机
技术领域
本实用新型涉及一种数控抛光机,尤其涉及一种六轴联动数控抛光机。 
背景技术
随着时代发展,社会进步,人的审美和实用性要求的提高,越来越多的器具,用具,体育用品,工艺品等一些金属零件表面处理有很高质量要求和尺寸精度要求,一些零件存在非线性曲面、异形曲面、自由曲面,有些曲面则需要通过磨削抛光处理。 
在现有的技术中,应用于金属表面磨削抛光方法很多,包括化学法抛光、流体物理抛光、超声波物理抛光、磁研抛光、机械振动抛光、机械磨削抛光等,化学法抛光有电解法抛光和溶液溶解法抛光,它们是将零件置入有化学溶剂中对其表面微小的凸出部分腐蚀溶解从而得到光滑表面;流体物理抛光是利用高速喷射的流体,流体中携带磨粒冲刷磨削工件表面,从而得到光滑表面;超声波抛光是将工件放入磨粒悬浮液中并一起置入超声波场中,依靠超声波的振荡作用使磨粒在工件表面磨削抛光;磁研抛光是将工件放入形成的磁场中,振荡磁性磨粒对工件表面进行研磨,从而得到光滑表面;机械振荡抛光是通过机械振荡装置对磨料和工件形成搅拌、挤压磨削而得到光滑表面;机械磨削抛光是通过依靠材料对工件表面塑性变形除去凸出部分而得到光滑表面。 
对于一些金属零件表面磨削抛光加工,表面质量和几何尺寸精度有很高要求,特别是一些几何曲面,采用化学抛光、流体物理抛光、超声波物理抛光、磁力研磨抛光、机械振荡抛光、它们只能得到光滑的表面,很难保证尺寸精度;然而化学抛光要使用带腐蚀性的化学介质,如强酸强碱等,不仅造成环境污染,对人体有一定程度伤害;除非有特殊保护,人体长期接触超声波、电磁波同样会造成伤害; 
在现代抛光业中,使用机械抛光较为普遍,对于形状规则的板块状、条状、管筒的表面抛光,机械应用有自动、半自动形式,但是对于有非线性曲面、异形曲面、自由曲面形状复杂工件的抛光作业,目前国内尚无自动化机床可以完成,大都是人工在含有磨粒高速旋转的抛光轮上,手持工件手持抛光器具对准需要磨削抛光部位,进行人为操作,零件的表面质量、几何尺寸精度,完全靠工人的感觉和操作技巧来保证;工人体力消耗大、工效低,质量不稳定、返工率高;而这类设备大都是开式结构,劳动环境极差,虽有防尘、抽尘设施,但是粉尘仍是人的第一杀手。 
实用新型内容
传统抛光作业是人工补充抛光蜡,抛光轮在磨削过程中磨粒依靠抛光蜡进行消耗性补给,费时费力。本实用新型所要解决的技术问题就是要提供一种不用人工给蜡,而且在抛光过程中实现不中断抛光操作,机器自动给蜡、在抛磨的过程中实现除尘、干净、环保、排污的这样一种设备。实现上述目的的技术方案如下: 
六轴联动数控抛光机,其结构包括机身、机底座、床台、工作台,抛光轮、抛光轮护罩、电机,其特征在于:还包括自动给蜡器、同步带轮付、丝杆、步进电机,所述自动给蜡器由支架、安装座、抛光蜡组成,支架安装在机身的主轴箱上,安装座连接在支架上,同步带轮付与安装座连接,丝杆与同步带轮付连接,步进电机与安装座连接,抛光蜡安装在安装座中,与抛光蜡相对位置的抛光轮护罩上开有进蜡窗口,抛光蜡端部穿过进蜡窗口。 
采用自动给蜡装置,六轴联动数控抛光机自动进给对抛光轮给蜡,定时定量加入磨削磨粒,缩短工作时间,提高了机床工作效率。 
进一步的,数控抛光机机身的外面罩有机身罩,机身罩与机底座联接,将机床整体外形全部封闭。 
将机身封闭,可以防止灰尘四溢,保护人们的健康及环境卫生。 
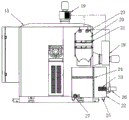
进一步的,机身罩正面上开设有活动梭门,在机身罩上还安装有主控操作面板和辅助功能操作面板、抽尘机、粉尘过滤器、污水处理水箱,配电箱,其中,主控操作面板和辅助功能操作面板布置在机身罩正面右侧上方,所述抽尘机为两台,一台抽尘机安装在配电箱相对面的机身罩上,正对抛光轮磨削切线方向,另一台抽尘机安装在机身罩的顶部,抽尘机通过管道与粉尘过滤器连接,粉尘过滤器安装在机身的背面,污水处理水箱与粉尘过滤器连接,污水处理水箱安装在粉尘过滤器的下端,粉尘过滤器上设有两组过滤网插板,过滤网插板的出口正对污水处理水箱上面,粉尘过滤器上还设有水淋喷头,位于过滤网插板的上端,水淋喷头喷出的水形成雾状吸附粉尘,污水处理水 箱上连接有水泵、排污阀,在污水处理水箱内装有精过滤网与细过滤器,精过滤网安装在水泵进口处,污水处理水箱的下部装有脚轮,可以推拉移动,机底座的侧边安装有废料箱,配电箱安装在机身罩的右侧,自动注油器安装在机身罩上、配电箱的侧边。 
采用这样的结构,水通过水泵循环,水质恶化后通过排污阀排污清洗。 
进一步的,在机底座下部安装有用于减振的弹性脚垫。 
弹性脚垫可以避免因振动而产生容削痕迹,达到减震的效果,减少外界振荡源对数控抛光机的影响。 
进一步的,精过滤网与细过滤器通过插入式的方式与污水处理水箱连接。 
采用插入式的连接结构,方便过滤网的清洗。 
附图说明
图1为六轴联动数控抛光机立体示意图 
图2为六轴联动数控抛光机主视图 
图3为六轴联动数控抛光机局部放大图 
图4为六轴联动数控抛光机右视图 
图5为六轴联动数控抛光机安装机身罩之后拆去前片钣金后的立体图 
图6为六轴联动数控抛光机安装机身罩之后的背面立体示意图 
图7为六轴联动数控抛光机安装机身罩之后的背面示意图 
图8为六轴联动数控抛光机安装机身罩之后的侧视图 
图9为六轴联动数控抛光机安装机身罩之后的背部示意图 
附图序号说明:1-主轴箱,2-磨头电机,3-主轴,4-砂轮护罩,5-抛光轮,6-自动给蜡器,7-支架,8-抛光蜡,9-安装座,10-丝杆,11-同步带轮付,12-步进电机,13-支架,14-进蜡窗口,15-机身罩,16-梭门,17-主控操作面板,18-辅助功能操作面板,19-抽尘机,20-粉尘过滤器,21-过滤网插板,22-污水处理水箱,23-水淋喷头,24-细过滤器,25-脚轮,26-水泵,27-排污阀,28-配电箱,29-自动注油器,30-废料箱,31-弹性脚垫,32-机底座,33-精过滤网 
具体实施方式
本实用新型六轴联动数控抛光机应用了国内先进数控伺服系统,实现六轴联动,即X、Y、Z三轴基本运动,A、B、C三轴插补运动,对非线性曲面、异形曲面、自由曲面,依靠含有磨粒抛光轮高速旋转对其表面凸出部分快速磨削抛光,从而得到高质量、高精度的表面。 
本实用新型数控抛光机本着一机多用原则、扩展机床加工范围,在数控伺服系统二次开发时,加入机床夹具附件控制单元接口(A轴),在数控程序中编写操作模块,实现在有夹具模块机制下,减少装夹次数,对形状复杂工件的几何曲面外表面进行抛光作业,缩短加工时间,大大提高了效率;而且批量加工零件表面质量及精度一致性很好; 
磨削抛光作为零件最终加工手段、抛光轮是抛光机械中重要的组成部分。在抛光轮系中有砂带抛光轮、胶质弹性抛光轮、树脂抛光轮、纤维织品抛光轮等,目前使用中以纤维织品抛光轮抛光品质 效果为最好,能得到超精镜面;砂带抛光轮、胶质弹性抛光轮、树脂抛光轮,它们本身都携带不同材质的磨料磨粒,目前使用的纤维织品抛光轮却没有,因此抛光轮在磨削过程中磨粒依靠抛光蜡进行消耗性补给,传统抛光作业是人工补充抛光蜡,费力费时;本实用新型数控抛光机中保留这传统工艺,开发设计了一种自动给蜡器,利用步进电机驱动丝杆轴向进给,操作模块编入数控程序,自动给蜡器在抛光作业时,根据程序指令,不中断抛光操作、自动进给对抛光轮给蜡,定时定量加入磨削磨粒,达到缩短工作时间,提高机床工作效率目的; 
本实用新型数控抛光机采用全封闭防尘设计,工作台及六轴联动导轨付、丝杆付等,进行了全封闭式弹性防尘设置,对机床加工区域包覆式隔离(即机身罩),与操作区域分开;该项目专门设计配备了随机专用的除尘排污装备,该装备由抽尘机、粉尘过滤器、污水处理水箱,循环水泵等组成,其原理是抽尘机将机体内磨削产生的粉尘烟雾抽出,经过粉尘过滤器20上的水淋喷头23冲洗,经粉尘过滤器中过滤网分级过滤粗细粿粒,流入污水处理水箱22,进行细过滤,过滤后水在一定程度上可通过水泵26循环使用,水质吸附杂质到一定程度时,可随箱内沉淀的污物一起进行清理掉,更换干净水源,而粉尘过滤器的过滤网和水箱中的过滤网设计为插板式,可随时拆下方便清理清洗,污水处理水箱与粉尘过滤器浮动联接,污水处理水箱可以实时移动进行清洗排污,从而达到环保节能的目的。 
图中,本实用新型数控抛光机主机座安装在机底座上,床台与主机座滑座相连接,可Z轴向运动、床台上装有包括工作台、供X、Y轴运动的十字滑台、驱动X、Y、Z轴运动的伺服电机及传动丝杆付等,工作台上还装有供工件回转的A轴伺服电机及夹具,主轴安装在主轴箱中,前端装抛光轮,一台交流电机传动主轴自转,主轴速度由后台变频器控制,变频器通讯串口与数控系统通讯串口联系,抛光轮磨削速度根据工件需要,可以在操作程序中直接编入;主轴箱安装在可以设定水平方向,即沿Z轴回转的B轴上,B轴驱动伺服电机安装在主机座内,通过减速器与B轴连接,主轴箱下部与B轴上部装有横向蜗轮轴即C轴,后部1台伺服电机驱动蜗杆,带动主轴箱回转,使抛光轮沿Y轴倾斜一定角度,整个结构可沿X、Y、Z轴作直线运动,A、B、C轴作回转运动,形成所谓六轴联动,构成抛光机机械主体部分,满足对非线性曲面、异形曲面、自由曲面磨削抛光工作需求。 
X、Y、Z、A、B、C六轴联动系统在数控机床中为常见的公知结构,对其具体的特征、控制机构和工作原理在这里不再阐述。 
图中,磨头电机2连接主轴3,主轴3放置在主轴箱1内,主轴3连接抛光轮5,自动给蜡器6通过支架13安装在主轴箱1右侧,抛光轮护罩4安装在主轴3上、围绕在抛光轮的外圆周面附近,抛光轮护罩4右侧开有进蜡窗口14,抛光蜡8安装在自动给蜡器的安装座9中,安装座9与丝杆10相连,抛光蜡8端部穿过砂轮罩上的进蜡窗口14与抛光轮滑动配合接触,步进电机12通过同步带轮付11传递 动力给丝杆10,推动抛光蜡8与抛光轮5径向磨削面接触,进给方向与抛光轮中心成一定角度,使与抛光轮接触的抛光蜡头部低于安装在安装座上的抛光蜡的尾部,自动给蜡器在接到程序进给指令后,步进电机12驱动丝杆10轴向进给,给抛光轮5上进行抛光蜡,自动给蜡器6进给量在控制数控程序中编入,在采用纤维织物抛光轮时使用。 
机身罩15与机底座联接形成机床整体全封闭外形,中间开有活动梭门16,便于操作者装卸工件和隔尘;主控操作面板17和辅助功能操作面板18布置在机身罩正面右上方,一台抽尘机19安装在配电箱相对面的机身上,正对抛光轮5磨削切线方向,另一台抽尘机19安装在机身的顶部,两台抽尘机管道与粉尘过滤器20连接,粉尘过滤器20安装在机身的背面,污水处理水箱22与粉尘过滤器20连接,污水处理水箱22安装在粉尘过滤器20的下端,粉尘过滤器20上设有两组过滤网插板21,过滤网插板21的出口正对污水处理水箱22上面,粉尘过滤器20上还设有水淋喷头23,位于过滤网插板21的上端,水淋喷头23喷出的水形成雾状吸附粉尘,污水处理水箱下端连接有水泵26、排污阀27,在污水处理水箱22内装有精过滤网33与细过滤器24,精过滤网33安装在水泵26进口处,水通过水泵26循环,水质恶化后通过排污阀27排污清洗排污阀,污水处理水箱22的下部装有脚轮25,可以推拉移动。 
配电箱28安装在机身罩的右侧,所有电器元件安装在内;机床自动注油器29安装在配电箱28附近,给机床滑动部位提供稀油润滑; 机身下部两侧配备有废料箱30,便于集中清理废弃物。实现了多用途、高环保功能的要求。 
对所公开的实施例的上述说明,使本领域专业技术人员能够实现或使用本实用新型实施例。对这些实施例的多种修改对本领域的专业技术人员来说将是显而易见的,本文中所定义的一般原理可以在不脱离本实用新型实施例的精神或范围的情况下,在其他实施例中实现。因此,本实用新型实施例将不会被限制于本文所示的这些实施例,而是要符合与本文所公开的原理和新颖特点相一致的最宽的范围。 
应用可以延伸到如除尘排污装备结构,可以应用于其它的行业或类似环境用途除尘排污,以上仅为本实用新型实施例的较佳实施例而已,并不用以限制本实用新型实施例,凡在本实用新型实施例的精神和原则之内,所作的任何修改、等同替换、改进等,均应包含在本实用新型实施例的保护。 

Claims (5)

1.六轴联动数控抛光机,其结构包括机身、机底座、床台、工作台,抛光轮、抛光轮护罩、电机,其特征在于:还包括自动给蜡器、同步带轮付、丝杆、步进电机,所述自动给蜡器由支架、安装座、抛光蜡组成,支架安装在机身的主轴箱上,安装座连接在支架上,同步带轮付与安装座连接,丝杆与同步带轮付连接,步进电机与安装座连接,抛光蜡安装在安装座中,与抛光蜡相对位置的抛光轮护罩上开有进蜡窗口,抛光蜡端部穿过进蜡窗口。 
2.根据权利要求1所述的六轴联动数控抛光机,其特征在于:数控抛光机机身的外面罩有机身罩,机身罩与机底座联接,将机身整体外形全部封闭。 
3.根据权利要求2所述的六轴联动数控抛光机,其特征在于:机身罩正面上开设有活动梭门,在机身罩上还安装有主控操作面板和辅助功能操作面板、抽尘机、粉尘过滤器、污水处理水箱,配电箱,其中,主控操作面板和辅助功能操作面板布置在机身罩正面右侧上方,所述抽尘机为两台,一台抽尘机安装在配电箱相对面的机身罩上,正对抛光轮磨削切线方向,另一台抽尘机安装在机身罩的顶部,抽尘机通过管道与粉尘过滤器连接,粉尘过滤器安装在机身的背面,污水处理水箱与粉尘过滤器连接,污水处理水箱安装在粉尘过滤器的下端,粉尘过滤器上设有两组过滤网插板,过滤网插板的出口正对污水处理水箱上面, 粉尘过滤器上还设有水淋喷头,位于过滤网插板的上端,水淋喷头喷出的水形成雾状吸附粉尘,污水处理水箱上连接有水泵、排污阀,在污水处理水箱内装有精过滤网与细过滤器,精过滤网安装在水泵进口处,污水处理水箱的下部装有脚轮,可以推拉移动,机底座的侧边安装有废料箱,配电箱安装在机身罩的右侧,自动注油器安装在机身罩上、配电箱的侧边。 
4.根据权利要求2所述的六轴联动数控抛光机,其特征在于:在机底座下部安装有用于减振的弹性脚垫。 
5.根据权利要求3所述的六轴联动数控抛光机,其特征在于:所述精过滤网与细过滤器通过插入式的方式与污水处理水箱连接。 
CN 201220571695 2012-11-01 2012-11-01 六轴联动数控抛光机 Expired - Fee Related CN202985317U (zh)

Priority Applications (1)

Application Number Priority Date Filing Date Title
CN 201220571695 CN202985317U (zh) 2012-11-01 2012-11-01 六轴联动数控抛光机

Applications Claiming Priority (1)

Application Number Priority Date Filing Date Title
CN 201220571695 CN202985317U (zh) 2012-11-01 2012-11-01 六轴联动数控抛光机

Publications (1)

Publication Number Publication Date
CN202985317U true CN202985317U (zh) 2013-06-12

Family

ID=48556535

Family Applications (1)

Application Number Title Priority Date Filing Date
CN 201220571695 Expired - Fee Related CN202985317U (zh) 2012-11-01 2012-11-01 六轴联动数控抛光机

Country Status (1)

Country Link
CN (1) CN202985317U (zh)

Cited By (7)

* Cited by examiner, † Cited by third party
Publication number Priority date Publication date Assignee Title
CN102922399A (zh) * 2012-11-01 2013-02-13 深圳市深丰泰模具有限公司 六轴联动数控抛光机
CN104227566A (zh) * 2014-09-24 2014-12-24 镁联科技(芜湖)有限公司 镁合金粉尘消除装置以及镁合金抛光设备
CN104669094A (zh) * 2014-11-27 2015-06-03 佛山市博科数控机械有限公司 数控抛光机用的远程手持终端
CN105666287A (zh) * 2016-02-23 2016-06-15 武汉大学 一种基于cmp的机器人磨抛系统
CN108312021A (zh) * 2018-04-10 2018-07-24 山东大学 一种安装于外圆磨床的疲劳试样精密抛光系统与方法
CN110576384A (zh) * 2019-10-16 2019-12-17 深圳市精速五金机械有限公司 一种电脑外壳用五轴联动抛光机
WO2020056891A1 (zh) * 2018-09-17 2020-03-26 东旭集团有限公司 曲面玻璃凸面抛光机

Cited By (7)

* Cited by examiner, † Cited by third party
Publication number Priority date Publication date Assignee Title
CN102922399A (zh) * 2012-11-01 2013-02-13 深圳市深丰泰模具有限公司 六轴联动数控抛光机
CN104227566A (zh) * 2014-09-24 2014-12-24 镁联科技(芜湖)有限公司 镁合金粉尘消除装置以及镁合金抛光设备
CN104669094A (zh) * 2014-11-27 2015-06-03 佛山市博科数控机械有限公司 数控抛光机用的远程手持终端
CN105666287A (zh) * 2016-02-23 2016-06-15 武汉大学 一种基于cmp的机器人磨抛系统
CN108312021A (zh) * 2018-04-10 2018-07-24 山东大学 一种安装于外圆磨床的疲劳试样精密抛光系统与方法
WO2020056891A1 (zh) * 2018-09-17 2020-03-26 东旭集团有限公司 曲面玻璃凸面抛光机
CN110576384A (zh) * 2019-10-16 2019-12-17 深圳市精速五金机械有限公司 一种电脑外壳用五轴联动抛光机

Similar Documents

Publication Publication Date Title
CN102922399A (zh) 六轴联动数控抛光机
CN202985317U (zh) 六轴联动数控抛光机
CN204136148U (zh) 一种高压水去毛刺机
CN110625496A (zh) 一种手机壳用五轴联动抛光机
CN202556189U (zh) 多工位平底钻磨抛机
CN209190525U (zh) 气门磨床的自动化清洗装置
CN112936534B (zh) 一种陶瓷胚体内外壁酸洗抛光装置及其使用方法
CN110576384A (zh) 一种电脑外壳用五轴联动抛光机
CN209831129U (zh) 一种外圆磨床
CN209700234U (zh) 一种具有切削液回收装置的全自动精雕设备
CN209256517U (zh) 一种大口径无缝钢管的内圆磨床
CN210524696U (zh) 一种机械加工用零件打磨装置
CN218137328U (zh) 平面铣磨机的冷却液循环利用装置
CN219152355U (zh) 一种主轴磨削锥孔的全自动磨床
CN213411475U (zh) 一种具有清洗效果的打磨机
CN216939993U (zh) 汽车零部件加工用精密成型磨床
CN217097010U (zh) 一种用于金属产品的湿式端面去毛刺装置
CN113042827B (zh) 一种用于齿轮打磨抛光的装置
CN211708871U (zh) 一种旋耕机变速箱体毛刺去除装置
CN113305704B (zh) 一种多轴数控导轨磨床
CN213351893U (zh) 一种具有集尘功能的机械加工用打磨装置
CN114851005A (zh) 一种多功能金属零部件加工装置
CN209936692U (zh) 一种高精度齿条磨床
CN221891553U (zh) 一种四工位数控卧轴圆台平面磨床
CN218856593U (zh) 一种三轴连体研磨设备

Legal Events

Date Code Title Description
C14 Grant of patent or utility model
GR01 Patent grant
C17 Cessation of patent right
CF01 Termination of patent right due to non-payment of annual fee

Granted publication date: 20130612

Termination date: 20131101