CN202490765U - Drum-type kitchen garbage separating unit - Google Patents
Drum-type kitchen garbage separating unit Download PDFInfo
- Publication number
- CN202490765U CN202490765U CN2012200572806U CN201220057280U CN202490765U CN 202490765 U CN202490765 U CN 202490765U CN 2012200572806 U CN2012200572806 U CN 2012200572806U CN 201220057280 U CN201220057280 U CN 201220057280U CN 202490765 U CN202490765 U CN 202490765U
- Authority
- CN
- China
- Prior art keywords
- drum
- screening drum
- screening
- blade
- food waste
- Prior art date
- Legal status (The legal status is an assumption and is not a legal conclusion. Google has not performed a legal analysis and makes no representation as to the accuracy of the status listed.)
- Expired - Lifetime
Links
Images
Classifications
-
- Y—GENERAL TAGGING OF NEW TECHNOLOGICAL DEVELOPMENTS; GENERAL TAGGING OF CROSS-SECTIONAL TECHNOLOGIES SPANNING OVER SEVERAL SECTIONS OF THE IPC; TECHNICAL SUBJECTS COVERED BY FORMER USPC CROSS-REFERENCE ART COLLECTIONS [XRACs] AND DIGESTS
- Y02—TECHNOLOGIES OR APPLICATIONS FOR MITIGATION OR ADAPTATION AGAINST CLIMATE CHANGE
- Y02A—TECHNOLOGIES FOR ADAPTATION TO CLIMATE CHANGE
- Y02A40/00—Adaptation technologies in agriculture, forestry, livestock or agroalimentary production
- Y02A40/10—Adaptation technologies in agriculture, forestry, livestock or agroalimentary production in agriculture
- Y02A40/20—Fertilizers of biological origin, e.g. guano or fertilizers made from animal corpses
Landscapes
- Processing Of Solid Wastes (AREA)
Abstract
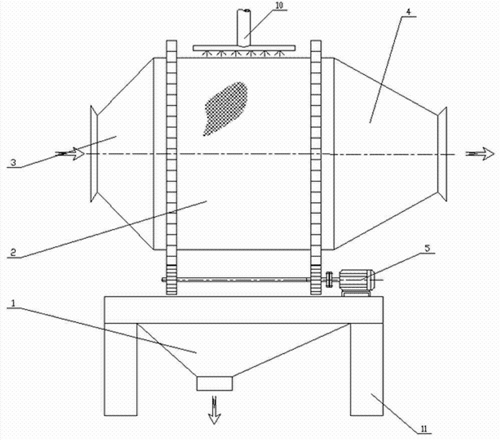
本实用新型提供了一种滚筒式餐厨垃圾分离装置,包括支架和设置在支架上的筛分滚筒;筛分滚筒的一端设有锥形进料筒,另一端设有锥形出料筒;在筛分滚筒内设有举升叶片和导料叶片,且导料叶片与举升叶片交错配置;在锥形出料筒内设有与导料叶片同向的出料叶片;所述筛分滚筒的筒壁上设有筛孔;所述筛分滚筒的上面设置有喷淋系统,下面设置有集水槽。本实用新型采用滚筒搅拌、冲洗、甩干的方式,一次完成了餐厨垃圾的固液分离,简化了餐厨垃圾的分离工艺,提高了分离效率和分离质量,大大简化了餐厨垃圾的处理工序,降低了餐厨垃圾处理中人力、物力、财力的消耗,从而大大降低了处理成本。
The utility model provides a drum-type kitchen waste separation device, which comprises a bracket and a screening drum arranged on the bracket; one end of the screening drum is provided with a conical feeding cylinder, and the other end is provided with a conical discharging cylinder; Lifting vanes and guide vanes are arranged in the screening drum, and the guide vanes and lifting vanes are arranged alternately; discharge vanes in the same direction as the guide vanes are arranged in the conical discharge cylinder; the screening The cylinder wall of the drum is provided with sieve holes; the upper side of the screening drum is provided with a spray system, and the lower part is provided with a water collection tank. The utility model adopts the method of drum stirring, washing and drying, and completes the solid-liquid separation of kitchen waste at one time, simplifies the separation process of kitchen waste, improves the separation efficiency and quality, and greatly simplifies the treatment of kitchen waste The process reduces the consumption of manpower, material resources and financial resources in the treatment of kitchen waste, thereby greatly reducing the treatment cost.
Description
Claims (6)
Priority Applications (1)
| Application Number | Priority Date | Filing Date | Title |
|---|---|---|---|
| CN2012200572806U CN202490765U (en) | 2012-02-22 | 2012-02-22 | Drum-type kitchen garbage separating unit |
Applications Claiming Priority (1)
| Application Number | Priority Date | Filing Date | Title |
|---|---|---|---|
| CN2012200572806U CN202490765U (en) | 2012-02-22 | 2012-02-22 | Drum-type kitchen garbage separating unit |
Publications (1)
| Publication Number | Publication Date |
|---|---|
| CN202490765U true CN202490765U (en) | 2012-10-17 |
Family
ID=46997009
Family Applications (1)
| Application Number | Title | Priority Date | Filing Date |
|---|---|---|---|
| CN2012200572806U Expired - Lifetime CN202490765U (en) | 2012-02-22 | 2012-02-22 | Drum-type kitchen garbage separating unit |
Country Status (1)
| Country | Link |
|---|---|
| CN (1) | CN202490765U (en) |
Cited By (11)
| Publication number | Priority date | Publication date | Assignee | Title |
|---|---|---|---|---|
| CN103599884A (en) * | 2013-11-22 | 2014-02-26 | 长沙中联重科环卫机械有限公司 | Kitchen waste separating device |
| CN104324932A (en) * | 2014-11-25 | 2015-02-04 | 天津百利环保有限公司 | Shaftless rotation type kitchen waste biochemical treatment machine |
| CN105457881A (en) * | 2016-01-08 | 2016-04-06 | 潘天高 | Kitchen garbage preceding separation treatment equipment |
| CN106513297A (en) * | 2015-09-15 | 2017-03-22 | 中联重科股份有限公司 | impurity removing device |
| CN106964636A (en) * | 2017-04-27 | 2017-07-21 | 江苏天楹环保能源成套设备有限公司 | Kitchen garbage seperator |
| CN108044971A (en) * | 2018-01-23 | 2018-05-18 | 刘希福 | A kind of rubbish from cooking takes off juice machine |
| CN106140794B (en) * | 2016-08-19 | 2018-12-21 | 霍普科技(天津)股份有限公司 | A kind of processing unit of solid kitchen garbage |
| CN110447914A (en) * | 2019-09-12 | 2019-11-15 | 湖南蔬益园食品有限公司 | A kind of ginger debarking system |
| CN111299116A (en) * | 2020-02-26 | 2020-06-19 | 浙江科技学院 | A kitchen waste screening device |
| CN113215202A (en) * | 2021-06-10 | 2021-08-06 | 深高蓝德环保科技集团股份有限公司 | Kitchen waste and straw powder combined anaerobic fermentation method and device |
| CN116118044A (en) * | 2023-02-22 | 2023-05-16 | 同济大学 | A kind of equipment and method for cleaning residual garbage waste plastic bags coupled with solid medium |
-
2012
- 2012-02-22 CN CN2012200572806U patent/CN202490765U/en not_active Expired - Lifetime
Cited By (14)
| Publication number | Priority date | Publication date | Assignee | Title |
|---|---|---|---|---|
| CN103599884A (en) * | 2013-11-22 | 2014-02-26 | 长沙中联重科环卫机械有限公司 | Kitchen waste separating device |
| CN104324932A (en) * | 2014-11-25 | 2015-02-04 | 天津百利环保有限公司 | Shaftless rotation type kitchen waste biochemical treatment machine |
| CN106513297A (en) * | 2015-09-15 | 2017-03-22 | 中联重科股份有限公司 | impurity removing device |
| CN106513297B (en) * | 2015-09-15 | 2019-02-26 | 长沙中联重科环境产业有限公司 | Exclusion device |
| CN105457881A (en) * | 2016-01-08 | 2016-04-06 | 潘天高 | Kitchen garbage preceding separation treatment equipment |
| CN106140794B (en) * | 2016-08-19 | 2018-12-21 | 霍普科技(天津)股份有限公司 | A kind of processing unit of solid kitchen garbage |
| CN106964636A (en) * | 2017-04-27 | 2017-07-21 | 江苏天楹环保能源成套设备有限公司 | Kitchen garbage seperator |
| CN106964636B (en) * | 2017-04-27 | 2019-05-10 | 江苏天楹环保能源成套设备有限公司 | Kitchen garbage seperator |
| CN108044971A (en) * | 2018-01-23 | 2018-05-18 | 刘希福 | A kind of rubbish from cooking takes off juice machine |
| CN110447914A (en) * | 2019-09-12 | 2019-11-15 | 湖南蔬益园食品有限公司 | A kind of ginger debarking system |
| CN111299116A (en) * | 2020-02-26 | 2020-06-19 | 浙江科技学院 | A kitchen waste screening device |
| CN111299116B (en) * | 2020-02-26 | 2021-06-15 | 浙江科技学院 | Kitchen garbage screening plant |
| CN113215202A (en) * | 2021-06-10 | 2021-08-06 | 深高蓝德环保科技集团股份有限公司 | Kitchen waste and straw powder combined anaerobic fermentation method and device |
| CN116118044A (en) * | 2023-02-22 | 2023-05-16 | 同济大学 | A kind of equipment and method for cleaning residual garbage waste plastic bags coupled with solid medium |
Similar Documents
| Publication | Publication Date | Title |
|---|---|---|
| CN202490765U (en) | Drum-type kitchen garbage separating unit | |
| CN210017379U (en) | Pig raising excrement and urine circulation processing device | |
| CN204848626U (en) | Cowshed excrement and urine recovery processing device | |
| CN105057305B (en) | The broken slurrying of kitchen garbage continous way and the integrating device of component sorting | |
| CN205518969U (en) | Meal kitchen waste recycling processing apparatus | |
| CN202238865U (en) | Kitchen garbage sorting system | |
| CN102327890A (en) | Restaurant-kitchen garbage sorting system | |
| CN108031697A (en) | A kind of kitchen, method for processing kitchen waste | |
| CN105665409B (en) | Kitchen garbage sorts pulping device and method | |
| CN204486449U (en) | A kind of kitchen cabinet waste sorting treatment device | |
| CN112139222B (en) | A kind of kitchen waste automatic sorting and processing system and processing technology | |
| CN204769850U (en) | Kitchen garbage selects separately slurrying device | |
| CN208553338U (en) | A kind of horizontal drum dewaterer | |
| CN1765602A (en) | Plastic bottle recycling system | |
| CN207594379U (en) | Dehydration and pressure relief mechanism in kitchen organic waste recovery and treatment equipment | |
| CN111285430A (en) | A sewage treatment device and a pesticide waste treatment system | |
| CN207507565U (en) | Kitchen garbage breaking sorting machine | |
| CN109612206A (en) | A kind of efficient centrifugal dehumidifier | |
| CN108838197A (en) | A kind of refuse disposal installation of horizontal cross-feed | |
| CN211679258U (en) | Kitchen garbage disposal system | |
| CN207941800U (en) | The perishable refuse disposal installation in the market of farm produce | |
| CN210754323U (en) | Integrated kitchen waste treatment equipment | |
| CN220127149U (en) | Kitchen waste recycling treatment system and treatment vehicle thereof | |
| CN105080699B (en) | A kind of wet separation device | |
| CN203750577U (en) | Wheat washer with classified washing function |
Legal Events
| Date | Code | Title | Description |
|---|---|---|---|
| C14 | Grant of patent or utility model | ||
| GR01 | Patent grant | ||
| TR01 | Transfer of patent right |
Effective date of registration: 20170524 Address after: 730030, 15 floor, Huijin building, 31 Jiuquan Road, Chengguan District, Gansu, Lanzhou Patentee after: Gansu gallop Bio Energy System Co., Ltd. Address before: 1302, C, block 730070, Century Square Road, 352 Qingyang Road, Chengguan District, Gansu, Lanzhou Patentee before: Bao Lin |
|
| TR01 | Transfer of patent right | ||
| PE01 | Entry into force of the registration of the contract for pledge of patent right |
Denomination of utility model: Drum-type kitchen garbage separating unit Effective date of registration: 20170914 Granted publication date: 20121017 Pledgee: Zheshang Bank, Limited by Share Ltd, Lanzhou branch Pledgor: Gansu gallop Bio Energy System Co., Ltd. Registration number: 2017620000023 |
|
| PE01 | Entry into force of the registration of the contract for pledge of patent right | ||
| CX01 | Expiry of patent term |
Granted publication date: 20121017 |
|
| CX01 | Expiry of patent term |
