CN202089871U - 一种应用微生物技术深度处理印染废水的一体化设备 - Google Patents
一种应用微生物技术深度处理印染废水的一体化设备 Download PDFInfo
- Publication number
- CN202089871U CN202089871U CN2011201825094U CN201120182509U CN202089871U CN 202089871 U CN202089871 U CN 202089871U CN 2011201825094 U CN2011201825094 U CN 2011201825094U CN 201120182509 U CN201120182509 U CN 201120182509U CN 202089871 U CN202089871 U CN 202089871U
- Authority
- CN
- China
- Prior art keywords
- grid
- bioreactor
- dyeing wastewater
- advanced treatment
- membrane
- Prior art date
- Legal status (The legal status is an assumption and is not a legal conclusion. Google has not performed a legal analysis and makes no representation as to the accuracy of the status listed.)
- Expired - Lifetime
Links
- 238000004043 dyeing Methods 0.000 title claims abstract description 52
- 239000002351 wastewater Substances 0.000 title claims abstract description 52
- 238000011282 treatment Methods 0.000 title claims abstract description 28
- 238000005516 engineering process Methods 0.000 title claims abstract description 24
- 238000007639 printing Methods 0.000 title abstract description 42
- 230000000813 microbial effect Effects 0.000 title abstract description 13
- XLYOFNOQVPJJNP-UHFFFAOYSA-N water Substances O XLYOFNOQVPJJNP-UHFFFAOYSA-N 0.000 claims abstract description 41
- 238000001914 filtration Methods 0.000 claims abstract description 18
- 239000010802 sludge Substances 0.000 claims abstract description 17
- OKTJSMMVPCPJKN-UHFFFAOYSA-N Carbon Chemical compound [C] OKTJSMMVPCPJKN-UHFFFAOYSA-N 0.000 claims abstract description 14
- 239000012528 membrane Substances 0.000 claims description 23
- 239000000835 fiber Substances 0.000 claims description 8
- 238000005273 aeration Methods 0.000 claims description 6
- 229920002239 polyacrylonitrile Polymers 0.000 claims description 4
- 230000010354 integration Effects 0.000 claims 7
- 238000012856 packing Methods 0.000 claims 2
- 230000000630 rising effect Effects 0.000 claims 1
- 230000001105 regulatory effect Effects 0.000 abstract description 19
- 244000005700 microbiome Species 0.000 description 10
- 238000000034 method Methods 0.000 description 9
- 239000000945 filler Substances 0.000 description 8
- 239000000126 substance Substances 0.000 description 8
- 241000894006 Bacteria Species 0.000 description 6
- 239000000975 dye Substances 0.000 description 6
- 239000012510 hollow fiber Substances 0.000 description 5
- 238000000926 separation method Methods 0.000 description 5
- 238000006243 chemical reaction Methods 0.000 description 4
- 238000005189 flocculation Methods 0.000 description 4
- JVTAAEKCZFNVCJ-UHFFFAOYSA-N lactic acid Chemical compound CC(O)C(O)=O JVTAAEKCZFNVCJ-UHFFFAOYSA-N 0.000 description 4
- 238000010979 pH adjustment Methods 0.000 description 4
- 239000010865 sewage Substances 0.000 description 4
- 230000015556 catabolic process Effects 0.000 description 3
- 239000003795 chemical substances by application Substances 0.000 description 3
- 238000006731 degradation reaction Methods 0.000 description 3
- 230000000694 effects Effects 0.000 description 3
- 230000016615 flocculation Effects 0.000 description 3
- 238000004519 manufacturing process Methods 0.000 description 3
- 239000005416 organic matter Substances 0.000 description 3
- 238000000746 purification Methods 0.000 description 3
- 238000004064 recycling Methods 0.000 description 3
- 238000001179 sorption measurement Methods 0.000 description 3
- 238000004065 wastewater treatment Methods 0.000 description 3
- 241000186361 Actinobacteria <class> Species 0.000 description 2
- 244000063299 Bacillus subtilis Species 0.000 description 2
- 235000014469 Bacillus subtilis Nutrition 0.000 description 2
- 241000190950 Rhodopseudomonas palustris Species 0.000 description 2
- 240000004808 Saccharomyces cerevisiae Species 0.000 description 2
- 238000010276 construction Methods 0.000 description 2
- 238000004042 decolorization Methods 0.000 description 2
- 238000010586 diagram Methods 0.000 description 2
- 239000003344 environmental pollutant Substances 0.000 description 2
- 239000012535 impurity Substances 0.000 description 2
- 239000010842 industrial wastewater Substances 0.000 description 2
- 235000014655 lactic acid Nutrition 0.000 description 2
- 239000004310 lactic acid Substances 0.000 description 2
- 230000001546 nitrifying effect Effects 0.000 description 2
- 239000002245 particle Substances 0.000 description 2
- 231100000719 pollutant Toxicity 0.000 description 2
- 230000035484 reaction time Effects 0.000 description 2
- 230000000717 retained effect Effects 0.000 description 2
- 239000007787 solid Substances 0.000 description 2
- 239000004753 textile Substances 0.000 description 2
- 238000000108 ultra-filtration Methods 0.000 description 2
- ZAMOUSCENKQFHK-UHFFFAOYSA-N Chlorine atom Chemical compound [Cl] ZAMOUSCENKQFHK-UHFFFAOYSA-N 0.000 description 1
- 239000005708 Sodium hypochlorite Substances 0.000 description 1
- QVGXLLKOCUKJST-UHFFFAOYSA-N atomic oxygen Chemical compound [O] QVGXLLKOCUKJST-UHFFFAOYSA-N 0.000 description 1
- 230000003851 biochemical process Effects 0.000 description 1
- 238000005842 biochemical reaction Methods 0.000 description 1
- 238000004364 calculation method Methods 0.000 description 1
- 239000000460 chlorine Substances 0.000 description 1
- 229910052801 chlorine Inorganic materials 0.000 description 1
- 230000007613 environmental effect Effects 0.000 description 1
- 230000003203 everyday effect Effects 0.000 description 1
- 230000002401 inhibitory effect Effects 0.000 description 1
- 238000009434 installation Methods 0.000 description 1
- 239000000543 intermediate Substances 0.000 description 1
- 238000011835 investigation Methods 0.000 description 1
- 239000007788 liquid Substances 0.000 description 1
- 238000001471 micro-filtration Methods 0.000 description 1
- 229910052760 oxygen Inorganic materials 0.000 description 1
- 239000001301 oxygen Substances 0.000 description 1
- 230000000149 penetrating effect Effects 0.000 description 1
- 239000000049 pigment Substances 0.000 description 1
- 238000002360 preparation method Methods 0.000 description 1
- 238000012545 processing Methods 0.000 description 1
- 230000002829 reductive effect Effects 0.000 description 1
- 230000008929 regeneration Effects 0.000 description 1
- 238000011069 regeneration method Methods 0.000 description 1
- 238000011160 research Methods 0.000 description 1
- 238000001223 reverse osmosis Methods 0.000 description 1
- 238000004062 sedimentation Methods 0.000 description 1
- SUKJFIGYRHOWBL-UHFFFAOYSA-N sodium hypochlorite Chemical compound [Na+].Cl[O-] SUKJFIGYRHOWBL-UHFFFAOYSA-N 0.000 description 1
- 238000012360 testing method Methods 0.000 description 1
- 239000002699 waste material Substances 0.000 description 1
Images
Classifications
-
- Y—GENERAL TAGGING OF NEW TECHNOLOGICAL DEVELOPMENTS; GENERAL TAGGING OF CROSS-SECTIONAL TECHNOLOGIES SPANNING OVER SEVERAL SECTIONS OF THE IPC; TECHNICAL SUBJECTS COVERED BY FORMER USPC CROSS-REFERENCE ART COLLECTIONS [XRACs] AND DIGESTS
- Y02—TECHNOLOGIES OR APPLICATIONS FOR MITIGATION OR ADAPTATION AGAINST CLIMATE CHANGE
- Y02W—CLIMATE CHANGE MITIGATION TECHNOLOGIES RELATED TO WASTEWATER TREATMENT OR WASTE MANAGEMENT
- Y02W10/00—Technologies for wastewater treatment
- Y02W10/10—Biological treatment of water, waste water, or sewage
Landscapes
- Separation Using Semi-Permeable Membranes (AREA)
- Activated Sludge Processes (AREA)
Abstract
本实用新型公开了一种应用微生物技术深度处理印染废水的一体化设备,包括调节池、膜-生物反应器和过滤系统,所述的调节池一侧侧壁上设有入水管,另一侧侧壁上设有出水口,调节池通过出水口与膜-生物反应器相通;所述的膜-生物反应器通过管道和电泵与过滤系统连通;调节池内设有两排格栅,其中一排格栅靠近调节池的出水口,其格栅间距小于另一排格栅,两排格栅之间设有搅拌器和污泥泵,污泥泵设在调节池底部;过滤系统包括由通过水管依次串联的微滤器、活性炭过滤器和超滤器,其中微滤器和电泵连通,超滤器和出水管连通。采用一体化设备,可直接安装,具有结构紧凑,占地面积小,易操作、自动化程度高,运行费用低,管理方便等特点。
Description
技术领域
本实用新型专利属于环境保护领域,具体的说涉及一种应用微生物技术深度处理印染废水的一体化设备,利用本技术深度处理印染废水,做到全部回用。
背景技术
我国是纺织大国,印染行业每天有400多万吨的废水排放,占工业废水的1/10,且每年要耗用100多亿吨清洁水,是我国用水量大、排放量大的工业之一。按1吨印染废水污染20吨清洁水体计算,每年未达标排放的废水又会污染清洁水150亿吨。印染废水具有“高浓度、高色度、高pH值、难降解和多变化”等五大特征,其处理难度主要集中在以下两个方面:一是COD(化学需氧量)难以降低加工生产中运用的助剂(渗透剂、助染剂等),95%以上滞留在印染废水中,造成COD浓度高。染料废水中的污染物以有机物为主,理论上大部分可生化,但其水质BOD与COD比值一般较低,因此可生化而又不易生化。如何提高COD去除率,是印染废水亟待解决的难题之一。印染废水中还有一些有机物质,无论其对微生物有无抑制作用,都不能被微生物摄食。而在实际生产运行中,这类有机物质经多次生化仍难以大量去除,净化后的COD值仍然较高。我国科技工作者在对江、浙、沪、闽、鲁和粤等主要纺织地区调研过程中发现,目前国内大部分印染企业为提高COD去除率,通常采用增加絮凝和生化反应时间的方法,即所谓“生化再生化”、“絮凝再絮凝”。这将导致污水处理工程占地面积大、流程长、工程费用高,而处理效果也难以令人满意。二是高色度废水难以脱色,近年来,国内外对染料、颜料类工业废水的脱色方法进行了大量技术研究,总结出了许多行之有效的脱色技术,如絮凝法、吸附法、氯气和次氯酸钠法等。这些技术针对性较强,对不同的废水处理都能取得一定的效果。但是,由于印染废水中含有的染料及其中间体品种多、类别复杂,在处理上有相当难度。加之国产染料上染率较低,印染生产企业一般都会超量投加,导致染色后剩余染料较多,不但造成资源浪费,而且产污量比发达国家多近一倍,加剧了废水污染的程度。针对传统污水处理设备施工周期长,调试复杂的劣势,结构庞大的技术问题,需要提供一种新的深度处理印染废水的一体化设备。
实用新型内容
本实用新型的目的在于解决印染废水难处理的问题,提供一种应用微生物技术深度处理 印染废水的一体化设备,具有有机物去除率高,体积小等特征,结合现有膜-生物反应器,通过投加特效微生物制剂,提高生物降解能力,并结合过滤系统,达到废水完全回用的目的,设备出水水质达到《城镇污水处理厂污染物排放标准》(GB18918-2002)一级标准A标准,即回用标准。
本实用新型的目的可以通过以下技术方案实现:
一种应用微生物技术深度处理印染废水的一体化设备,包括调节池、膜-生物反应器和过滤系统,所述的调节池一侧侧壁上设有入水管,另一侧侧壁上设有出水口,调节池通过出水口与膜-生物反应器相通;所述的膜-生物反应器通过管道和泵与过滤系统连通,其在于所述的调节池内设有格栅一和格栅二,格栅二靠近调节池的出水口,格栅二的格栅间距小于格栅一,格栅一和格栅二之间设有搅拌器和污泥泵,所述的污泥泵设在调节池底部;所述的过滤系统包括由通过水管依次串联的微滤器、活性炭过滤器和超滤器,其中微滤器和电泵连通,超滤器和出水管连通。
印染废水由入水管进入调节池内,然后通过格栅间距较大的格栅对印染废水进行初步过滤除去颗粒较大的杂质,再由格栅间距相对较小的格栅对印染废水进行进一步过滤。将调节池内印染废水的pH调节至6.5~8.0之间后,通过出水口20进入膜-生物反应器8内,并投加高效微生物进行处理。膜-生物反应器是现代膜分离技术与生物技术有机结合的新型废水处理技术。它利用膜分离设备将印染废水中的活性污泥和大分子有机物质有效截留,利用微生物将难降解的大分子有机物质截留在反应器中不断反应和降解。通过膜-生物反应器处理后的印染废水通过管道由电泵泵入过滤系统,进行微滤、活性炭吸附、超滤三个步骤的过滤,经过过滤系统处理的废水经检测已达到回收利用的标准,由出水管流出。
上述应用微生物技术深度处理印染废水的一体化设备,其在于所述调节池上部还设有pH自动检测仪和自动加药器。实现调节池内pH调节的自动化,调节pH所用药剂为固态FeSO4,调节池内的印染废水的pH调节至6.5~8.0之间。
上述应用微生物技术深度处理印染废水的一体化设备,其在于所述入水管和出水口分别设在调节池侧壁的上部。
上述应用微生物技术深度处理印染废水的一体化设备,其在于所述的格栅一和格栅二可以垂直调节池底面平行设置,也可以斜向平行设置。
上述应用微生物技术深度处理印染废水的一体化设备,其在于所述格栅一的格栅间距为5~10mm,所述的格栅二的格栅间距为1mm。
上述应用微生物技术深度处理印染废水的一体化设备,其在于所述膜-生物反应器内设 有组合式纤维填料、多个膜组件、污泥泵和微孔曝气管,污泥泵和微孔曝气管设在膜-生物反应器的底部;所述组合式纤维填料固定在填料架上,均匀分布在整个膜-生物反应器中,所述膜组件平行设置,其一端分别和所述的管道连通。膜-生物反应器内水质净化所投加的微生物主要包括但不限于枯草芽孢杆菌、沼泽红假单胞菌、酵母菌、乳酸菌、反硝化细菌、硝化细菌、放线菌等;组合式纤维填料用于附着投入膜-生物反应器内的微生物。
上述应用微生物技术深度处理印染废水的一体化设备,其特征在于:所述膜组件采用改性聚丙烯腈内压中空纤维膜,所述中空纤维膜内径为0.6~2.0mm,外径为1~3.2mm。
与现有技术相比,本实用新型的优势在于以下几点:
(1)采用一体化设备,直接现场安装,避免了传统污水处理站施工周期长,调试复杂的劣势,具有结构紧凑,占地面积小,易操作、自动化程度高,运行费用低,管理方便等特点;
(2)在膜-生物反应器中投加优势菌种,提高反应器的效率,缩短反应时间,减少污泥的排放;
(3)采用改性聚丙烯腈内压中空纤维膜,提高了固液分离的效率,在同样有机物负荷下,对有机物去除率高,出水水质好,无须沉淀池,减少了整个设备的占地面积。
(4)由于膜的高效截留作用,可以有效的截留微生物留在反应池,使得生物反应顺利进行;同时截留一些难以降解的大分子有机物,延长其在池内的停留时间,提高设备的抗负荷能力。
(5)最后一道工序应用超滤、活性炭吸附、反渗透等手段,保证了出水的稳定,满足了印染工艺对水质较高的要求,做到所有废水完全回用,达到零排放的目的,杜绝了印染行业废水对环境的污染。
附图说明
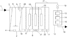
图1为采用本实用新型所述的一体化设备对印染水进行净化处理的工艺流程图。
图2为本实用新型的设备的剖面结构示意简图。
具体实施方式
下面结合具体的实施例对本实用新型作进一步详细说明:
如图2为应用微生物技术深度处理印染废水的一体化设备剖面结构示意简图,该设备包括调节池2、膜-生物反应器8和过滤系统12,所述的调节池2一侧侧壁上设有入水管1,另一侧侧壁上设有出水口20,入水管1和出水口20分别设在调节池2侧壁的上部。调节池2 通过出水口20与膜-生物反应器8相通;所述的膜-生物反应器8通过管道21和电泵19与过滤系统12连通。
所述的调节池2内设有格栅一3和格栅二18,格栅一3和格栅二18可以垂直调节池2底面平行设置,也可以斜向平行设置。格栅二18靠近调节池2的出水口20,格栅二18的格栅间距小于格栅一3,格栅一3的格栅间距为5~10mm,所述格栅二18的格栅间距为1mm。格栅一3和格栅二18之间设有搅拌器5和污泥泵4,所述的污泥泵4设在调节池2底部;作为一种优选方案:调节池2上部还设有pH自动检测仪7和自动加药器(6)。实现调节池内pH调节的自动化,调节pH所用药剂为固态FeSO4,调节池内的印染废水的pH调节至6.5~8.0之间。
所述的过滤系统12包括由通过水管依次串联的微滤器13、活性炭过滤器14和超滤器15,其中微滤器13和电泵19连通,超滤器15和出水管16连通。
所述膜-生物反应器8内设有组合式纤维填料10、多个膜组件9、污泥泵17和微孔曝气管11,污泥泵17和微孔曝气管11设在膜-生物反应器8的底部;所述组合式纤维填料10固定在填料架22上,均匀分布在整个膜-生物反应器8中,所述膜组件9平行设置,其一端分别和管道21连通。膜组件采用改性聚丙烯腈内压中空纤维膜,所述中空纤维膜内径为0.6~2.0mm,外径为1~3.2mm。
如图1为采用本实用新型所述的一体化设备对印染水进行净化处理的工艺流程图。其工作过程为:印染废水由入水管1进入调节池2内,然后通过较大格栅间距的格栅一3对印染废水进行初步过滤除去颗粒较大的杂质,再有格栅间距相对较小的格栅二18对印染废水进行进一步过滤。将调节池2内印染废水的pH调节至6.5~8.0之间后,通过出水口20进入膜-生物反应器8内,并投加高效微生物进行处理。膜-生物反应器8是现代膜分离技术与生物技术有机结合的新型废水处理技术。它利用膜分离设备将印染废水中的活性污泥和大分子有机物质有效截留,将难降解的大分子有机物质截留在反应器中不断反应和降解。通过膜-生物反应器8处理后的印染废水通过膜组件9和管道21由电泵19泵入过滤系统12,依次经过微滤器13、活性炭过滤器14和超滤器15进行过滤,经过过滤系统的废水经检测已达到回收利用的标准,由出水管16流出进行循环利用。
膜-生物反应器内水质净化所投加的微生物主要包括但不限于枯草芽孢杆菌、沼泽红假单胞菌、酵母菌、乳酸菌、反硝化细菌、硝化细菌、放线菌等;组合式纤维填料用于附着投入膜-生物反应器内的微生物。
Claims (7)
1.一种应用微生物技术深度处理印染废水的一体化设备,包括调节池(2)、膜-生物反应器(8)和过滤系统(12),所述的调节池(2)一侧侧壁上设有入水管(1),另一侧侧壁上设有出水口(20),调节池(2)通过出水口(20)与膜-生物反应器(8)相通;所述的膜-生物反应器(8)通过管道(21)和电泵(19)与过滤系统(12)连通,其特征在于所述的调节池(2)内设有格栅一(3)和格栅二(18),格栅二(18)靠近调节池(2)的出水口(20),格栅二(18)的格栅间距小于格栅一(3),格栅一(3)和格栅二(18)之间设有搅拌器(5)和污泥泵(4),所述的污泥泵(4)设在调节池(2)底部;所述的过滤系统(12)包括由通过水管依次串联的微滤器(13)、活性炭过滤器(14)和超滤器(15),其中微滤器(13)和电泵(19)连通,超滤器(15)和出水管(16)连通。
2.根据权利要求1所述应用微生物技术深度处理印染废水的一体化设备,其特征在于所述调节池(2)上部还设有pH自动检测仪(7)和自动加药器(6)。
3.根据权利要求1所述应用微生物技术深度处理印染废水的一体化设备,其特征在于所述入水管(1)和出水口(20)分别设在调节池(2)侧壁的上部。
4.根据权利要求1所述应用微生物技术深度处理印染废水的一体化设备,其特征在于所述的格栅一(3)和格栅二(18)可以垂直调节池(2)底面平行设置,也可以斜向平行设置。
5.根据权利要求1或4所述应用微生物技术深度处理印染废水的一体化设备,其特征在于:所述格栅一(3)的格栅间距为5~10mm,所述格栅二(18)的格栅间距为1mm。
6.根据权利要求1所述应用微生物技术深度处理印染废水的一体化设备,其特征在于:所述膜-生物反应器(8)内设有组合式纤维填料(10)、多个膜组件(9)、污泥泵(17)和微孔曝气管(11),污泥泵(17)和微孔曝气管(11)设在膜-生物反应器(8)的底部;所述组合式纤维填料(10)固定在填料架(22)上,均匀分布在整个膜-生物反应器(8)中,所述膜组件(9)平行设置,其一端分别和管道(21)连通。
7.根据权利要求6所述应用微生物技术深度处理印染废水的一体化设备,其特征在于:所述膜组件采用改性聚丙烯腈内压中空纤维膜,所述中空纤维膜内径为0.6~2.0mm,外径为1~3.2mm。
Priority Applications (1)
| Application Number | Priority Date | Filing Date | Title |
|---|---|---|---|
| CN2011201825094U CN202089871U (zh) | 2011-06-01 | 2011-06-01 | 一种应用微生物技术深度处理印染废水的一体化设备 |
Applications Claiming Priority (1)
| Application Number | Priority Date | Filing Date | Title |
|---|---|---|---|
| CN2011201825094U CN202089871U (zh) | 2011-06-01 | 2011-06-01 | 一种应用微生物技术深度处理印染废水的一体化设备 |
Publications (1)
| Publication Number | Publication Date |
|---|---|
| CN202089871U true CN202089871U (zh) | 2011-12-28 |
Family
ID=45364952
Family Applications (1)
| Application Number | Title | Priority Date | Filing Date |
|---|---|---|---|
| CN2011201825094U Expired - Lifetime CN202089871U (zh) | 2011-06-01 | 2011-06-01 | 一种应用微生物技术深度处理印染废水的一体化设备 |
Country Status (1)
| Country | Link |
|---|---|
| CN (1) | CN202089871U (zh) |
Cited By (4)
| Publication number | Priority date | Publication date | Assignee | Title |
|---|---|---|---|---|
| CN102863124A (zh) * | 2012-09-29 | 2013-01-09 | 江南大学 | 一种化学强化mbr深度处理印染废水的方法 |
| CN105565526A (zh) * | 2015-12-17 | 2016-05-11 | 宜兴市东方水设备有限公司 | 一种船用生活污水调节箱 |
| CN105585159A (zh) * | 2015-12-17 | 2016-05-18 | 宜兴市东方水设备有限公司 | 一种御寒船用生活污水调节箱 |
| CN107445412A (zh) * | 2017-09-21 | 2017-12-08 | 上海川鼎国际贸易有限公司 | 一种印刷混合废水综合处理回用系统及其使用方法 |
-
2011
- 2011-06-01 CN CN2011201825094U patent/CN202089871U/zh not_active Expired - Lifetime
Cited By (4)
| Publication number | Priority date | Publication date | Assignee | Title |
|---|---|---|---|---|
| CN102863124A (zh) * | 2012-09-29 | 2013-01-09 | 江南大学 | 一种化学强化mbr深度处理印染废水的方法 |
| CN105565526A (zh) * | 2015-12-17 | 2016-05-11 | 宜兴市东方水设备有限公司 | 一种船用生活污水调节箱 |
| CN105585159A (zh) * | 2015-12-17 | 2016-05-18 | 宜兴市东方水设备有限公司 | 一种御寒船用生活污水调节箱 |
| CN107445412A (zh) * | 2017-09-21 | 2017-12-08 | 上海川鼎国际贸易有限公司 | 一种印刷混合废水综合处理回用系统及其使用方法 |
Similar Documents
| Publication | Publication Date | Title |
|---|---|---|
| CN101337750B (zh) | 一种造纸废水回用综合处理方法 | |
| CN201864630U (zh) | 一种印染废水处理零排放装置 | |
| CN101088941A (zh) | 基于膜集成技术处理造纸废水及回用的工艺方法 | |
| CN102107958A (zh) | 一种炼油污水的深度处理及回用方法及配套装置 | |
| CN104030517B (zh) | 焦化废水的深度处理回收工艺 | |
| CN202089871U (zh) | 一种应用微生物技术深度处理印染废水的一体化设备 | |
| CN110104908A (zh) | 一种发制品废水高效脱氮系统及高效脱氮工艺 | |
| CN102491560B (zh) | 用于维生素c二级生化出水处理及回用的方法及系统 | |
| CN202610021U (zh) | 一种外置式厌氧膜生物反应器 | |
| CN105152494A (zh) | 印染业废水处理方法及装置 | |
| CN108249700B (zh) | 漂染废水处理系统及应用该系统的漂染废水处理工艺 | |
| CN110697929A (zh) | 一种羟基自由基活性氧处理黑臭水体的方法 | |
| KR20200000056A (ko) | 세라믹 분리막을 이용한 가축분뇨, 축산폐수 또는 축산세척수의 처리방법 및 처리장치 | |
| CN1448342A (zh) | 一种循环冷却水的处理方法 | |
| CN202988930U (zh) | 印染废水回用处理系统 | |
| CN119191421A (zh) | 一种半导体工业废水处理设备及处理方法 | |
| CN106186322A (zh) | 一种低能耗管式膜处理垃圾渗滤液装置 | |
| CN213231778U (zh) | 一种河道污水处理再生循环系统 | |
| CN201031170Y (zh) | 两级过滤膜生物反应器 | |
| CN212403883U (zh) | 一种废水处理设备 | |
| CN205473253U (zh) | 一种制药污水处理装置 | |
| CN211004979U (zh) | 一种纺织印染污水深度处理系统 | |
| CN209740918U (zh) | 一种垃圾渗滤液零排放处理装置 | |
| CN208218511U (zh) | 高浓度污水的处理装置 | |
| CN201319030Y (zh) | 一种用于多组膜-生物反应器性能测试平台 |
Legal Events
| Date | Code | Title | Description |
|---|---|---|---|
| C14 | Grant of patent or utility model | ||
| GR01 | Patent grant | ||
| CX01 | Expiry of patent term | ||
| CX01 | Expiry of patent term |
Granted publication date: 20111228 |