CN201754635U - 短网 - Google Patents

短网 Download PDF

Info

Publication number
CN201754635U
CN201754635U CN2010202955029U CN201020295502U CN201754635U CN 201754635 U CN201754635 U CN 201754635U CN 2010202955029 U CN2010202955029 U CN 2010202955029U CN 201020295502 U CN201020295502 U CN 201020295502U CN 201754635 U CN201754635 U CN 201754635U
Authority
CN
China
Prior art keywords
water
cooled cable
copperhead
short net
transformer
Prior art date
Legal status (The legal status is an assumption and is not a legal conclusion. Google has not performed a legal analysis and makes no representation as to the accuracy of the status listed.)
Expired - Fee Related
Application number
CN2010202955029U
Other languages
English (en)
Inventor
王宏志
Current Assignee (The listed assignees may be inaccurate. Google has not performed a legal analysis and makes no representation or warranty as to the accuracy of the list.)
BEIJING DEMAO WIRE ROD Co Ltd
Original Assignee
BEIJING DEMAO WIRE ROD Co Ltd
Priority date (The priority date is an assumption and is not a legal conclusion. Google has not performed a legal analysis and makes no representation as to the accuracy of the date listed.)
Filing date
Publication date
Application filed by BEIJING DEMAO WIRE ROD Co Ltd filed Critical BEIJING DEMAO WIRE ROD Co Ltd
Priority to CN2010202955029U priority Critical patent/CN201754635U/zh
Application granted granted Critical
Publication of CN201754635U publication Critical patent/CN201754635U/zh
Anticipated expiration legal-status Critical
Expired - Fee Related legal-status Critical Current

Links

Images

Landscapes

  • Insulated Conductors (AREA)

Abstract

本实用新型公开了一种短网,包括变压器(1)、移动集电环(4)和电极(5),墙体(6)上设有水冷电缆固定架(2),一体化水冷电缆(3)的一端贯穿于水冷电缆固定架(2)与变压器(1)连接,另一端与移动集电环(4)连接,移动集电环(4)通过铜管(8)和电极(5)连接。本实用新型不但能够解决短网损耗电压严重的问题,还能够极大的节省资源,并且带来巨大的经济效益。

Description

短网
技术领域
本实用新型涉及一种短网,特别是一种节省电能的短网。
背景技术
现有技术中所使用的电石炉短网系统均设有水冷补偿器、边相铜管和中相铜管,在实际应用中短网的长度越长,系统阻抗就越大,二次电压下降的就越多,因此现有技术中在短网上浪费的的电能非常大。设有水冷补偿器、边相铜管和中相铜管的短网系统需要使用大量的接头,接头越多,产生的电磁干扰越强,接触电阻越大,随之系统阻抗也会增大,这样就会造成极大的资源浪费。
中国实用新型说明书ZL200820237687.0公布了一种短网,针对现有技术中的不足进行了改进,然而这种短网仅仅是对中相铜管和边相铜管形状的改进,使铜管的散热好,铜管散热越好铜管的电阻就越小,浪费的电能就越少,但是这种结构仅仅是减少电能的浪费,并不能完全解决电能在短网上的消耗。
实用新型内容
本实用新型的目的在于,提供一种短网。它不但能够解决短网损耗电能严重的问题,还能够极大的节省资源,并且能带来巨大的经济效益。
本实用新型的技术方案:一种短网,包括变压器、移动集电环和电极,墙体上设有水冷电缆固定架,一体化水冷电缆的一端贯穿于水冷电缆固定架与变压器连接,另一端与移动集电环连接,移动集电环通过铜管和电极连接。取消了水冷电缆补偿器、中相铜管和边相铜管直接使用一体化水冷电缆连接变压器和移动集电环,彻底解决了电能在水冷电缆补偿器和中相铜管及边相铜管上的浪费。
前述的短网中,一体化水冷电缆包括锁紧螺母、锁紧环、铜头一和铜头二,一体化水冷电缆的一端设有铜头一,铜头一内部设有2个密封圈,外部设有锁紧环和锁紧螺母,铜头一通过锁紧环和锁紧螺母固定在变压器上;一体化水冷电缆的另一端设有铜头二,铜头二焊接在移动集电环上。通过对水冷电缆两端接头的改造就不需要使用补偿器来进行位置补偿,这样减少了很多的接头,使接触电阻降低。
前述的短网中,一体化水冷电缆表面设有橡胶管,橡胶管的两端设有不锈钢卡带。设置橡胶管为了保护一体化水冷电缆。
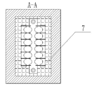
前述的短网中,在水冷电缆固定架四周的墙体内设有竹筋。用竹筋取代现有技术中的钢筋结构有效的防止了水冷的四周产生磁场。
与现有技术相比,本实用新型取消了中相铜管、边相铜管和补偿器由一体化水冷电缆代替,彻底解决了电能在中相铜管、边相铜管和补偿器上的损耗。采用本实用新型的结构减少了接头数量,不但降低了接触电阻和系统阻抗,而且使电流密度均匀。加上耐高温的绝缘外套,合理的排列规则,减少并降低了短网系统的集肤效应与自感互感系数,大大降低了电力的损失。由于采用通体水冷电缆使短网系统结构更加紧凑与优化,节省了大量的有色金属材料铜管及其制作费用,同时也节省了大量的不锈钢吊挂,节省了大量的资源。
根据发明人的研究得出了下列结论:
通过研究发现短网每增加一米,二次电压下降0.5V则:
ΔV=(11.6-5.7)·0.5=2.95V
以25000KVA电石炉为例计算,将减少电压下降损耗:
V2=187V   I2=77188A  压差△V=2.95V
P原=I2·V2·√3=25000KVA
P现=I2·(V2-△V) √3=24605KVA
功率损失P=P原-P现=395KVA
每小时损失电能=395kw/h
每天损失电能=395kw/h·24=9360kw/h
每年以300天为基准计算损失电能=9360kw/h·300天=2808000kw/h  经济损失 2808000kw/h·0.40元=112.32万元
按以上公式计算33000KVA电炉可节约能源
395kw/h÷25000KVA·33000KVA=每小时节约电能521.4kw/h每天节约电能=521.4kw/h·24=12513.6kw/h
每年以300天为基准计算节约电能=3754080kw/h
经济效益 3754080kw/h·0.40元=150.16万元
由上面的研究数据可以看出,采用本实用新型的结构不但节省资源而且节省了大量的电能,并带来了巨大的经济效益。
附图说明
图1是本实用新型的结构示意图;
图2是竹筋的结构示意图;
图3是一体化水冷电缆的结构示意图。
附图中的标记为:1-变压器,2-水冷电缆固定架,3-一体化水冷电缆,4-移动集电环,5-电极,6-墙体,7-竹筋,8-铜管,9-锁紧螺母,10-锁紧环,11-密封圈,12-铜头一,13-橡胶管,14-不锈钢卡带,15-铜头二。
具体实施方式
下面结合附图和实施例对本实用新型作进一步的说明。
本实用新型的实施例:短网,包括变压器1、移动集电环4和电极5,墙体6上设有水冷电缆固定架2,一体化水冷电缆3的一端贯穿于水冷电缆固定架2与变压器1连接,另一端与移动集电环4连接,移动集电环4通过铜管8和电极5连接。一体化水冷电缆3包括锁紧螺母9、锁紧环10、铜头一12和铜头二15,一体化水冷电缆3的一端设有铜头一12,铜头一12内部设有密封圈11,外部设有锁紧环10和锁紧螺母9,铜头一12插入变压器1,采用两道密封圈11密封,通过不锈钢螺母9对铜头一12压紧完成连接,该连接方式接触面大导电性能好,冷却水密封性能强,安装调试简便;一体化水冷电缆3的另一端设有铜头二15,铜头二15和移动集电环4通过螺栓连接后,焊接在一起,新颖的连接方式使短网各部接触良好,清洁、无氧化、不易松动,其接触电阻小,电能的有效利用率高。一体化水冷电缆3表面设有橡胶管13,橡胶管13的两端设有不锈钢卡带14。在水冷电缆固定架2四周的墙体6内设有竹筋7。

Claims (4)

1.一种短网,包括变压器(1)、移动集电环(4)和电极(5),其特征在于:墙体(6)上设有水冷电缆固定架(2),一体化水冷电缆(3)的一端贯穿于水冷电缆固定架(2)与变压器(1)连接,另一端与移动集电环(4)连接,移动集电环(4)通过铜管(8)和电极(5)连接。
2.根据权利要求1所述的短网,其特征在于:一体化水冷电缆(3)包括锁紧螺母(9)、锁紧环(10)、铜头一(12)和铜头二(15),一体化水冷电缆(3)的一端设有铜头一(12),铜头一(12)内部设有2个密封圈(11),外部设有锁紧环(10)和锁紧螺母(9),铜头一(12)通过锁紧环(10)和锁紧螺母(9)固定在变压器(1)上;一体化水冷电缆(3)的另一端设有铜头二(15),铜头二(15)焊接在移动集电环(4)上。
3.根据权利要求1或2所述的短网,其特征在于:一体化水冷电缆(3)表面设有橡胶管(13),橡胶管(13)的两端设有不锈钢卡带(14)。
4.根据权利要求1所述的短网,其特征在于:在水冷电缆固定架(2)四周的墙体(6)内设有竹筋(7)。
CN2010202955029U 2010-08-18 2010-08-18 短网 Expired - Fee Related CN201754635U (zh)

Priority Applications (1)

Application Number Priority Date Filing Date Title
CN2010202955029U CN201754635U (zh) 2010-08-18 2010-08-18 短网

Applications Claiming Priority (1)

Application Number Priority Date Filing Date Title
CN2010202955029U CN201754635U (zh) 2010-08-18 2010-08-18 短网

Publications (1)

Publication Number Publication Date
CN201754635U true CN201754635U (zh) 2011-03-02

Family

ID=43622366

Family Applications (1)

Application Number Title Priority Date Filing Date
CN2010202955029U Expired - Fee Related CN201754635U (zh) 2010-08-18 2010-08-18 短网

Country Status (1)

Country Link
CN (1) CN201754635U (zh)

Similar Documents

Publication Publication Date Title
CN204407893U (zh) 用于户外柱上的谐波无功补偿装置
CN111768939A (zh) 一种满足大容量输电线路用的盆式绝缘子浇筑及组件
CN104037717A (zh) 相变控温式高压电缆中间接头连接管
CN201754635U (zh) 短网
CN203103534U (zh) 配电变压器套管引线螺杆与线路导线连接线夹
CN109243728B (zh) 一种直流气体绝缘金属封闭输电线路绝缘子
CN203983937U (zh) 相变控温式高压电缆中间接头连接管
CN211624558U (zh) 一种油田用新型防蜡除蜡柔性复合管
CN210860245U (zh) 一种高效伴热管
CN202094580U (zh) 一种新型鼠笼式刚性跳线端部用跳线悬垂线夹
CN202633874U (zh) 可切换交流电与直流电的融冰系统
CN212648978U (zh) 一种输配电设备中铜铝界面合金线路的保护结构
CN202190076U (zh) 综合节电器
CN206472046U (zh) 一种应用于生箔机的分体式高频逆变直流电源
CN215479750U (zh) 一种锂电池负极材料石墨化提纯装置
CN201985269U (zh) 一种预紧式管型绝缘母线接头
CN208489369U (zh) 电气设备接地装置
CN106786709A (zh) 一种柔性直流换流站主接线优化配置方法
CN206401156U (zh) 一种基于线性度控制的高压干式空心串联电抗器
CN217441953U (zh) 一种利用太阳能预热的油井产液温控加热系统
CN202067909U (zh) 一种开关柜小母线连接结构
CN206806238U (zh) 一种使用寿命长的碟片焊接波纹管
CN202434286U (zh) 干式空心电抗器围栏构架连接隔板
CN202834577U (zh) 一种改进的用于石油开采的管道
CN215856431U (zh) 电解槽母排发热改进装置

Legal Events

Date Code Title Description
C14 Grant of patent or utility model
GR01 Patent grant
CF01 Termination of patent right due to non-payment of annual fee

Granted publication date: 20110302

Termination date: 20160818

CF01 Termination of patent right due to non-payment of annual fee