CN201636902U - 生物质热水炊事炉具 - Google Patents

生物质热水炊事炉具 Download PDF

Info

Publication number
CN201636902U
CN201636902U CN2010201302379U CN201020130237U CN201636902U CN 201636902 U CN201636902 U CN 201636902U CN 2010201302379 U CN2010201302379 U CN 2010201302379U CN 201020130237 U CN201020130237 U CN 201020130237U CN 201636902 U CN201636902 U CN 201636902U
Authority
CN
China
Prior art keywords
furnace
hearth
hot water
cooking stove
biomass hot
Prior art date
Legal status (The legal status is an assumption and is not a legal conclusion. Google has not performed a legal analysis and makes no representation as to the accuracy of the status listed.)
Expired - Fee Related
Application number
CN2010201302379U
Other languages
English (en)
Inventor
高海华
蒋矩乐
岳月华
Current Assignee (The listed assignees may be inaccurate. Google has not performed a legal analysis and makes no representation or warranty as to the accuracy of the list.)
HENAN JUFENG BIO-ENERGY DEVELOPMENT Co Ltd
Original Assignee
Individual
Priority date (The priority date is an assumption and is not a legal conclusion. Google has not performed a legal analysis and makes no representation as to the accuracy of the date listed.)
Filing date
Publication date
Application filed by Individual filed Critical Individual
Priority to CN2010201302379U priority Critical patent/CN201636902U/zh
Application granted granted Critical
Publication of CN201636902U publication Critical patent/CN201636902U/zh
Anticipated expiration legal-status Critical
Expired - Fee Related legal-status Critical Current

Links

Images

Classifications

    • YGENERAL TAGGING OF NEW TECHNOLOGICAL DEVELOPMENTS; GENERAL TAGGING OF CROSS-SECTIONAL TECHNOLOGIES SPANNING OVER SEVERAL SECTIONS OF THE IPC; TECHNICAL SUBJECTS COVERED BY FORMER USPC CROSS-REFERENCE ART COLLECTIONS [XRACs] AND DIGESTS
    • Y02TECHNOLOGIES OR APPLICATIONS FOR MITIGATION OR ADAPTATION AGAINST CLIMATE CHANGE
    • Y02BCLIMATE CHANGE MITIGATION TECHNOLOGIES RELATED TO BUILDINGS, e.g. HOUSING, HOUSE APPLIANCES OR RELATED END-USER APPLICATIONS
    • Y02B40/00Technologies aiming at improving the efficiency of home appliances, e.g. induction cooking or efficient technologies for refrigerators, freezers or dish washers

Landscapes

  • Solid-Fuel Combustion (AREA)

Abstract

本实用涉及一种生物质热水炊事炉具;包括由带有进水口和出水口的水箱构成的炉体、设置在炉体中的炉膛、开设在炉体上通向炉膛的加料口、开设在炉体下部通向炉膛的出灰口、与炉膛相接通的排烟口、以及设置在炉体底部通过管道与炉膛相连通的风机,炉体上部设置有面板,面板上开有开口,在该开口上盖有炉盘,炉膛通过二次加氧腔分为下部的一次燃烧室和上部的二次燃烧室,一次燃烧室和二次燃烧室之间为由二次加氧腔构成的二次燃烧的炉口,在该炉口处的二次加氧腔上开有出气燃烧孔;风机上安装有与炉膛相连通的炉膛加氧管以及与二次加氧腔相连通的二次加氧导管;二次加氧充分燃烧、燃尽,即可炊事又可出热水,提高了热能利用率,结构简单实用。

Description

生物质热水炊事炉具
技术领域
本实用涉及一种生物质能源综合利用领域,尤其涉及一种进行能源高效利用的生物质热水炊事炉具。
背景技术
目前,市场使用的炊事炉具主要燃料是生物质和煤,约占40%。其余为型煤、石油气、电等。燃料均以直接燃烧的方式转换成热能。不仅造成燃料大量的浪费,而且还造成严重的空气污染。随着农村的城镇化建设和农民生活水平的提高,传统的炊事炉具和其低效的燃烧方式已经不能满足需要,提出了更高要求,希望提供和使用更洁净、方便、价廉、造型美观的炉灶。
发明内容
本实用的目的在于克服现有技术中存在的不足而提供一种不仅能拥有传统炊事炉的热能,而且还解决了无烟化燃烧,直接节能30%以上能源的生物质热水炊事炉具。
本实用解决其技术问题的方案是这样实现的:一种生物质热水炊事炉具,包括由带有进水口和出水口的水箱构成的炉体、设置在炉体中的炉膛、开设在炉体上通向炉膛的加料口、开设在炉体下部通向炉膛的出灰口、与炉膛相接通的排烟口、以及设置在炉体底部通过管道与炉膛相连通的风机,其特征在于:炉体上部设置有面板,面板上开有开口,在该开口上盖有炉盘,炉膛通过二次加氧腔分为下部的一次燃烧室和上部的二次燃烧室,一次燃烧室和二次燃烧室之间为由二次加氧腔构成的二次燃烧的炉口,在该炉口处的二次加氧腔上开有出气燃烧孔;
在风机上安装有与炉膛相连通的炉膛加氧管以及与二次加氧腔相连通的二次加氧导管。
在炉膛加氧管上安装有炉膛供氧阀门,在二次加氧导管上安装有二次加氧阀门。
所述的炉口为上部开口大于下部开口的锥形通道。
在炉体上对应风机的位置开设有风机门。
所述的炉盘至少由两个以上的圆环盖和中部的圆盖构成。
在炉膛底部设置有卸灰口,卸灰口下方安装有与出灰口相连通的储灰室。
在炉体的下面设置有炉腿。
本实用具有如下的积极效果:生物质能源在炉膛主燃烧室热解和利用的同时,分解出的可燃气在第二燃烧室经过二次加氧充分燃烧、燃尽,即可炊事又可出热水。提高了热能利用率,结构简单实用。
生物质在炉膛内半气化燃烧。设双燃烧室,自然供风。设计了第二燃烧室和二次加氧猛火燃尽装置。实现了生物质无烟化燃烧,炉膛采用了均衡的配风供氧方式使生物质经过预热、干馏、氧化、还原、热解出的可燃成分及燃烧中产生的CO气体,能与二次进风的氧气在二次燃烧室充分混合燃烧,提高了热能转换效率,烟囱不冒黑烟。
本炉还采用了主炉膛储料技术,实现了生物质的预热、干燥、干馏、燃烧、燃尽的连续性。避免了直燃因加料会降低炉膛的温度,使大量可燃成分未燃尽就随着烟气被排放的缺点。提高了生物质的利用率。采用二次加氧猛火燃尽装置技术。提高了热能,比传统的热水炊事炉节能30%以上。
附图说明
图1为本实用新型的结构剖视图。
图2为本实用新型的主视图。
图3为本实用新型的侧视图。
图4为本实用新型的俯视图。
图5为本实用新型的立体图。
具体实施方式
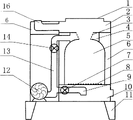
如图1、2、3、4、5所示,一种生物质热水炊事炉具,包括由带有进水口18和出水口22的水箱6构成的炉体15、设置在炉体15中的炉膛5、开设在炉体上通向炉膛的加料口19、开设在炉体下部通向炉膛的出灰口21、与炉膛相接通的排烟口16、以及设置在炉体底部通过管道与炉膛5相连通的风机12,其特征在于:炉体15上部设置有面板17,面板17上开有开口,在该开口上盖有炉盘1,炉膛5通过二次加氧腔4分为下部的一次燃烧室和上部的二次燃烧室2,一次燃烧室和二次燃烧室之间为由二次加氧腔4构成的二次燃烧的炉口23,在该炉口23处的二次加氧腔4上开有出气燃烧孔3;在风机12上安装有与炉膛相连通的炉膛加氧管9以及与二次加氧腔4相连通的二次加氧导管13。
如图1、2、3、5所示,在炉膛加氧管9上安装有炉膛供氧阀门7,在二次加氧导管13上安装有二次加氧阀门14。所述的炉口23为上部开口大于下部开口的锥形通道。在炉体15上对应风机的位置开设有风机门20。所述的炉盘1至少由两个以上的圆环盖和中部的圆盖构成。在炉膛5底部设置有卸灰口8,卸灰口8下方安装有与出灰口21相连通的储灰室10。在炉体15的下面设置有炉腿11。
如图4所示,封盖在与炉腔相通的炉面开口上的炉盘1至少由2个以上的圆环盖和中部的圆盖构成,这样可以根据不同的锅底大小打开不同的圆环盖和中部的圆盖进行烹饪。

Claims (7)

1.一种生物质热水炊事炉具,包括由带有进水口(18)和出水口(22)的水箱(6)构成的炉体(15)、设置在炉体(15)中的炉膛(5)、开设在炉体上通向炉膛的加料口(19)、开设在炉体下部通向炉膛的出灰口(21)、与炉膛相接通的排烟口(16)、以及设置在炉体底部通过管道与炉膛(5)相连通的风机(12),其特征在于:炉体(15)上部设置有面板(17),面板(17)上开有开口,在该开口上盖有炉盘(1),炉膛(5)通过二次加氧腔(4)分为下部的一次燃烧室和上部的二次燃烧室(2),一次燃烧室和二次燃烧室之间为由二次加氧腔(4)构成的二次燃烧的炉口(23),在该炉口(23)处的二次加氧腔(4)上开有出气燃烧孔(3);
在风机(12)上安装有与炉膛相连通的炉膛加氧管(9)以及与二次加氧腔(4)相连通的二次加氧导管(13)。
2.根据权利要求1所述的生物质热水炊事炉具,其特征在于:在炉膛加氧管(9)上安装有炉膛供氧阀门(7),在二次加氧导管(13)上安装有二次加氧阀门(14)。
3.根据权利要求1所述的生物质热水炊事炉具,其特征在于:所述的炉口(23)为上部开口大于下部开口的锥形通道。
4.根据权利要求1所述的生物质热水炊事炉具,其特征在于:在炉体(15)上对应风机的位置开设有风机门(20)。
5.根据权利要求1所述的生物质热水炊事炉具,其特征在于:所述的炉盘(1)至少由两个以上的圆环盖和中部的圆盖构成。
6.根据权利要求1所述的生物质热水炊事炉具,其特征在于:在炉膛(5)底部设置有卸灰口(8),卸灰口(8)下方安装有与出灰口(21)相连通的储灰室(10)。
7.根据权利要求1所述的生物质热水炊事炉具,其特征在于:在炉体(15)的下面设置有炉腿(11)。
CN2010201302379U 2010-03-15 2010-03-15 生物质热水炊事炉具 Expired - Fee Related CN201636902U (zh)

Priority Applications (1)

Application Number Priority Date Filing Date Title
CN2010201302379U CN201636902U (zh) 2010-03-15 2010-03-15 生物质热水炊事炉具

Applications Claiming Priority (1)

Application Number Priority Date Filing Date Title
CN2010201302379U CN201636902U (zh) 2010-03-15 2010-03-15 生物质热水炊事炉具

Publications (1)

Publication Number Publication Date
CN201636902U true CN201636902U (zh) 2010-11-17

Family

ID=43081397

Family Applications (1)

Application Number Title Priority Date Filing Date
CN2010201302379U Expired - Fee Related CN201636902U (zh) 2010-03-15 2010-03-15 生物质热水炊事炉具

Country Status (1)

Country Link
CN (1) CN201636902U (zh)

Cited By (5)

* Cited by examiner, † Cited by third party
Publication number Priority date Publication date Assignee Title
CN103343988A (zh) * 2013-06-17 2013-10-09 张宝根 一种多功能炊事热风炉
CN106196016A (zh) * 2016-08-30 2016-12-07 成都沸鼎环保设备有限公司 一种一体化燃烧炉结构
CN106287819A (zh) * 2016-08-30 2017-01-04 成都沸鼎环保设备有限公司 一种防灼伤燃烧炉
CN109140518A (zh) * 2018-06-20 2019-01-04 无锡晶瑜智能机械有限公司 一种大型生物质炉灶
CN109268878A (zh) * 2018-11-01 2019-01-25 内蒙古圣燚环保科技有限公司 炉灶

Cited By (6)

* Cited by examiner, † Cited by third party
Publication number Priority date Publication date Assignee Title
CN103343988A (zh) * 2013-06-17 2013-10-09 张宝根 一种多功能炊事热风炉
CN106196016A (zh) * 2016-08-30 2016-12-07 成都沸鼎环保设备有限公司 一种一体化燃烧炉结构
CN106287819A (zh) * 2016-08-30 2017-01-04 成都沸鼎环保设备有限公司 一种防灼伤燃烧炉
CN109140518A (zh) * 2018-06-20 2019-01-04 无锡晶瑜智能机械有限公司 一种大型生物质炉灶
CN109268878A (zh) * 2018-11-01 2019-01-25 内蒙古圣燚环保科技有限公司 炉灶
CN109268878B (zh) * 2018-11-01 2024-04-30 内蒙古圣燚热能科技有限公司 炉灶

Similar Documents

Publication Publication Date Title
CN101430102B (zh) 燃生物质成型燃料农村炊事洗浴供暖火炕一体化装置
CN201636902U (zh) 生物质热水炊事炉具
CN201680417U (zh) 生物质节能环保炊暖炉
CN201569142U (zh) 生物质反烧气化锅炉
CN202032618U (zh) 新型高效节能环保多用供暖炉
CN108253458A (zh) 一种取暖炊事一体生物质燃烧炉
CN205174452U (zh) 一种型煤专用清洁燃烧炉具
CN204611843U (zh) 三次进风式生物质炊暖炉
CN201636898U (zh) 生物质蒸馍无压锅炉
CN105276629A (zh) 一种型煤专用清洁燃烧炉具
CN201531909U (zh) 柴煤两用节能炉
CN203177217U (zh) 生物质热水炉
CN201212697Y (zh) 高效节能环保柴煤两用气化炉
CN201293345Y (zh) 高效气化节能柴炉
CN201302188Y (zh) 一种多功能复式生物质燃烧炉
CN201503038U (zh) 多功能生物质气化炉
CN202630122U (zh) 柴煤采暖炉
CN204902223U (zh) 半气化常压热水锅炉
CN201636905U (zh) 生物质节能环保炊事炉具
CN201093545Y (zh) 高效多用节能炉
CN214700807U (zh) 集热式节能炉灶
CN202195515U (zh) 改进的直燃式节能灶炉芯
CN201795526U (zh) 组合式多功能燃烧炉
CN201680421U (zh) 免风机生物质半气化炉
CN201589296U (zh) 多功能生物质直燃炉

Legal Events

Date Code Title Description
C14 Grant of patent or utility model
GR01 Patent grant
ASS Succession or assignment of patent right

Owner name: HENAN JUFENG BIO-ENERGY DEVELOPMENT CO., LTD.

Free format text: FORMER OWNER: GAO HAIHUA

Effective date: 20141103

C41 Transfer of patent application or patent right or utility model
COR Change of bibliographic data

Free format text: CORRECT: ADDRESS; FROM: 457000 PUYANG, HENAN PROVINCE TO: 457100 PUYANG, HENAN PROVINCE

TR01 Transfer of patent right

Effective date of registration: 20141103

Address after: 457100, Henan Province, Puyang County, Puyang Province on the north side of the road on the north side of the village on the west side of the road

Patentee after: Henan Jufeng Bio-Energy Development Co., Ltd.

Address before: The Central Plains Road and Jin Di road Puyang City, Henan province 457000 intersection 50 meters North Road East

Patentee before: Gao Haihua

CF01 Termination of patent right due to non-payment of annual fee
CF01 Termination of patent right due to non-payment of annual fee

Granted publication date: 20101117

Termination date: 20180315