CN201529629U - Top-uplifted stepping delivery multi-purpose cleaning machine provided with material frame with nozzle - Google Patents
Top-uplifted stepping delivery multi-purpose cleaning machine provided with material frame with nozzle Download PDFInfo
- Publication number
- CN201529629U CN201529629U CN2009200870112U CN200920087011U CN201529629U CN 201529629 U CN201529629 U CN 201529629U CN 2009200870112 U CN2009200870112 U CN 2009200870112U CN 200920087011 U CN200920087011 U CN 200920087011U CN 201529629 U CN201529629 U CN 201529629U
- Authority
- CN
- China
- Prior art keywords
- frame
- material frame
- cleaning machine
- cleaning
- nozzle
- Prior art date
- Legal status (The legal status is an assumption and is not a legal conclusion. Google has not performed a legal analysis and makes no representation as to the accuracy of the status listed.)
- Expired - Fee Related
Links
- 238000004140 cleaning Methods 0.000 title claims abstract description 42
- 239000000463 material Substances 0.000 title claims abstract description 29
- XLYOFNOQVPJJNP-UHFFFAOYSA-N water Substances O XLYOFNOQVPJJNP-UHFFFAOYSA-N 0.000 claims abstract description 33
- 230000007246 mechanism Effects 0.000 claims abstract description 18
- 238000005406 washing Methods 0.000 claims description 28
- 150000001875 compounds Chemical class 0.000 claims description 26
- 238000009434 installation Methods 0.000 claims description 10
- 230000005540 biological transmission Effects 0.000 claims description 5
- 238000007599 discharging Methods 0.000 claims description 4
- 230000001429 stepping effect Effects 0.000 claims 8
- 238000000034 method Methods 0.000 abstract description 4
- 238000007664 blowing Methods 0.000 abstract 2
- 230000005611 electricity Effects 0.000 abstract 1
- 238000004519 manufacturing process Methods 0.000 description 4
- 238000005516 engineering process Methods 0.000 description 2
- 238000010586 diagram Methods 0.000 description 1
- 238000001035 drying Methods 0.000 description 1
- 238000011010 flushing procedure Methods 0.000 description 1
- 238000011086 high cleaning Methods 0.000 description 1
- 239000007788 liquid Substances 0.000 description 1
- 238000005096 rolling process Methods 0.000 description 1
- 239000007921 spray Substances 0.000 description 1
Images
Landscapes
- Cleaning By Liquid Or Steam (AREA)
Abstract
The utility model provides a top-uplifted stepping delivery multi-purpose cleaning machine provided with a material frame with a nozzle. By using a special material frame, arranging a water inlet pipe and an air inlet pipe on the special material frame corresponding to the centre top, and arranging a nozzle corresponding to an upper hole of a work piece, the work piece can be cleaned or dried in a positioning way; by replacing the different special material frames, the different work pieces can be accommodated; by automatic material in/out frame devices arranged at the two ends of a frame and a lifting conveying mechanism, the automatic delivering and cleaning of the material frame at each cleaning work position can be realized; by arranging a surge cleaning work position, a positioning cleaning work position, a positioning rinsing work position and a rotary water-pouring and blowing work position, the actions of the overturning cleaning, the positioning cleaning, the positioning rinsing, and the water-pouring and blowing of the material frame can be realized by being matched with a rotary water supply device and a rotary drive mechanism; and a whole process is automatically controlled by a program, and each action is sequentially interlocked though electricity, so that the machine realizes fully-automatic operation, is safe and reliable, and has high efficiency.
Description
Technical field
The utility model relates to a kind of wiper mechanism, and particularly a kind of top-lifting stepping is carried, the multi-purpose cleaning machine of material frame band nozzle.
Background technology
In modern industry production cleaning, in order to enhance productivity, reduce manpower labour intensity, often use the high cleaning equipment of automaticity; The cleaning machine user has increased the kind that is cleaned part in order to promote product quality in addition, and traditional cleaning machine mentality of designing is classified part by resemblance, cleaning equipment of similar Element Design.This measure has increased user's investment, and when the resemblance of part changes, can not effectively guarantee cleaning quality, and equipment interoperability is poor.
Summary of the invention
Technical problem to be solved in the utility model provides the multi-purpose cleaning machine that a kind of top-lifting stepping is carried, expected frame band nozzle, can be when cleaning object change, and the material frame that only need change load bearing element can satisfy the cleaning of various different parts.
For solving the problems of the technologies described above, the technical scheme that the utility model adopted is: a kind of top-lifting stepping is carried, the multi-purpose cleaning machine of material frame band nozzle, comprise frame, be provided with rinse bath in the frame, elevated tank is connected with rinse bath by drain valve, and the rinse bath below is provided with draining valve, and the frame two ends are provided with automatic charging and discharging frame apparatus, the rinse bath top is equipped with the lift and conveyer structure, and the lift and conveyer structure promotes carriage by the material frame and is connected with the PP Pipe Compound frame.The PP Pipe Compound frame is provided with into water, air inlet pipe, also is provided with nozzle on the PP Pipe Compound frame.
In the described lift and conveyer structure, horizontal guide rail is installed on the frame, moving horizontally dolly is installed on the horizontal guide rail, moving horizontally dolly is provided with and moves horizontally drive unit, lifting arm is installed in and moves horizontally on the dolly, lifting arm is provided with vertical guide rail, and vertical guide rail is provided with the vertical lift drive unit.
Be provided with surge washing station, location washing station, location rinsing station, rotation pouring in the rinse bath and blow the water conservancy project position.
Surge washing station, location washing station, location rinsing station and rotation pouring blow the water conservancy project position and are provided with seal cover board.
Surge washing station, location washing station, location rinsing station and rotation pouring blow water conservancy project position one side and are provided with the rotation water supply installation, and the opposite side that surge washing station and rotation pouring blow the water conservancy project position is provided with rotary drive mechanism.
In the described seal cover board, cover plate is installed on the cover plate guide rail, and drive unit is connected with cover plate.
In the described rotation water supply installation, drive unit is connected with the center is top, and the top end in center is provided with swivel joint.
In the described rotary drive mechanism, drive unit is connected with the center is top, and rotating driving device is connected by transmission mechanism and center are top.
The top-lifting stepping that the utility model provides is carried, the multi-purpose cleaning machine of material frame band nozzle, by using the PP Pipe Compound frame, and top position, corresponding center is provided with into water, air inlet pipe on the PP Pipe Compound frame, with workpiece on corresponding position, hole be provided with nozzle, can realize the location of workpiece is cleaned or dried up; By changing different PP Pipe Compound frames, can adapt to different workpiece; The lift and conveyer structure that automatic charging and discharging frame apparatus that is provided with by the frame two ends and top are provided with can realize expecting the automatic transport and the cleaning at each station of frame; Blow the water conservancy project position by surge washing station, location washing station, location rinsing station and rotation pouring are set, cooperate rotation water supply installation and rotary drive mechanism can realize for the material frame cleanings of rolling, location flushing, locate rinsing, pouring and dry up action; Overall process adopts control automatically, and each sequence of movement has realized full-automatic operation by electric realization interlocking, and is safe and reliable, the production efficiency height.
Description of drawings
The utility model is described in further detail below in conjunction with drawings and Examples.
Fig. 1 is the utility model overall structure schematic diagram;
Fig. 2 is the utility model schematic top plan view;
Fig. 3 is a lift and conveyer structure schematic top plan view in the utility model.
The specific embodiment
As Fig. 1, Fig. 2 and shown in Figure 3, a kind of top-lifting stepping is carried, the multi-purpose cleaning machine of material frame band nozzle, comprise frame 1, be provided with rinse bath 2 in the frame 1, elevated tank 20 is connected with rinse bath 2 by drain valve 29, and rinse bath 2 belows are provided with draining valve 31, and frame 1 two ends are provided with automatic charging and discharging frame apparatus, rinse bath 2 tops are equipped with lift and conveyer structure 6, and lift and conveyer structure 6 promotes carriage 22 by the material frame and is connected with PP Pipe Compound frame 7.PP Pipe Compound frame 7 is provided with into water, air inlet pipe 8, also is provided with nozzle on the PP Pipe Compound frame 7.
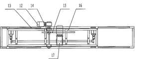
In the described lift and conveyer structure 6, horizontal guide rail 13 is installed on the frame 1, moving horizontally dolly 16 is installed on the horizontal guide rail 13, moving horizontally dolly 16 is provided with and moves horizontally drive unit 12, lifting arm 21 is installed in and moves horizontally on the dolly 16, lifting arm 21 is provided with vertical guide rail 18, and vertical guide rail 18 is provided with vertical lift drive unit 17.
Be provided with surge washing station 23, location washing station 24, location rinsing station 25, rotation pouring in the rinse bath 2 and blow water conservancy project position 26.
Surge washing station 23, location washing station 24, location rinsing station 25 and rotation pouring blow water conservancy project position 26 and are provided with seal cover board 3.
Surge washing station 23, location washing station 24, location rinsing station 25 and rotation pouring blow water conservancy project position 26 1 sides and are provided with rotation water supply installation 5, and the opposite side that surge washing station 23 and rotation pouring blow water conservancy project position 26 is provided with rotary drive mechanism 4.
In the described seal cover board 3, cover plate 10 is installed on the cover plate guide rail 11, and drive unit 9 is connected with cover plate 10.
In the described rotation water supply installation 5, drive unit 32 is connected with center top 34, and top 34 1 ends in center are provided with swivel joint 33.
In the described rotary drive mechanism 4, drive unit 30 is connected with center top 28, and rotating driving device 27 is connected by transmission mechanism and center top 28.
Described drive unit comprises: motor, air driven pump or hydraulic pump and transmission mechanism thereof.
Embodiment one:
The power source of the drive unit of Cai Yonging is an air driven pump in this example, workpiece is put into PP Pipe Compound frame 7, be provided with shower nozzle at place, the corresponding hole of workpiece on the PP Pipe Compound frame 7, shower nozzle is communicated with water inlet, air inlet pipe 8, PP Pipe Compound frame 7 enters surge washing station 23 by the automatic feed frame apparatus, drain valve 29 is opened, cleaning solution in the elevated tank 20 enters surge washing station 23, drive unit 9 in the pneumostop cover plate 3 is the cylinder action, drives cover plate 10 and along 11 operations of cover plate guide rail surge washing station 23 is covered.
Drive unit 32 actions in the rotation water supply installation 5, drive center top 34 is communicated with water inlet, air inlet pipe 8 on the PP Pipe Compound frame 7, swivel joint 33 is communicated with the cleaning solution inlet pipe, for workpiece cleaning provides cleaning solution, drive unit 30 actions in the rotary drive mechanism 4, drive center top 28 is connected with PP Pipe Compound frame 7, rotating driving device 27 actions, make top 28 rotations in center by the rack and pinion mechanism that is arranged on the line slideway 19, drive PP Pipe Compound frame 7 and interior workpiece thereof and rotate simultaneously, so that the inner chamber of cleaning workpiece complexity.After cleaning finished, draining valve 31 was opened, and cleaning solution is drained into circulated filter system, and pneumostop cover plate 3 is opened.
The drive unit 12 that moves horizontally in the lift and conveyer structure 6 moves, air driven pump drives by driven wheel 14 and tooth bar 15 transmission mechanisms and moves horizontally dolly 16 and moving on the horizontal guide rail 13 above the PP Pipe Compound frame 7, vertical lift drive unit 17 actions in the lifting arm 21, drive material frame lifting carriage 22 by pinion and rack and move downward, promote carriage 22 until the material frame and be connected with PP Pipe Compound frame 7 along vertical guide rail 18.
6 actions of lift and conveyer structure are promoted to location washing station 24, pneumostop cover plate 3 closures with PP Pipe Compound frame 7, rotation water supply installation 5 is connected with PP Pipe Compound frame 7, and cleaning solution is delivered to nozzle on the PP Pipe Compound frame 7, makes workpiece locate cleaning, cleaning finishes, and pneumostop cover plate 3 is opened.
Lift and conveyer structure 6 action is promoted to location rinsing station 25 with PP Pipe Compound frame 7, rinse step with locate washing station 24 in identical, but cleaning solution is replaced by rinsing liquid.
After rinsing finishes, lift and conveyer structure 6 is promoted to the rotation pouring with PP Pipe Compound frame 7 and blows water conservancy project position 26, pneumostop cover plate 3 closures, rotary drive mechanism 4 drives 7 rotations of PP Pipe Compound frame, water in the workpiece lumen is poured out, the rotation water supply installation 5 of this station is connected with compressed air, and compressed air sprays from shower nozzle, and workpiece is dried up.
Dry up finish after, pneumostop cover plate 3 is opened, and enters next workshop section by the self-emptying frame apparatus.
The utility model can be implemented in successively equidistant conveying of material frame in all stations, production efficiency height. The cleaning-drying overall process adopts procedure auto-control, and each sequence of movement interlocks by electric realization, has reliable, failure rate is low, characteristics that production efficiency is high.
Claims (8)
1. a top-lifting stepping is carried, the multi-purpose cleaning machine of material frame band nozzle, comprise frame (1), be provided with rinse bath (2) in the frame (1), elevated tank (20) is connected with rinse bath (2) by drain valve (29), rinse bath (2) below is provided with draining valve (31), frame (1) two ends are provided with automatically, the discharging frame apparatus, it is characterized in that: rinse bath (2) top is equipped with lift and conveyer structure (6), lift and conveyer structure (6) promotes carriage (22) by the material frame and is connected with PP Pipe Compound frame (7), PP Pipe Compound frame (7) is provided with into water, air inlet pipe (8), the PP Pipe Compound frame also is provided with nozzle on (7).
2. top-lifting stepping according to claim 1 is carried, the multi-purpose cleaning machine of material frame band nozzle, it is characterized in that: in the described lift and conveyer structure (6), horizontal guide rail (13) is installed on the frame (1), moving horizontally dolly (16) is installed on the horizontal guide rail (13), moving horizontally dolly (16) is provided with and moves horizontally drive unit (12), lifting arm (21) is installed in and moves horizontally on the dolly (16), lifting arm (21) is provided with vertical guide rail (18), and vertical guide rail (18) is provided with vertical lift drive unit (17).
3. top-lifting stepping according to claim 1 is carried, the multi-purpose cleaning machine of material frame band nozzle, it is characterized in that: be provided with surge washing station (23), location washing station (24), location rinsing station (25), rotation pouring in the rinse bath (2) and blow water conservancy project position (26).
4. top-lifting stepping according to claim 3 is carried, the multi-purpose cleaning machine of material frame band nozzle, and it is characterized in that: surge washing station (23), location washing station (24), location rinsing station (25) and rotation pouring blow water conservancy project position (26) and be provided with seal cover board (3).
According to claim 3 or 4 described top-lifting steppings carry, the multi-purpose cleaning machine of material frame band nozzle, it is characterized in that: surge washing station (23), location washing station (24), location rinsing station (25) and rotation pouring blow water conservancy project position (26) one sides and are provided with rotation water supply installation (5), and the opposite side that surge washing station (23) and rotation pouring blow water conservancy project position (26) is provided with rotary drive mechanism (4).
6. top-lifting stepping according to claim 4 is carried, the multi-purpose cleaning machine of material frame band nozzle, and it is characterized in that: in the described seal cover board (3), cover plate (10) is installed on the cover plate guide rail (11), and drive unit (9) is connected with cover plate (10).
7. top-lifting stepping according to claim 5 is carried, the multi-purpose cleaning machine of material frame band nozzle, it is characterized in that: in the described rotation water supply installation (5), drive unit (32) top with the center (34) is connected, and top (34) one ends in center are provided with swivel joint (33).
8. top-lifting stepping according to claim 6 is carried, the multi-purpose cleaning machine of material frame band nozzle, it is characterized in that: in the described rotary drive mechanism (4), drive unit (30) top with the center (28) is connected, and rotating driving device (27) is connected by transmission mechanism top with the center (28).
Priority Applications (1)
| Application Number | Priority Date | Filing Date | Title |
|---|---|---|---|
| CN2009200870112U CN201529629U (en) | 2009-06-30 | 2009-06-30 | Top-uplifted stepping delivery multi-purpose cleaning machine provided with material frame with nozzle |
Applications Claiming Priority (1)
| Application Number | Priority Date | Filing Date | Title |
|---|---|---|---|
| CN2009200870112U CN201529629U (en) | 2009-06-30 | 2009-06-30 | Top-uplifted stepping delivery multi-purpose cleaning machine provided with material frame with nozzle |
Publications (1)
| Publication Number | Publication Date |
|---|---|
| CN201529629U true CN201529629U (en) | 2010-07-21 |
Family
ID=42525040
Family Applications (1)
| Application Number | Title | Priority Date | Filing Date |
|---|---|---|---|
| CN2009200870112U Expired - Fee Related CN201529629U (en) | 2009-06-30 | 2009-06-30 | Top-uplifted stepping delivery multi-purpose cleaning machine provided with material frame with nozzle |
Country Status (1)
| Country | Link |
|---|---|
| CN (1) | CN201529629U (en) |
Cited By (9)
| Publication number | Priority date | Publication date | Assignee | Title |
|---|---|---|---|---|
| CN102641859A (en) * | 2012-05-07 | 2012-08-22 | 江苏合海机械制造有限公司 | Stepping cycling auto-cleaning machine for work pieces |
| CN102829608A (en) * | 2012-09-26 | 2012-12-19 | 北京全有时代科技有限公司 | Novel coil rod drying machine |
| CN101602053B (en) * | 2009-06-30 | 2014-05-21 | 宜昌英汉超声电气有限公司 | Top-lifting step conveyance multi-purpose cleaning machine with material frame provided with spray nozzle |
| CN104475386A (en) * | 2014-12-17 | 2015-04-01 | 杭州南华科技有限公司 | Transformer stitch cleaning machine |
| CN104874567A (en) * | 2015-06-09 | 2015-09-02 | 上海明兴开城超音波科技有限公司 | Device structure capable of cleaning workpiece pits without leaving accumulated liquid |
| CN106984576A (en) * | 2017-04-25 | 2017-07-28 | 无锡市明骥智能机械有限公司 | Multiple operation heavy duty detergent electroplating cleaning groove |
| CN108715205A (en) * | 2018-05-28 | 2018-10-30 | 芜湖恒安钢结构有限公司 | A kind of ship deck cleaning water supply installation |
| CN109701955A (en) * | 2019-01-08 | 2019-05-03 | 敏实汽车技术研发有限公司 | Servo three-dimension type ultrasonic wave battery pack cleaning system and method for battery pack |
| CN109911562A (en) * | 2019-03-21 | 2019-06-21 | 中信戴卡股份有限公司 | A kind of double-station cleaning system |
-
2009
- 2009-06-30 CN CN2009200870112U patent/CN201529629U/en not_active Expired - Fee Related
Cited By (11)
| Publication number | Priority date | Publication date | Assignee | Title |
|---|---|---|---|---|
| CN101602053B (en) * | 2009-06-30 | 2014-05-21 | 宜昌英汉超声电气有限公司 | Top-lifting step conveyance multi-purpose cleaning machine with material frame provided with spray nozzle |
| CN102641859A (en) * | 2012-05-07 | 2012-08-22 | 江苏合海机械制造有限公司 | Stepping cycling auto-cleaning machine for work pieces |
| CN102829608A (en) * | 2012-09-26 | 2012-12-19 | 北京全有时代科技有限公司 | Novel coil rod drying machine |
| CN102829608B (en) * | 2012-09-26 | 2014-08-27 | 北京全有时代科技有限公司 | Novel coil rod drying machine |
| CN104475386A (en) * | 2014-12-17 | 2015-04-01 | 杭州南华科技有限公司 | Transformer stitch cleaning machine |
| CN104874567A (en) * | 2015-06-09 | 2015-09-02 | 上海明兴开城超音波科技有限公司 | Device structure capable of cleaning workpiece pits without leaving accumulated liquid |
| CN106984576A (en) * | 2017-04-25 | 2017-07-28 | 无锡市明骥智能机械有限公司 | Multiple operation heavy duty detergent electroplating cleaning groove |
| CN108715205A (en) * | 2018-05-28 | 2018-10-30 | 芜湖恒安钢结构有限公司 | A kind of ship deck cleaning water supply installation |
| CN109701955A (en) * | 2019-01-08 | 2019-05-03 | 敏实汽车技术研发有限公司 | Servo three-dimension type ultrasonic wave battery pack cleaning system and method for battery pack |
| CN109911562A (en) * | 2019-03-21 | 2019-06-21 | 中信戴卡股份有限公司 | A kind of double-station cleaning system |
| CN109911562B (en) * | 2019-03-21 | 2023-11-17 | 中信戴卡股份有限公司 | Duplex position cleaning system |
Similar Documents
| Publication | Publication Date | Title |
|---|---|---|
| CN101602053B (en) | Top-lifting step conveyance multi-purpose cleaning machine with material frame provided with spray nozzle | |
| CN201529629U (en) | Top-uplifted stepping delivery multi-purpose cleaning machine provided with material frame with nozzle | |
| CN202155326U (en) | Multi-station horizontal rotating type cleaning machine | |
| CN104368547B (en) | Stepping omnibearing valve body washer | |
| CN103357629A (en) | Machine for cleaning inner wall of barrel | |
| CN203356153U (en) | Barrel inner wall cleaning machine | |
| CN201105277Y (en) | Wine altar cleaning machine | |
| CN102744223A (en) | Multi-station horizontal rotary cleaning machine | |
| CN102728583A (en) | Jacking rotary-type numerical control high-pressure washer | |
| CN106140702A (en) | Possesses the mechanical hand of rotary brush-wash function | |
| CN204817263U (en) | Battery water washing device | |
| CN215404562U (en) | Mixed pickling equipment for seamless stainless steel pipe blanks of boiler heat exchangers | |
| CN112609222A (en) | Washing and drying integrated electroplating device | |
| CN108755121B (en) | Preparation method of improved antibacterial reverse osmosis membrane support | |
| CN205237044U (en) | Foundry goods sand removal device | |
| CN205833698U (en) | A kind of vacuum switch tube automatic washing machine | |
| CN211616017U (en) | Cleaning device for concrete pipe pile die | |
| CN204381032U (en) | Former water storage tube cleaning device | |
| CN210280113U (en) | Barrel washing machine | |
| CN111251191B (en) | Intelligent cleaning equipment for knife roller of glass fiber chopping machine | |
| CN205308976U (en) | A automation equipment for rinsing wire drawing mould | |
| CN208916078U (en) | The final cleaning equipment of crankshaft combined type | |
| CN112495903A (en) | Machine part belt cleaning device | |
| CN202129250U (en) | Jacking rotary type numerical control high-pressure cleaning machine | |
| CN106623318A (en) | Fully-automatic water bucket cleaning device used for drinking water production line |
Legal Events
| Date | Code | Title | Description |
|---|---|---|---|
| C14 | Grant of patent or utility model | ||
| GR01 | Patent grant | ||
| CF01 | Termination of patent right due to non-payment of annual fee |
Granted publication date: 20100721 Termination date: 20150630 |
|
| EXPY | Termination of patent right or utility model |